Система смазки двигателя Д-260
________________________________________________________________________
Система смазки двигателя Д-260
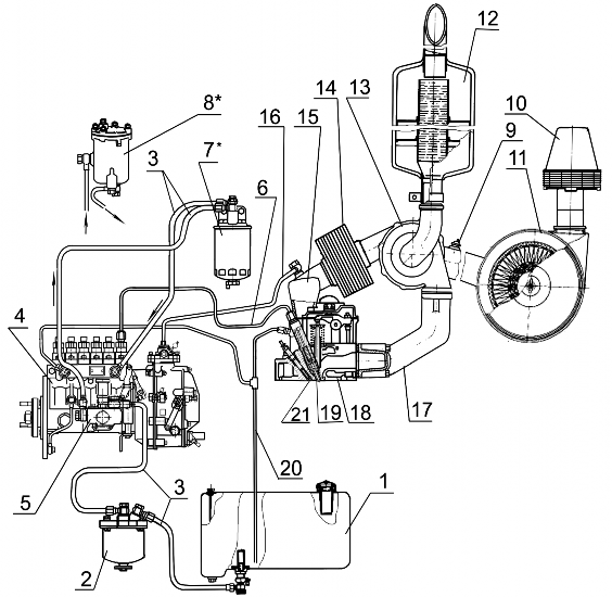
Система смазки дизеля Д-260 (рис. 1) комбинированная: часть деталей смазывается под давлением, часть — разбрызгиванием. Подшипники коленчатого и распределительного валов, втулки промежуточной шестерни, шатунные подшипники коленчатого вала пневмокомпрессора, механизм привода клапанов и подшипник вала турбокомпрессора смазываются под давлением от масляного насоса. Гильзы, поршни, поршневые пальцы, штанги, толкатели, кулачки распределительного вала и детали топливного насоса смазываются разбрызгиванием.
Система смазки Д-260 состоит из масляного насоса, масляного фильтра
с бумажным фильтрующим элементом, центробежного масляного фильтра,
жидкостно-масляного теплообменника. Масляный насос 3 шестеренчатого
типа, односекционный, крепится болтами к блоку цилиндров. Привод
масляного насоса осуществляется от шестерни, установленной на
коленвалу.
В масляном насосе двигателя Д-260 ММЗ тракторов МТЗ-1221 имеется перепускной клапан, отрегулированный на давление 0,7…0,75 МПа. При повышении давления выше указанного масло перепускается из полости нагнетания в полость всасывания. Регулировка производится на стенде с помощью регулировочных шайб.
Масляный насос Д-260 через маслоприемник забирает масло из масляного картера и по каналам в блоке цилиндров подает в полнопоточный масляный фильтр с бумажным фильтрующим элементом, а часть масла — в центробежный масляный фильтр для очистки и последующего слива в картер.
Фильтрующий элемент масляного фильтра Д-260 имеет перепускной клапан
20. В случае чрезмерного засорения бумажного фильтрующего элемента
или при запуске дизеля на холодном масле, когда сопротивление
фильтрующего элемента становится выше 0,13…0,17 МПа, перепускной
клапан открывается, и масло, минуя фильтровальную бумагу, поступает
в масляную магистраль. Перепускной клапан нерегулируемый.
Рис.1 — Схема системы смазки дизеля Д-260
1 — картер масляный; 2 — маслоприемник; 3 — масляный насос; 4 — фильтр масляный бумажный; 5 – перепускной клапан; 6 – теплообменник жидкостно-масляный; 7 – фильтр масляный центро-бежный; 8 – указатель давления масла; 9 – датчик аварийного давления масла; 10 – форсунки охлаждения поршней; 11 – вал коленчатый; 12 – вал распределительный; 13 – масляный канал оси коромысел; 14 – шестерня промежуточная; 15 – турбокомпрессор; 16 – компрессор; 17 — топливный насос высокого давления; 18 – клапан предохранительный; 19 – пробка для слива масла; 20 – клапан перепускной бумажного фильтрующего элемента.
В корпусе масляного фильтра Д-260 встроен предохранительный
нерегулируемый клапан 18. Он предназначен для поддержания давления
масла в главной масляной магистрали 0,28…0,45МПа. При давлении
масла выше 0,45МПа открывается предохранительный клапан и избыточное
масло (запас масла) через предохранительный клапан сливается в
картер дизеля.
Из жидкостно-масляного теплообменника охлажденное масло поступает по каналам в блоке цилиндров двигателя Д-260 трактора МТЗ-1221 в главную масляную магистраль, из которой по каналам в блоке цилиндров масло подается ко всем коренным подшипникам коленчатого вала и опорам распределительного вала. От второго, четвертого и шестого коренных подшипников через форсунки, встроенные в коренных опорах блока цилиндров, масло подается для охлаждения поршней.
От коренных подшипников по каналам в коленчатом валу масло поступает на смазку шатунных подшипников. От первого коренного подшипника масло по специальным каналам в передней стенке блока поступает к втулке промежуточной шестерни 14 и далее по каналу в крышке распределения на смазку деталей топливного насоса.
Детали клапанного механизма Д-260 смазываются маслом, поступающим от
второй и третьей опор распределительного вала по каналам в блоке и
головках цилиндров, сверлениям в третьей и четвертой стойках
коромысел во внутреннюю полость оси коромысел и через отверстия к
втулкам коромысел, от которых по каналу поступает на регулировочный
винт и штангу.
Масло к подшипниковому узлу турбокомпрессора
поступает по трубке, подключенной на выходе из масляного фильтра с
бумажным фильтрующим элементом. К пневмокомпрессору масло поступает
по маслопроводу, подключенному на выходе из теплообменника. Из
компрессора масло сливается в картер дизеля.
Замену масла в картере дизелей Д-260 проводите через каждые 250 часов работы. Отработанное масло сливайте только из прогретого дизеля. Для слива масла отверните пробку масляного картера. После того, как все масло вытечет из картера, заверните пробку на место. Масло в дизель заливайте через маслозаливной патрубок до уровня верхней метки на масломере. Заливайте в масляный картер только рекомендованное настоящим руководством масло, соответствующее периоду эксплуатации.
Очистка ротора центробежного масляного фильтра Д-260
Очистку ротора центробежного масляного фильтра Д-260 производите
одновременно с заменой масла в картере дизеля.
Отверните гайку
крепления колпака центробежного масляного фильтра и снимите его.
Проверьте наличие балансировочной риски на стакане и корпусе ротора
(при отсутствии – нанесите риску). Застопорите ротор от
проворачивания, для чего вставьте между корпусом фильтра и днищем
ротора отвертку или стержень и, вращая ключом гайку крепления
стакана ротора, стяните стакан ротора. Проверьте состояние
фильтрующей сетки ротора, при необходимости очистите и промойте ее.
С помощью деревянного или пластмассового скребка удалите слой
отложений с внутренних стенок стакана ротора. Перед сборкой стакана
с корпусом ротора резиновое уплотнительное кольцо смажьте моторным
маслом. Совместите балансировочные риски на стакане и корпусе
ротора. Гайку крепления стакана заворачивайте с небольшим усилием до
полной посадки стакана на ротор. После сборки ротор должен легко
вращаться без заеданий от толчка рукой. Установите на место колпак
центробежного масляного фильтра и заверните гайку колпака моментом
35.
..50 Нм.
Замена фильтрующего элемента масляного фильтра двигателя Д-260 ММЗ
Замену масляного фильтра двигателя Д-260 ММЗ производите в
соответствии с рис.12 одновременно с заменой масла в картере дизеля
в следующей последовательности:
— отверните фильтр ФМ 35-1012005 со штуцера 3, используя специальный
ключ или другие подручные средства;
— наверните на штуцер новый фильтр ФМ 35-1012005.
Рис.2 – Фильтр масляный двигателя Д-260
1 – корпус фильтра; 2 – фильтр; 3 – штуцер; 4 – прокладка фильтра; 5 – клапан противодре-нажный; 6 – пружина; 7 – клапан перепускной.
При установке фильтра на штуцер смажьте прокладку 4 моторным маслом. После касания прокладкой опорной поверхности корпуса фильтра 1 доверните еще фильтр на 3/4 оборота. Установку фильтра на корпус производите только усилием рук.
Для замены в первую очередь используйте масляный фильтр ФМ 35-1012005. Вместо фильтра ФМ 35-1012005 допускается установка фильтров неразборного типа, имеющих в конструкции противодренажный и перепускной клапаны с основными габаритными размерами: -диаметр — 95…105 мм; -высота — 140…160 мм;
________________________________________________________________________
________________________________________________________________________
________________________________________________________________________
- Тракторы МТЗ-80, МТЗ-82, МТЗ-82.
1 - Трактор МТЗ-1221
- Трактор МТЗ-92П / 892
- Трактор МТЗ-320
- Запчасти МТЗ-80, МТЗ-82, МТЗ-82.1
- Трактор ЮМЗ
- Трактор Т-40
- Трактор Т-25
- Трактор Т-130
- Трактор Т-150
- Бульдозер Т-170
- Дизель Д-240 ММЗ
- Дизель Д-243 ММЗ
- Дизель Д-245 ММЗ
- Дизель Д-260 ММЗ
- Дизель Д-144
- Каталог запчастей МТЗ-80/82
- Каталог запчастей МТЗ-1221
- Сельскохозяйственная техника
- Мотоблоки и культиваторы
Двигатель Д-260: устройство, каталог запчастей
Двигатель ММЗ Д-260
В целом, шестицилиндровые моторы лучше сбалансированы, чем четырёхцилиндровые, отличаются большей плавностью работы и дают меньший уровень вибрации. В то же время, они требуют больше времени на изготовление и обслуживание, дороже и не так компактны, как предшественники.
Описание
Д-260 — рядный двигатель, т. е. цилиндры расположены в ряд и имеют общий коленвал.
Эта конфигурация считается сбалансированной: силы инерции взаимно уравновешивают друг друга, что даёт плавный ход поршней и низкий уровень вибрации. Возможна вибрация на малых оборотах холостого хода.
Мотор комплектуется стартерами, генераторами и турбокомпрессорами белорусского производства и чешскими топливными насосами. Оптимальное соотношение отечественных и зарубежных деталей обеспечивает баланс цены и качества.
Двигатель устанавливается на различную спецтехнику
Модификации
В настоящее время ММЗ выпускает модификации Д-260 в более чем сорока вариантах, что почти полностью закрывает потребности производителей тракторов и спецтехники. Их устанавливают на зерно- и кормоуборочные комбайны, погрузчики и некоторые модели автобусов. Были попытки комплектовать также дальнобойные автомобили, но в этой сфере моторы показали себя не очень хорошо. Зато для строительной, дорожной и аграрной сфер технические характеристики Д 260 подходят идеально.
Покупатели отмечают высокую мощность двигателя, долгий срок службы и неприхотливость.
Обязательно почитайте: Газ 66
Похожие посты
Может ли сахар растворяться в моторном масле? Есть подозрения, что напакостили таким способом.
Вопрос знатокам: может ли сахар растворяться в моторном масле? Есть подозрения, что напакостили таким способом.
От чего прыгает давление? Масло, фильтр новое.
Подскажите пожалуйста от чего прыгает давление масло фильтр новое
Двигатель Д-260 Почему антифриз в клапанную крышку пошёл, все в эмульсии и масло в охлаждающая жидкость тоже малость попало? Антифриз потемнел. Поднял обе головы прокладки целые.
Доброго времени суток. Подскажите куда лезть? Двигатель Д-260 антифриз в клапанную крышку пошёл, все в эмульсии и масло в охлождайку тоже малость попало, антифриз потемнел. Поднял обе головы прокладки целые.
Трактор МТЗ 80, заменил вкладыши, вал выточил, заменил кольца. Завёл давление 4 на холодную, на горячую 3.
Почему вдруг в выхлопную погнало масло?Доброго времени суток всем. Народ может кто сталкивался? Трактор МТЗ 80, заменил вкладыши, вал вытачил, заменил кольца. Завёл давление 4 на холодную, на горячую 3,работает как часики. Поработал минут 15, в выхлапную трубу погнал масло, чуть не тарачком. Вытащил поршня на некоторых кольца компрессионные сошлись, а маслосьемные нормальные. Что может быть?
Добрый день!Двигатель а 41. Поменял гильзы поршень кольца завёл всё нормально давление 4 но из сапуна гонит масло, из-за чего?
Всем привет такой вопрос какое давление масло должно быть на к 701 ямз 240??заранее спасибо
Доброй день, коллеги! подскажите почему прыгает давление в двигателе (д 260) после капиталки.Поменяли поршневую, вкладыши ВСЕ, поставили новый грибок на давление, на насосе поменяли кольцо резиновое.на холостых едешь 3 давление.на оборотах 1.заведешь тоже 1.когда 5 давит.
Вопрос: [id580948099|Im Kykin] Доброй день, коллеги! подскажите почему прыгает давление в двигателе (д 260) после капиталки.
поменяли поршневую, вкладыши ВСЕ, поставили новый грибок на давление, на насосе поменяли кольцо резиновое.на холостых едешь 3 давление.на оборотах 1.заведешь тоже 1.когда 5 давит.и ещё кто сколько градусов ставит на регулировке клапанов и зазор?
Какое минимальное допустимое давление масла д260?
Какое минимальное допустимое давление масла д260?
Источник
Технические характеристики агрегата
Характеристики следующие:
- Количество цилиндров — шесть.
- Расположение — в ряд.
- Порядок работы цилиндров — 1-5-3-6-2-4.
- Диаметр цилиндра – 110 мм.
- Ход поршня – 125 мм.
Размеры:
- длина — 1300 мм;
- ширина — 705 мм;
- высота — 1118 мм.
- масса — 710 кг.
Прочие параметры:
- Объём – 7,12 литров.
- Расход топлива – 162 г/л.с.ч.
- Мощность – 155 л.с.
- Частота вращения – 2100 об/мин, на холостом ходу — 850—2260 об/мин.

- Максимальный крутящий момент – 622 Н.м (63,4 кгс.м).
- Степень сжатия – 16.
Похожие посты
Двигатель Д-260 Почему антифриз в клапанную крышку пошёл, все в эмульсии и масло в охлаждающая жидкость тоже малость попало? Антифриз потемнел. Поднял обе головы прокладки целые.
Доброго времени суток. Подскажите куда лезть? Двигатель Д-260 антифриз в клапанную крышку пошёл, все в эмульсии и масло в охлождайку тоже малость попало, антифриз потемнел. Поднял обе головы прокладки целые.
Трактор МТЗ 80, заменил вкладыши, вал выточил, заменил кольца. Завёл давление 4 на холодную, на горячую 3.Почему вдруг в выхлопную погнало масло?
Доброго времени суток всем. Народ может кто сталкивался? Трактор МТЗ 80, заменил вкладыши, вал вытачил, заменил кольца. Завёл давление 4 на холодную, на горячую 3,работает как часики. Поработал минут 15, в выхлапную трубу погнал масло, чуть не тарачком. Вытащил поршня на некоторых кольца компрессионные сошлись, а маслосьемные нормальные.
Что может быть?
Добрый день!Двигатель а 41. Поменял гильзы поршень кольца завёл всё нормально давление 4 но из сапуна гонит масло, из-за чего?
Всем привет такой вопрос какое давление масло должно быть на к 701 ямз 240??заранее спасибо
Доброй день, коллеги! подскажите почему прыгает давление в двигателе (д 260) после капиталки.Поменяли поршневую, вкладыши ВСЕ, поставили новый грибок на давление, на насосе поменяли кольцо резиновое.на холостых едешь 3 давление.на оборотах 1.заведешь тоже 1.когда 5 давит.
Вопрос: [id580948099|Im Kykin] Доброй день, коллеги! подскажите почему прыгает давление в двигателе (д 260) после капиталки.поменяли поршневую, вкладыши ВСЕ, поставили новый грибок на давление, на насосе поменяли кольцо резиновое.на холостых едешь 3 давление.на оборотах 1.заведешь тоже 1.когда 5 давит.и ещё кто сколько градусов ставит на регулировке клапанов и зазор?
Какое минимальное допустимое давление масла д260?
Какое минимальное допустимое давление масла д260?
Из- за чего так может дымить трактор? Заводится с полпинка, тянет хорошо, поменял масло, прокладку ГБЦ и топливные фильтры.

Здравствуйте, подскажите из- за чего так может дымить? заводится с полпинка, тянет ахуено, холостой тоже поменял, масло прокладку ГБЦ и топливные фильтры.
Из-за чего подтекает масло?
Из-за чего подтекает масло? Подскажите, пожалуйста,
Устройство Д-260
Конструктивная основа мотора — чугунный цельнолитой блок цилиндров. Крепление к транспортному средству осуществляется с заднего торца, на переднем расположены щит и крышка распределения. Прокладка между блоком и головкой сделана из безасбестового полотна. Головки блока взаимозаменяемы. Моменты затяжки болтов крепления — 190—210 Нм. Клапанный механизм закрыт крышками с колпаками. Регулировка клапанов производится специальным устройством.
Система питания топливом
Коленвал опирается на боковые стенки и внутренние перегородки. Крутящий момент на распредвал передаётся посредством шестерней распределения. Распредвал имеет четыре точки опоры. Кулачки распредвала установлены с уклоном, за счёт чего толкатели вращаются.
Поршни из алюминиевого сплава, в днище расположена камера сгорания топливно-воздушной смеси. На верхнюю часть поршней устанавливаются компрессионные и маслосъёмное кольца.
Система смазки представляет собой систему продольного и поперечных каналов, по которым масло подается к подшипникам, распредвалу и форсункам. Масляный картер находится внизу. Охлаждающая жидкость циркулирует между стенками блока цилиндров «ММЗ Д-260» и гильзами. Система закрытого типа, циркуляция обеспечивается центробежным насосом. В систему входит дистанционный термометр, световой сигнализатор и два термостата.
Подача топлива обеспечивается топливными насосами ярославского производства (высокого давления). Шестисекционный насос обеспечивает точную дозировку топлива в каждый цилиндр под оптимальным давлением. Давление регулируется перепускным клапаном. Предусмотрена возможность ручного удаления воздуха из системы специальным насосом. Топливо проходит две ступени очистки — грубую и тонкую.
Воздух очищается в три этапа: моноциклон и два бумажных фильтра. Мотор оснащён турбокомпрессором, состоящим из центростремительной турбины радиального типа и центробежного одноступенчатого компрессора. Для подачи воздуха в цилиндры используется энергия отработанных газов.
Обязательно почитайте: Грузоподъемность МАЗ-5551 и другие характеристики
Замена моторного масла
Замену масла в бензиновом двигателе необходимо проводить через каждые 15.000 км. Если пробег автомобиля незначительный, замену масла производить один раз в год. При этом одновременно заменять фильтрующий элемент масляного фильтра.
У дизельного двигателя замену масла и фильтрующего элемента производить через каждые 7.500 км.
В тяжелых условиях эксплуатации, таких как поездки на короткие расстояния, частые холодные пуски и сильная запыленность, моторное масло и масляный фильтр должны заменяться через более короткие промежутки.
Внимание: В любом случае, старое масло должно сдаваться на специальные пункты приема отработавшего масла.
Пункты продажи масла принимают соответствующее количество старого масла бесплатно, поэтому при покупке масла необходимо сохранять чек и канистру для последующей сдачи старого масла! Кроме того, администрация районов и городов информирует о том, где находится ближайший пункт приема отработавшего масла. Ни в коем случае старое масло не должно просто сливаться или выбрасываться с бытовыми отходами.
Ремонтные размеры коренных и шатунных шеек коленчатого вала
| Марка ДВС | Шейка вала | Н1 | Н2 | P1 | P2 | P3 | P4 | P5 | P6 |
| ЯМЗ – 236 ЯМЗ – 238 | Кор. -0,015 | 110,00 | 109,75 | 109,50 | 109,25 | 109,00 | 108,75 | 108,50 | |
| Шат. -0,015 | 88,00 | 87,75 | 87,50 | 87,25 | 87,00 | 86,75 | 86,50 | ||
| ЯМЗ-240БМ | Кор. | ||||||||
| Шат. -0,015 | 88 | 87,75 | 87,5 | 87,25 | 87 | 86,75 | 86,5 | ||
| КамАЗ 740 | Кор. -0,015 | 95 | 94,5 | 94 | 93,5 | 93 | |||
| Шат. -0,013 | 80 | 79,5 | 79 | 79,6 | 78 | ||||
| А-01 | Кор. -0,023 | 105,00 | 104,75 | 104,50 | 104,25 | 104,00 | 103,75 | ||
| Шат. -0,023 | 88,00 | 87,75 | 87,50 | 87,25 | 87,00 | 86,75 | |||
| А-41 | Кор. -0,023 | 105,00 | 104,75 | 104,50 | 104,25 | 104,00 | 103,75 | ||
| Шат. -0,023 | 88,00 | 87,75 | 87,50 | 87,25 | 87,00 | 86,75 | |||
| Д-160 Д-108 | Кор. -0,022 | 95,21 | 94,96 | 94,46 | 93,96 | 93,46 | 92,96 | ||
| Шат. -0,022 | 92,21 | 91,96 | 91,21 | 90,46 | 89,71 | 88,96 | |||
| Д-240 (МТЗ) | Кор. -0,082 | 75,25 | 75 | 74,50 | 74,00 | 73,50 | 73,00 | ||
Шат. 0,077 | 68,25 | 68,00 | 67,50 | 67,00 | 66,50 | 66,00 | |||
| Д-260 | Кор. -0,085 | 85,25 | 85,00 | 84,50 | 84,00 | 83,50 | 83,00 | ||
| Шат. -0,100 | 73,00 | 72,75 | 72,25 | 71,75 | 71,25 | 70,75 | |||
| Д21А Д-144 | Кор. -0,065 | 70,25 | 70,00 | 69,50 | 69,00 | 68,50 | 68,00 | ||
| Шат. -0,060 | 65,25 | 65,00 | 64,50 | 64,00 | 63,50 | 63,00 |
Вкладыши Д-144 коренные А23.01-78-144 СБ (Тамбов) 524грн. Вкладыши Д-160 коренные А23.01-103-160СБ (Тамбов) 1850грн. Вкладыши Д-21 коренные А23.01-78-21сбА (Тамбов) 390грн. Вкладыши Д-240 коренные А23.01-81-240сбАс (Тамбов) 450грн. Вкладыши Д-245 коренные 245-1005100АТБ (Тамбов) 1528грн. Вкладыши Д-260 коренные А23.01-91-260сбС (Тамбов) 840грн. Вкладыши Д-440 коренные А23.01-116-445СБ (Тамбов) 1450грн.
Вкладыши А-41 шатунные А23.01-93-41СБ (Тамбов) 475грн. Вкладыши Д-144 шатунные Д144-1004150А1 (Тамбов) 369грн. Вкладыши Д-160 шатунные А23.01-100-160СБ (Тамбов) 940грн. Вкладыши Д-21 шатунные Д21-1004150А2 (Тамбов) 180грн. Вкладыши Д-240 шатунные А23.01-74-240сбАС (Тамбов) 290грн. Вкладыши Д-245 шатунные 245-1004140-АТБ (Тамбов) 948грн. Вкладыши Д-260 шатунные А23.01-78-260сбС (Тамбов) 625грн. Вкладыши А-41 коренные А23.01-116-41СБ (Тамбов) 1878грн. Вкладыши А-01 коренные А23.01-116-01сб (Тамбов) 2850грн. Вкладыши А-01 шатунные А23.01-93-01сб (Тамбов) 785грн. Комментариев к статье: “Ремонтные размеры шеек коленчатого вала” –(шт.)
Профилактика выхода из строя ТНВД и форсунок
Неисправности ТНВД и форсунок обычно случаются из-за проблем с фильтрацией дизтоплива. На рынке часто может встретить фильтрующие элементы, не способные обеспечить качественную фильтрацию топлива и не соответствующие своими параметрами оригинальным фильтрующим элементам. Проблемы с работой форсунок и износ плунжерных пар часто происходит по причине поступления грязи через уплотнительную манжету, не установленную нужным образом в донышке фильтрующего элемента.
Уплотнительная манжета должна быть плотно посажена на направляющий конус, который расположен внизу корпуса фильтрующего элемента.
На это надо обращать особое внимание при проведении замены фильтра. Признаком такой неисправности будут проблемы с запуском мотора. Следует помнить, что при запуске двигателя пусковая подача топливного насоса высокого давления больше этого параметра при номинальной мощности силового агрегата. В силу этого уменьшение тяги ДВС механизатор может сразу не обнаружить.
UCON™ Lubricant 50-HB-260
DowIcon_Default_EventsAsset 105chart_iconform-checkmarkform-radio__bulletcog iconnav_callhome_sdshomepage_hero_new—rolloverlist-bulletnav-closenav-closenav-hamburgernav-right-arrow—mobilenav_brochuresnav_callnav_cartnav_case_studiesnav_check_marknav_close_xnav_common_questionsnav_distributornav_driving_directionsnav_exclamation_pointnav_external_linksnav_find_formulationsnav_find_productsnav_infonav_learn_how_to_usenav_literaturenav_locknav_mapnav_media_centernav_pdfnav_quick_checkoutnav_read_latest_newsnav_samplenav_selection_guidesnav_tooltipnav_white_papersnoav-icon-safe-handling-18x18pdp-add_part_numberpdp-arrow—leftpdp -arrow—rightpdp-boxFunnelpdp-list_collapsepdp-list_expandВекторный смарт-объект12Векторный смарт-объект12pdp-shopping_cartutility-searchutility-tooltipvoc_icon>technical_content В вашем аккаунте установлена кредитная блокировка.
Краткий отчетПродолжать
Этот веб-сайт использует файлы cookie, чтобы предоставить вам наилучшие возможности. Нажав кнопку «Принять» ниже, вы даете согласие на получение и хранение файлов cookie с нашего сайта. Помните, что вы можете управлять файлами cookie в настройках вашего браузера. Если вы не согласны с размещением файлов cookie или каким-либо образом ограничите их использование, вы не сможете использовать все интерактивные функции на нашем веб-сайте. Для получения дополнительной информации об использовании нами файлов cookie ознакомьтесь с нашей Политикой конфиденциальности.
Найти дистрибьютора Найти дистрибьютора
item.myTitle || список.элемент.название }}
ИзбранноеНомер материала {{ list.item.myNumber || список.номер.элемента }}
Стоимость: {{ list.item.cost }}
Максимальное количество образцов: {{ list.item.maxSample }}
Расчетное время выполнения заказа: {{ list.item.estimatedLeadTime }}
Образец запроса для клиента
Если вы в настоящее время не покупаете продукцию Dow и хотели бы купить ее у нас, позвоните в один из наших центров обслуживания клиентов.
Если вы выберете новый адрес доставки, цены и наличие товаров в вашей корзине могут стать недействительными. Таким образом, цены и доступность будут подтверждены при следующем посещении корзины.
Mercruiser Рекомендации и возможности двигателя Mercruiser. сер. # Диапазон: 1887079 — 2049044
Объем масла: 2-3/4 кварты США (2,6 л)
MCM 80
1,3 л
Сер.
# Диапазон: 2049045 — 2851423
Емкость масла: 5 кварт США (4,7 л)
MCM 90
1,6 л
Сер. # Диапазон: 2851424 — 3226957
Емкость масла: 5 кварты США (4,7 л)
MCM 110/120/ 2,5 л
2,5 л
Сер. # Диапазон: 1537370 — 00853255
Емкость масла: 4 кварты США (3,8 л)
MCM 140/ 3,0 л/LX
3,0 л
Сер. # Диапазон: 2508261 и выше
Емкость масла: 4 кварты США (3,8 л)
MCM 140
3,2 л
Сер. # Диапазон: 1538930 — 1725960
Емкость масла: 5 кварты США (4,7 л)
MCM 470/165/170/ 3,7 л
3,7 л
Сер. # Диапазон: 4208730 и выше
Емкость масла: 5-1/2 кварты США (5,2 л)
MCM 485
3,7 л
Сер. # Диапазон: 5685394 — 6218036
Емкость масла: 5-3/4 кварты США (5,4 л)
MCM 488/180/190/ 3,7LX
3,7 л
Сер. # Диапазон: 6170297 и выше
Объем масла: 6-1/2 кварты США (6,1 л)
MCM 185 (4 барреля)
3,8 л
Сер.
# Диапазон: 6330183 — 6919655
Объем масла
MCM 160/165
4,1 л
Сер. # Диапазон: 2048022 — 5813433
Емкость масла: 5 кварты США (4,7 л)
MCM 175/185/205
4,3 л
Сер. # Диапазон: 0A331455 — 08773242
Емкость масла: 4-1/2 кварты США (4,3 л)
MCM 262 Mag EFI
4,3 л
Сер. # Диапазон: 0F803800 — 0K999999
Емкость масла: 4-1/2 кварты США (4,3 л)
MCM 4.3ULX/LH/LXH
4,3 л
Сер. # Диапазон: 08773243 — 0M299999
Емкость масла: 4-1/2 кварты США (4,3 л)
MCM 4,3 л EFI
4,3 л
Сер. # Диапазон: OL012009 — 0M299999
Объем масла: 4-1/2 кварты США (4,3 л)
MCM 4,3 л и MPI
4,3 л
Сер. # Диапазон: 0M300000 и выше
Емкость масла: 4 кварты США (3,8 л)
MCM 190
4,6 л
Сер. # Диапазон: 1564539 — 1730903
Объем масла: 5 кварт США (4,7 л)
MCM 200
4,8 л
Сер.
# Диапазон: 2453769 — 2712072
Емкость масла: 6 кварты США (5,7 л)
MCM 888
4,9 л
Сер. # Диапазон: 3108723 — 4887829
Емкость масла: 6 кварты США (5,7 л)
MCM/MIE 225
4,9 л
Сер. # Диапазон: 3385721 — 4176999
Емкость масла: 6 кварт США (5,7 л)
MCM/MIE 215
4,9 л
Сер. # Диапазон: 2781153 — 3563181
Емкость масла: 7 кварт США (6,6 л)
MCM 228
5,0 л
Сер. # Диапазон: 4765100 — 5170008
Емкость масла: 5 кварты США (4,7 л)
MCM 200/ 5,0 л1898
5,0 л
Сер. # Диапазон: 4762210 — 0F600999
Емкость масла: 5 кварт США (4,7 л)
MCM 228/230/ 5.OLX
5,0 л
Сер. # Диапазон: 5170009 — 0F600999
Емкость масла: 5-1/2 кварты США (5,2 л)
MCM 5,0 л и EFI
5,0 л
Сер. # Диапазон: OL012052 — 0M299999
Емкость масла: 5-1/2 кварты США (5,2 л)
MCM 5,0 л и MPI
5,0 л
Сер.
# Диапазон: 0M300000 и выше
Емкость масла: 4-1/2 кварты США (4,25 л)
MIE 198/228/230/ 5,0 л
5,0 л
Сер. # Диапазон: 4762210 — 08788151
Емкость масла: 6 кварт США (5,7 л)
MCM 225
5,4 л
Сер. # Диапазон: 1539620 — 2278646
Емкость масла: 5 кварт США (4,7 л)
MCM 225/250
5,4 л
Сер. # Диапазон: 2278647 — 2694014
Емкость масла: 7 кварты США (6,6 л)
MIE 225/250
5,4 л
Сер. # Диапазон: 2278647 — 2694014
Емкость масла: 6 кварт США (5,7 л)
MCM 2501255
5,7 л
Сер. # Диапазон: 4175500 — 4908849
Емкость масла: 5 кварты США (4,7 л)
MCM 260/ 5,7 л/LX и EFI
5,7 л
Сер. # Диапазон: 4908850 — 0M299999
Емкость масла: 5-1/2 кварты США (5,2 л)
MCM 350 Mag, EFI и MPI
5,7 л
Сер. # Диапазон: 4908850 — 0M299999
Объем масла: 5-1/2 кварты США (5,2 л)
MCM 350 Mag & MPI
5,7 л
Сер.
# Диапазон: 0M300000 и выше
Емкость масла: 4-1/2 кварты США (4,25 л)
MCM 5,7 л
5,7 л
Сер. # Диапазон: 0M300000 и выше
Емкость масла: 4-1/2 кварты США (4,25 л)
MIE 255/260/5,7 л
5,7 л
Сер. # Диапазон: 4175500 — 0D839999
Емкость масла: 6 кварт США (5,7 л)
MIE 5,7 л и EFI
5,7 л
Сер. # Диапазон: OD840000 — OK999999
Объем масла: 4 кварты США (3,8 л)
MIE 5,7 л/ 350 Mag MPI
5,7 л
Сер. # Диапазон: OL002003 — 0M299999
Объем масла: 5-1/2 кварты США (5,2 л)
MIE 5,7 л/350 Mag MPI
5,7 л
Сер. # Диапазон: 0M300000 и выше
Емкость масла: 4-1/2 кварты США (4,25 л)
Лыжи 5,7 л
5,7 л
Сер. # Диапазон: 0A338553 — 00756666
Емкость масла: 4 кварты США (3,8 л)
Лыжи 5,7 л/350 Mag & MPI
5,7 л
Сер. # Диапазон: 00756667 — OK999999
Емкость масла: 5 кварты США (4,7 л)
Лыжи 5,7 л/ 350 Mag MPI
5,7 л
Сер.
# Диапазон: OL002005 — 0M299999
Емкость масла: 5-1/2 кварты США (5,2 л)
Лыжи 5,7 л/ 350 Mag MPI
5,7 л
Сер. # Диапазон: 0M300000 и выше
Емкость масла: 4-1/2 кварты США (4,25 л)
Лыжи Black Scorpion (Gen+)
5,7 л
Сер. # Диапазон: OF800000 — 0K999999
Емкость масла: 5 кварты США (4,7 л)
Лыжи Black Scorpion (Gen+)
5,7 л
Сер. # Диапазон: OL002500 — 0M391599
Емкость масла: 5-1/2 кварты США (5,2 л)
Лыжи Black Scorpion (Gen+)
5,7 л
Сер. # Диапазон: 0M391600 и выше
Объем масла: 4-1/2 кварты США (4,25 л)
MCM 233/255
5,8 л
Сер. # Диапазон: 3258728 — 4
4
Емкость масла: 5 кварт США (6,6 л)
MIE 233/255
5,8 л
Сер. # Диапазон: 3258728 — 4775784
Емкость масла: 7 кварты США (6,6 л)
MX 6,2 л MPI
6,2 л
Сер. # Диапазон: OL680003 — 0M299999
Емкость масла: 5-1/2 кварты США (5,2 л)
MX 6,2 л MPI MIE & Ski
6,2 л
Сер.
# Диапазон: 0M300000 и выше
Емкость масла: 4-1/2 кварты США (4,25 л)
MX 6,2 л Blk Scorpion Ski
6,2 л
Сер. # Диапазон: OL670015 — 0M391599
Емкость масла: 5-1/2 кварты США (5,2 л)
MX 6,2 л Blk Scorpion Ski
6,2 л
Сер. # Диапазон: 0M391750 и выше
Емкость масла: 4-1/2 кварты США (4,25 л)
MCM 325
7,0 л
Сер. # Диапазон: 2278747 — 3780449
Емкость масла: 8 кварт США (7,6 л)
MIE 325
7,0 л
Сер. # Диапазон: 2278747 — 3780449
Емкость масла: 7 кварты США (6,6 л)
MCM 330
7,4 л
Сер. # Диапазон: 4623115 — 6083144
Емкость масла: 6 кварты США (5,7 л)
MCM 330 и 454 Mag Alpha
7,4 л
Сер. # Диапазон: 6083145 — 08785148
Емкость масла: 7 кварты США (6,6 л)
MCM 7,4 л и 454 Mag
7,4 л
Сер. # Диапазон: 08771113 — 0D603117
Емкость масла: 8 кварт США (7,6 л)
MCM 7,4 л/LX и 454 Mag, EFI и MPI
7,4 л
Сер.
# Диапазон: OD603118 — 0M024999
Емкость масла: 7 кварты США (6,6 л)
MIE 330
7,4 л
Сер. # Диапазон: 4623115 — 5889913
Емкость масла: 7 кварты США (6,6 л)
MIE 340/ 7,4 л с Borg Warner trans.
7,4 л
Сер. # Диапазон: 5889914 — 0D715493
Емкость масла: 7 кварты США (6,6 л)
MIE 7,4 л с трансмиссией Hurth.
7,4 л
Сер. # Диапазон: 0C391564 — 0D715493
Емкость масла: 8 кварт США (7,6 л)
MIE 7,4 л и 454 Mag MPI
7,4 л
Сер. # Диапазон: 0D715494 — 0L674613
Емкость масла: 7 кварты США (6,6 л)
Ski 454 Mag EFI & MPI
7,4 л
Сер. # Диапазон: 0F215800 — 0K999999
Емкость масла: 7 кварт США (6,6 л)
MCM 390
7,9 л
Сер. # Диапазон: 2781129 — 3042731
Емкость масла: 8 кварт США (7,6 л)
MIE 390
7,9 л
Сер. # Диапазон: 2781129 — 2825059
Емкость масла: 7 кварты США (6,6 л)
MCM 496 Mag & HO
8,1 л
Сер.
# Диапазон: 0M025000 и выше
Емкость масла: 9 кварты США (8,5 л)
MIE 8.1S Horizon & HO
8,1 л
Сер. # Диапазон: 0M026000 и выше
Емкость масла: 9 кварты США (8,5 л)
MCM 502 Mag
8,2 л
Сер. # Диапазон: 00878221 — 0D824588
Емкость масла: 8 кварт США (7,6 л)
MCM 502 Mag, EFI и MPI
8,2 л
Сер. # Диапазон: 0D824589 — 0M024999
Емкость масла: 7 кварт США (6,6 л)
MCM 8,2 Mag
8,2 л
Сер. # Диапазон: 1A350340 и выше
Емкость масла: 7 кварты США (6,6 л)
MIE 8,2 л
8,2 л
Сер. # Диапазон: 00878221 — 0F819619
Емкость масла: 8 кварт США (7,6 л)
MIE 8,2 л MPI
8,2 л
Сер. # Диапазон: 0F819620 — 0L674200
Емкость масла: 7 кварт США (6,6 л)
MIE 8.2
8,2 л
Сер. # Диапазон: 1A350802 и выше
Емкость масла: 7 амер. кварт (6,6 л)
Нужна краткая информация о емкости масла для вашего Mercruiser? В таблице объема моторного масла Mercury Mercruiser от PartsVu указан объем масла для вашего конкретного двигателя и диапазона серийных номеров.

1
-0,015
0,077