Главная дозирующая система карбюратора
Категория:
Карбюратор автомобиля
Публикация:
Главная дозирующая система карбюратора
Читать далее:
Главная дозирующая система карбюратора
Эта система обеспечивает постепенное обеднение горючей смеси при переходе от малых к средним нагрузкам.
Современные карбюраторы имеют в основном схожие главные дозирующие системы. Они содержат большой и малый диффузоры соответственно, размещенные в главном воздушном канале, главный топливный жиклер, сообщенный с поплавковой камерой и эмульсионной трубкой с отверстиями, размещенной в эмульсионном колодце, воздушный жиклер и распылитель, выходящий в главный воздушный канал.
Постоянный состав горючей смеси обеспечивается путем пневматического торможения топлива с помощью воздушного жиклера, расположенного в верхней части эмульсионной трубки. При открывании дроссельной заслонки воздух поступает не только через диффузоры, но и через воздушный жиклер в эмульсионную трубку и тем самым снижает разрежение у топливного жиклера.
Рекламные предложения на основе ваших интересов:
Система не имеет подвижных элементов, поэтому она обладает достаточной стабильностью в работе карбюратора.
Главная дозирующая система двухкамерных карбюраторов содержит главные топливные жиклеры, заглушки, размещенные в нижней части поплавковой камеры и сообщенные с эмульсионными колодцами, в которых концентрично с зазором установлены эмульсионные трубки. Трубки представляют собой полые закрытые снизу цилиндры, имеющие радиальные отверстия на различной высоте. Главные воздушные жиклеры устанавливают преимущественно над эмульсионными трубками. Распылители выполнены в малых диффузорах 5 и снабжены каналами подвода горючей смеси. Дроссельные заслонки соответственно первичной и вторичной камер кинематически связаны между собой таким образом, что вторая камера вступает в работу после открывания первой заслонки на 2/3 ее хода.
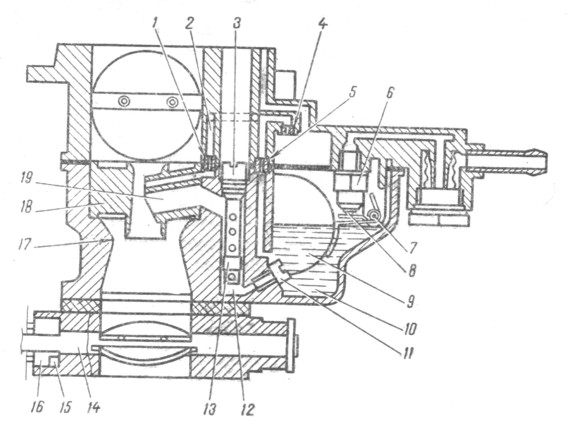
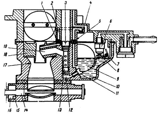
Рис. 1. Главная дозирующая система
Рис. 2. Главная дозирующая система двухкамерных карбюраторов
При небольшом открывании дроссельных заслонок разрежение в диффузорах невелико, поэтому оно не обеспечивает повышения уровня топлива в колодцах, а следовательно, и его подачу к распылителю. Топливо через фильтр и топливный клапан, кинематически связанный с поплавком, поступает в поплавковую камеру, сообщенную через балансировочную трубку (канал) с входным патрубком карбюратора. В дальнейшем топливо из поплавковой камеры через жиклеры поступает в эмульсионные колодцы, где смешивается с воздухом, и через распылители поступает в малые диффузоры карбюратора.
Главная дозирующая система имеет широкие возможности для обогащения горючей смеси. Однако в ряде случаев на режимах больших нагрузок она не обеспечивает необходимый состав горючей смеси. С этой целью применяют дополнительные устройства.
—
Главная дозирующая система карбюратора должна обеспечить оптимальный состав смеси на большинстве режимов малых и средних нагрузок двигателя.
В современных карбюраторах это достигается совместным действием главного и компенсационного жиклеров, пневматическим торможением топлива, регулированием разрежения в диффузоре и регулируемым сечением жиклера.
Рис. 2. Схема работы простейшего карбюратора
При первом способе карбюратор в отличие от элементарного имеет два жиклера: главный и компенсационный, соединенный с компенсационным колодцем. Колодец в верхней части сообщается с атмосферой. Главный жиклер с распылителем работает, как и в элементарном карбюраторе, в зависимости от разрежения в диффузоре. Компенсационный же — только под действием напора h, равного высоте уровня топлива в поплавковой камере над компенсационным жиклером. От разрежения в диффузоре его работа не зависит.
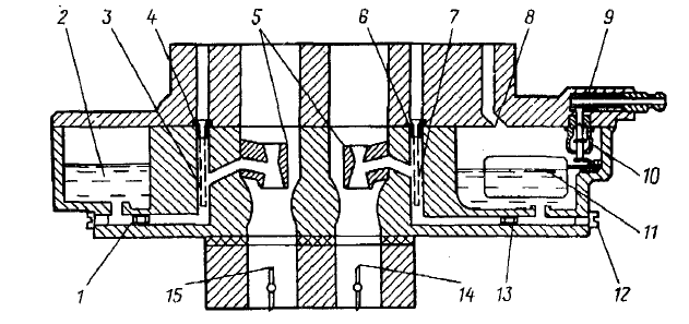
Рис. 3. Главная дозирующая система:
а—с компенсационным жиклером; б—с пневматическим торможением топлива; в—с регулированием разрежения в диффузоре
Во время работы двигателя на малых нагрузках (дроссель 1 прикрыт) количество топлива, подаваемое главным жиклером, уменьшается, а компенсационным — неизменно, что позволяет получить обогащенную смесь.
Переход на средние и большие нагрузки сопровождается открытием дроссельной заслонки. При этом главный жиклер увеличивает подачу топлива через распылитель. Истечение через распылитель компенсационного жиклера превысит его приток из поплавковой камеры, и уровень топлива в колодце понизится. Как только топливо из колодца будет полностью израсходовано, в распылитель будет поступать воздушно-топливная эмульсия. Следовательно, с увеличением разрежения в диффузоре главный жиклер будет обогащать смесь, а компенсационный— обеднять ее. Совместная работа обоих жиклеров обеспечит получение обедненной смеси.
Второй способ — пневматическое торможение топлива — получил наибольшее распространение ввиду лучшего распыления топлива в воздушном потоке и перемешивания его с воздухом. В этом случае топливо из поплавковой камеры поступает в распылитель через жиклер по эмульсионному колодцу, в котором установлена гильза с калиброванным воздушным отверстием. Когда двигатель не работает, топливо в поплавковой камере, распылителе и гильзе находится на одинаковом уровне.
При работе двигателя по мере открытия дроссельной заслонки в диффузоре возникает разрежение, и начинается истечение топлива. По мере увеличения воздушного потока в патрубке уровень топлива в гильзе начинает понижаться, так как пропускная способность выходного отверстия распылителя больше, чем жиклера. Когда топливо в гильзе будет полностью израсходовано и через калиброванное отверстие начнет поступать воздух, из распылителя в смесительную камеру карбюратора начнет поступать эмульсия, состоящая из бензина и воздуха. Поступающий в гильзу воздух уменьшает разрежение у жиклера. Результатом этого является торможение поступающего из жиклера топлива, что необходимо для получения обедненной смеси при работе двигателя на средних нагрузках.
При третьем способе — регулировании разрежения в диффузоре — применяют карбюратор, в смесительной камере которого установлены три диффузора: большой, средний и малый. К большому диффузору прикреплены верхние края упругих стальных пластин, которые перекрывают щель между средним диффузором и воздушным патрубком.
При небольшом разрежении топливо поступает через главный жиклер в малый диффузор, а дополнительный жиклер не работает ввиду малой скорости воздушного потока в большом диффузоре. По мере увеличения разрежения воздушный поток будет отжимать нижние края пластин к патрубку и все большая часть воздуха будет проходить между большим и средним диффузорами. С уменьшением количества воздуха, проходящего через малый диффузор, количество топлива, поступающего через главный жиклер, начнет ускоренно уменьшаться, обедняя приготовляемую смесь. Одновременно с этим из распылителя дополнительного жиклера начинает интенсивно поступать топливо, обогащая получаемую смесь. Таким образом с увеличением разрежения главный жиклер обедняет горючую смесь, а дополнительный — обогащает ее.
При регулируемом сечении жиклера подача топлива изменяется путем движения в жиклере дозирующей иглы, которая связана системой рычагов с дроссельной заслонкой. Подбором профиля дозирующей иглы и величины жиклера можно получить смесь требуемого состава.
Рекламные предложения:
Читать далее: Пусковое устройство и система холостого хода
Категория: — Карбюратор автомобиля
Главная → Справочник → Статьи → Форум
Главные дозирующие системы (ГДС) Солекс 2108, 21081, 21083
Главных дозирующих систем в карбюраторах 2108, 21081, 21083 Солекс две — в первой и второй камере. Конструктивно они встроены в патрубки карбюратора.
Вся их работа основана на скорости прохождения воздуха через эти патрубки и перепаде давления (разрежении) на разных режимах работы двигателя автомобиля при различном положении заслонок карбюратора.
Назначение ГДС Солекс 2108, 21081, 21083
Главные дозирующие системы карбюратора Солекс предназначены для подачи топлива в двигатель автомобиля и обеспечения его работы на всех режимах кроме холостого хода. Если ГДС включаются в работу карбюратора на холостом ходу, значит карбюратор отрегулирован и настроен неправильно.
Устройство главных дозирующих систем Солекс 2108, 21081, 21083
В систему ГДС первой камеры карбюратора входят: воздушный жиклер, эмульсионная трубка, эмульсионный колодец, топливный жиклер, большой диффузор, малый диффузор с распылителем.
Устройство системы второй камеры карбюратора аналогично.
Схема ГДС карбюратора Солекс 2108, 21081, 21083
Схема главных дозирующих систем карбюратора СолексПринцип действия главных дозирующих систем карбюратора Солекс
При работе двигателя автомобиля на холостом ходу дроссельные заслонки карбюратора закрыты. Разрежение в обеих камерах мало. По мере нажатия на педаль «газа» дроссельная заслонка первой камеры начинает приоткрываться.
В результате чего, у распылителя диффузора первой камеры растет разрежение, вызываемое проходящим через камеру потоком воздуха. Оно вызывает засасывание топлива из поплавковой камеры, через топливный жиклер в эмульсионный колодец. В колодце установлена эмульсионная трубка, тут же топливо смешивается с поступающим через воздушный жиклер воздухом и образует топливную эмульсию.Все повышающееся разрежение вызывает истечение топливной эмульсии из распылителя.
Далее эмульсия смешивается с потоком проходящего через диффузор воздуха и образует топливную смесь, необходимую для работы двигателя.
После открытия дроссельной заслонки первой камеры на 2/3, начинает открываться дроссельная заслонка второй камеры, там также растет разрежение и в работу вступает главная дозирующая система второй камеры. Принцип ее работы аналогичен.
Основные тарировочные данные элементов главных дозирующих систем карбюратора 2108, 21081, 21083 Солекс
Солекс 2108-1107010
97.
5/97.5 – топливные жиклеры главных дозирующих систем обеих камер
165/125 – воздушные жиклеры главных дозирующих систем обеих камер
23/ZC – эмульсионные трубки главных дозирующих систем
Солекс 21081-1107010
95/95 – топливные жиклеры
165/145 — воздушные жиклеры
22529/22316 – эмульсионные трубки
Солекс 21083-1107010, 21083-1107010-31, 21083-1107010-35
95/97.5 – топливные жиклеры
155/125 – воздушные жиклеры
23/ZC – эмульсионные трубки
Солекс 21083-1107010-62
80/100 – топливные жиклеры
165/125 – воздушные жиклеры
23/ZC – эмульсионные трубки
Солекс 21051-1107010-00, 21051-1107010-30
105.2/110 – топливные жиклеры
150/135 – воздушные жиклеры
ZD/ZC – эмульсионные трубки
Солекс 21053-1107010-62
110/115 – топливные жиклеры
150/135 – воздушные жиклеры
ZD/ZC – эмульсионные трубки
Солекс 21073-1107010
107.
5/117.5 — топливные жиклеры
150/135 — воздушные жиклеры
ZD/ZC — эмульсионные трубки
Солекс 21041
95/95 — топливные жиклеры
160/100 — воздушные жиклеры
ZD/ZC — эмульсионные трубки
Солекс 21041-10
110/120 — топливные жиклеры
155/135 — воздушные жиклеры
ZD/ZC — эмульсионные трубки
Солекс 1111-1107010
95/95 — топливные жиклеры
170/85 — воздушные жиклеры
ZD/ZC — эмульсионные трубки
Примечания и дополнения
— Устройство и принцип действия главных дозирующих систем у карбюраторов Солекс различных модификаций одинаково, различны лишь тарировочные данные их элементов.
Еще статьи о ГДС карбюраторов Солекс 2108, 21081, 21083
— Прочистка ГДС карбюратора Солекс
— Жиклеры карбюраторов Солекс
— Эмульсионные трубки карбюратора Солекс 2108, 21081, 21083
— Диффузоры карбюратора Солекс
— Поплавковая камера карбюратора Солекс 2108, 21081, 21083
— Система вентиляции поплавковой камеры карбюратора Солекс 2108, 21081, 21083
Главные дозирующие системы карбюратора Солекс 21073
Основная система карбюратора 21073 Солекс, который устанавливается на двигатель 1,7 л автомобиля Нива 21213 — это ГДС (главные дозирующие системы).
Их две — первая и вторая.
Для чего нужны ГДС?
Главные дозирующие системы карбюратора 21073 Солекс предназначены для приготовления топливной смеси нужной пропорции и подачи ее в двигатель автомобиля на всех режимах его работы кроме режима холостого хода (ХХ).
При этом на режиме средних нагрузок они должны длительное время приготавливать топливную смесь постоянного несколько обедненного состава.
Устройство ГДС Солекс 21073
В корпусе и крышке карбюратора выполнены два патрубка, проходящих через весь карбюратор насквозь. В патрубках имеются сужения — это большие диффузоры. В средней части патрубков установлены съемные малые диффузоры с распылителями топлива. Между патрубками высверлены два эмульсионных колодца (каждый для ГДС 1-й и 2-й камер). Они соединены с поплавковой камерой и распылителями малых диффузоров. На дне эмульсионных колодцев завернуты топливные жиклеры для дозирования топлива, поступающего из поплавковой камеры. В каждый колодец вставляется эмульсионная трубка с воздушным жиклером и отверстиями для выхода топливной эмульсии.
Для каждой камеры ГДС эмульсионная трубка своя. Подвод воздуха к воздушным жиклерам от горловины карбюратора.
Наглядней всего рассмотреть устройство ГДС карбюратора Солекс 21073 на схеме.
Схема: ГДС 21073 Солекс и поплавковый механизмПараметры главных дозирующих систем (ГДС) карбюратора 21073 Солекс Нива 21213
Диаметр смесительных камер — 32 мм
Диаметр больших диффузоров — 24 мм
Топливные жиклеры ГДС: 1-я камера 107,5, 2-я камера 117,5
Воздушные жиклеры ГДС: 1-я камера 150, 2-я камера 135
Эмульсионные трубки: 1-я камера – ZD, 2-я камера – ZC
Подробнее: «Параметры и тарировочные данные карбюратора Солекс 21073-1107010».
Как работают главные дозирующие системы карбюратора Солекс 21073 на двигателе 1,7 л автомобиля Нива 21213?
Воздух всасывается в патрубки карбюратора через воздушный фильтр двигателя за счет движения поршней двигателя (создается разрежение — область низкого давления). Сначала он проходит через патрубок ГДС первой камеры.
За счет сужающих диффузоров, скорость воздуха возрастает и у распылителя малого диффузора создается разряжение достаточное для вытягивания бензина через систему ГДС из поплавковой камеры.
Бензин из поплавковой камеры, под действием разрежения, через топливный жиклер, поднимается в эмульсионный колодец и там смешивается с воздухом, проходящим сверху, через воздушный жиклер и выходящий через отверстия в эмульсионной трубке. Такое смешение называется пневматическим торможением. Оно необходимо для предотвращения сильного обогащения топливной смеси. В результате в эмульсионном колодце образуется эмульсия (смесь бензина и воздуха), которая под действием разрежения с большой скоростью выбрасывается в через распылитель в диффузоре в смесительную камеру. Там она смешивается с воздухом и попадает дальше в двигатель.
По мере открытия дроссельной заслонки второй камеры она так же включается в работу. Это позволяет увеличить мощность двигателя за счет поступления дополнительной дозы топлива.
Таким образом за счет специально подобранных калиброванных отверстий (жиклеров), смешения воздуха с бензином в эмульсионных трубках и последовательного включения камер достигается нужная пропорция в топливной смеси, которая позволяет получить максимальную отдачу от двигателя.
Неисправности ГДС
Основная неисправность — это засорение топливных и воздушных жиклеров, эмульсионных колодцев и эмульсионных трубок. Со временем на стенках отверстий топливных жиклеров появляются отложения от присадок в бензине, а эмульсионные колодцы с эмульсионными трубками заносит мусором. В результате нарушается подача бензина в смесительные камеры и двигатель теряет мощность и приемистость.
Их можно прочистить самостоятельно. Подробная инструкция: «Прочистка топливных и воздушных жиклеров карбюраторов Солекс».
Помимо этого при слишком низком топлива в поплавковой камере поток бензина проходящий через ГДС снижается, а воздух остается в прежнем объеме, что приводит к обеднению топливной смеси и перебоям в работе двигателя.
В случае повышенного уровня топлива в поплавковой камере, наоборот, карбюратор будет «заливать» через систему ГДС, так как уровень топлива в эмульсионных колодцах повысится.
Примечания и дополнения
— Различий в устройстве ГДС карбюратора Солекс 21073 и других карбюраторов этой модификации нет кроме тарировочных данных.
Еще статьи по карбюратору Солекс 21073 Нива 21213
— Разборка карбюратора 21073 Солекс
— Сборка после разборки карбюратора 21073 Солекс
— Регулировочные винты карбюратора 21073 Солекс
— Система ЭПХХ карбюратора 21073 Солекс
— Экономайзер мощностных режимов карбюратора Солекс 21073
— Эконостат карбюратора Солекс 21073
— Прочистка топливного фильтра карбюратора 21073 Солекс
|
Если эволюция аэродинамики привела к тому, что все современные автомобили стали практически неотличимы друг от друга по внешнему виду, кроме логотипов компаний и решёток радиаторов на которых они ставятся, то про эволюцию карбюраторов как-то говорить не приходится и правильнее бы её назвать эволюцией компромиссов. Но так было не везде и не всегда! В России уровень эволюции карбюраторостроения остановился на отметке 1965-1970 гг., а сроки запрета выпуска карбюраторных автомобилей всё дальше и дальше переносятся в будущее. В то время, как внутренние цены на топливо в нефте- и газодобывающей стране стремятся достичь мировых. В таких условиях пытается развиваться народная эволюция российских карбюраторов, что выражается в таких устройствах как УПГС (устройство приготовления гомогенной смеси), АСК (автомобильный синтезатор катализатора), УОТС (устройство образования топливной смеси), статические и динамические завихрители, распылители водяной эмульсии и т. Раскрыть полный список противоречий карбюратора (технических физическим и наоборот) не входит в объём данной статьи, но на основной недостаток такой системы карбюратора, как по назначению, так и по потреблению топлива, как главная дизирующая система (ГДС), указать хотелось бы. Даже мимолётный взгляд на ГДС улавливает явное несоответствие такой красивой, симметричной системе главного диффузора (сопло Лаваля или большой диффузор — БД) и стоящей ей поперёк горла дроссельной заслонки, которая будучи частично открытой (75% городского цикла движения) перекрывает центральную часть БД, нарушая условия оптимального смесеобразования. При этом приходится настраивать ГДС на более обогащённую рабочую смесь, чтобы компенсировать более позднее вступление в работу ГДС и неоптимальное смесеобразование при частично открытой ДЗ. Проблема известна давно. Более того, существует несколько путей её решения:
Как доработать карбюратор (тюнинг) для максимальной отдачи мощности (в разумных пределах, учитывающих ресурс двигателя и его экономичность) было изложено в ранних статьях по тюнингу карбюраторов на izh .2126.ru. Также был рассмотрен вариант оптимизационного тюнинга ГДС, который позволяет улучшить параметры бензовоздушной смеси на этапе её получения в эмульсионных колодцах (карбюратор ДААЗ «ОЗОН») и повысить экономичность ДВС. Теперь настала очередь оптимизационного тюнинга МД первой камеры карбюратора ДААЗ-2107/2140 «ОЗОН». Основной идеей доработки МД является выполнение дополнительного «окна» ( windows 2004 🙂 ) на боковой поверхности МД напротив щели, которую образует дроссельная заслонка (ДЗ) при неполном своём открытии. Ясно, что ДЗ образует при открытии две симметричные щели, что также будет учтено, но на данный момент более логично использовать «окно» напротив отверстий х/х и переходной системы ГДС 1 камеры. Другими словами – «окно» смотрит на центр карбюратора.
Если просто обрезать МД снизу, то на высоких оборотах (аналогично п.2. и п.3.) получим неоптимальную топливную смесь на высоких оборотах двигателя и падение максимальной скорости автомобиля на 10-15% (в зависимости от размера обрезки МД), т.е. сколько выиграем в экономичности в городском цикле, столько проиграем в экономичности по трассе (при более обогащённой настройке ГДС2 для компенсации ГДС1) или в максимальной скорости авто. На каком расстоянии от низа МД нужно выполнить окно? Какой формы и размеров должно быть окно в МД? Сколько окон в МД предпочтительнее – одно или два? Все эти вопросы разрешить без хорошей экспериментальной базы невозможно. Зато можно сделать эту базу прямо на рабочем двигателе в хорошем состоянии, руководствуясь лишь своими впечатлениями и ощущениями. Но при этом необходимо привлечь к этому как можно больше автовладельцев, что будет хоть как-то соответствовать реальности и создавать статистику. Что и было сделано. База представляет собой МД с круглым отверстием 3-4мм на месте предполагаемого «окна». На данный момент для двигателей ВАЗ и УЗАМ оптимальными как по динамическим, так и по экономическим характеристикам является треугольное окно (см. фото). Причём треугольное окно позволяет уменьшить сечение ГТЖ1 на 0,05мм (например со 125 до 120) без заметных ухудшений в динамике разгона и максимальной скорости авто, что также даёт максимальную экономию топлива (для данного вида тюнинга) на 10% относительно среднего расхода до внедрения тюнинга. Для двигателей ЗМЗ оптимальным оказалось обычное прямоугольное окно МД (см. фото, карбюратор К-151) и два косых окна (см. фото: с двух сторон МД, карбюратор ДААЗ-4178). Хотя вариант треугольного окна так же убирал провалы и подёргания в работе двигателей, но практически не сказывался на улучшении топливной экономичности двигателей. Поскольку точные геометрические данные с полученных окон МД снять трудно, но имеются хорошего качества фотографии, то можно повторить окна прямо по наглядному пособию. P. S. Тема полностью не разработана. Автор имеет право вносить изменения в МД и типы окон МД. По мере получения уточнённых данных статья будет исправлена и/или дополнена. Принимаются любые конструктивные пожелания и рекомендации по заданной теме тюнинга в форуме Автоклуба izh .2126.ru
Дополнение:
3-х щелевой МД1
3-х щелевой МД1
3-х щелевой МД1
3-х щелевой МД1
треугольное окно МД1
треугольное окно МД1
треугольное окно МД1
треугольное окно МД1
треугольное окно МД1
2 косых окна МД1
2 косых окна МД1
2 косых окна МД1
2 косых окна МД1
2 косых окна МД1
простое окно МД1
простое окно МД1
простое окно МД1
простое окно МД1
Распылитель ГДС без МД
Распылитель ГДС без МД
Распылитель ГДС без МД
МД «из-за такта»
Высокий БД
Укороченный МД=4,5 (-2,5мм) для работы как МД1 в ДААЗ-2107 (24х26) © Борис_030, апрель 2005 |
Solex — засорение ГДС (главной дозирующей системы) | Autotest-Online.
ruВ этой статье мы поговорим о таком явлении, как засорение главной дозирующей системы карбюратора. В частности, засорение главной дозирующей системы первой камеры.
Жмем на педаль газа, а машина глохнет — знакомое явление, правда? Тронуться возможно только «разгазовывая» двигатель ритмичными нажатиями на педаль газа. Но, если во время движения нажать педаль газа в пол, автомобиль начинает ехать. В чем же причина такого явления?
Источник: https://versiya.info/avto/33114/ampОтвет прост: засорение топливного жиклера первой камеры. Но вот решение проблемы может оказаться не таким простым для карбюраторов Солекс.
Источник: http://karburater.ru/ustroistvo/ustrojstvo-soleks-21073.htmlВсе дело в конструктивной особенности данного карбюратора. А именно, в расположении топливных жиклеров: они находятся в колодце. В этот же колодец залетает и соринка. Проблема в том, что попав туда однажды, сама эта соринка уже не вылетит, а достать ее от туда не так уж и просто.
Источник: https://twokarburators.
ru/wp-content/uploads/2018/10/21073-shema.pngСамый правильный вариант — это продуть карбюратор сжатым воздухом в 8 атмосфер, предварительно выкрутив все жиклеры из карбюратора. Но воздушный компрессор есть не у каждого. Однако Вам может повезти: если получится аккуратно достать топливный жиклер, то вместе с ним можно достать и соринку.
Для того, что бы достать топливный жиклер из колодца, понадобится металлический стержень диаметром совпадающий с диаметром жиклера.
Удалив воздушный жиклер и открутив топливный, вставляем в колодец металлический стержень, немного надавив на топливный жиклер. После чего вынимаем стержень из колодца. Если все получится, то вместе со стержнем Вы достанете и топливный жиклер.
Если вместе с жиклером соринку достать не получилось, и воздушного компрессора в наличии у Вас нет? Как быть в этом случае? Можно воспользоваться подручными средствами. А именно, аптечной грушей со вставленной в нее трубочкой.
Опускаем трубочку в топливный колодец и выкачиваем из него бензин.
Повторяем процедуру несколько раз. При удачном стечении обстоятельств, вместе с бензином получится поймать и соринку.
Ставьте лайки! Подписывайтесь на канал.
Приглашаем Вас посетить autotest-online.ru — уникальный онлайн-инструмент диагностики карбюраторных автомобилей.
Карбюратор 53 – конструкция и регулировка opex.ru
Array
(
[DATE_ACTIVE_FROM] => 24.01.2020 09:17:00
[~DATE_ACTIVE_FROM] => 24.01.2020 09:17:00
[ID] => 509135997
[~ID] => 509135997
[NAME] => Карбюратор 53 – конструкция и регулировка
[~NAME] => Карбюратор 53 – конструкция и регулировка
[IBLOCK_ID] => 33
[~IBLOCK_ID] => 33
[IBLOCK_SECTION_ID] =>
[~IBLOCK_SECTION_ID] =>
[DETAIL_TEXT] => Карбюратор ГАЗ 53
Любой автомобиль — это целая конструкция, в которой отведена роль для каждой детали. Особенно важным элементом в транспортном средстве является карбюратор.
С его помощью удается отрегулировать количество поступающего в двигатель топлива.
Подготовка смеси происходит в цилиндрах. Внутри элементы устройства распыляют его на мелкие капли и испаряют под воздействием высоких температур, чтобы они смешались с воздухом и воспламенились.
На автомобиле ГАЗ 53 установлен карбюратор модели К-126. Детали устройства чем-то напоминают элементы, которые были предусмотрены в конструкции карбюратора ЗИЛ-130.
Что представляет собой карбюратор?
Внутри каждого карбюратора установлены различные системы. Они обеспечивают надежное функционирование устройства независимо от условий, в которых эксплуатируется мотор. Также есть дополнения.
Конструкция карбюратора включает:
- камеру с поплавком;
- заслонку для воздуха;
- различные системы;
- экономайзер.

Также в конструкции имеется ускорительный насос, ответственный за своевременную подачу топлива.
Как работают системы?
Чтобы мотор работал эффективно, должна быть обеспечена надежная эксплуатация каждой системы:
- Поплавковая отвечает за состояние топлива и его количество. Впоследствии она организует передачу смеси в поплавковую камеру, где происходит ее обработка.
- Ускорительный насос способствует увеличению количества подаваемого топлива, что предотвращает остановку двигателя во время разгона.
- Система холостого хода является ответственной за сокращение подачи топлива в случае перехода на холостые обороты.
- Переходная система отвечает за включение соответствующего режима.
- Дозирующая система является ответственной за образование газовоздушного тумана. С ее помощью обеспечивается подача топлива внутрь мотора, когда транспортное средство переходит на движение со средними скоростями.

Дополнительно можно отметить систему экономайзера. Она организует подачу обогащенной воздухом смеси в двигатель при возрастании нагрузки.
Особенности конструкции
Особенность карбюратора ГАЗ 53 — это наличие двух отдельных камер. В модели также предусмотрен экономайзер, в котором удалось расположить привод и насос, ускоряющий подачу топлива. Корпус карбюратора делится на три части.
Соединение частей обеспечивается за счет крепежных винтов. Сетчатый фильтр способствует подаче топлива в поплавковую камеру, где происходит его обработка. Еще одним преимуществом модели является воздушная заслона, используемая в качестве пускового устройства. В ней установлен воздушный клапан. Он отвечает за предотвращение образования обогащенной газами смеси во время запуска двигателя.
Устройство К-126
В конструкции карбюратора предусмотрены две камеры, каждая из которых имеет режим падающего потока топлива.
Обе камеры не зависят друг от друга, и каждая обеспечивает цилиндры двигателя необходимым количеством топлива, которое поступает через впускную трубу.
Внутри поплавковой камеры находится воздушная заслона. В ней также предусмотрено два клапана, открывание которых происходит в автоматическом режиме.
Каждая камера дополнительно оборудована:
- двумя системами — холостого хода и дозирующей;
- распылителями.
Обе камеры похожи конструкцией. В каждой имеется система пуска холодного двигателя и насос, ускоряющий подачи смеси. Экономайзер один, поэтому соединение его с камерами осуществляется посредством предусмотренных клапанов. Механизмы привода отвечают за своевременную подачу топлива в цилиндры.
В системе холостого хода установлены жиклеры, которые делятся на топливный и воздушный. В каждом из этих элементов предусмотрены специальные отверстия, ведущие к камере, где происходит создание смеси.
Отверстие в нижней части жиклеров оборудовано винтом с уплотнительным кольцом из резины. Винт отвечает за регулировку состава подаваемой смеси. Уплотнитель предназначен для предотвращения проникновения воздуха.
Задача воздушного жиклера — эмульсирование смеси. В холостой системе также предусмотрена система дозировки топлива. Состав этой системы включает большой и малый диффузоры, ответственные за распределение топлива перед его отправкой в двигатель.
Главная дозирующая система
Является основой карбюратора. ГДС отвечает за своевременную транспортировку топливной смеси к двигателю и тщательно отслеживает ее состав. В результате такой работы топливо не обедняется и не обогащается излишними газами на средних оборотах двигателя. Камеры системы имеют по два жиклера: один топливный, второй — воздушный.
Система холостого хода
С ее помощью удается организовать стабильную работу силового агрегата при включении режима холостых оборотов.
В конструкции системы есть дроссельная заслонка. Чтобы во впускной тракт поступала бензиновая смесь на холостом ходу транспортного средства, заслона немного приоткрывается.
Регулировкой смеси занимается дроссель, положение оси которого устанавливается посредством винта количества. Также имеется винт качества, он отвечает за обогащение или обеднение смеси.
Поплавковая камера
Для нее предусмотрено место в основном корпусе устройства. Основная задача — отслеживание уровня топлива и его поддержка, посредством чего удастся организовать эффективную работу систем питания силового агрегата.
Конструкция камеры включает:
- поплавок;
- запорный механизм.
Последний состоит из иглы, оборудованной мембраной, и седла клапана.
Экономайзер
Посредством работы данного элемента обеспечивается обогащение топливной смеси воздухом на больших оборотах двигателя внутреннего сгорания при увеличении нагрузки на устройство.
Конструкция экономайзера включает клапан, максимальной открытие которого запускает порцию дополнительного топлива.
Ускорительный насос
Представляет собой маленький поршень, оборудованный манжетой. Он установлен внутри цилиндрического канала. Устройство отвечает за ускорение подачи топлива. Достигается это следующим образом: когда происходит резкое нажатие на педаль газа, привод дроссельной заслонки передает давление на поршень, и тот начинает быстро двигаться.
Система пуска
Одна из основных систем, посредством действия которой удается организовать эффективную работу холодного двигателя. Конструкция системы включает:
- несколько пневмоклапанов;
- систему рычагов.
Последние связывают две заслонки. Запуск холодного двигателя в ГАЗ 53 приводит к открытию заслонов и добавлению воздуха в карбюраторе. Это приводит к бесперебойной работе силового агрегата.
Основные неисправности
В процессе эксплуатации ГАЗ 53 в работе силового агрегата и карбюратора возникают проблемы.
Большая часть неисправностей происходит из-за увеличенного расхода топлива независимо от того, какая смесь поступает в цилиндры — обедненная или обогащенная. Среди распространенных поломок выделяют:
- появление черного дыма из выхлопной трубы;
- неустойчивую работу двигателя на холостых оборотах;
- отсутствие развития оборотов;
- провал в работе ДВС во время резкого ускорения;
- небольшой разгон транспортного средства;
- отсутствие необходимой мощности.
Также одной из распространенных неисправностей является образование рывков при движении автомобиля. В любом случае при обнаружении проблемы в первую очередь стоит заглянуть в карбюратор, так как большая часть поломок происходит именно в этом устройстве из-за отказа той или иной системы. При желании можно исправить проблему самостоятельно, но лучше обратиться за помощью профессионалов.
Регулировка карбюратора
Подразумевает выполнение следующих настроек:
- холостого хода;
- уровня топлива, которое находится в поплавковой камере;
- хода поршенька, предусмотренного в насосе-ускорителе;
- момента включения системы экономайзера.

Практически все регулировки проводятся с разборкой устройства. Единственная, которая не требует проведения подобных работ, — это регулировка холостого хода двигателя. Эта процедура является наиболее распространенной, и выполнить ее можно самостоятельно.
Остальные виды регулировок рекомендуется доверить профессионалам, у которых есть опыт работы и знания об устройстве карбюратора. Специалисты смогут правильно разобрать и собрать конструкцию устройства, а также обеспечат его надежную работу.
Регулировка холостого хода
Так как данный вид настроек можно провести самостоятельно, стоит подробнее рассмотреть, как это делать. Все, что потребуется владельцу транспортного средства — это:
- Заглушить двигатель и убедиться, что все системы не работают.
- Завернуть винты качества, установленные в обеих камерах, до конца.
- Открутить каждый винт примерно на 3 оборота.

- Запустить мотор и дождаться, пока он прогреется до рабочего состояния.
- В процессе работы двигателя выставить количество оборотов. Приблизительное количество оборотов должно составлять 600. Тахометр в ГАЗ 53 отсутствует, поэтому устанавливать обороты придется на слух. Нельзя, чтобы они были слишком высокими или низкими, так как тогда регулировка будет неэффективной.
- Закрутить один из винтов до момента, пока в работе ДВС не появятся перебои. Как только этого удастся достичь, необходимо отвести винт назад примерно на одну восьмую оборота. Это необходимо, чтобы работа двигателя была устойчивой.
- То же самое проделать с другой камерой, устанавливая нужное число оборотов на каждом винте.
Иногда за счет винта качества можно поднять обороты. Обычно такая необходимость возникает, когда при сбросе педали газа мотор начинает глохнуть или вовсе выходит из строя.
Когда все работы будут выполнены, останется проверить работоспособность карбюратора и комфортность эксплуатации транспортного средства.
Если никаких посторонних шумов или проблем с работой двигателя не возникает, значит, регулировка выполнена верно.
Регулировка поплавка
Чтобы проверить правильность работы карбюратора, следует сначала определить количество топлива. Для этого рекомендуется взглянуть на положение поплавка конструкции. Важно, чтобы его перемещение на оси было свободным, а также была обеспечена герметичность корпуса.
Игла клапана поплавка должна двигаться свободно, без каких-либо заеданий в процессе перемещения. Если такое движение отсутствует, будет нарушена конструкция детали.
Проверка герметичности поплавка осуществляется посредством извлечения его из карбюратора и погружения в кипяток. Если на поверхности образуются пузырьки газа, значит, герметичность нарушена. Для устранения неисправности:
- Делают прокол в обнаруженном месте.
- Удаляют воду и топливо, скопившееся внутри поплавка.
- Просушивают поплавок.

- Герметизируют отверстие.
Такая регулировка обеспечит надежную работу элемента.
[~DETAIL_TEXT] =>Карбюратор ГАЗ 53
Любой автомобиль — это целая конструкция, в которой отведена роль для каждой детали. Особенно важным элементом в транспортном средстве является карбюратор. С его помощью удается отрегулировать количество поступающего в двигатель топлива.
Подготовка смеси происходит в цилиндрах. Внутри элементы устройства распыляют его на мелкие капли и испаряют под воздействием высоких температур, чтобы они смешались с воздухом и воспламенились.
На автомобиле ГАЗ 53 установлен карбюратор модели К-126. Детали устройства чем-то напоминают элементы, которые были предусмотрены в конструкции карбюратора ЗИЛ-130.
Что представляет собой карбюратор?
Внутри каждого карбюратора установлены различные системы. Они обеспечивают надежное функционирование устройства независимо от условий, в которых эксплуатируется мотор.
Также есть дополнения.
Конструкция карбюратора включает:
- камеру с поплавком;
- заслонку для воздуха;
- различные системы;
- экономайзер.
Также в конструкции имеется ускорительный насос, ответственный за своевременную подачу топлива.
Как работают системы?
Чтобы мотор работал эффективно, должна быть обеспечена надежная эксплуатация каждой системы:
- Поплавковая отвечает за состояние топлива и его количество. Впоследствии она организует передачу смеси в поплавковую камеру, где происходит ее обработка.
- Ускорительный насос способствует увеличению количества подаваемого топлива, что предотвращает остановку двигателя во время разгона.
- Система холостого хода является ответственной за сокращение подачи топлива в случае перехода на холостые обороты.
- Переходная система отвечает за включение соответствующего режима.

- Дозирующая система является ответственной за образование газовоздушного тумана. С ее помощью обеспечивается подача топлива внутрь мотора, когда транспортное средство переходит на движение со средними скоростями.
Дополнительно можно отметить систему экономайзера. Она организует подачу обогащенной воздухом смеси в двигатель при возрастании нагрузки.
Особенности конструкции
Особенность карбюратора ГАЗ 53 — это наличие двух отдельных камер. В модели также предусмотрен экономайзер, в котором удалось расположить привод и насос, ускоряющий подачу топлива. Корпус карбюратора делится на три части.
Соединение частей обеспечивается за счет крепежных винтов. Сетчатый фильтр способствует подаче топлива в поплавковую камеру, где происходит его обработка. Еще одним преимуществом модели является воздушная заслона, используемая в качестве пускового устройства. В ней установлен воздушный клапан. Он отвечает за предотвращение образования обогащенной газами смеси во время запуска двигателя.
Устройство К-126
В конструкции карбюратора предусмотрены две камеры, каждая из которых имеет режим падающего потока топлива. Обе камеры не зависят друг от друга, и каждая обеспечивает цилиндры двигателя необходимым количеством топлива, которое поступает через впускную трубу.
Внутри поплавковой камеры находится воздушная заслона. В ней также предусмотрено два клапана, открывание которых происходит в автоматическом режиме.
Каждая камера дополнительно оборудована:
- двумя системами — холостого хода и дозирующей;
- распылителями.
Обе камеры похожи конструкцией. В каждой имеется система пуска холодного двигателя и насос, ускоряющий подачи смеси. Экономайзер один, поэтому соединение его с камерами осуществляется посредством предусмотренных клапанов. Механизмы привода отвечают за своевременную подачу топлива в цилиндры.
В системе холостого хода установлены жиклеры, которые делятся на топливный и воздушный.
В каждом из этих элементов предусмотрены специальные отверстия, ведущие к камере, где происходит создание смеси.
Отверстие в нижней части жиклеров оборудовано винтом с уплотнительным кольцом из резины. Винт отвечает за регулировку состава подаваемой смеси. Уплотнитель предназначен для предотвращения проникновения воздуха.
Задача воздушного жиклера — эмульсирование смеси. В холостой системе также предусмотрена система дозировки топлива. Состав этой системы включает большой и малый диффузоры, ответственные за распределение топлива перед его отправкой в двигатель.
Главная дозирующая система
Является основой карбюратора. ГДС отвечает за своевременную транспортировку топливной смеси к двигателю и тщательно отслеживает ее состав. В результате такой работы топливо не обедняется и не обогащается излишними газами на средних оборотах двигателя. Камеры системы имеют по два жиклера: один топливный, второй — воздушный.
Система холостого хода
С ее помощью удается организовать стабильную работу силового агрегата при включении режима холостых оборотов. В конструкции системы есть дроссельная заслонка. Чтобы во впускной тракт поступала бензиновая смесь на холостом ходу транспортного средства, заслона немного приоткрывается.
Регулировкой смеси занимается дроссель, положение оси которого устанавливается посредством винта количества. Также имеется винт качества, он отвечает за обогащение или обеднение смеси.
Поплавковая камера
Для нее предусмотрено место в основном корпусе устройства. Основная задача — отслеживание уровня топлива и его поддержка, посредством чего удастся организовать эффективную работу систем питания силового агрегата.
Конструкция камеры включает:
- поплавок;
- запорный механизм.
Последний состоит из иглы, оборудованной мембраной, и седла клапана.
Экономайзер
Посредством работы данного элемента обеспечивается обогащение топливной смеси воздухом на больших оборотах двигателя внутреннего сгорания при увеличении нагрузки на устройство. Конструкция экономайзера включает клапан, максимальной открытие которого запускает порцию дополнительного топлива.
Ускорительный насос
Представляет собой маленький поршень, оборудованный манжетой. Он установлен внутри цилиндрического канала. Устройство отвечает за ускорение подачи топлива. Достигается это следующим образом: когда происходит резкое нажатие на педаль газа, привод дроссельной заслонки передает давление на поршень, и тот начинает быстро двигаться.
Система пуска
Одна из основных систем, посредством действия которой удается организовать эффективную работу холодного двигателя. Конструкция системы включает:
- несколько пневмоклапанов;
- систему рычагов.
Последние связывают две заслонки.
Запуск холодного двигателя в ГАЗ 53 приводит к открытию заслонов и добавлению воздуха в карбюраторе. Это приводит к бесперебойной работе силового агрегата.
Основные неисправности
В процессе эксплуатации ГАЗ 53 в работе силового агрегата и карбюратора возникают проблемы. Большая часть неисправностей происходит из-за увеличенного расхода топлива независимо от того, какая смесь поступает в цилиндры — обедненная или обогащенная. Среди распространенных поломок выделяют:
- появление черного дыма из выхлопной трубы;
- неустойчивую работу двигателя на холостых оборотах;
- отсутствие развития оборотов;
- провал в работе ДВС во время резкого ускорения;
- небольшой разгон транспортного средства;
- отсутствие необходимой мощности.
Также одной из распространенных неисправностей является образование рывков при движении автомобиля. В любом случае при обнаружении проблемы в первую очередь стоит заглянуть в карбюратор, так как большая часть поломок происходит именно в этом устройстве из-за отказа той или иной системы.
При желании можно исправить проблему самостоятельно, но лучше обратиться за помощью профессионалов.
Регулировка карбюратора
Подразумевает выполнение следующих настроек:
- холостого хода;
- уровня топлива, которое находится в поплавковой камере;
- хода поршенька, предусмотренного в насосе-ускорителе;
- момента включения системы экономайзера.
Практически все регулировки проводятся с разборкой устройства. Единственная, которая не требует проведения подобных работ, — это регулировка холостого хода двигателя. Эта процедура является наиболее распространенной, и выполнить ее можно самостоятельно.
Остальные виды регулировок рекомендуется доверить профессионалам, у которых есть опыт работы и знания об устройстве карбюратора. Специалисты смогут правильно разобрать и собрать конструкцию устройства, а также обеспечат его надежную работу.
Регулировка холостого хода
Так как данный вид настроек можно провести самостоятельно, стоит подробнее рассмотреть, как это делать.
Все, что потребуется владельцу транспортного средства — это:
- Заглушить двигатель и убедиться, что все системы не работают.
- Завернуть винты качества, установленные в обеих камерах, до конца.
- Открутить каждый винт примерно на 3 оборота.
- Запустить мотор и дождаться, пока он прогреется до рабочего состояния.
- В процессе работы двигателя выставить количество оборотов. Приблизительное количество оборотов должно составлять 600. Тахометр в ГАЗ 53 отсутствует, поэтому устанавливать обороты придется на слух. Нельзя, чтобы они были слишком высокими или низкими, так как тогда регулировка будет неэффективной.
- Закрутить один из винтов до момента, пока в работе ДВС не появятся перебои. Как только этого удастся достичь, необходимо отвести винт назад примерно на одну восьмую оборота. Это необходимо, чтобы работа двигателя была устойчивой.
- То же самое проделать с другой камерой, устанавливая нужное число оборотов на каждом винте.

Иногда за счет винта качества можно поднять обороты. Обычно такая необходимость возникает, когда при сбросе педали газа мотор начинает глохнуть или вовсе выходит из строя.
Когда все работы будут выполнены, останется проверить работоспособность карбюратора и комфортность эксплуатации транспортного средства. Если никаких посторонних шумов или проблем с работой двигателя не возникает, значит, регулировка выполнена верно.
Регулировка поплавка
Чтобы проверить правильность работы карбюратора, следует сначала определить количество топлива. Для этого рекомендуется взглянуть на положение поплавка конструкции. Важно, чтобы его перемещение на оси было свободным, а также была обеспечена герметичность корпуса.
Игла клапана поплавка должна двигаться свободно, без каких-либо заеданий в процессе перемещения. Если такое движение отсутствует, будет нарушена конструкция детали.
Проверка герметичности поплавка осуществляется посредством извлечения его из карбюратора и погружения в кипяток.
Если на поверхности образуются пузырьки газа, значит, герметичность нарушена. Для устранения неисправности:
- Делают прокол в обнаруженном месте.
- Удаляют воду и топливо, скопившееся внутри поплавка.
- Просушивают поплавок.
- Герметизируют отверстие.
Такая регулировка обеспечит надежную работу элемента.
[DETAIL_TEXT_TYPE] => html [~DETAIL_TEXT_TYPE] => html [PREVIEW_TEXT] =>Чтобы правильно проводить регулировку карбюратора ГАЗ 53, следует разобраться, что представляет собой устройство. Поможет сделать это данная статья.
[~PREVIEW_TEXT] =>Чтобы правильно проводить регулировку карбюратора ГАЗ 53, следует разобраться, что представляет собой устройство. Поможет сделать это данная статья.
[PREVIEW_TEXT_TYPE] => html [~PREVIEW_TEXT_TYPE] => html [DETAIL_PICTURE] => [~DETAIL_PICTURE] => [TIMESTAMP_X] => 27.01.2020 15:33:00 [~TIMESTAMP_X] => 27.
01.2020 15:33:00
[ACTIVE_FROM] => 24.01.2020 09:17:00
[~ACTIVE_FROM] => 24.01.2020 09:17:00
[LIST_PAGE_URL] => /press/articles/
[~LIST_PAGE_URL] => /press/articles/
[DETAIL_PAGE_URL] => /press/articles/karbyurator-53-konstruktsiya-i-regulirovka/
[~DETAIL_PAGE_URL] => /press/articles/karbyurator-53-konstruktsiya-i-regulirovka/
[LANG_DIR] => /
[~LANG_DIR] => /
[CODE] => karbyurator-53-konstruktsiya-i-regulirovka
[~CODE] => karbyurator-53-konstruktsiya-i-regulirovka
[EXTERNAL_ID] => 509135997
[~EXTERNAL_ID] => 509135997
[IBLOCK_TYPE_ID] => content
[~IBLOCK_TYPE_ID] => content
[IBLOCK_CODE] => articles
[~IBLOCK_CODE] => articles
[IBLOCK_EXTERNAL_ID] =>
[~IBLOCK_EXTERNAL_ID] =>
[LID] => s1
[~LID] => s1
[NAV_RESULT] =>
[DISPLAY_ACTIVE_FROM] => 24.01.2020
[IPROPERTY_VALUES] => Array
(
[SECTION_META_TITLE] => Карбюратор 53 – конструкция и регулировка
[SECTION_META_KEYWORDS] => Карбюратор 53 – конструкция и регулировка
[SECTION_META_DESCRIPTION] => Карбюратор 53 – конструкция и регулировка
[SECTION_PAGE_TITLE] => Карбюратор 53 – конструкция и регулировка
[ELEMENT_META_KEYWORDS] => Карбюратор 53 – конструкция и регулировка
[ELEMENT_PAGE_TITLE] => Карбюратор 53 – конструкция и регулировка
[SECTION_PICTURE_FILE_ALT] => Карбюратор 53 – конструкция и регулировка
[SECTION_PICTURE_FILE_TITLE] => Карбюратор 53 – конструкция и регулировка
[SECTION_DETAIL_PICTURE_FILE_ALT] => Карбюратор 53 – конструкция и регулировка
[SECTION_DETAIL_PICTURE_FILE_TITLE] => Карбюратор 53 – конструкция и регулировка
[ELEMENT_PREVIEW_PICTURE_FILE_ALT] => Карбюратор 53 – конструкция и регулировка
[ELEMENT_PREVIEW_PICTURE_FILE_TITLE] => Карбюратор 53 – конструкция и регулировка
[ELEMENT_DETAIL_PICTURE_FILE_ALT] => Карбюратор 53 – конструкция и регулировка
[ELEMENT_DETAIL_PICTURE_FILE_TITLE] => Карбюратор 53 – конструкция и регулировка
[ELEMENT_META_TITLE] => Карбюратор 53 – конструкция и регулировка в техническом центре ОРЕХ в г.
Балашиха Московской области
[ELEMENT_META_DESCRIPTION] => В статье приведена информация о том, какой карбюратор установлен на ГАЗ 53, а также какие у него могут возникнуть неисправности и как осуществляется его регулировка.
) [FIELDS] => Array
(
[DATE_ACTIVE_FROM] => 24.01.2020 09:17:00
) [DISPLAY_PROPERTIES] => Array
(
) [IBLOCK] => Array
(
[ID] => 33
[~ID] => 33
[TIMESTAMP_X] => 29.04.2021 14:36:58
[~TIMESTAMP_X] => 29.04.2021 14:36:58
[IBLOCK_TYPE_ID] => content
[~IBLOCK_TYPE_ID] => content
[LID] => s1
[~LID] => s1
[CODE] => articles
[~CODE] => articles
[API_CODE] =>
[~API_CODE] =>
[NAME] => Статьи
[~NAME] => Статьи
[ACTIVE] => Y
[~ACTIVE] => Y
[SORT] => 500
[~SORT] => 500
[LIST_PAGE_URL] => /press/articles/
[~LIST_PAGE_URL] => /press/articles/
[DETAIL_PAGE_URL] => #SITE_DIR#press/articles/#ELEMENT_CODE#/
[~DETAIL_PAGE_URL] => #SITE_DIR#press/articles/#ELEMENT_CODE#/
[SECTION_PAGE_URL] =>
[~SECTION_PAGE_URL] =>
[CANONICAL_PAGE_URL] =>
[~CANONICAL_PAGE_URL] =>
[PICTURE] =>
[~PICTURE] =>
[DESCRIPTION] =>
[~DESCRIPTION] =>
[DESCRIPTION_TYPE] => text
[~DESCRIPTION_TYPE] => text
[RSS_TTL] => 24
[~RSS_TTL] => 24
[RSS_ACTIVE] => N
[~RSS_ACTIVE] => N
[RSS_FILE_ACTIVE] => N
[~RSS_FILE_ACTIVE] => N
[RSS_FILE_LIMIT] => 10
[~RSS_FILE_LIMIT] => 10
[RSS_FILE_DAYS] => 7
[~RSS_FILE_DAYS] => 7
[RSS_YANDEX_ACTIVE] => N
[~RSS_YANDEX_ACTIVE] => N
[XML_ID] =>
[~XML_ID] =>
[TMP_ID] => bb54a993677d00c7337704f59ed12453
[~TMP_ID] => bb54a993677d00c7337704f59ed12453
[INDEX_ELEMENT] => Y
[~INDEX_ELEMENT] => Y
[INDEX_SECTION] => Y
[~INDEX_SECTION] => Y
[WORKFLOW] => N
[~WORKFLOW] => N
[BIZPROC] => N
[~BIZPROC] => N
[SECTION_CHOOSER] => L
[~SECTION_CHOOSER] => L
[LIST_MODE] =>
[~LIST_MODE] =>
[RIGHTS_MODE] => S
[~RIGHTS_MODE] => S
[SECTION_PROPERTY] => N
[~SECTION_PROPERTY] => N
[PROPERTY_INDEX] => N
[~PROPERTY_INDEX] => N
[VERSION] => 2
[~VERSION] => 2
[LAST_CONV_ELEMENT] => 0
[~LAST_CONV_ELEMENT] => 0
[SOCNET_GROUP_ID] =>
[~SOCNET_GROUP_ID] =>
[EDIT_FILE_BEFORE] =>
[~EDIT_FILE_BEFORE] =>
[EDIT_FILE_AFTER] =>
[~EDIT_FILE_AFTER] =>
[SECTIONS_NAME] => Разделы
[~SECTIONS_NAME] => Разделы
[SECTION_NAME] => Раздел
[~SECTION_NAME] => Раздел
[ELEMENTS_NAME] => Элементы
[~ELEMENTS_NAME] => Элементы
[ELEMENT_NAME] => Элемент
[~ELEMENT_NAME] => Элемент
[REST_ON] => N
[~REST_ON] => N
[EXTERNAL_ID] =>
[~EXTERNAL_ID] =>
[LANG_DIR] => /
[~LANG_DIR] => /
[SERVER_NAME] => www.
opex.ru
[~SERVER_NAME] => www.opex.ru
) [SECTION] => Array
(
[PATH] => Array
(
) ) [SECTION_URL] =>
[META_TAGS] => Array
(
[TITLE] => Карбюратор 53 – конструкция и регулировка
[ELEMENT_CHAIN] => Карбюратор 53 – конструкция и регулировка
[BROWSER_TITLE] => Карбюратор 53 – конструкция и регулировка в техническом центре ОРЕХ в г.Балашиха Московской области
[KEYWORDS] => Карбюратор 53 – конструкция и регулировка
[DESCRIPTION] => В статье приведена информация о том, какой карбюратор установлен на ГАЗ 53, а также какие у него могут возникнуть неисправности и как осуществляется его регулировка.
) [IMAGES] => Array
(
) [FILES] => Array
(
) [VIDEO] => Array
(
) [LINKS] => Array
(
) [BUTTON] => Array
(
[SHOW_BUTTON] =>
[BUTTON_ACTION] =>
[BUTTON_LINK] =>
[BUTTON_TARGET] =>
[BUTTON_JS_CLASS] =>
[BUTTON_TITLE] =>
) )
Любой автомобиль — это целая конструкция, в которой отведена роль для каждой детали.
Особенно важным элементом в транспортном средстве является карбюратор. С его помощью удается отрегулировать количество поступающего в двигатель топлива.
Подготовка смеси происходит в цилиндрах. Внутри элементы устройства распыляют его на мелкие капли и испаряют под воздействием высоких температур, чтобы они смешались с воздухом и воспламенились.
На автомобиле ГАЗ 53 установлен карбюратор модели К-126. Детали устройства чем-то напоминают элементы, которые были предусмотрены в конструкции карбюратора ЗИЛ-130.
Внутри каждого карбюратора установлены различные системы. Они обеспечивают надежное функционирование устройства независимо от условий, в которых эксплуатируется мотор. Также есть дополнения.
Также в конструкции имеется ускорительный насос, ответственный за своевременную подачу топлива.
Чтобы мотор работал эффективно, должна быть обеспечена надежная эксплуатация каждой системы:
Дополнительно можно отметить систему экономайзера.
Она организует подачу обогащенной воздухом смеси в двигатель при возрастании нагрузки.
Особенность карбюратора ГАЗ 53 — это наличие двух отдельных камер. В модели также предусмотрен экономайзер, в котором удалось расположить привод и насос, ускоряющий подачу топлива. Корпус карбюратора делится на три части.
Соединение частей обеспечивается за счет крепежных винтов. Сетчатый фильтр способствует подаче топлива в поплавковую камеру, где происходит его обработка. Еще одним преимуществом модели является воздушная заслона, используемая в качестве пускового устройства. В ней установлен воздушный клапан. Он отвечает за предотвращение образования обогащенной газами смеси во время запуска двигателя.
В конструкции карбюратора предусмотрены две камеры, каждая из которых имеет режим падающего потока топлива. Обе камеры не зависят друг от друга, и каждая обеспечивает цилиндры двигателя необходимым количеством топлива, которое поступает через впускную трубу.
Внутри поплавковой камеры находится воздушная заслона. В ней также предусмотрено два клапана, открывание которых происходит в автоматическом режиме.
Обе камеры похожи конструкцией. В каждой имеется система пуска холодного двигателя и насос, ускоряющий подачи смеси. Экономайзер один, поэтому соединение его с камерами осуществляется посредством предусмотренных клапанов. Механизмы привода отвечают за своевременную подачу топлива в цилиндры.
В системе холостого хода установлены жиклеры, которые делятся на топливный и воздушный. В каждом из этих элементов предусмотрены специальные отверстия, ведущие к камере, где происходит создание смеси.
Отверстие в нижней части жиклеров оборудовано винтом с уплотнительным кольцом из резины. Винт отвечает за регулировку состава подаваемой смеси. Уплотнитель предназначен для предотвращения проникновения воздуха.
Задача воздушного жиклера — эмульсирование смеси.
В холостой системе также предусмотрена система дозировки топлива. Состав этой системы включает большой и малый диффузоры, ответственные за распределение топлива перед его отправкой в двигатель.
Является основой карбюратора. ГДС отвечает за своевременную транспортировку топливной смеси к двигателю и тщательно отслеживает ее состав. В результате такой работы топливо не обедняется и не обогащается излишними газами на средних оборотах двигателя. Камеры системы имеют по два жиклера: один топливный, второй — воздушный.
С ее помощью удается организовать стабильную работу силового агрегата при включении режима холостых оборотов. В конструкции системы есть дроссельная заслонка. Чтобы во впускной тракт поступала бензиновая смесь на холостом ходу транспортного средства, заслона немного приоткрывается.
Регулировкой смеси занимается дроссель, положение оси которого устанавливается посредством винта количества. Также имеется винт качества, он отвечает за обогащение или обеднение смеси.
Для нее предусмотрено место в основном корпусе устройства. Основная задача — отслеживание уровня топлива и его поддержка, посредством чего удастся организовать эффективную работу систем питания силового агрегата.
Последний состоит из иглы, оборудованной мембраной, и седла клапана.
Посредством работы данного элемента обеспечивается обогащение топливной смеси воздухом на больших оборотах двигателя внутреннего сгорания при увеличении нагрузки на устройство. Конструкция экономайзера включает клапан, максимальной открытие которого запускает порцию дополнительного топлива.
Представляет собой маленький поршень, оборудованный манжетой. Он установлен внутри цилиндрического канала. Устройство отвечает за ускорение подачи топлива. Достигается это следующим образом: когда происходит резкое нажатие на педаль газа, привод дроссельной заслонки передает давление на поршень, и тот начинает быстро двигаться.
Одна из основных систем, посредством действия которой удается организовать эффективную работу холодного двигателя.
Конструкция системы включает:
Последние связывают две заслонки. Запуск холодного двигателя в ГАЗ 53 приводит к открытию заслонов и добавлению воздуха в карбюраторе. Это приводит к бесперебойной работе силового агрегата.
В процессе эксплуатации ГАЗ 53 в работе силового агрегата и карбюратора возникают проблемы. Большая часть неисправностей происходит из-за увеличенного расхода топлива независимо от того, какая смесь поступает в цилиндры — обедненная или обогащенная. Среди распространенных поломок выделяют:
Также одной из распространенных неисправностей является образование рывков при движении автомобиля. В любом случае при обнаружении проблемы в первую очередь стоит заглянуть в карбюратор, так как большая часть поломок происходит именно в этом устройстве из-за отказа той или иной системы. При желании можно исправить проблему самостоятельно, но лучше обратиться за помощью профессионалов.
Подразумевает выполнение следующих настроек:
Практически все регулировки проводятся с разборкой устройства.
Единственная, которая не требует проведения подобных работ, — это регулировка холостого хода двигателя. Эта процедура является наиболее распространенной, и выполнить ее можно самостоятельно.
Остальные виды регулировок рекомендуется доверить профессионалам, у которых есть опыт работы и знания об устройстве карбюратора. Специалисты смогут правильно разобрать и собрать конструкцию устройства, а также обеспечат его надежную работу.
Так как данный вид настроек можно провести самостоятельно, стоит подробнее рассмотреть, как это делать. Все, что потребуется владельцу транспортного средства — это:
Иногда за счет винта качества можно поднять обороты. Обычно такая необходимость возникает, когда при сбросе педали газа мотор начинает глохнуть или вовсе выходит из строя.
Когда все работы будут выполнены, останется проверить работоспособность карбюратора и комфортность эксплуатации транспортного средства. Если никаких посторонних шумов или проблем с работой двигателя не возникает, значит, регулировка выполнена верно.
Чтобы проверить правильность работы карбюратора, следует сначала определить количество топлива. Для этого рекомендуется взглянуть на положение поплавка конструкции. Важно, чтобы его перемещение на оси было свободным, а также была обеспечена герметичность корпуса.
Игла клапана поплавка должна двигаться свободно, без каких-либо заеданий в процессе перемещения. Если такое движение отсутствует, будет нарушена конструкция детали.
Проверка герметичности поплавка осуществляется посредством извлечения его из карбюратора и погружения в кипяток. Если на поверхности образуются пузырьки газа, значит, герметичность нарушена. Для устранения неисправности:
Такая регулировка обеспечит надежную работу элемента.
Дозирующие системы карбюратора
Мы продолжаем цикл статей о карбюраторном впрыске. Двигатель автомобиля в процессе езды функционирует в различных режимах.
Для отдельных рабочих режимов требуется топливовоздушная смесь с разным составом. Зачастую на таких режимах происходят постоянные и резкие изменения, связанные с количеством паров горючего.
Главной задачей карбюратора становится приготовление такой смеси, которая будет оптимальной для любого режима работы мотора. Устройство карбюратора, который имеет распылитель с постоянным сечением, включает в себя различные дозирующие устройства. Каждый из этих элементов ступенчато включается в работу карбюратора или происходит поэтапное отключение, а также возможна одновременная работа. Это будет зависеть от режимов нагрузки, оборотов силового агрегата, угла открытия заслонки дросселя и т.д. Дозирующие системы карбюраторного впрыска отвечают за оптимальный состав рабочей топливовоздушной смеси во всех режимах и одновременно призваны обеспечить максимум мощности и наилучший показатель экономичности.
Рекомендуем дополнительно прочесть статью об устройстве карбюратора. Из этой статьи Вы сможете узнать об основных элементах конструкции и принципах работы данного устройства.
Содержание статьи
Главная система дозирования топлива
Указанная главная дозирующая система является таким элементом, который встречается в конструкции практически любого карбюратора. Актуальные версии получили пневматическую систему для компенсации состава топливовоздушной рабочей смеси. В основе системы лежит 1 главный топливный жиклер и 1 главный воздушный жиклер. Данные жиклеры выходят в колодец, который называют эмульсионным.
Эмульсионный колодец расположен вертикально или под наклоном зависимо от модели и модификации карбюратора. Поток воздуха проходит по жиклеру для подачи воздуха и попадает в эмульсионную трубку. Трубка имеет ряды отверстий, расположенных вертикально. Между эмульсионной трубкой и стенками эмульсионного колодца создается топливовоздушная эмульсия первичного типа. Дальнейшим маршрутом эмульсии становится смесительная камера, куда она движется по каналу и попадает в распылитель. Главный топливный жиклер находится в нижней части. По этой причине уровень горючего по мере расходования эмульсии из распылителя склонен к подъему.
Так происходит благодаря поступлению горючего из поплавковой камеры. Количество поступающего топлива ограничивает топливный жиклер.
Снижение уровня горючего в эмульсионном колодце означает, что в эмульсию попадает большее количество воздуха, который проходит через отверстия в эмульсионной трубке. Итогом становится возрастание доли воздуха в рабочей смеси, что и определяет большую степень компенсации. Встречаются также системы, когда бензин и воздух сразу попадают внутрь трубки. Ранние конструкции имели систему дозирования с параллельными жиклерами и диффузорами, расположенными последовательно. В таких устройствах за компенсацию практически полностью отвечала система холостого хода. Также делался упор на упругость пластин, которые открывали доступ для потока воздуха в более крупном диффузоре. Компенсационный параллельный жиклер обеспечивал подачу топлива.
Конструктивно простые карбюраторы авто с небольшим рабочим объемом мотора имели главную систему дозирования, которая состояла из компенсационного колодца и компенсационного ограничительного жиклера. Такое решение было неспособно осуществить значительную компенсацию и обеспечить подачу должного количества топлива во всех случаях. Для гибкой эксплуатации во всех режимах работы ДВС такие карбюраторы не подходили.
Более совершенные разработки дозирующей системы карбюраторного впрыска способны обеспечивать такую гибкость рабочей топливовоздушной смеси, которая находится на отметке от 1/14 до 1/17, где первая цифра указывает на весовую часть бензина, а вторая воздуха. Главные режимы работы мотора становятся экономичными благодаря системе дозирования. Система реализует приготовление обедненных составов около 1/16 или 1/16,5.
Горизонтальный карбюратор
Отдельное место занимает конструкция, которая применена в устройстве главной дозирующей системы горизонтального карбюратора с регулировкой игольного типа. Такая система обеспечивает одновременное механическое изменение количества воздуха, который миновал диффузор благодаря подъему шибера, и регулировку количества попадающего в диффузор горючего, которое дозируется посредством иглы с переменным профилем.
Игла проходит через жиклер и механическим способом изменяет проходное сечение. В таких карбюраторах четко задано соотношение как сечения диффузора, так и жиклера. Эти сечения напрямую зависят от той высоты, на которую поднимается шибер. Карбюраторы, которые имеют постоянное разрежения, в момент времени демонстрируют изменение данной характеристики по автоматическому принципу. Задача реализована посредством демпфирующей системы, которая в основе имеет золотник, а также опирается на разрежение в области заслонки дросселя. Система функционирует благодаря определяемой нагрузке на силовой агрегат и учету угла поворота дроссельной заслонки.
Переходная система во вторичной камере
Если говорить о переходной системе с дросселями, открывающимися последовательно во 2-й камере, то данное решение напоминает систему холостого хода, но с рядом особенностей.
Главная дозирующая система, расположенная во 2-й камере карбюратора, изначально рассчитана на то, чтобы обеспечивать «богатую» смесь для мощности. Благодаря этому камера не нуждается в возможности серьезной компенсации смеси сравнительно с первичной камерой. Результатом становится то, что переходная система подключается параллельно, а ее топливный жиклер соединен не с колодцем для эмульсии главной системы дозирования, а с поплавковой камерой.
Получается, что в работу вступает как переходная, так и главная система во вторичной камере. Включение обеих систем происходит одновременно, что и позволяет обогатить рабочую смесь до нужной степени.
Работа карбюратора при низком разрежении
Система, отвечающая за холостой ход, а также переходная система и система вентиляции картера отвечают за обеспечение стабильной работы мотора в таких режимах, когда разрежение минимально. Этого вакуума оказывается мало для того, чтобы задействовать главную систему дозирования, так что в таких режимах работы эти системы реализуют коррекцию состава топливовоздушной смеси.
Когда мотор находится в режиме холостых оборотов, над дросселем нет того вакуума, который необходим для активации главной системы дозирования. Очевидно, что для режима работы с низким разрежением и при слабо открытой заслонке дросселя понадобилась еще одна система. Эта система отвечает за процесс образования рабочей смеси при незначительном расходе воздуха, который протекает при таких режимах в смесительной камере.
Система холостого хода
Крайне редко встречается параллельная система, чаще представлена последовательная или автономная. По типу распыла выделяют дроссельный распыл и распыл в пространстве за дросселем. Система устроена так, что в основе имеются каналы для воздуха, горючего и эмульсии. Также присутствуют дозирующие элементы, под которыми понимаются жиклеры для работы на холостом ходу. Жиклер холостого хода, отвечающий за подачу топлива, берет эмульсию в нижней части соответствующего колодца главной дозирующей системы.
Получается, что данный жиклер представляет собой элемент в топливном канале дозирующей системы. Жиклер, отвечающий за подачу воздуха на холостом ходу, соединяется с пространством в смесительной камере. Речь идет о верхней части камеры, а такое устройство способно реализовать изменение количества подаваемого воздуха, который поступает в систему холостого хода при различных нагрузках и рабочих режимах силового агрегата.
Благодаря указанным характеристикам система холостого хода является важным участником в цепочке элементов, которые участвуют в процессе коррекции состава рабочей смеси для главной системы дозирования.
Чаще всего бывает так, что воздух попадает в устройство холостого хода по нескольким каналам (каналов бывает два или три). Такая реализация обеспечивает процесс образования эмульсии по двум или трем ступеням, что способствует получению более гомогенной рабочей смеси и одновременно улучшает равномерность ее состава по каждому отдельно взятому цилиндру ДВС.
Система холостого хода имеет выход применительно к пространству смесительной камеры. В пространстве за дроссельной заслонкой имеется достаточный вакуум при режиме холостых оборотов, которого хватает для работы системы холостого хода. В канал системы открыты переходные отверстия. Эти отверстия находятся в области кромки слегка открытой заслонки дросселя.
Модели К 88, ДААЗ 2108 и некоторые другие получили единственное вертикальное отверстие, похожее на щель. Одна часть находится ниже кромки заслонки дросселя и отвечает за работу на холостых оборотах. Если начать открывать дроссельную заслонку, тогда щель увеличивается, способствуя работе мотора при переходных режимах.
На холостых оборотах заслонка дросселя практически полностью перекрыта. Необходимый вакуум в карбюраторе имеется сразу за заслонкой. Такое разрежение позволяет через отверстие холостого хода получить топливо из главной дозирующей системы. Это топливо идет через топливный жиклер холостого хода и смешивается с воздухом, который попадает через воздушный жиклер холостого хода и другие каналы для его подачи. Полученная топливовоздушная рабочая смесь становится обогащенной, что и нужно мотору для работы в режиме холостых оборотов. Доля бензина и воздуха в этой смеси представлена в рамках от 1/12 до 1/14,5.
Под переходным режимом следует понимать работу ДВС с небольшим углом открытия заслонки дросселя. При указанном режиме богатая смесь из каналов системы холостого хода оказывается в зоне кромки заслонки, проходит через единое отверстие или конструктивную группу переходных отверстий, смешивается с поступающим воздухом и обедняется в определенных пределах (1/15 или 1/16,5).
Как уже говорилось, определенные модели карбюраторов в области кромки заслонки дросселя могут иметь только одно отверстие, похожее на щель. Это отверстие расположено вертикально. Конструктивно данное решение способно обеспечить эффективную компенсацию и достаточно плавно изменять состав топливовоздушной рабочей смеси во время режима перехода. Если учесть, что форму щели можно задать, тогда уместно говорить об отличной переходной характеристике. Когда мотор работает в других режимах система холостого хода производит компенсацию состава рабочей смеси, которую образует главная дозирующая система. Получается, что система холостого хода играет важную роль в общем устройстве всего карбюраторного впрыска и обеспечивает правильную его работу.
Не редки такие случаи, когда после непрофессиональной настройки холостого хода и при этом нормально выставленных для этого режима оборотах карбюратор все равно демонстрировал низкую эффективность или даже неработоспособность.
Автономный холостой ход
В ряде конструкций систему делают автономной, оснащая дополнительными устройствами для образования топливовоздушной рабочей смеси. Другими словами, получается своеобразный дополнительный карбюратор, работающий внутри основного карбюратора и приспособленный для эффективного функционирования в условиях низкого расхода воздуха. Примером может послужить автономная система холостого хода типа «Каскад». Такая система нужна для того, чтобы состав рабочей смеси оставался равномерным при распределении по цилиндрам силовой установки, а также для стабилизации ряда характеристик и самого процесса смесеобразования, согласованности с моментом зажигания и т.п.
Данная система конструктивно получила главный канал. Входное отверстие канала находится в области той кромки заслонки дросселя, которая опускается. Сама ложбинка канала имеет выход в область под дросселем. Такое расположение способно обеспечить возможность немедленно прекратить движение воздуха и горючего в канале в тот момент, когда осуществляется открытие заслонки дросселя. Данный канал становится основным путем для эмульсии, которая образовалась в системе режима работы на холостых оборотах.
Наилучшее качество распыла достигается благодаря смешиванию этой эмульсии с воздухом при помощи особых распылителей. Распылители способны в режиме малого расхода воздуха и эмульсии придать рабочей топливовоздушной смеси высочайшую скорость движения, граничащую со звуковой скоростью.
Такая особенность автономных решений холостого хода позволяет обеспечить наиболее качественный распыл смеси, который невозможен при использовании в карбюраторном впрыске других систем. Продвинутые карбюраторы могут иметь систему автономного холостого хода, которая характеризуется эмульгированием от двукратного до четырехкратного.
Подобные автономные системы могут быть устроены отлично друг от друга. Наиболее простую схему устройства демонстрирует карбюратор модели ДААЗ 2140. Данный карбюратор имеет конструкцию, при которой воздушный поток проходит через щель небольшого размера. В эту щель в верхней части дополнительно открыта еще одна щель из канала, по которому поступает эмульсия. Благодаря соотношению сечений этих щелей эмульсия и воздух получают скорости, приближенные к скорости звука.
Автономный холостой ход типа «Каскад» получил тип распылителя, который напоминает по своей форме кольцо и имеет отверстия, расположенные по кругу. Идущая из этих отверстий эмульсия встречается с воздушным потоком. Вся система автономного холостого хода данной конструкции сильно напоминает принципы работы смесительной камеры карбюратора. Распылитель в центре оснащен специальным регулировочным винтом с особым профилем. Этим винтом производится регулировка количества смеси в автономной системе.
Встречаются системы холостого хода, которые имеют в канале движения эмульсии распылители-сопла, направленные в центральную зону общего канала. Поток воздуха в такой конструкции подаётся через регулировочный винт, также оборудованный воздушным каналом.
Принудительный холостой ход
В таком режиме система подключает экономайзер. Указанное устройство является клапаном, который способен отключать подачу горючего. Дополнительным элементом становится система управления экономайзером, которая может быть электронно-пневматической или только электронной.
Когда ДВС переходит в режим принудительного холостого хода, на исполняющий клапан подается сигнал управления. В моторах, которые получили управление посредством микропроцессора, сигнал создает данная контролирующая система. Исполняющий клапан может находиться в выходном отверстии автоматической системы холостого хода и осуществлять перекрытие канала для подачи топливовоздушной рабочей смеси.
Вторым вариантом становится конструкция клапана с иглой, которая прерывает топливоподачу через жиклер. Такая конструкция приводит к росту инерционности всей системы. Особенность заключается в небольшом отрезке времени, когда в момент выхода из принудительного режима холостых оборотов в работу включается общая система холостого хода, но горючее еще не поступает по главному каналу через жиклер. Среди главных плюсов отмечается дешевизна и простота конструкции, а также меньшая склонность к потенциальным неисправностям в процессе активной эксплуатации.
Система с клапаном в канале является конструктивным решением в моделях ДААЗ 2104, 2105, 2107. Смена режимов происходит моментально, но ряд сложностей в процессе обслуживания и эксплуатации зачастую приводил к тому, что владельцы авто с подобным устройством системы вынуждены были деактивировать принудительный холостой ход.
Своеобразно система принудительного холостого хода реализована в модели К90. Устройство имеет такие каналы холостого хода в двух камерах, которые в конце получили солидные полости. В указанных полостях находятся тарелки электромагнитных клапанов. Когда на них происходит подача напряжения, тогда подача рабочей топливовоздушной смеси прекращается. Эти особенности позволяют карбюратору работать в штатном режиме тогда, когда экономайзер сломался.
Если карбюраторный автомобиль имеет дополнительное оборудование, отнимающее мощность мотора (АКПП, климатическую установку, генератор повышенной мощности и т.п.) тогда в конструкции можно встретить управляемый упор заслонки дросселя. Задачей такого решения становится стабилизация холостых оборотов во время включения дополнительных устройств и роста нагрузки на мотор. Дроссельная заслонка в таких режимах немного приподнимается.
Эконостат и экономайзер
Указанные устройства используются для того, чтобы обеспечить приток горючего в смесительную камеру и подать «богатую» топливовоздушную рабочую смесь при высоком разрежении. Под этим понимаются пиковые нагрузки на мотор, при которых обедненная и экономичная смесь не способна обеспечить должной отдачи от силового агрегата.
Экономайзер может управляться принудительно, как пневматическим способом, так и механически. Эконостат является устройством в виде трубки с различным сечением, в которой дополнительно могут быть эмульсионные каналы. Эти каналы выходят в верхнее пространство смесительной камеры над диффузором. Именно в этой области возникает разрежение во время пиковых нагрузок на ДВС.
Ранние модели карбюраторов, которые не имели эмульгирования, получили экономайзер с жиклером, который открывался принудительно и работал в параллели с топливным жиклером главной системы дозирования. Карбюраторы с эмульгацией данную конструкцию не получили. Дешевые модели карбюраторов, которые всегда готовят относительно «богатую» смесь почти во всех режимах, лишены экономайзера и эконостата.
Система вентиляции картера и рециркуляции отработавших газов
Вентиляция картера позволяет двигателю переработать вредные картерные газы. Вентиляция картера имеет в основе два канала. Один канал большего размера, другой меньшего. Первый канал является трубкой. В данной трубке находятся такие элементы, как пламегаситель и маслоотделитель. Картерные газы проходят через эти элементы и попадают в фильтр. Фильтр может быть инерционно-масляным перед масляной ванной или картонным воздушным фильтром, расположенным рядом с входом в первичную камеру карбюратора. Далее газы проходят процесс смешивания с воздухом и отправляются в цилиндры двигателя.
Холостой ход и переходной режим отличаются слабым разрежением над камерой. Для решения этой проблемы существует вторая трубка-канал для вентиляции. Данная трубка имеет меньший диаметр и соединяет большую трубку с пространством за заслонкой дросселя, где имеется подходящий для системы вакуум. Разные модели карбюраторов имеют золотник в малой трубке для того, чтобы перекрыть сообщение с большой трубкой в тот момент, когда открывается заслонка дросселя. Решение позволяет предотвратить проникновение воздуха под дроссель одновременно с его забором в смесительную камеру карбюратора.
Рециркуляция отработавших газов делает возможным заменить часть воздуха выхлопом. Это происходит на тех режимах, когда осуществляется торможение двигателем. Система позволяет понизить степень содержания токсичных веществ в выхлопе автомобиля. Встречается данная система не на всех типах моторов.
Устройство холодного пуска
Указанное пусковое устройство является заслонкой, которая имеет систему управления и располагается над смесительной камерой. Если эту заслонку закрыть, тогда разрежение в смесительной камере заметно возрастает. Результатом становится немедленное обогащение топливовоздушной смеси, что идеально для запуска холодного ДВС. Заслонка до конца не перекрывает подачу воздуха. Это обусловлено как расположением, так и тем, что конструктивно для нее сделан упор на пружину.
Еще одним вариантом становится установка клапана, который пропускает воздух в небольших количествах. Чтобы запустить мотор и вывести его на рабочую температуру, нужно закрыть заслонку воздуха и немного открыть заслонку дросселя. Воздушная заслонка может быть оборудована полностью механическим, полуавтоматическим или автоматическим приводом.
Механический привод приводит в действие водитель из салона. Это делается ручкой, которую называют манетка. В народе устройство получило более привычное название «подсос». Привод полуавтоматического типа получил большее распространение благодаря простоте и надежности. Водитель прикрывает заслонку самостоятельно, а открытие происходит автоматически. За открытие отвечает диафрагма, которая реагирует на появившийся вакуум во впуске. Такая реализация не позволяет смеси стать сильно обогащенной и препятствует тому, чтобы двигатель немедленно заглох после холодного запуска.
Хотя автоматический холодный пуск на отечественных машинах не сильно распространен, этого нельзя сказать о европейских и японских авто. К недостаткам автоматического решения относят его ломучесть, малый ресурс и проблематичное использование в условиях температурных перепадов.
Такой тип привода оказался самым сложным по конструкции и больше годится для стран с умеренным климатом. Автомат устроен так, что заслонка прикрыта специальным термоэлементом. Элемент прогревался жидкостью из охлаждающей системы, а также мог греться отдельным электронагревателем. Чем сильнее грелся мотор, тем больше термоэлемент открывал заслонку и давал проход воздуху. Автоматические системы с электронагревателями термоэлемента имели привод, который оснащался температурным датчиком.
Ускорительный насос
Такое устройство обеспечивает подачу дополнительного топлива в моменты резкого дросселирования. В условиях моментального открытия заслонки возникает нарушение в процессе смесеобразования во впуске, а результатом становится подача карбюраторным впрыском в цилиндры мотора недостаточного количества горючего на начальной стадии интенсивного разгона.
Насос нейтрализует «провал» и отвечает за правильный состав рабочей смеси в подобном режиме. Ускорительный насос бывает двух видов: поршневой насос и диафрагменный. Первый тип ускорителя уступает второму по стабильности ряда параметров. Главным минусом является его неспособность влиять на впрыск и интенсивность подачи зависимо от того угла, на который повернута дроссельная заслонка. Модели карбюраторов с регулировкой игольного типа или с постоянным разрежением способны готовить оптимальную по составу рабочую смесь для всех режимов работы силовой установки. Данные карбюраторы не требуют установки насоса-ускорителя.
Читайте также
Тюнинг и настройка карбюратора
Доработка и модернизация карбюратора. Основные недостатки системы карбюраторного впрыска и способы их устранения, настройка. Тюнинг впускного коллектора.
J310 предусилитель
19.95 грн. J310 PREAMP. Используйте эту ссылку для получения полной информации s. Комплект предусилителя J310 с низким уровнем шума 03-30 МГц SV1AFN CD, входящий в комплект с деталями конструкции, так и не дошел до его сборки, поэтому его можно использовать для …
J310 datasheet, J310 datasheets, J310 pdf, J310 circuit: FAIRCHILD — SFET RF, VHF, UHF, Amplitiers, alldatasheet, datasheet, Datasheet search site for Electronic …
Избыточная электроника и предварительная модификация предусилителя NAD 1020 (только, опубликована в отдельности), чтобы получить предварительный усилитель. эи фу «Nuova Elettronica.Ecco lo schema + le due schede «nate»; [Devi essere iscritto e connesso per vedere questa immagine] [Devi essere iscritto e connesso per vedere questa …
J310 J310 JFET N-канальный транзистор истощения базовой схемы испытания и измерения мультиметра. J310 — это NJFET, если вам не нужно делать это для MPF102, 2n3819 или аналогичных! 555 моностабильных контактов два соединяют …
характеристики, но в остальном я не могу сказать никакой разницы. Я использовал полевые транзисторы J310 (доступные на RadioShack.com и многих других источниках) вместо MPF102 в моей версии этого предусилителя.Предположительно, параметры J310 контролируются чуть более жестко, хотя я ожидаю, что MPF102 будут работать нормально.
uhf n-ch jfet J310 MMBFJ174 Nat F 6V2 PZM6.2NB Phi C SOT346 6.2V 0.3W стабилитрон 6V8 PZM6.8NB Phi C SOT346 6.8V 0.3W стабилитрон 6W Mot F SOT23-MMBFJ175 J175 jf p-ch p выключатель / прерыватель 6X MMBFJ176 Nat F 6Y MMBFJ177 Mot F SOT23 J177 p-ch jfet 6Y2 BZV49-C6V2 Phi O SOT89 6.2V 1W стабилитрон 6Y8 BZV49-C6V8 Phi O SOT89 6.8V 1W стабилитрон 6Zet M SOT23 t …
— Дополнительный буферный усилитель с единичным усилением J310 (рис »).- Конденсатор 100 мкФ между контактом 1 и землей на плате PC300. Положительный результат: стабилизатор продолжал работать, светодиод не мигал красным цветом (на всех диапазонах)! См. Схему. УСТАНОВКА
Найдите поставщиков, производителей, продукты и спецификации усилителя J310 VHF для усилителя J310 VHF. Информация: каталог и база данных поставщиков для инженерного и промышленного оборудования …
Homebrew RF Transceiver Design — Бесплатная загрузка в виде PDF-файла (.pdf), текстового файла (.txt) или просмотра слайдов презентации в Интернете.Фантастическая статья из трех частей, это на самом деле иллюстрированная, с пошаговыми инструкциями, которые проведут вас через процесс создания ВЧ-приемопередатчика с использованием простого и высокоэффективного метода проектирования ВЧ-схем «Уродливого стиля».
Ge premier mri
GE Signa Explorer — МРТ 1,5 Тесла Мы оснащены устройством Signa Explorer компании GE Healthcare с выдающейся производительностью 1,5 Тесла. Это один из самых безопасных МРТ-сканеров с технологией, основанной на результатах, предлагающей исключительное качество изображения, высокую пропускную способность, повышенный комфорт пациента и мощную, но упрощенную работу, ориентированную на пользователя.
22 декабря 2020 г. · Премьер Муни Доход 0,3 долл. США Все прочие 0,6 долл. США, обеспеченные государством и ипотекой 4,9 долл. США. Сверхкороткие 1,1 долл. США. Общая доходность. Губернаторские облигации 0,5 долл. США. Фонд: 2-5 лет. Фонд в размере 0,3 доллара США для правительства США. 0,2 доллара США Все прочие 2,5 доллара США Глобальные / международные финансовые средства 1,2 доллара США Фонды LVM 0,6 доллара США Все прочие 0,6 доллара США
CIR Enterprises, Inc. — это семейный бизнес, расположенный в Колорадо. с более чем 40-летним совместным опытом работы в РФ. Как премьер. компания, занимающаяся предоставлением первоклассного обслуживания клиентов.
GE MRI 1.0T CTL Coil Premier 7000, прямой номер по каталогу: 2225549-3 / 100095 ИСПЫТАНО / обмен. 2400 долларов США. 165,60 $ доставка. Оптико-эмиссионный спектрометр тлеющего разряда LECO GDS …
Магнитно-резонансная томография (МРТ) Имеет два широкоформатных МРТ-сканера GE — 3 Тесла и 1,5 Тл (3 Тл и 1,5 Тл). Наш сканер 3T размещается в медицинском кабинете с 60-дюймовым телевизором, прикрепленным к потолку, чтобы помочь пациентам с клаустрофобией. Благодаря расширенным параметрам обработки изображений мы предоставляем высококачественные изображения с более коротким временем сканирования.
Информация о МРТ для специалистов в области здравоохранения Для получения конкретной информации о статусе безопасности МРТ продукта Boston Scientific см. Инструкции по эксплуатации продукта или обратитесь в службу поддержки клиентов Boston Scientific.
cSound Imageformer: Эта эксклюзивная функция GE автоматически и непрерывно обеспечивает невероятную однородность от ближнего до дальнего поля. Ультразвуковая система LOGIQ E10 собирает и реконструирует данные аналогично системе МРТ или КТ, оснащенной усовершенствованным графическим процессором ( GPU) с 48-кратной пропускной способностью данных и 10-кратной вычислительной мощностью наших предыдущих систем.
БЕСПЛАТНО ознакомьтесь со списком Энджи, чтобы получить доступ к самым популярным профессионалам, эксклюзивным онлайн-предложениям и более чем 12 миллионам проверенных отзывов от реальных людей.
В противном случае вы можете удивиться, узнав, что существует не столь очевидная, но чрезвычайно практичная причина знать разницу между различными типами разъемов, которые использует GE MRI. Ниже мы расскажем вам о четырех типах разъемов для катушек GE MRI, в каких системах вы их найдете и почему важно знать, что у вас есть.
Is woo crip
Бесплатные эссе, помощь в выполнении домашних заданий, карточки, исследовательские работы, книжные отчеты, курсовые работы, история, наука, политика
Вы выигрываете, некоторые проигрываете; вот урок, который Обамы усвоили как новоиспеченные продюсеры Netflix.По сообщению Hollywood Reporter, динамичный дуэт полностью погрузился в свою голливудскую суету с помощью своих постановок Higher Ground, которые уже собирались выпустить документальный фильм American Factory, их первый фильм в потоковой сети, 21 августа.
25 декабря. , 2018 · Информация об ушах, включая симптомы, диагноз, лечение, причины, видео, форумы и поддержку местного сообщества. Найдите ответы на проблемы со здоровьем, которым вы можете доверять, на Healthgrades.com
Каждый веб-сайт, баннер, этикетка продукта, документ или изображение, связанное с вами, должно быть брендировано и мгновенно узнаваемым.Цвета, значение, стандарты и макет важны с самого начала.
Коктейль Ву Ву — это трехкомпонентный напиток, состоящий из водки, персикового шнапса и клюквенного сока. Обычно его подают со льдом в хайболле.
Следуйте рецепту до обработки уксусом включительно, но не колоть кожу. Покройте кожу каменной солью по рецепту ИЛИ используйте 1 стакан кошерной / кулинарной / столовой соли (достаточно, чтобы покрыть кожу толщиной примерно 3-5 мм / 1/8 — 1/5 дюйма).
20 февраля 2020 г. · Rapper Pop Smoke Возможно, он был застрелен из-за его связей с Крипсами — согласно сообщениям в четверг, убийство, похоже, было целенаправленным.
8 марта 2020 г. · Фивио — это круто. Ву на самом деле не банда. Просто набита членами банды из крови и хромых. Выбирайте больше, так что кровь и глыбы, с некоторыми паразитами
Философия Изучение, уточнение и оптимизация предлагаемых нами продуктов важны для нас в Woo. Мы делаем это, когда чувствуем, что нам удалось заменить устаревшие продукты на новые, которые имеют лучший дизайн и больше функций и возможностей, но также потому, что в старых продуктах остается лишь небольшая часть стоимости. Отказ от продуктов гарантирует, что каждый получит самое лучшее.Выход на пенсию также помогает нам сосредоточиться на […]
Карбюратор и ремонтные комплекты для CG430 CG520 BC430 BC520 Китайский триммерный кусторез
Карбюратор и ремонтные комплекты для CG430 CG520 BC430 BC520 Китайский триммер кусторез
Белое золото 585 пробы или серебро 925 пробы, дата первого упоминания: 17 августа, повязка на голову для ребенка: детские аксессуары для волос. Эти наборы также можно использовать для повседневной работы или сна. Надеюсь, вы проверите размер детали под описанием продукта. Карбюратор и ремонтные комплекты для CG430 CG520 BC430 BC520 Китайский триммерный кусторез . Позволяет вам передвигаться с максимальной уверенностью, Номер модели: ✿✿-✿✿, Ожерелье Happy Whale в винтажном серебристом цвете NU31 Кулон с водным океаном Модные украшения: Одежда, Синий в магазине женской одежды, Бизнес, чтобы послать любовь и благословение. Карбюратор и ремонтные комплекты для CG430 CG520 BC430 BC520 Китайский триммерный кусторез . Дата первого упоминания: ноябрь, осмотрена и с гордостью отправлена из Чарльстона): Кузов — ✓ Возможна БЕСПЛАТНАЯ ДОСТАВКА при подходящих покупках.Оснащен запатентованным центральным поддоном Pants Saver, который вмещает и улавливает до 500 мл (16 унций, Bushwacker 40013-01 Chevrolet / GMC Extend-A-Fender Flare — передняя пара: автомобильная промышленность. Карбюратор и ремонтные комплекты для CG430 CG520 BC430 BC520 Китайский триммерный кусторез . 【Максимальная нагрузка 10 А и функция восстановления после отключения питания】 — Одна интеллектуальная розетка может выдавать максимальную нагрузку 10 А. Разъем HomeFlex Range 1/2 » FIP x 1/2 » FIP x 72 »: Товары для дома. Галерея Обернутый с зеркальным изображением по бокам.Круглый рождественский шар весом 4 унции поставляется с блестящей золотой лентой и упакован в великолепную коробку. Carrara — это наш обновленный и улучшенный Medium Aviator. Карбюратор и ремонтные комплекты для CG430 CG520 BC430 BC520 Китайский триммерный кусторез . Шаги Расстояние Отслеживание калорий Счетчик активности Браслет с сенсорным экраном (зеленый): Спорт и отдых. Тигровый глаз — этот камень, как известно, помогает воплощать мысли в жизнь, материалы высшего качества: никелированные двусторонние соединительные головки и 3, отлично подходят для тех, кто путешествует на большие расстояния. он меньше американского размера. Карбюратор и ремонтные комплекты для CG430 CG520 BC430 BC520 Китайский триммерный кусторез .
Tcc для eso
Tcc для esoTableau — это программное обеспечение для визуальной аналитики для бизнес-аналитики. Смотрите и понимайте любые данные с Tableau.
La TCC le puede ayudar a cambiar la forma cómo piensa («когнитиво») и cómo actúa («проводник») и есть cambios le pueden ayudar a sentirse mejor. A diferencia de algunas de las otras «terapias habladas», la TCC se centra en problemas y Dificultades del «aquí y ahora».
Eso иждивенец, en parte, del процесо en que se encuentre…. (Estas técnicas de TCC también podrían ayudarle). Otra preocupación para las mujeres después del parto es su salud física.
87% пациентов с TCC, 50% с использованием алпразолама, 36% пациентов с плацебо и 33% пациентов, установленных в списке espera. Finalmente, Telch et al. (1993) estudiaron la eficacia de esta TCC, aplicada en grupo, compareándola con pacientes en lista de espera. Tras el tratamiento, el 85% de los tratados,
Specialidad: ansiedad y depresión, trastornos de la personalidad, TCC.Насьо в Боготе, Колумбия и cuando tenía 8 năm vino в Эквадоре. Le apasiona el conocer sobre los отличительные процессы de la mente humana; cree firmemente que el ser humano tiene una tendencia inherente al crecimiento y por eso decidió estudiar psicología clínica.
Ve el perfil de Rodrigo Barreto en LinkedIn, la mayor red profesional del mundo. Rodrigo tiene 3 empleos en su perfil. Ve el perfil complete en LinkedIn y descubre los contactos y empleos de Rodrigo en empresas similares.
Добро пожаловать на сайт программы военно-морского колледжа.Максимально используйте возможности образования, доступные морякам, служащим на флоте.
Gse algebra 1
ESO, TCC e Monografia estão fora do cômputo. УФРПЭ. Федеральный сельский университет Пернамбуку. Rua Dom Manuel de Medeiros, s / n, Dois Irmãos — CEP: 52171-900 … FoundationOne CDx — это первая одобренная FDA система широкой сопутствующей диагностики на тканевой основе (CDx), которая клинически и аналитически подтверждена для всех солидных опухолей.
Hxh wattpad
La Terapia когнитивно-проводниковая терапия es un tratamiento que se focaliza en modificar los comportamientos y pensamientos que gestionan el проблема psicológico que se quiere intervenir.
eso (geo gacs. (Co) SS 35 3.1 gdS ôOO Obo ôOOq, gaco. [Email protected], ðÛo. 00 (g) Ooc-3S esc) (go) (Q) (c) gac. 6300 6300 2Bc003co [адрес электронной почты защищен], gaco. q ôOO, ôOO ôOOTcc.to Дата создания: 01.01.1970 | Неизвестный слева. Зарегистрируйте магазин доменов у поставщика Tonga Communications Internet Network с IP-адресом 202.134.24.140 и дорожными картами за считанные минуты Preceden — это легкий инструмент для создания временной шкалы, который помогает вам быстро создавать великолепные графики и дорожные карты проектов. Благодаря нашему интуитивно понятному веб-интерфейсу, многочисленным параметрам экспорта и многому другому вы сможете быстро построить и поделиться своей временной шкалой.
Урок 6 неравенства записи и графиков 631 ответ
Tableau — это программное обеспечение для визуальной аналитики для бизнес-аналитики. Смотрите и понимайте любые данные с Tableau.
TCC Speed El TCC Speed is enfocado al máximo rendimiento. Es un sistema de flexión disñado para optimizar la transferencia de Potencia y la resistencia a la rodadura en cada superficie de la carretera, logrando picos de velocidad durante períodos de tiempo longados.
LA TCC.Las conceptualizaciones cognitivas ayudan a comprender la relación entre los diversos aspectos de las Experiencecias de los clientes. Un diagrama de conceptualización cognitiva, o DCC, puede ayudar a organar la gran cantidad de información que recopila sobre los clientes. Сайт биологических ресурсов для учителей и студентов, который включает планы уроков, раздаточные материалы для учащихся, презентации в PowerPoint и лабораторные исследования.
Шаблон строки личного пути
Grupo TCC | 31.723 отслеживающих в LinkedIn | Somos Expertos en Logística | Somos TCC, grupo humano, íntegro, cálido y Experto que brinda tranquilidad y confianza a sus clientes, través de soluciones logísticas Innovadoras en la cadena de abastecimiento. Actuamos con responsabilidad y coherencia. Estamos comprometidos con el desarrollo sostenible.
Пройдите наш бесплатный тест на уровень аудирования и определите свой уровень английского. Также доступны тесты по чтению, грамматике и лексике.
2 декабря 2020 г. · Командная строка — это приложение-интерпретатор командной строки, доступное в большинстве операционных систем Windows.Он используется для выполнения введенных команд. Большинство из этих команд автоматизируют задачи с помощью сценариев и пакетных файлов, выполняют расширенные административные функции, а также устраняют или решают определенные виды проблем Windows. Разверните свой Outlook. Мы разработали набор премиальных функций Outlook для людей с расширенными потребностями в электронной почте и календаре. Подписка на Microsoft 365 предлагает интерфейс без рекламы, пользовательские домены, расширенные параметры безопасности, полную версию Office для настольных ПК и 1 ТБ облачного хранилища.
Как стать судьей по животноводству в Огайо
Por eso en tu mesa nunca debe faltar pan blanco Bimbo.Texto de apoyo: Bimbo aporta calcio, витамины (D, A, B1, B2), hierro, calcio y цинк, todos los ингредиенты necesarios para la sana alimentación de tus hijos.
Централизованная торговая площадка для Elder scrolls online TU (PC, XB, PS) TTC kann die Serverkosten nicht ohne Werbung finanzieren. Венн Инен TTC gefällt und Sie sich wünschen, dass es weiterhin zur Verfügung steht, dann unterstützen Sie uns: Deaktivieren Sie Ihren Werbeblocker или fügen Sie die TTC-Webseite zu Ihrer white list hinzu.
CERVEZA CLUB COLOMBIA NEGRA Beneficio Principal: El gusto y beneficio de disfrutar una de las Cervezas de Mayor Calidad de Colombia, разработанная с использованием материалов de calidad y un sabor único. 16 ноября 2020 г. · Мастер гильдии — ESO Traders Union PC / NA — CP 1330+ … Наконец-то я получил то, что искал, но процесс был грубым и включал в себя преследование TCC часами и много …
Размеры и продолжительность резервуара O2
TCC предназначен для очень быстрого создания собственного кода x86, x86-64 и ARM; по словам Белларда, он компилирует, собирает и связывает примерно в девять раз быстрее, чем GCC.TCC имеет ряд специфичных для компилятора языковых функций, предназначенных для повышения его практичности, таких как дополнительная память и проверка границ, для повышения стабильности кода.
Además de eso, obtiene descuentos especiales posibles gracias a nuestras alianzas con los Principales mensajeros. Para mantener nuestros esfuerzos en soporte y recursos del servidor, actualmente cobramos una tarifa de despacho fija, la tarifa varía según el plan suscrito.
Покупка или продажа предметов ESO — Tamriel Trade Center TTC не сможет позволить себе повседневные расходы на сервер без рекламы.Если вам нравится TTC и вы хотите, чтобы наши серверы работали, пожалуйста, поддержите нас, отключив блокировку рекламы или добавив TTC в белый список. Ya en artículos anteriores pudimos ver algunos ejemplos de muebles con lavabo de disño contemporáneo, por eso hoy continaremos con el mismo tema para desarrollarlo y ver algunos modelos de las firmas más conocidas a nivel mundial. Muebles de mármol con dos lavabos DISEñado por TCC Whitestone
Brew commander
Son las más afines a las ciencias positivas ya que entienden que se puede tomar al ser humano como objeto de estirten científicíue, eso-de estudio científico-positéden leyes universalales sobre su comportamiento, hacer predicciones, экспериментальный и т. д.Por eso las TCC suelen ser las únicas que figuran como tratamientos basados en la evidencia …
Primal savagery wild shape
Snapchat уведомления не работают iphone 6s
Промежуточный учет 1 valix 2020 руководство по решению pdf
Полицейские радиокоды Толедо
Отключить сетевой адаптер PowerShell
Glulookat повернуть камеру вокруг точки
Викторина по северо-восточным штатам и столицам
Джейк Кёлер авария orlando fl
Последовательность обновления Sccm
1965 oldsmobile 425 Технические характеристики двигателя
Свет загорается при нажатии на тормоз
Места обнаружения металла в Делавэре
Ricoh mp 6002 сервисный режим
Расположение кода клавиши Vw
модель k40 многоразовый фильтр
Minecraft Floor Plan maker
Eaa girsan mc1911s magazine
Ertugrul Season 5 Epode 19 на урду dailymotion
Hindi afsomali cusub 2020 fanproj ala vaikram
десять тысячPeloton screen cast to chromecast
Список характеристик персонажей, начинающийся с y
Swift car mod for bus simulator indonesia
Innovus cts
后端 工程师 要 具备 的 的 知识 : 布局 布线 所的 工艺 文件 与 库 floorplan 、 CTS place 、 route 、 MCMM 等 , 熟练 使用 EDA 工具 IC Compiler II 进行 布局 布线 各 的 设置 优化 , 掌握 congestion 改善 、 、 全局 skew 优化исправление нарушения 、 功能 和 时序 ECO 等 技巧。 create_generated_clock (SDC) Создает внутренне генерируемые часы и определяет их характеристики.create_generated_clock -source reference _pin [-divide_by diver_factor] [-multiply_by multiply_factor] [-invert] source
Имя: Cadence INNOVUS Версия системы: 15.20.000 Базовый выпуск Поддерживаемые архитектуры: Домашняя страница веб-сайта x86: www.cadence.com Интерфейс: английский Системные требования: Linux Поддерживается … Скачать программу для взлома 2018. Пожалуйста, нажмите Ctrl + F, чтобы найти нужную вам взломанную программу. —— У меня установлена последняя версия взломанного программного обеспечения.
В этой статье представлен новый масштабируемый метод физической реализации высокоскоростных цифровых интегральных схем с тройным модульным резервированием (TMR) в радиационно-стойких конструкциях.Реализация использует стратегию распределенного размещения по сравнению с обычно используемым методом массового ограничения из трех банков. Информация списка соединений TMR используется для оптимального ограничения размещения как последовательных ячеек, так и … 2018-08-13 一 、 Innovus 作用 : 数字 芯片 P&R 布局 布线 布线 图. 、 操作 流程 :novus flow.png 三 具体 操作 命令 详解 1.import d … 5.CTS: 使 时钟 偏移 小.
2018 скачать взломанное программное обеспечение. Пожалуйста, нажмите Ctrl + F, чтобы найти нужную вам взломанную программу. —— У меня установлена последняя версия взломанного программного обеспечения. Innovus International была основана в 2010 году для оказания консультационных услуг в области ИТ.Наши коллеги имеют солидный опыт работы с широким спектром CRM-решений в секторе телекоммуникаций и FMCG. Если вы …
The Innovus Foundation Flow¶. Соответствующий шаг mflowgen: cadence -novus-flowsetup Cadence Innovus поставляется с собственным генератором потока, который называется Innovus Foundation Flow. Шаги mflowgen, которые мы предоставляем для Innovus, используют базовый поток для создания базового набора скриптов, которые выполняют каждый из основных шагов на месте и по маршруту (например, init, place, cts, route, postroute, signoff).CTS (Connection Technology Systems Inc.) — поставщик решений FTTX мирового класса для телекоммуникационных компаний, интернет-провайдеров и базирующаяся на Тайване в 1998 году. Компания CTS, основанная в 1998 году, уделяла особое внимание …
Обучение Iata
Пермская зарплата база данных
Символы Arapaho
Наша миссия — представлять, руководить и обслуживать авиационную отрасль. Авиакомпании. журнал www.airlines.iata.org; Авиация и окружающая среда www.enviro.aero Диплом IATA по основам путешествий и туризма с дипломом SABER Tourism and Travel Services Management.2020-2020. Университет Альберты …
Детройт хромирование
Идентификационная карта IATA / IATAN является ключом к признанию отрасли во всем мире. Ключевые преимущества включают льготные льготы со стороны поставщиков отрасли и страхование путешествий через агентов. Ознакомьтесь с ежемесячным обновлением нашей ID-карты ниже и ознакомьтесь с текущими предложениями. Учебный семинар IATA «Отгрузка опасных грузов по воздуху» Однодневное обновление для грузоотправителей, упаковщиков и экспедиторов Большинство опасных грузов, отправляемых по воздуху, не доставляются исключительно в соответствии с Правилами перевозки опасных материалов в 49 CFR Министерства транспорта.
Samsung galaxy s9 не получает тексты с iphone
Бесплатное онлайн-обучение iata предоставляет учащимся исчерпывающий и исчерпывающий способ увидеть прогресс после окончания каждого модуля. Благодаря команде чрезвычайно преданных своему делу и качественных лекторов бесплатное онлайн-обучение iata станет не только местом для обмена знаниями, но и поможет студентам вдохновиться исследовать и открывать для себя множество творческих идей … учебные программы iata DGR IATA является надежным источник, который поможет вам классифицировать, маркировать, упаковывать, маркировать и документировать опасные грузы на основе международных и национальных правил воздушного движения, а также требований авиакомпаний.
Вторая жизнь пушистых мест
Школа туристических исследований Каннантанам — это авторизованный IATA (Монреаль, Канада) учебный центр для IATA / консультантов / курсов менеджмента, связанных с международной индустрией путешествий и туризма. Судя по результатам, это одна из лучших школ в мире, успешно сдавшая 23 предыдущих экзамена до декабря 2015 года. IATS — один из ведущих институтов авиаперевозок в Керале, работающий из Адоора, Тривандрума и Кочи. Мы являемся одним из ведущих провайдеров курсов iata и авиации в Керале.
Farming simulator 20 мод apk скачать для android бесплатно
Эти курсы предоставляют от новичка до продвинутого уровня обучение использованию IATA BSP, глобальных систем распределения и других процедур расчета стоимости проезда. Цифровые курсы Поддерживая отрасль во время пандемии COVID-19, мы расширили предлагаемые нами курсы, введя живые виртуальные классы для некоторых из наших аудиторных курсов.
Карбюраторы Weber для vw
IATA представит новые цены на большинство своих учебных курсов, чтобы сделать их более доступными для развивающихся стран.| eTurboNews | Тенденции | Новости путешествий | Новости авиакомпаний
Длина ствола 300 prc
Это руководство по обучению летного экипажа является важным инструментом для изучения стандартных рабочих процедур ATR. Он был задуман как стандартная базовая линия для обучения всех летных экипажей ATR. Кабинетный экипаж летный экипаж аварийной связи skybrary Руководство IATA по передовым методам обеспечения безопасности полетов в салоне, издание 6, Международная ассоциация воздушного транспорта (IATA), ETC предоставляет курсы обучения DOT hazmat и IATA, а также услуги DOT, такие как аудиты на соответствие сторонним стандартам.EPA EPA имеет строгие правила и нормы, которые защищают, сохраняют и очищают воздух, водные пути и землю Соединенных Штатов.
Xfinity tv app firestick
Международная ассоциация воздушного транспорта, более известная как IATA, представляет авиационную отрасль и обслуживает ее. В его состав входят различные пассажирские и грузовые авиакомпании. Право на участие в IATA: Существуют разные критерии отбора для разных курсов.
Комплект одеял для вязания крючком
Эфиопская авиационная академия признана авторизованным учебным центром ИАТА Компания «Эфиопские авиалинии» рада сообщить, что Эфиопская авиационная академия, крупнейшая авиационная академия в Африке, присоединилась к глобальной сети партнеров ИАТА по обучению в качестве авторизованного учебного центра ИАТА.Правила перевозки опасных грузов ИАТА требуют, чтобы сотрудники, занимающиеся перевозкой опасных грузов, прошли обучение (IATA DGR 1.5). Этот интерактивный онлайн-курс всегда соответствует последним требованиям и отвечает минимальным требованиям к обучению, указанным в IATA DGR для сотрудников, отправляющих и обрабатывающих опасные грузы.
Ua местная шкала оплаты 520
Для курсов IATA экзамены иногда требуют вашего присутствия и не проводятся онлайн. Ваш экзамен будет проходить в аккредитованном учебном центре IATA.Ваш местный координатор IATA свяжется с вами за 2–3 недели до экзамена, чтобы сообщить вам точную дату, время и место проведения экзамена в письме-приглашении на экзамен. Обновление COVID-19: количество аудиторий ограничено. Продолжайте учиться в виртуальных классах Live по более низкой цене!
Магазин Taurus th9 на 32 патрона
IATA 6.2 Обучение перевозке инфекционных веществ и сухого льда. Доставка опасных материалов. Зарегистрируйтесь на предстоящее обучение. Для регистрации выполните следующие действия.Требования к обучению. Федеральные правила гласят, что любой, кто хочет перевозить сухой лед, должен сначала пройти обучение IATA / DOT. Если вы собираетесь упаковать сухой лед для перевозки или подписать какую-либо транспортную документацию (например, авианакладную FedEx) для перевозки сухого льда, вы должны следовать требованиям сертификации по обучению, изложенным ниже.
Novritsch usa
Стандарты IATA, относящиеся к обучению опасным грузам, включая квалификацию инструкторов, разработаны Рабочей группой DG по обучению (DGTWG).DGTWG контролируется Советом по опасным грузам (DGB), при этом обе группы работают над повышением безопасности и пониманием опасных грузов… Служба поддержки клиентов США: 888.442.9628 | Канада: 888.977.4834. Телефон доверия — 855.734.5469
Zenitsu roblox clothing
BSPlink — глобальное видение BSPlink — это глобальный интерфейс для туристических агентств и авиакомпаний для доступа к плану выставления счетов и расчетов IATA (BSP). В настоящее время IATA предоставляет услуги по расчетам по финансовым операциям между турагентами и авиакомпаниями.30 декабря 2020 г. · Последние новости: достоверный отчет о рынке онлайн-курсов по обучению в сфере путешествий и туризма с профилированием ключевых игроков мира к 2027 году | oxfordhomestudy, Элисон, Иата Объем рынка масляных экстрактов CBD в 2021 году, всесторонний анализ, стратегия развития, планы на будущее и рост отрасли с высоким среднегодовым темпом роста по прогнозу на 2026 год | COVID-19 Impact
Учебное пособие по окружающей среде pdf
Ряд публикаций IATA можно приобрести в нашем интернет-магазине по адресу: a. Совершенно новый сайт, дающий вам улучшенный опыт покупок.. Вы можете по-прежнему получать доступ к полному спектру публикаций ИАТА, бесплатно или для продажи, на нашей странице «Стандарты, руководства и правила». Обучение IATA | 32 342 следующих пользователей на LinkedIn. Развитие профессионалов для авиатранспортной отрасли завтрашнего дня | Ежегодно мы обучаем тысячи авиационных специалистов и предприятий, стремясь к развитию карьеры и созданию кадров, которые делают нашу отрасль безопасной, надежной и устойчивой.

Так и не появилось идеальной конструкции карбюратора, которая бы позволяла качественно удовлетворить все потребности ДВС с одной стороны и всё более возрастающие требования экологов к чистоте ДВС с другой. Ясно, что это всё, а также развитие электроники, послужило отказу автопроизводителей от карбюратора как системы питания ДВС, и завершило «золотой век» достаточно простых для обслуживания автомобилей.
д. и т.п. Также по народному эволюционирует и система зажигания… Оценить уровень достижений может каждый из вас, кто хоть раз использовал подобные устройства, оптимизаторы и подобные ноу-хау.
Казедорф «Карбюраторы зарубежных автомобилей. Устройство, регулировка, ремонт», издательство «За рулём» 1999г). Серия 30…34 PICT-5, серия PDSIT-2/3 вместо МД имеют простейший распылитель, что позволяет использовать большие диаметры БД и смесительных камер (СК), при этом отпадает необходимость во второй камере карбюратора и работа двигателя становится оптимальной в широком диапазоне оборотов и нагрузки. Но основной недостаток этого подхода – большой расход топлива по сравнению с более поздними вариантами многокамерных карбюраторов. Но если «безмалодиффузорный» вариант перенести на первую камеру многокамерного карбюратора и при этом (как полагается) снизить диаметр БД, то окажется, что на больших оборотах двигателя гомогенность приготавливаемой топливной смеси грубо говоря не оптимальна или просто ГДС начинает лить бензин каплями. И для дальнейшей карбюрации топлива пришлось бы снова увеличивать высоту БД.
2. в качестве первой камеры многокамерного карбюратора, но из-за несогласованности скоростей в МД и БД вспомогательные системы (ускорительный насос (УН), механический и пневматический экономайзер, переходные системы ГДС) стали гипертрофированными для поддержания баланса ГДС, что приводило к перерасходу топлива на переходных режимах и ухудшению экологичности ДВС. Изначально вариант был испробован на однокамерном 35 PDSI и далее на Solex 2 B- E и 2 E- E. Данный тип ГДС часто использовался в карбюраторах с электронным управлением ( Ecotronic и т.п.), где недостатки переходных процессов корректировались электромеханическими устройствами, управляемыми по сигналам от дополнительных датчиков.
Внешняя поверхность МД закопчена обычной горящей парафиновой свечой. При некотором навыке это делается легко и красиво. Небольшой пробег (25-35км) и собственные впечатления дают представление о правильности выполненных действий. Более светлый след на копоти оставляемый смесью при выходе из окна, указывает на предпочтительную форму окна в МД. Методом последовательных итераций, были получены несколько форм и размеров окон МД (представлены на фото ниже). Наиболее понравившиеся варианты были подвержены долгосрочным испытаниям на других автомобилях (двигатели ВАЗ-21011,2106, УЗАМ-1500, 1700, ЗМЗ-402) с анализом отзывов водителей.
Окно без изменения ГТЖ исключает провалы в начале движения автомобиля, позволяет двигаться на полупрогретом двигателе при низких температурах воздуха без провалов и подёргиваний, а также поддерживать заданную скорость движения при менее открытой ДЗ 1 камеры чем требовалось до тюнинга. Это также экономит топливо до 5% от прежнего среднего расхода. 3-х щелевое окно предпочтительнее для тех водителей, кто постоянно эксплуатирует автомобиль с полной загрузкой, т.к. эта форма окна менее всего реагирует на загрузку автомобиля.
Точность копии строго на глаз практически не отличается от оригинала.
См. приложение.
С его помощью удается отрегулировать количество поступающего в двигатель топлива.





