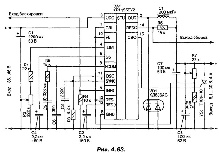
К1156еу2р описание
Инвертор состоит из двух основных узлов. ШИМ контроллера. А также выходных высоковольтных транзисторов. Попутно весьма кстати попал в кадр трансформатор управления этими транзисторами.
Поиск данных по Вашему запросу:
Схемы, справочники, даташиты:
Прайс-листы, цены:
Обсуждения, статьи, мануалы:
Дождитесь окончания поиска во всех базах.
По завершению появится ссылка для доступа к найденным материалам.
Содержание:
- К1156ЕУ2Р (КР1156ЕУ2)
- Схема простого импульсного блока питания
- Устройства управления источниками питания
- Бесплатная подписка на журнал «Современная электроника»
- Преобразователь для начинающих
- ИМПУЛЬСНЫЙ РЕГУЛИРУЕМЫЙ ЛАБОРАТОРНЫЙ БЛОК ПИТАНИЯ.
Схемы импульсных бп
ПОСМОТРИТЕ ВИДЕО ПО ТЕМЕ: SG3525. Принцип работы. Теория.
К1156ЕУ2Р (КР1156ЕУ2)
Преобразователи и ключи. Отправлено: Заголовок: Приобрел микросхему UCN — поставил ее в макет преобразователя панелька, вся обвеска и два транзистора 44, всегда проверяю после покупки. Проверяю от блока питания, вроде работает нормально, но после минуты работы правый транзистор теплый. Никогда такого не было, чтобы от блока питания и с нагрузкой в виде лампы 60 ватт- что-то грелось.
Надо видимо частоту уменьшить. Кручу подстроечник в сторону увеличения ком, измеряю, а там было 6,8 ком, а стало 8,4 ком, хотя должно быть около 30 ком подстроечник на 33ком. Выпаял подстроечник измеряю ,8 ком, ставлю снова назад измеряю-8,4 ком.
А внешний признак- это показывает при замере Rt заниженные его значения в два и более раз. В работающую ЭУ я ее не ставил, то есть проверял только на макетной плате. В остальных же ЭУ при замере Rt — все показывают истинное значение, Что же это такое? Кто может знает или встречался с такими чудесами?. Заголовок: Re:. Ну и чудеса! В действующих ЭУ на 11 и 14 выводах у меня действительно стоят , как это я не обратил внимания, пойду править схему.
Благодарю bbl! Народ объясните татарину чем отличается от И какую мощь можно снять с 24 без дров. А то у нас ни в одном маге дров нету. А в инете пробовал заказывать но не получается я с тела юзаю компа нет. Закажи в Техас Инструмент, нахаляву пришлют прямо до дверей квартиры. Будешь в Е-бурге , дам тебе пару штук хоть в дипе , хоть в соике.
Пиши в личку. У нас мужики ездят туда мясо возят тюменский бройлер слыхал? Это по Тобольскому тракту? Примерно в 10 км.? С огромной вывеской? А птичий грипп где? На странице с описанием микрухи надо кликнуть на «Recuest free sample» и заказ будет занесён в вашу корзину. Заказать можно 8 образцов по 5 штук. Через дня три FedEx принесёт прямо домой. Не обращайте внимание на надпись»Придётся заплатить таможне».
Платить ни чего не надо. Я тоже живу в тундре-Юрга,но проблем нет. Заказываю через tcfactor. В Россию и Украину шлют без проблем. Иногда необходимо указать название и описание проекта тут можно написать вибратор дистанционно управляемый и потребность в количестве обычно шт в год.
По крайней мере UC я себя обеспечил лет на 10 вперед. Но там много есть вкусных вещей. Да лучше указывать корпоративный ящик. Ящик bk. И указывать свой реальный телефон, могут позвонить и спросить — когда и куда удобней подвезти. Мужики, оказывается у меня много земляков, я тоже из Тюмени.
Проблем с комплетующими не стало когда появился филиал промэлектроники с Ебурга. Udar, спасибо за подробный ответ. Но если так просто, то почему этим редко пользуются? И участники форума как-то ровнодушно помалкивают?
Неужто более никто халявой не пользуется? Да и с драйверами не совсем понятно. Sergel я вроде и так по шагам все выложил, если у тебя проблемы с английским — то я ничем помочь не могу. Ну есть еще и операционные усилители.
Ну и в школе-институте иногда учил, так что кое что в голове осталось. Есть конечно и отечественые дистрибьюторы, но у них сэмплов не дождешься. Sergel в Промэлектронике, та что на Малыгина, в основном работают под заказ. Идешь к столу заказа, заказываешь и через два, три дня с Ебурга привозят все необходимое. Заголовок: А на какую сумму минимум? Почему при срабатывании защиты на одном выходе короткий импульс на другом полный и одно плечо транзисторов перегревается.
При кз отсекает полностью и схема икает. И что не так? Парни, а вы диоды на выходе ставили? Очень чувстительна к топологии печатки.
Sergel надо добавить коррекцию на 9 ногу-см.
Так как с ты снимаешь не силу, а простую логику Нет надобности в защите. Но не удобен. У него инверсионный выход. Удобнее А по выходу , нужен стабилитрон на 18В или пара диодов, как предпологает схема включения И наверное будет лучше диоды, так как «излишки» будут возвращатся в питание, а не преобразовываться в тепло. А чем плоха пара ? У меня они IRFP качают в автомобильном преобразователе.
И в общем-то без микрух-драйверов обхожусь. Эта пара плоха тем, что эти транзисторы составные и у них большое насыщение кол-эмит — использовать ее не надо! Что думаете? Для резонансных схем мощный драйвер действительно не нужен. Зачем корректор мощности и в чем заманчивость резонанса? Для низковольтных схем никакой заманчивости нет на самом деле. Не говоря уже о его отсутствии. На первый взгляд кажется что толку нет. Так как всеравно затворы не успевают быстро открыться.
Могу предположить в чем проблемма. Конечно лучше будет, если ты выложишь кусок схемы и печатки с ПН.
Было бы проще искать проблемму. Ниже кГц — судя повсему, входит в насыщение. Коли так, то кГц вполне достаточно, зачем подымать выше.
НРSно ведь другого рода сигналы мерит хорошо сопротивление затвора нет в выпрямителе диоды — HFA06TB12 на затвор-истоке диоды корпуса микрух не греются питание берётся от стоков через дроссель далее монтаж выполнен смд везде где можно кондёры на ногах питания. А картинка ставится — выше окна где ты пишешь сообщение есть кнопки , мышьку подведи и увидешь хелп третья с права. Можеть у тебя какой-то другой форум Со стоков через диоды далее на общую шину а , далее в нижнем правом углу что за элемент?
Есть недочет. На драйвера , рядом с ногами питания нужны пару емкостей 0. Желательно на каждый драйвер. А С27 не может быть проблеммой? Я как-то 0. Диоды в мосту от короткого вышибло. Я ведь уже писал, питание и питание драйверов нужно разделить дросселем и поставить кондер на мкф.
Схема простого импульсного блока питания
Обнаружили недостоверную информацию — нажмите значок справа от позиции для отправки жалобы.
Вы хотите прекратить это первоапрельское безобразие? Да, хватит уже! Нет, оставьте, это смешно. К запросу: позиций. В запросе.
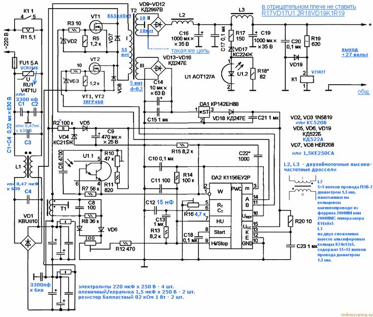
Спасибо за подробное описание сборки сварочного инвертора по схеме и проблем не было (так же использовались КЕУ2Р).
Устройства управления источниками питания
Обращаем ваше внимание, что бесплатная подписка оформляется только для квалифицированных специалистов, аккуратно и полностью заполнивших анкету. Если вы по каким-либо причинам не попали в подписную базу или у вас есть жалобы на доставку, можно оформить платную подписку, — это позволит получать журнал гарантированно. На данном сайте используются cookie для сбора информации технического характера и обрабатывается Ваш IP-адрес. Продолжая использовать этот сайт, вы даете согласие на использование файлов cookies. Желающие получить отдельные ранее вышедшие номера могут заказать журнал. Ecли у редакции не будет возможности отправлять вам печатную версию, то сможете ли вы читать электронную? Читать Купить Не получили журнал? Подписка
Бесплатная подписка на журнал «Современная электроника»
Скачать электронные журналы бесплатно с интернет библиотеки Книжка.
Артдокфест politrussia. Многофункциональный цифровой частотомер. Устройство для тестирования Li- ion аккумуляторов.
Запомнить меня.
Преобразователь для начинающих
Здравствуйте, гость Вход Регистрация. Правила Форума «Электрик». Файловый архив форумов. Искать только в этом форуме? Дополнительные параметры.
ИМПУЛЬСНЫЙ РЕГУЛИРУЕМЫЙ ЛАБОРАТОРНЫЙ БЛОК ПИТАНИЯ. Схемы импульсных бп
Основные параметры источников питания. Регулировка стабилизированных ИП. Напряжение сети. Структурная схема стабилизатора компенсационного типа. Импульсные источники питания и их структурная схема.
В этой статье Вы найдёте подробное описание процесса изготовления .. взаимное влияние двух источников питания микросхемы КЕУ2Р. Оптрон .
Преобразователи и ключи. Отправлено: Заголовок:
Блоки питания форм-фактора АТХ без коррекции коэффициента мощности. Достоинства трансформаторных блоков питания. Предлагаем рассмотреть, что такое импульсный блок питания ИБП , как он работает, а также как сделать это устройство в домашних условиях.
ИБП — это устройство, которое выпрямляет сетевое напряжение , а затем формирует из него импульсы частотой более 10 кГц, которые после подаются на специальный импульсный трансформатор. ИБП представляет собой электронный преобразователь, который включает в себя импульсный регулятор, для эффективного преобразования электрической энергии и широтно-импульсный модулятор ШИМ.
В этой статье Вы найдёте подробное описание процесса изготовления импульсных блоков питания разной мощности на базе электронного балласта компактной люминесцентной лампы. Импульсный блок питания на 5… 20 Ватт вы сможете изготовить менее чем за час.
Страницы : [ 1 ] 2. Есть у этой конструкции свои плюсы и минусы. Можно конечно не мучаться и не изобретать велосипед и купить готовый бп, но думаю что на сайте собрались не только юзеры — но и те кому интересно попаять немного при этом еще и сэкономив!!! Поэтому главная идея этого проекта — самая низкая стоимость при достаточной надежности конструкции. Пару слов о своем прототипе над которым я издеваюсь: точнее обо всех моих ошибках — чтоб было от чего оттолкнуться.

