ΠΠ°ΠΌΠ΅Π½Π° ΡΡΠ΅ΠΊΠ»ΠΎΠΏΠΎΠ΄ΡΠ΅ΠΌΠ½ΠΈΠΊΠ° Π½Π° ΠΠΠ 2107
ΠΠ°ΠΌΠ΅Π½Π° ΠΈ ΡΠ΅ΠΌΠΎΠ½Ρ ΡΡΠ΅ΠΊΠ»ΠΎΠΏΠΎΠ΄ΡΠ΅ΠΌΠ½ΠΈΠΊΠ° Π½Π° ΠΠΠ 2107 ΡΠ²Π»ΡΠ΅ΡΡΡ Π΄ΠΎΡΡΠ°ΡΠΎΡΠ½ΠΎ ΠΏΡΠΎΡΡΠΎΠΉ Π·Π°Π΄Π°ΡΠ΅ΠΉ, Ρ ΠΊΠΎΡΠΎΡΠΎΠΉ ΠΌΠΎΠΆΠ΅Ρ ΡΠΏΡΠ°Π²ΠΈΡΡΡΡ Π»ΡΠ±ΠΎΠΉ ΡΠ΅Π»ΠΎΠ²Π΅ΠΊ ΠΏΡΠΈ ΠΏΠΎΠΌΠΎΡΠΈ ΠΏΠΎΠ΄ΡΠΎΠ±Π½ΠΎΠΉ ΠΈΠ½ΡΡΡΡΠΊΡΠΈΠΈ. ΠΡΠΈΡΡΡΠΏΠ°ΡΡ ΠΊ ΡΠ΅ΠΌΠΎΠ½ΡΡ ΡΠ΅ΠΌΠ΅ΡΠΊΠΈ ΡΠ»Π΅Π΄ΡΠ΅Ρ Π² ΡΠΎΡ ΠΌΠΎΠΌΠ΅Π½Ρ, ΠΊΠΎΠ³Π΄Π° ΠΏΠΎΡΠ²ΡΡΡΡ ΠΏΠ΅ΡΠ²ΡΠ΅ ΠΏΡΠΈΠ·Π½Π°ΠΊΠΈ Π½Π΅ΠΈΡΠΏΡΠ°Π²Π½ΠΎΡΡΠΈ. ΠΠ»Ρ ΡΠΎΠ³ΠΎ ΡΡΠΎΠ±Ρ ΠΏΠΎΠΌΠ΅Π½ΡΡΡ ΡΡΠ°ΡΡΠΉ ΡΡΠ΅ΠΊΠ»ΠΎΠΏΠΎΠ΄ΡΠ΅ΠΌΠ½ΠΈΠΊ Π½Π° Π½ΠΎΠ²ΡΠΉ, ΠΏΠΎΡΡΠ΅Π±ΡΠ΅ΡΡΡ ΠΏΠΎΠ΄Π³ΠΎΡΠΎΠ²ΠΈΡΡ ΡΠΎΠ»ΡΠΊΠΎ ΠΌΠ°Π»ΡΠΉ Π½Π°Π±ΠΎΡ ΠΈΠ½ΡΡΡΡΠΌΠ΅Π½ΡΠΎΠ².
Π‘Π°ΠΌΠΎΡΡΠΎΡΡΠ΅Π»ΡΠ½Π°Ρ Π·Π°ΠΌΠ΅Π½Π° ΡΡΠ΅ΠΊΠ»ΠΎΠΏΠΎΠ΄ΡΠ΅ΠΌΠ½ΠΈΠΊΠ° Π½Π° ΠΠΠ 2107 ΠΏΠΎΠΌΠΎΠΆΠ΅Ρ Π»ΡΡΡΠ΅ ΠΈΠ·ΡΡΠΈΡΡ ΠΊΠΎΠ½ΡΡΡΡΠΊΡΠΈΡ ΡΠ²ΠΎΠ΅Π³ΠΎ Π°Π²ΡΠΎΠΌΠΎΠ±ΠΈΠ»Ρ ΠΈ ΡΡΠΊΠΎΠ½ΠΎΠΌΠΈΡΡ ΡΠ²ΠΎΠΈ Π΄Π΅Π½ΡΠ³ΠΈ. ΠΠ²ΡΠΎΠ²Π»Π°Π΄Π΅Π»ΡΡΡ Π½Π΅ ΠΏΡΠΈΠ΄Π΅ΡΡΡ ΠΏΠ»Π°ΡΠΈΡΡ ΡΠ΅Ρ ΡΠ΅Π½ΡΡΡ Π·Π° Π»Π΅Π³ΠΊΠΈΠΉ ΡΠ΅ΠΌΠΎΠ½Ρ ΠΈ ΡΡΠ°ΡΠΈΡΡ Π²ΡΠ΅ΠΌΡ Π² ΠΎΠΆΠΈΠ΄Π°Π½ΠΈΠΈ, Π΅ΡΠ»ΠΈ ΠΎΠ½ ΡΠΏΡΠ°Π²ΠΈΡΡΡ Ρ ΡΡΠΎΠΉ Π·Π°Π΄Π°ΡΠ΅ΠΉ Π±Π΅Π· ΠΏΠΎΠΌΠΎΡΠ½ΠΈΠΊΠΎΠ².
ΠΡΠΎΠ±Π΅Π½Π½ΠΎΡΡΠΈ ΠΊΠΎΠ½ΡΡΡΡΠΊΡΠΈΠΈ
ΠΡΠ΅ΠΆΠ΄Π΅ ΡΠ΅ΠΌ ΠΏΡΠΈΡΡΡΠΏΠ°ΡΡ ΠΊ Π·Π°ΠΌΠ΅Π½Π΅ ΡΡΠ΅ΠΊΠ»ΠΎΠΏΠΎΠ΄ΡΠ΅ΠΌΠ½ΠΈΠΊΠ° Π½Π° ΠΌΠ°ΡΠΈΠ½Π΅ ΠΠΠ-2107, ΡΠ»Π΅Π΄ΡΠ΅Ρ Π²Π½ΠΈΠΌΠ°ΡΠ΅Π»ΡΠ½ΠΎ ΠΈΠ·ΡΡΠΈΡΡ ΡΡΡΡΠΎΠΉΡΡΠ²ΠΎ ΡΡΠΎΠΉ Π΄Π΅ΡΠ°Π»ΠΈ. Π‘ΡΡΠ΅ΡΡΠ²ΡΡΡ ΡΡΡΠ½ΡΠ΅ ΡΡΠ΅ΠΊΠ»ΠΎΠΏΠΎΠ΄ΡΠ΅ΠΌΠ½ΠΈΠΊΠΈ Π΄Π²ΡΡ ΡΠΈΠΏΠΎΠ²:
- Π Π΅Π΅ΡΠ½ΡΠ΅. Π¨Π΅ΡΡΠ΅ΡΠ΅Π½ΠΊΠΈ ΡΡΠΎΠ³ΠΎ ΠΌΠ΅Ρ
Π°Π½ΠΈΠ·ΠΌΠ° ΡΠ²Π»ΡΡΡΡΡ ΠΏΠ»Π°ΡΡΠΌΠ°ΡΡΠΎΠ²ΡΠΌΠΈ, ΠΈΠ·-Π·Π° ΡΠ΅Π³ΠΎ ΠΌΠ΅Ρ
Π°Π½ΠΈΠ·ΠΌ Π±ΡΡΡΡΠΎ ΠΈΠ·Π½Π°ΡΠΈΠ²Π°Π΅ΡΡΡ ΠΈ Π²ΡΡ
ΠΎΠ΄ΠΈΡ ΠΈΠ· ΡΡΡΠΎΡ.
ΠΠΎΠ»Π΅Π΅ ΡΠΎΠ³ΠΎ, ΠΌΠ΅Ρ
Π°Π½ΠΈΠ·ΠΌ ΡΠ²Π»ΡΠ΅ΡΡΡ Π±ΠΎΠ»Π΅Π΅ Π³ΡΠΎΠΌΠΎΠ·Π΄ΠΊΠΈΠΌ ΠΈ Π·Π°Π½ΠΈΠΌΠ°Π΅Ρ Π±ΠΎΠ»ΡΡΠ΅ ΠΏΡΠΎΡΡΡΠ°Π½ΡΡΠ²Π° ΠΏΠΎΠ΄ Π΄Π²Π΅ΡΠ½ΠΎΠΉ ΠΊΠ°ΡΡΠΎΠΉ. Π£ ΡΡΠΎΠΉ ΠΊΠΎΠ½ΡΡΡΡΠΊΡΠΈΠΈ Π΅ΡΡΡ ΡΠ²ΠΎΠΈ ΠΏΠ»ΡΡΡ β ΠΏΠ΅ΡΠ΅ΠΊΠΎΡ ΡΡΠ΅ΠΊΠ»Π° Π½Π΅Π²ΠΎΠ·ΠΌΠΎΠΆΠ΅Π½, Π° ΠΏΠΎΠ΄ΡΠ΅ΠΌ ΠΈ ΡΠΏΡΡΠΊ ΡΡΠ΅ΠΊΠΎΠ»ΡΠ½ΠΎΠ³ΠΎ ΡΠ»Π΅ΠΌΠ΅Π½ΡΠ° ΠΏΡΠΎΡ
ΠΎΠ΄ΡΡ Π³ΠΎΡΠ°Π·Π΄ΠΎ Π±ΠΎΠ»Π΅Π΅ ΡΠΈΡ
ΠΎ, ΡΠ΅ΠΌ Ρ Π΄ΡΡΠ³ΠΈΡ
ΠΌΠ΅Ρ
Π°Π½ΠΈΠ·ΠΌΠΎΠ². - Π’ΡΠΎΡΠΎΠ²ΡΠ΅. Π ΡΠ°ΠΊΠΎΠΌ ΡΡΠ΅ΠΊΠ»ΠΎΠΏΠΎΠ΄ΡΠ΅ΠΌΠ½ΠΈΠΊΠ΅ ΠΎΡΠ½ΠΎΠ²Π½ΡΠΌ ΡΠ»Π΅ΠΌΠ΅Π½ΡΠΎΠΌ ΡΠ²Π»ΡΠ΅ΡΡΡ ΡΡΠΎΡ, Ρ ΠΏΠΎΠΌΠΎΡΡΡ ΠΊΠΎΡΠΎΡΠΎΠ³ΠΎ ΠΎΡΡΡΠ΅ΡΡΠ²Π»ΡΠ΅ΡΡΡ Π΄Π²ΠΈΠΆΠ΅Π½ΠΈΠ΅ ΡΡΠ΅ΠΊΠ»Π° Π²Π²Π΅ΡΡ ΠΈ Π²Π½ΠΈΠ·. ΠΠ°Π³ΡΡΠ·ΠΊΡ ΠΆΠ΅ Π±Π΅ΡΡΡ Π½Π° ΡΠ΅Π±Ρ Π±Π»ΠΎΠΊΠΈ ΠΊΡΡΡΡΡΠ΅Π³ΠΎ ΠΌΠ΅Ρ Π°Π½ΠΈΠ·ΠΌΠ°. ΠΡΠ° ΠΊΠΎΠ½ΡΡΡΡΠΊΡΠΈΡ ΡΠ²Π»ΡΠ΅ΡΡΡ Π΄ΠΎΠ²ΠΎΠ»ΡΠ½ΠΎ ΠΏΡΠΎΡΡΠΎΠΉ ΠΈ ΠΈΠΌΠ΅Π΅Ρ Π²Π΅ΡΠΎΠΌΠΎΠ΅ ΠΏΡΠ΅ΠΈΠΌΡΡΠ΅ΡΡΠ²ΠΎ β ΡΠ΅ΠΌΠΎΠ½ΡΠΎΠΏΡΠΈΠ³ΠΎΠ΄Π½ΠΎΡΡΡ. ΠΠ»Ρ ΡΠΎΠ³ΠΎ ΡΡΠΎΠ±Ρ ΠΏΡΠΎΠ²Π΅ΡΡΠΈ ΡΠ΅ΠΌΠΎΠ½Ρ ΠΈΠ»ΠΈ Π·Π°ΠΌΠ΅Π½Ρ ΠΊΠ°ΠΊΠΈΡ -Π»ΠΈΠ±ΠΎ Π΄Π΅ΡΠ°Π»Π΅ΠΉ, Π½Π΅ ΠΏΡΠΈΠ΄Π΅ΡΡΡ ΠΏΡΠΈΠ»Π°Π³Π°ΡΡ ΡΠ»ΠΈΡΠΊΠΎΠΌ ΠΌΠ½ΠΎΠ³ΠΎ ΡΡΠΈΠ»ΠΈΠΉ. ΠΠΎ Ρ ΡΠΈΡΡΠ΅ΠΌΡ Π΅ΡΡΡ ΠΈ Π½Π΅Π΄ΠΎΡΡΠ°ΡΠΎΠΊ β ΠΎΠ½Π° Π½Π΅ ΠΎΡΠ΅Π½Ρ Π½Π°Π΄Π΅ΠΆΠ½Π°.
Π Π½Π΅ΠΊΠΎΡΠΎΡΡΡ ΠΌΠ°Π³Π°Π·ΠΈΠ½Π°Ρ ΠΌΠΎΠΆΠ½ΠΎ ΠΏΡΠΈΠΎΠ±ΡΠ΅ΡΡΠΈ ΡΠ»Π΅ΠΊΡΡΠΎΡΡΠ΅ΠΊΠ»ΠΎΠΏΠΎΠ΄ΡΠ΅ΠΌΠ½ΠΈΠΊΠΈ Π΄Π»Ρ ΠΠΠ-2107, ΡΡΠΎΠ±Ρ ΡΠ΄Π΅Π»Π°ΡΡ ΠΊΠ°ΠΆΠ΄ΡΡ ΠΏΠΎΠ΅Π·Π΄ΠΊΡ Π΅ΡΠ΅ Π±ΠΎΠ»Π΅Π΅ ΠΊΠΎΠΌΡΠΎΡΡΠ½ΠΎΠΉ. ΠΠ΄Π½Π°ΠΊΠΎ ΡΡΠΎΠΈΡ ΡΡΠΈΡΡΠ²Π°ΡΡ, ΡΡΠΎ Π΄Π»Ρ ΠΏΠΎΠ΄ΠΊΠ»ΡΡΠ΅Π½ΠΈΡ ΡΡΠΎΠ³ΠΎ ΡΡΡΡΠΎΠΉΡΡΠ²Π° ΠΏΠΎΡΡΠ΅Π±ΡΠ΅ΡΡΡ ΠΏΠΎΡΡΠ°ΡΠΈΡΡ Π½Π΅ΠΌΠ½ΠΎΠ³ΠΎ Π±ΠΎΠ»ΡΡΠ΅ Π²ΡΠ΅ΠΌΠ΅Π½ΠΈ. ΠΡΠ΅ Π΄Π΅ΠΉΡΡΠ²ΠΈΡ Π²ΡΠΏΠΎΠ»Π½ΡΡΡΡΡ ΡΡΡΠΎΠ³ΠΎ ΠΏΠΎ ΡΡ Π΅ΠΌΠ΅.
Π’Π°ΠΊΠΆΠ΅ Π½Π΅ΠΎΠ±Ρ
ΠΎΠ΄ΠΈΠΌΠΎ ΠΏΠΎΠΌΠ½ΠΈΡΡ ΠΎ ΡΠΎΠΌ, ΡΡΠΎ Π»ΡΠ±ΠΎΠ΅ Π²ΠΌΠ΅ΡΠ°ΡΠ΅Π»ΡΡΡΠ²ΠΎ Π² ΡΠ»Π΅ΠΊΡΡΠΈΠΊΡ Π΄ΠΎΠ»ΠΆΠ½ΠΎ Π±ΡΡΡ Π²ΡΠΏΠΎΠ»Π½Π΅Π½ΠΎ Π°ΠΊΠΊΡΡΠ°ΡΠ½ΠΎ, Π² ΡΠΎΠΎΡΠ²Π΅ΡΡΡΠ²ΠΈΠΈ Ρ ΠΏΡΠ΅Π΄ΠΏΠΈΡΠ°Π½ΠΈΡΠΌΠΈ ΠΏΡΠΎΠΈΠ·Π²ΠΎΠ΄ΠΈΡΠ΅Π»Ρ ΡΠ»Π΅ΠΊΡΡΠΈΡΠ΅ΡΠΊΠΈΡ
ΡΡΠ΅ΠΊΠ»ΠΎΠΏΠΎΠ΄ΡΠ΅ΠΌΠ½ΠΈΠΊΠΎΠ².
ΠΠ΅ΠΈΡΠΏΡΠ°Π²Π½ΠΎΡΡΠΈ ΡΡΠ΅ΠΊΠ»ΠΎΠΏΠΎΠ΄ΡΠ΅ΠΌΠ½ΠΈΠΊΠΎΠ² ΠΈ ΠΏΡΡΠΈ ΠΈΡ ΡΡΡΡΠ°Π½Π΅Π½ΠΈΡ
ΠΠ·ΡΡΠΈΠ² ΡΡΡΡΠΎΠΉΡΡΠ²ΠΎ ΡΡΠ΅ΠΊΠ»ΠΎΠΏΠΎΠ΄ΡΠ΅ΠΌΠ½ΠΈΠΊΠ° Π² Π°Π²ΡΠΎΠΌΠΎΠ±ΠΈΠ»ΡΡ ΠΠΠ 2107, ΡΠ»Π΅Π΄ΡΠ΅Ρ ΡΠ°ΠΊΠΆΠ΅ ΡΠ·Π½Π°ΡΡ ΠΎ Β«Π±ΠΎΠ»Π΅Π·Π½ΡΡ Β» ΡΠΈΡΡΠ΅ΠΌΡ. ΠΡΠΈΡΠΈΠ½Π° ΠΈΡ ΠΏΠΎΡΠ²Π»Π΅Π½ΠΈΡ β Π½Π΅Π΄ΠΎΡΠ°Π±ΠΎΡΠΊΠ° ΠΏΡΠΈ ΠΏΡΠΎΠ΅ΠΊΡΠΈΡΠΎΠ²Π°Π½ΠΈΠΈ ΠΈ ΠΈΡΠΏΠΎΠ»ΡΠ·ΠΎΠ²Π°Π½ΠΈΠ΅ Π½ΠΈΠ·ΠΊΠΎΠΊΠ°ΡΠ΅ΡΡΠ²Π΅Π½Π½ΡΡ ΠΌΠ°ΡΠ΅ΡΠΈΠ°Π»ΠΎΠ². ΠΡΠΈ Π½Π΅Π΄ΠΎΡΡΠ°ΡΠΊΠΈ Π½Π΅ Π±ΡΠ»ΠΈ Π²ΡΡΠ²Π»Π΅Π½Ρ ΠΏΡΠΈ ΠΏΡΠΎΠ²Π΅Π΄Π΅Π½ΠΈΠΈ ΠΈΡΠΏΡΡΠ°Π½ΠΈΠΉ Π½Π° ΡΠΏΠ΅ΡΠΈΠ°Π»ΡΠ½ΡΡ ΡΡΠ΅Π½Π΄Π°Ρ .
ΠΡΠΎΠΌΠ΅ ΡΠΎΠ³ΠΎ, ΡΡΡΠ½ΡΠ΅ ΡΡΠ΅ΠΊΠ»ΠΎΠΏΠΎΠ΄ΡΠ΅ΠΌΠ½ΠΈΠΊΠΈ Π΄ΠΎΡΡΠ°ΡΠΎΡΠ½ΠΎ ΡΡΠΆΠ΅Π»ΠΎ ΡΠ΅ΠΌΠΎΠ½ΡΠΈΡΠΎΠ²Π°ΡΡ Π²ΡΡΡΠ½ΡΡ. Π Π°Π·ΠΎΠ±ΡΠ°ΡΡ ΠΈΡ ΠΌΠΎΠΆΠ½ΠΎ Π·Π° ΠΏΠ°ΡΡ Π΄Π²ΠΈΠΆΠ΅Π½ΠΈΠΉ, Π²ΠΎΡ ΡΠΎΠ»ΡΠΊΠΎ Π΄Π»Ρ ΡΠΎΠ³ΠΎ, ΡΡΠΎΠ±Ρ ΠΏΡΠΈΠ²Π΅ΡΡΠΈ Π΄Π΅ΡΠ°Π»ΠΈ Π² ΡΠ°Π±ΠΎΡΠ΅Π΅ ΡΠΎΡΡΠΎΡΠ½ΠΈΠ΅, ΠΏΠΎΡΡΠ΅Π±ΡΠ΅ΡΡΡ Π½Π°ΡΡΠΎΡΡΠ°Ρ ΠΌΠ°ΡΡΠ΅ΡΡΠΊΠ°Ρ. ΠΡΡΡ Π½Π΅ΡΠΊΠΎΠ»ΡΠΊΠΎ Π²ΠΈΠ΄ΠΎΠ² Π½Π΅ΠΈΡΠΏΡΠ°Π²Π½ΠΎΡΡΠ΅ΠΉ ΠΌΠ΅Ρ Π°Π½ΠΈΠ·ΠΌΠ° Π² Π΄Π²Π΅ΡΠΈ ΠΠΠ-2107.
Π‘ΠΊΡΠΈΠΏ ΡΡΠ΅ΠΊΠ»ΠΎΠΏΠΎΠ΄ΡΠ΅ΠΌΠ½ΠΈΠΊΠ°
ΠΡΠ° Π½Π΅ΠΈΡΠΏΡΠ°Π²Π½ΠΎΡΡΡ ΡΠΎΠΏΡΠΎΠ²ΠΎΠΆΠ΄Π°Π΅ΡΡΡ Ρ Π°ΡΠ°ΠΊΡΠ΅ΡΠ½ΡΠΌ Π·Π²ΡΠΊΠΎΠΌ. ΠΠ³ΠΎ ΠΌΠΎΠΆΠ½ΠΎ ΠΏΠ΅ΡΠ΅ΠΏΡΡΠ°ΡΡ ΡΠΎ Π·Π²ΡΠΊΠ°ΠΌΠΈ ΠΎΠ±ΡΡΠ½ΠΎΠΉ ΡΠ°Π±ΠΎΡΡ ΠΌΠ΅Ρ Π°Π½ΠΈΠ·ΠΌΠΎΠ² Β«ΠΠΈΠ³ΡΠ»Π΅ΠΉΒ», Π½ΠΎ Π½Π° ΡΡΠΎΡ ΠΏΡΠΈΠ·Π½Π°ΠΊ ΡΠ»Π΅Π΄ΡΠ΅Ρ ΠΎΠ±ΡΠ°ΡΠΈΡΡ ΠΎΡΠΎΠ±ΠΎΠ΅ Π²Π½ΠΈΠΌΠ°Π½ΠΈΠ΅. ΠΠ½ ΠΏΠΎΡΠ²Π»ΡΠ΅ΡΡΡ, ΠΊΠΎΠ³Π΄Π° Π² ΡΠ°Π±ΠΎΡΠ΅ ΡΡΠ΅ΠΊΠ»ΠΎΠΏΠΎΠ΄ΡΠ΅ΠΌΠ½ΠΈΠΊΠ° ΡΡΠΎ-ΡΠΎ ΠΈΠ΄Π΅Ρ Π½Π΅ ΡΠ°ΠΊ. ΠΡΠΈΡΠΈΠ½Π° ΠΏΠΎΠ»ΠΎΠΌΠΊΠΈ β Π½Π΅Π΄ΠΎΡΡΠ°ΡΠΎΠΊ ΡΠΌΠ°Π·ΠΊΠΈ Π½Π° Π²Π½ΡΡΡΠ΅Π½Π½ΠΈΡ Π΄Π΅ΡΠ°Π»ΡΡ .
ΠΡΠ»ΠΈ Β«Π·Π°ΠΏΡΡΡΠΈΡΡΒ» ΠΏΡΠΎΠ±Π»Π΅ΠΌΡ, ΡΡΠ΅ΠΊΠ»ΠΎΠΏΠΎΠ΄ΡΠ΅ΠΌΠ½ΠΈΠΊ ΠΌΠΎΠΆΠ΅Ρ ΡΠ»ΠΎΠΌΠ°ΡΡΡΡ.
Π’Π°ΠΊΠΆΠ΅ ΠΏΡΠΈ ΡΠ±ΠΎΡΠΊΠ΅-ΡΠ°Π·Π±ΠΎΡΠΊΠ΅ ΡΠΈΡΡΠ΅ΠΌΡ ΡΠ΅ΠΊΠΎΠΌΠ΅Π½Π΄ΡΠ΅ΡΡΡ Π·Π°ΠΌΠ΅Π½ΠΈΡΡ ΡΠ΅Π·ΠΈΠ½ΠΊΠΈ Β«Π±Π°ΡΡ
ΠΎΡΠΊΠΈΒ» ΠΈΠ»ΠΈ ΠΏΡΠΎΡΡΠΎ ΠΏΡΠΎΡΠ΅ΡΠ΅ΡΡ ΠΈΡ
, ΡΠ±ΡΠ°Π² ΠΏΡΠ»Ρ ΠΈ ΠΌΠ΅Π»ΠΊΠΈΠ΅ ΠΏΠ΅ΡΡΠΈΠ½ΠΊΠΈ, ΠΊΠΎΡΠΎΡΡΠ΅ ΡΠ°ΡΠ°ΠΏΠ°ΡΡ Π·Π΅ΡΠΊΠ°Π»ΠΎ.
Π‘ΡΠ΅ΠΊΠ»ΠΎΠΏΠΎΠ΄ΡΠ΅ΠΌΠ½ΠΈΠΊ Π·Π°ΠΊΠ»ΠΈΠ½ΠΈΠ»ΠΎ
ΠΡΠΈ ΡΠ°ΠΊΠΎΠΉ Π½Π΅ΠΈΡΠΏΡΠ°Π²Π½ΠΎΡΡΠΈ Π±ΠΎΠΊΠΎΠ²ΡΠ΅ ΡΡΠ΅ΠΊΠ»Π° Π½Π΅ ΠΏΠΎΠ»ΡΡΠ°Π΅ΡΡΡ ΡΠ΄Π²ΠΈΠ½ΡΡΡ Ρ ΠΌΠ΅ΡΡΠ°. ΠΠ»ΠΈΠ½ ΠΌΠ΅Ρ Π°Π½ΠΈΠ·ΠΌΠ° Π²ΠΎΠ·Π½ΠΈΠΊΠ°Π΅Ρ Π² Β«ΠΠΈΠ³ΡΠ»ΡΡ Β» Π΄ΠΎΡΡΠ°ΡΠΎΡΠ½ΠΎ ΡΠ°ΡΡΠΎ. ΠΡΡΡ Π½Π΅ΡΠΊΠΎΠ»ΡΠΊΠΎ ΠΏΡΠΈΡΠΈΠ½ ΠΏΠΎΡΠ²Π»Π΅Π½ΠΈΡ Π½Π΅ΠΏΠΎΠ»Π°Π΄ΠΊΠΈ:
- ΠΠ΅ΠΈΡΠΏΡΠ°Π²Π½ΠΎΡΡΡ ΡΠ²Π°ΡΠ½ΠΎΠ³ΠΎ ΡΠΎΠ΅Π΄ΠΈΠ½Π΅Π½ΠΈΡ ΠΌΠ΅ΠΆΠ΄Ρ ΠΏΠ»Π°Π½ΠΊΠΎΠΉ ΡΡΠ΅ΠΊΠ»Π° ΠΈΠ»ΠΈ ΡΡΠΎΡΠΎΠΌ. Π ΡΡΠΎΠΌ ΡΠ»ΡΡΠ°Π΅ ΠΏΡΠΈΠ΄Π΅ΡΡΡ ΠΎΡΠΊΡΠ΅ΠΏΠΈΡΡ ΠΊΡΠΎΡ ΠΈ ΠΎΡΠΈΡΡΠΈΡΡ Π΅Π³ΠΎ, Π° Π·Π°ΡΠ΅ΠΌ Π·Π°Π½ΠΎΠ²ΠΎ ΠΏΡΠΈΠ²Π°ΡΠΈΡΡ ΠΊΡΠΎΠ½ΡΡΠ΅ΠΉΠ½ ΠΈ ΡΠ±Π΅Π΄ΠΈΡΡΡΡ Π² Π½Π°Π΄Π΅ΠΆΠ½ΠΎΡΡΠΈ ΡΠΈΡΡΠ΅ΠΌΡ.
- Π‘Π±ΠΈΠ²Π°Π΅ΡΡΡ ΠΊΠΎΡΡΠ΅ΠΊΡΠ½Π°Ρ Π½Π°ΠΌΠΎΡΠΊΠ° ΡΡΠΎΡΠ° Π½Π° Π±Π»ΠΎΠΊ. Π Π΅ΠΊΠΎΠΌΠ΅Π½Π΄ΡΠ΅ΡΡΡ Π°ΠΊΠΊΡΡΠ°ΡΠ½ΠΎ ΡΠ°Π·ΠΌΠΎΡΠ°ΡΡ ΡΡΠΎΡ. ΠΡΠ»ΠΈ ΠΆΠ΅ ΡΠ΄Π΅Π»Π°ΡΡ ΡΡΠΎ Π½Π΅ ΠΏΠΎΠ»ΡΡΠΈΡΡΡ, Π½ΡΠΆΠ½ΠΎ ΠΏΡΠΈΠ³ΠΎΡΠΎΠ²ΠΈΡΡΡΡ ΠΊ ΠΏΠΎΠ»Π½ΠΎΠΉ Π·Π°ΠΌΠ΅Π½Π΅ ΠΌΠ΅Ρ Π°Π½ΠΈΠ·ΠΌΠ°. ΠΡΠ° ΠΏΠΎΠ»ΠΎΠΌΠΊΠ° ΡΠ²Π»ΡΠ΅ΡΡΡ ΡΠ°ΡΠ°Π»ΡΠ½ΠΎΠΉ.
- ΠΠ΅Ρ Π°Π½ΠΈΠ·ΠΌ ΠΏΠΎΠ΄ΡΠ΅ΠΌΠ½ΠΈΠΊΠ° ΠΏΠ΅ΡΠ΅ΠΊΠ»ΠΈΠ½ΠΈΠ²Π°Π΅Ρ, ΠΈΠ·-Π·Π° ΡΠ΅Π³ΠΎ Π·ΡΠ±ΡΠΈΠΊΠΈ ΡΠ΅ΡΡΠ΅ΡΠ΅Π½ΠΊΠΈ ΡΠ»ΠΈΡΠΊΠΎΠΌ Π±ΡΡΡΡΠΎ ΡΡΠ°ΡΠΈΠ²Π°ΡΡΡΡ. ΠΠΎΠΆΠ½ΠΎ ΠΎΠ±ΠΎΠΉΡΠΈΡΡ ΠΏΡΠΎΠ²Π΅Π΄Π΅Π½ΠΈΠ΅ΠΌ ΠΌΠ°Π»ΠΎΠ³ΠΎ ΡΠ΅ΠΌΠΎΠ½ΡΠ° ΠΈ ΠΏΡΠΎΡΡΠΎ Π·Π°ΠΌΠ΅Π½ΠΈΡΡ Π²ΡΡΠ΅Π΄ΡΠΈΠ΅ ΠΈΠ· ΡΡΡΠΎΡ Π΄Π΅ΡΠ°Π»ΠΈ.
ΠΠ°Π΄Π°Π΅Ρ ΡΡΠ΅ΠΊΠ»ΠΎ
Π₯Π°ΡΠ°ΠΊΡΠ΅ΡΠ½ΠΎΠΉ Π½Π΅ΠΈΡΠΏΡΠ°Π²Π½ΠΎΡΡΡΡ Π΄Π»Ρ ΠΠΈΠ³ΡΠ»Π΅ΠΉ ΡΠ΅Π΄ΡΠΌΠΎΠΉ ΠΌΠΎΠ΄Π΅Π»ΠΈ ΡΡΠΈΡΠ°Π΅ΡΡΡ ΠΏΠ°Π΄Π΅Π½ΠΈΠ΅ Π±ΠΎΠΊΠΎΠ²ΠΎΠ³ΠΎ ΡΡΠ΅ΠΊΠ»Π°.
ΠΠ½ΠΎ ΠΏΠ°Π΄Π°Π΅Ρ Π½Π΅ Π΄ΠΎ ΠΊΡΠ°ΠΉΠ½Π΅Π³ΠΎ Π½ΠΈΠΆΠ½Π΅Π³ΠΎ ΠΏΠΎΠ»ΠΎΠΆΠ΅Π½ΠΈΡ. ΠΡΠΈΡΠΈΠ½Π° β ΠΎΡΠ»Π°Π±ΠΈΠ²ΡΠΈΠΉΡΡ Π½Π°ΡΡΠΆΠ½ΠΎΠΉ ΡΡΠΎΡ, ΠΈΠ·-Π·Π° ΠΊΠΎΡΠΎΡΠΎΠ³ΠΎ ΡΡΠ΅ΠΊΠ»ΠΎ ΠΏΡΠΎΡΡΠΎ ΠΏΡΠΎΠ²ΠΈΡΠ°Π΅Ρ. Π Π»ΡΡΡΠ΅ΠΌ ΡΠ»ΡΡΠ°Π΅ Π±ΡΠ΄Π΅Ρ Π΄ΠΎΡΡΠ°ΡΠΎΡΠ½ΠΎ ΠΏΠΎΠ΄ΡΡΠ½ΡΡΡ ΡΡΠΎΡ ΠΈΠ»ΠΈ ΠΏΠΎΠΏΡΠ°Π²ΠΈΡΡ Π΅Π³ΠΎ, ΡΠ»ΠΎΠΆΠΈΠ² Π² ΠΊΡΠ΅ΠΏΠ»Π΅Π½ΠΈΡ.
Π Ρ ΡΠ΄ΡΠ΅ΠΌ ΡΠ»ΡΡΠ°Π΅ ΠΏΡΠΈΠ΄Π΅ΡΡΡ Π²ΡΠΏΠΎΠ»Π½ΠΈΡΡ ΠΌΠΎΠ½ΡΠ°ΠΆ Π½ΠΎΠ²ΠΎΠ³ΠΎ ΡΡΠΎΡΠ° ΠΈ Π½Π°ΠΌΠΎΡΠ°ΡΡ Π΅Π³ΠΎ Π½Π° ΠΊΡΠ΅ΠΏΠ»Π΅Π½ΠΈΡ.
ΠΠΎΡΠ»Π΅Π΄ΠΎΠ²Π°ΡΠ΅Π»ΡΠ½ΠΎΡΡΡ Π·Π°ΠΌΠ΅Π½Ρ ΡΡΠ΅ΠΊΠ»ΠΎΠΏΠΎΠ΄ΡΠ΅ΠΌΠ½ΠΈΠΊΠ°
ΠΡΠ΅ΠΆΠ΄Π΅ ΡΠ΅ΠΌ Π½Π°ΡΠΈΠ½Π°ΡΡ Π·Π°ΠΌΠ΅Π½Ρ ΠΌΠ΅Ρ Π°Π½ΠΈΠ·ΠΌΠ° Π² Π΄Π²Π΅ΡΠΈ, ΠΏΡΠΈΠ³ΠΎΡΠΎΠ²ΡΡΠ΅ Π½Π΅ΡΠΊΠΎΠ»ΡΠΊΠΎ ΠΈΠ½ΡΡΡΡΠΌΠ΅Π½ΡΠΎΠ²:
- ΠΠ»ΡΡ Π½Π° 8 ΠΈ 10;
- ΠΡΠ²Π΅ΡΡΠΊΠΈ Ρ ΠΊΡΠ΅ΡΡΠΎΠΎΠ±ΡΠ°Π·Π½ΡΠΌ ΠΈ ΠΏΠ»ΠΎΡΠΊΠΈΠΌ Π»Π΅Π·Π²ΠΈΠ΅ΠΌ.
ΠΠ΅ΡΠΌΠΎΡΡΡ Π½Π° Π½Π°ΠΈΠ±ΠΎΠ»Π΅Π΅ ΡΠ°ΡΠΏΡΠΎΡΡΡΠ°Π½Π΅Π½Π½ΡΠ΅ Β«Π±ΠΎΠ»Π΅Π·Π½ΠΈΒ» ΠΌΠ΅Ρ Π°Π½ΠΈΠ·ΠΌΠ° Π² Β«ΠΠΈΠ³ΡΠ»ΡΡ Β», ΠΎΠ½ Π»Π΅Π³ΠΊΠΎ ΡΠ΅ΠΌΠΎΠ½ΡΠΈΡΡΠ΅ΡΡΡ Π΄Π°ΠΆΠ΅ Π² ΠΏΠΎΠ»Π΅Π²ΡΡ ΡΡΠ»ΠΎΠ²ΠΈΡΡ . ΠΠΎΡΠΈΠ½ΠΈΡΡ ΡΡΠ΅ΠΊΠ»ΠΎΠΏΠΎΠ΄ΡΠ΅ΠΌΠ½ΠΈΠΊ ΠΏΡΠΈ Π½Π°Π»ΠΈΡΠΈΠΈ Π·Π°ΠΏΡΠ°ΡΡΠ΅ΠΉ ΠΈ Π½Π΅ΠΎΠ±Ρ ΠΎΠ΄ΠΈΠΌΡΡ ΠΈΠ½ΡΡΡΡΠΌΠ΅Π½ΡΠΎΠ² ΠΌΠΎΠΆΠ½ΠΎ Π±Π΅Π· Π΄ΠΎΠΏΠΎΠ»Π½ΠΈΡΠ΅Π»ΡΠ½ΠΎΠΉ ΠΏΠΎΠΌΠΎΡΠΈ. ΠΠ΅ΠΎΠ±Ρ ΠΎΠ΄ΠΈΠΌΠΎ ΠΏΠΎΡΠ°Π³ΠΎΠ²ΠΎ Π·Π½Π°ΡΡ ΠΎ ΡΠΎΠΌ, ΠΊΠ°ΠΊ ΡΠ±ΡΠ°ΡΡ ΠΈ ΠΏΠΎΡΡΠ°Π²ΠΈΡΡ Π΄Π΅ΡΠ°Π»ΠΈ.
ΠΠ΅Π·Π°Π²ΠΈΡΠΈΠΌΠΎ ΠΎΡ ΡΠΎΠ³ΠΎ, Π·Π°Π΄Π½ΡΡ ΠΈΠ»ΠΈ ΠΏΠ΅ΡΠ΅Π΄Π½ΡΡ Π΄Π²Π΅ΡΡ ΠΏΠΎΡΡΠ΅Π±ΡΠ΅Ρ ΡΠ΅ΠΌΠΎΠ½ΡΠ°, ΠΏΡΠΎΡΠ΅ΡΡ Π·Π°ΠΌΠ΅Π½Ρ Π·Π°ΠΏΡΠ°ΡΡΠ΅ΠΉ ΡΡΠ΅ΠΊΠ»ΠΎΠΏΠΎΠ΄ΡΠ΅ΠΌΠ½ΠΈΠΊΠ° Π±ΡΠ΄Π΅Ρ ΡΡ ΠΎΠΆΠΈΠΌ.
Π‘Π½ΠΈΠΌΠ°Π΅ΠΌ ΡΡΡΠΊΡ ΡΡΠ΅ΠΊΠ»ΠΎΠΏΠΎΠ΄ΡΠ΅ΠΌΠ½ΠΈΠΊΠ°
Π‘ ΠΆΠ΅Π»Π΅Π·Π½ΡΠΌΠΈ ΡΡΠΊΠΎΡΡΡΠΌΠΈ ΠΈ ΡΡΡΠΊΠ°ΠΌΠΈ Π² Π°Π²ΡΠΎΠΌΠΎΠ±ΠΈΠ»ΡΡ
ΡΠΎΠ²Π΅ΡΡΠΊΠΎΠ³ΠΎ ΠΏΡΠΎΠ΅ΠΊΡΠΈΡΠΎΠ²Π°Π½ΠΈΡ ΡΠ»Π΅Π΄ΡΠ΅Ρ ΠΎΠ±ΡΠ°ΡΠ°ΡΡΡΡ ΠΎΡΠΎΠ±Π΅Π½Π½ΠΎ Π°ΠΊΠΊΡΡΠ°ΡΠ½ΠΎ.
Π ΠΏΠ»Π°ΡΡΠΌΠ°ΡΡΠΎΠ²ΡΠ΅ ΡΡΡΠΊΠΈ Π»ΠΎΠΌΠ°ΡΡΡΡ Π΄ΠΎΡΡΠ°ΡΠΎΡΠ½ΠΎ ΡΠ°ΡΡΠΎ, Π½ΠΎ, Π² ΠΏΡΠΎΡΠΈΠ²ΠΎΠ²Π΅Ρ ΡΡΠΎΠΌΡ, ΠΈΡ
Π»Π΅Π³ΠΊΠΎ ΡΠ½ΡΡΡ ΠΈ Π·Π°ΠΌΠ΅Π½ΠΈΡΡ:
- ΠΡΠ²ΠΎΠ±ΠΎΠ΄ΠΈΡΡ ΡΡΡΠΊΡ ΠΎΡ ΡΠΈΠΊΡΠ°ΡΠΎΡΠ° Π² ΡΠΎΡΠΌΠ΅ ΡΡΠΎΠΏΠΎΡΠ½ΠΎΠ³ΠΎ ΠΊΠΎΠ»ΡΡΠ°.
- ΠΠ»ΠΎΡΠΊΠΎΠΉ ΠΎΡΠ²Π΅ΡΡΠΊΠΎΠΉ Π½ΡΠΆΠ½ΠΎ Π°ΠΊΠΊΡΡΠ°ΡΠ½ΠΎ ΠΎΡΠΎΠ΄Π²ΠΈΠ½ΡΡΡ Π½Π°ΡΡΠΆΠ½ΠΎΠ΅ ΠΊΠΎΠ»ΡΡΠΎ, Π° Π·Π°ΡΠ΅ΠΌ Π΄ΠΎΡΡΠ°ΡΡ ΡΡΠΎΠΏΠΎΡΠ½ΠΎΠ΅.
- ΠΠ΅Π΄Π»Π΅Π½Π½ΠΎ Π΄ΠΎΡΡΠ°ΡΡ ΡΡΡΠΊΡ.
Π‘Π½ΠΈΠΌΠ°Π΅ΠΌ ΡΡΠ΅ΠΊΠ»ΠΎΠΏΠΎΠ΄ΡΠ΅ΠΌΠ½ΠΈΠΊ
ΠΠ° ΡΡΠΎΠΌ ΡΡΠ°ΠΏΠ΅ ΠΏΡΠΈΠ΄Π΅ΡΡΡ Π²ΡΠΏΠΎΠ»Π½ΠΈΡΡ Π½Π΅ΠΌΠ½ΠΎΠ³ΠΎ Π±ΠΎΠ»ΡΡΠ΅ Π΄Π΅ΠΉΡΡΠ²ΠΈΠΉ:
- ΠΠΏΡΡΠΊΠ°Π΅ΠΌ ΡΡΠ΅ΠΊΠ»ΠΎ Π΄ΠΎ ΠΊΡΠ°ΠΉΠ½Π΅Π³ΠΎ Π½ΠΈΠΆΠ½Π΅Π³ΠΎ ΠΏΠΎΠ»ΠΎΠΆΠ΅Π½ΠΈΡ. ΠΡΠ»ΠΈ ΡΠΆΠ΅ ΡΠ½ΡΠ»ΠΈ ΡΡΡΠΊΡ, ΡΠ΄Π΅Π»Π°ΡΡ ΡΡΠΎ ΠΌΠΎΠΆΠ½ΠΎ ΠΊΠ»ΡΡΠΎΠΌ.
- ΠΡΠ»ΠΈ Π² Π±ΡΠ΄ΡΡΠ΅ΠΌ Π²Ρ ΡΠΎΠ±ΠΈΡΠ°Π΅ΡΠ΅ΡΡ ΡΡΡΠ°Π½ΠΎΠ²ΠΈΡΡ ΠΏΠΎΠ΄ΡΠ΅ΠΌΠ½ΠΈΠΊ Π½Π° ΠΌΠ΅ΡΡΠΎ, ΡΡΠΎΡΠΈΠΊ ΡΠ»Π΅Π΄ΡΠ΅Ρ ΠΏΡΠΈΠΊΡΡΡΠΈΡΡ ΠΊ Π±Π°ΡΠ°Π±Π°Π½Ρ Ρ ΠΏΠΎΠΌΠΎΡΡΡ ΡΠΎΠ½ΠΊΠΎΠΉ ΠΏΡΠΎΠ²ΠΎΠ»ΠΎΠΊΠΈ. ΠΡΠΈ ΡΡΠΎΠΌ Π΅Π³ΠΎ Π½ΡΠΆΠ½ΠΎ ΠΎΡΡΠ°Π²ΠΈΡΡ Π² Π½Π°ΠΏΡΠ°Π²Π»ΡΡΡΠΈΡ , ΡΡΠΎΠ±Ρ Π² Π±ΡΠ΄ΡΡΠ΅ΠΌ Π½Π΅ ΡΡΠ°ΡΠΈΡΡ Π²ΡΠ΅ΠΌΡ Π½Π° ΡΡΡΠ°Π½ΠΎΠ²ΠΊΡ ΡΡΠΎΡΠΈΠΊΠ° Π² ΠΆΠ΅Π»ΠΎΠ±ΠΊΠΈ. Π Π½ΠΎΠ²ΡΡ ΠΌΠ΅Ρ Π°Π½ΠΈΠ·ΠΌΠ°Ρ ΡΡΡΠ°Π½Π°Π²Π»ΠΈΠ²Π°ΡΡ ΡΡΡΠ°Π½ΠΎΠ²ΠΎΡΠ½ΡΡ ΡΠΊΠΎΠ±ΠΊΡ Π΄Π»Ρ ΡΠΏΡΠΎΡΠ΅Π½ΠΈΡ ΠΊΡΠ΅ΠΏΠ΅ΠΆΠ°.
- ΠΡΠ»Π°Π±Π»ΡΠ΅ΠΌ Π·Π°ΡΡΠΆΠΊΡ Π±ΠΎΠ»ΡΠ°, ΠΊΠΎΡΠΎΡΡΠΉ ΠΏΡΠΈΠ΄Π΅ΡΠΆΠΈΠ²Π°Π΅Ρ Π½ΠΈΠΆΠ½ΠΈΠΉ ΡΠΎΠ»ΠΈΠΊ.
- ΠΠ΅ΡΠ΅ΠΌΠ΅ΡΠ°Π΅ΠΌ Π½ΠΈΠΆΠ½ΠΈΠΉ ΡΠΎΠ»ΠΈΠΊ ΡΡΡΡ Π²ΡΡΠ΅, ΡΡΠΎΠ±Ρ ΠΏΠΎΡΡΠ΅ΠΏΠ΅Π½Π½ΠΎ ΠΎΡΠ»Π°Π±ΠΈΡΡ Π½Π°ΡΡΠΆΠ΅Π½ΠΈΠ΅ ΡΡΠΎΡΠ°.
- Π‘Π½ΠΈΠΌΠ°Π΅ΠΌ ΡΡΠΎΡ, ΠΎΡΡΠ°Π²ΠΈΠ² Π΅Π³ΠΎ Π²ΠΈΡΠ΅ΡΡ Π²ΡΠ΅Π³ΠΎ Π½Π° ΠΎΠ΄Π½ΠΎΠΌ ΡΠΎΠ»ΠΈΠΊΠ΅.

- ΠΡΠΊΡΡΡΠΈΠ²Π°Π΅ΠΌ Π²ΠΈΠ½ΡΡ, ΠΊΠΎΡΠΎΡΡΠ΅ ΠΊΡΠ΅ΠΏΡΡ ΡΡΠ΅ΠΊΠ»ΠΎΠΏΠΎΠ΄ΡΠ΅ΠΌΠ½ΠΈΠΊ ΠΊ ΠΌΠ΅ΡΠ°Π»Π»ΠΈΡΠ΅ΡΠΊΠΎΠΉ ΠΏΠ»Π°ΡΡΠΈΠ½Π΅ Π² Π΄Π²Π΅ΡΠΈ.
- ΠΠΎΡΡΠ°Π΅ΠΌ ΠΌΠ΅Ρ Π°Π½ΠΈΠ·ΠΌ.
Π£ΡΡΠ°Π½Π°Π²Π»ΠΈΠ²Π°Π΅ΠΌ Π½ΠΎΠ²ΡΠΉ ΠΌΠ΅Ρ Π°Π½ΠΈΠ·ΠΌ
ΠΡΠΈΠΎΠ±ΡΠ΅ΡΠ°Ρ Π½ΠΎΠ²ΡΠΉ ΠΌΠ΅Ρ Π°Π½ΠΈΠ·ΠΌ Π½Π° Π·Π°ΠΌΠ΅Π½Ρ, ΠΏΡΠΎΠ²Π΅ΡΡΡΠ΅ Π΅Π³ΠΎ ΠΊΠ°ΡΠ΅ΡΡΠ²ΠΎ ΠΏΠ΅ΡΠ΅Π΄ ΡΡΡΠ°Π½ΠΎΠ²ΠΊΠΎΠΉ. ΠΠΎΡΠ»Π΅ ΡΠΎΠ³ΠΎ Π² ΠΌΠ΅Ρ Π°Π½ΠΈΠ·ΠΌΠ΅ Π±ΡΠ΄ΡΡ Π·Π°ΠΌΠ΅Π½Π΅Π½Ρ Π²ΡΠ΅ Π΄Π΅ΡΠ°Π»ΠΈ, ΠΈΡ Π½Π΅ΠΎΠ±Ρ ΠΎΠ΄ΠΈΠΌΠΎ ΡΠΌΠ°Π·Π°ΡΡ ΠΈ ΠΏΠΎΡΡΠ°Π²ΠΈΡΡ ΠΎΠ±ΡΠ°ΡΠ½ΠΎ Π² Π½Π΅ΡΠΊΠΎΠ»ΡΠΊΠΎ Π΄Π΅ΠΉΡΡΠ²ΠΈΠΉ:
- Π‘ΡΠ°Π²ΠΈΠΌ ΠΌΠ΅Ρ Π°Π½ΠΈΠ·ΠΌ ΠΈ ΡΠΈΠΊΡΠΈΡΡΠ΅ΠΌ Π΅Π³ΠΎ, Π·Π°ΡΡΠ³ΠΈΠ²Π°Ρ ΡΡΠΈ ΡΡΠ°ΡΠ½ΡΠ΅ Π³Π°ΠΉΠΊΠΈ;
- ΠΠ°ΠΊΠΈΠ΄ΡΠ²Π°Π΅ΠΌ ΡΡΠΎΡ Π½Π° ΡΠΎΠ»ΠΈΠΊΠΈ ΠΈ ΡΠΎΠ»ΡΠΊΠΎ ΠΏΠΎΡΠ»Π΅ ΡΡΠΎΠ³ΠΎ ΡΠ±ΠΈΡΠ°Π΅ΠΌ ΠΏΡΠΎΠ²ΠΎΠ»ΠΎΠΊΡ;
- ΠΠ°ΡΡΡΠ°ΠΈΠ²Π°Π΅ΠΌ ΡΡΠ΅ΠΏΠ΅Π½Ρ Π½Π°ΡΡΠΆΠ΅Π½ΠΈΡ ΡΡΠΎΡΠΈΠΊΠ° Ρ ΠΏΠΎΠΌΠΎΡΡΡ Π½ΠΈΠΆΠ½Π΅Π³ΠΎ ΡΠΎΠ»ΠΈΠΊΠ°, Π° Π·Π°ΡΠ΅ΠΌ Π·Π°ΡΡΠ½ΠΈΡΠ΅ Π³Π°ΠΉΠΊΡ;
- ΠΡΠΎΠ²Π΅ΡΡΡΠ΅ ΡΡΠ΅ΠΊΠ»ΠΎΠΏΠΎΠ΄ΡΠ΅ΠΌΠ½ΠΈΠΊ Π½Π° ΡΠ°Π±ΠΎΡΠΎΡΠΏΠΎΡΠΎΠ±Π½ΠΎΡΡΡ. ΠΡΠ»ΠΈ ΡΡΠ΅ΠΊΠ»ΠΎ Π΄Π²ΠΈΠ³Π°Π΅ΡΡΡ ΡΡΠ³ΠΎ, Π½Π°ΡΡΠΆΠ΅Π½ΠΈΠ΅ ΡΠ»Π΅Π΄ΡΠ΅Ρ ΠΎΡΠ»Π°Π±ΠΈΡΡ;
- ΠΡΠΎΠ²Π΅ΡΡΠ΅ΠΌ, ΠΏΠΎΠ΄Π½ΠΈΠΌΠ°Π΅ΡΡΡ Π»ΠΈ ΡΡΠ΅ΠΊΠ»ΠΎ Π΄ΠΎ ΠΊΠΎΠ½ΡΠ°;
- Π£ΡΡΠ°Π½Π°Π²Π»ΠΈΠ²Π°Π΅ΠΌ Π΄Π²Π΅ΡΠ½ΡΡ ΠΊΠ°ΡΡΡ;
- Π‘ΡΠ°Π²ΠΈΠΌ Π½Π° ΠΌΠ΅ΡΡΠΎ ΡΡΡΠΊΡ Π΄Π²Π΅ΡΠΈ, Π° Π·Π°ΡΠ΅ΠΌ β ΡΡΡΠΊΡ ΡΡΠ΅ΠΊΠ»ΠΎΠΏΠΎΠ΄ΡΠ΅ΠΌΠ½ΠΈΠΊΠ°.
ΠΠ°ΠΌΠ΅Π½Π° ΡΡΠΎΡΠΈΠΊΠ°
ΠΠ»Ρ ΡΠΎΠ³ΠΎ ΡΡΠΎΠ±Ρ Π²ΡΠΏΠΎΠ»Π½ΠΈΡΡ Π·Π°ΠΌΠ΅Π½Ρ ΡΡΠΎΡΠΈΠΊΠ° Π² ΡΠ»ΡΡΠ°Π΅, Π΅ΡΠ»ΠΈ ΠΎΠ½ ΡΠ°Π·ΠΎΡΠ²Π΅ΡΡΡ, Π½Π΅ΠΎΠ±Ρ ΠΎΠ΄ΠΈΠΌΠΎ ΡΠ»Π΅Π΄ΠΎΠ²Π°ΡΡ ΠΊΠΎΡΠΎΡΠΊΠΎΠΉ ΠΈΠ½ΡΡΡΡΠΊΡΠΈΠΈ:
- Π‘Π½ΠΈΠΌΠΈΡΠ΅ Π΄Π²Π΅ΡΠ½ΡΡ ΠΊΠ°ΡΡΡ, Π° Π·Π°ΡΠ΅ΠΌ Π΄ΠΎΡΡΠ°Π½ΡΡΠ΅ ΡΡΠΎΡ ΠΈΠ· Π½Π°ΠΏΡΠ°Π²Π»ΡΡΡΠΈΡ
.

- ΠΠ±ΠΈΠ»ΡΠ½ΠΎ ΠΏΠΎΠ»Π΅ΠΉΡΠ΅ ΡΠΌΠ°Π·ΠΊΠΎΠΉ ΡΡΠΎΡ ΠΏΠ΅ΡΠ΅Π΄ ΡΠ΅ΠΌ, ΠΊΠ°ΠΊ ΡΡΡΠ°Π½Π°Π²Π»ΠΈΠ²Π°ΡΡ Π΅Π³ΠΎ.
- Π‘Π½Π°ΡΠ°Π»Π° ΠΏΡΠΎΡΡΠ½ΡΡΡ ΡΡΠΎΡ ΠΏΠΎ Π²Π΅ΡΡ Π½Π΅ΠΌΡ ΡΠΎΠ»ΠΈΠΊΡ Π½ΠΈΠΆΠ½Π΅ΠΉ Π²Π΅ΡΠ²ΡΡ, Π° Π²Π΅ΡΡ Π½ΡΡ Π²Π΅ΡΠ²Ρ ΠΏΠΎΠ΄Π²Π΅ΡΡΠΈ ΠΊ Π½ΠΈΠΆΠ½Π΅ΠΌΡ ΡΠΎΠ»ΠΈΠΊΡ.
- Π Π²Π΅ΡΡ Π½Π΅ΠΉ ΡΠ°ΡΡΠΈ ΡΡΠΎΡΠ° ΡΠ²Π΅ΡΠ½ΡΡΡ Π½Π΅Π±ΠΎΠ»ΡΡΡΡ ΠΏΠ΅ΡΠ»Ρ ΠΈ ΠΏΡΠΈΡΡΠ½ΡΡΡ Π΅Π΅ ΠΊ ΡΠΊΡΡΡΠΎΠΌΡ ΡΠΎΠ»ΠΈΠΊΡ ΠΈ Π² Π½Π΅ΡΠΊΠΎΠ»ΡΠΊΠΎ Π΄Π²ΠΈΠΆΠ΅Π½ΠΈΠΉ Π·Π°ΠΊΡΠ΅ΠΏΠΈΡΡ Π΅Π³ΠΎ.
- ΠΠΎΡΠ»Π΅ ΡΠΎΠ³ΠΎ, ΠΊΠ°ΠΊ ΡΡΠΎΡΠΈΠΊ Π±ΡΠ΄Π΅Ρ Π·Π°ΠΊΡΠ΅ΠΏΠ»Π΅Π½ Π½Π° Π²ΡΠ΅Ρ ΡΠΎΠ»ΠΈΠΊΠ°Ρ , ΠΏΡΠΎΠ²Π΅ΡΡΡΠ΅, ΠΊΠ°ΠΊ ΡΠ°Π±ΠΎΡΠ°Π΅Ρ ΡΡΠ΅ΠΊΠ»ΠΎΠΏΠΎΠ΄ΡΠ΅ΠΌΠ½ΠΈΠΊ.
Π£ΡΡΠ°Π½ΠΎΠ²ΠΊΠ° Π²ΡΠΏΠΎΠ»Π½Π΅Π½Π°.
ΠΠ°ΠΌΠ΅Π½Π° ΡΠΎΠ»ΠΈΠΊΠΎΠ²
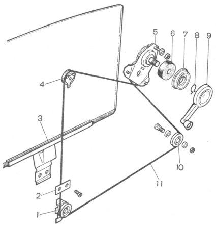
Π ΡΡΠ΅ΠΊΠ»ΠΎΠΏΠΎΠ΄ΡΠ΅ΠΌΠ½ΠΈΠΊΠ°Ρ ΡΠ΅ΠΌΠ΅ΡΠΊΠΈ ΡΡΡΠ°Π½ΠΎΠ²Π»Π΅Π½ΠΎ ΡΠ΅ΡΡΡΠ΅ ΡΠΎΠ»ΠΈΠΊΠ°:
- ΠΠ΅ΡΠ²ΡΠΉ β ΡΠΎΠ»ΠΈΠΊ Π½Π°ΡΡΠΆΠ½ΠΎΠ³ΠΎ ΡΠΈΠΏΠ°. ΠΠ½ ΠΏΠΎΠ΄Π΄Π΅ΡΠΆΠΈΠ²Π°Π΅Ρ ΡΡΠΎΡ Π² ΠΎΠΏΡΠ΅Π΄Π΅Π»Π΅Π½Π½ΠΎΠΌ ΡΠΎΡΡΠΎΡΠ½ΠΈΠΈ Π½Π°ΡΡΠΆΠ΅Π½ΠΈΡ, Π½ΠΎ ΡΠΎ Π²ΡΠ΅ΠΌΠ΅Π½Π΅ΠΌ Β«ΡΠ°ΡΡΠ»Π°Π±Π»ΡΠ΅ΡΡΡΒ»;
- ΠΡΠΎΡΠΎΠΉ ΠΈ ΡΡΠ΅ΡΠΈΠΉ β Π·Π°ΠΊΡΠ΅ΠΏΠ»Π΅Π½Ρ Π½Π° ΡΡΠ΅ΠΊΠ»Π΅. ΠΠ΅Π²ΡΠΉ ΠΈ ΠΏΡΠ°Π²ΡΠΉ ΡΠΎΠ»ΠΈΠΊΠΈ ΠΏΠ΅ΡΠ΅Π΄Π°ΡΡ ΠΏΠΎΠ΄ΡΠ΅ΠΌΠ½ΡΠΉ ΠΌΠΎΠΌΠ΅Π½Ρ ΠΏΡΠΈ ΡΠΏΡΠ°Π²Π»Π΅Π½ΠΈΠΈ Π΄Π²ΠΈΠΆΠ΅Π½ΠΈΡΠΌΠΈ ΡΡΠΎΡΠ°;
- Π§Π΅ΡΠ²Π΅ΡΡΡΠΉ β Π·Π°ΠΊΡΠ΅ΠΏΠ»Π΅Π½ Π½Π° Π΄Π²Π΅ΡΠΈ ΠΈ ΡΠ²Π»ΡΠ΅ΡΡΡ Π½Π΅ΠΏΠΎΠ΄Π²ΠΈΠΆΠ½ΡΠΌ. ΠΠ½ ΠΏΡΠΈΠ½ΠΈΠΌΠ°Π΅Ρ ΠΏΠΎΠ΄ΡΠ΅ΠΌΠ½ΠΎΠ΅ ΡΡΠΈΠ»ΠΈΠ΅.
ΠΠ»Ρ ΡΠΎΠ³ΠΎ ΡΡΠΎΠ±Ρ Π΄Π΅ΠΌΠΎΠ½ΡΠΈΡΠΎΠ²Π°ΡΡ ΡΠΎΠ»ΠΈΠΊΠΈ, Π½Π΅ΠΎΠ±Ρ
ΠΎΠ΄ΠΈΠΌΠΎ ΡΠ½ΡΡΡ Π΄Π²Π΅ΡΠ½ΡΡ ΠΊΠ°ΡΡΡ ΠΈ ΠΏΡΠΎΡΡΠΎ ΠΎΡΠΊΡΡΡΠΈΡΡ Π³Π°ΠΉΠΊΠΈ ΠΈΡ
ΠΊΡΠ΅ΠΏΠ΅ΠΆΠ΅ΠΉ.
Π£ΡΡΠ°Π½Π°Π²Π»ΠΈΠ²Π°ΡΡ ΠΈΡ
Π½ΡΠΆΠ½ΠΎ ΡΠ°ΠΊΠΆΠ΅ Π°ΠΊΠΊΡΡΠ°ΡΠ½ΠΎ. ΠΠΎΡΠ»Π΅ ΡΠΎΠ³ΠΎ ΠΊΠ°ΠΊ Π±ΡΠ΄ΡΡ ΡΡΡΠ°Π½ΠΎΠ²Π»Π΅Π½Ρ Π½ΠΎΠ²ΡΠ΅ Π΄Π΅ΡΠ°Π»ΠΈ, ΠΊΠΎΠ½ΡΡΡΡΠΊΡΠΈΡ Π½Π΅ΠΎΠ±Ρ
ΠΎΠ΄ΠΈΠΌΠΎ ΡΠΎΠ±ΡΠ°ΡΡ Π²Π½ΠΎΠ²Ρ.
ΠΠΈΠ΄Π΅ΠΎ Π·Π°ΠΌΠ΅Π½Π° ΡΡΠ΅ΠΊΠ»ΠΎΠΏΠΎΠ΄ΡΠ΅ΠΌΠ½ΠΈΠΊΠ° Π½Π° ΠΠΠ 2107
ΠΠ°ΠΌΠ΅Π½Π° ΡΡΠ΅ΠΊΠ»ΠΎΠΏΠΎΠ΄ΡΠ΅ΠΌΠ½ΠΈΠΊΠ° Π½Π° ΠΠΠ-2107 ΡΠ²ΠΎΠΈΠΌΠΈ ΡΡΠΊΠ°ΠΌΠΈ: ΠΏΠΎΡΠ°Π³ΠΎΠ²Π°Ρ Π²ΠΈΠ΄Π΅ΠΎΠΈΠ½ΡΡΡΡΠΊΡΠΈΡ
Π‘ΡΠ΅ΠΊΠ»ΠΎΠΏΠΎΠ΄ΡΠ΅ΠΌΠ½ΠΈΠΊΠΈ Π² Π»ΡΠ±ΠΎΠΉ ΠΌΠ°ΡΠΈΠ½Π΅ Π΄ΠΎΠ»ΠΆΠ½Ρ Π½Π°Ρ
ΠΎΠ΄ΠΈΡΡΡΡ Π² ΠΈΡΠΏΡΠ°Π²Π½ΠΎΠΌ ΡΠΎΡΡΠΎΡΠ½ΠΈΠΈ, Π΄Π°ΠΆΠ΅ Π΅ΡΠ»ΠΈ ΠΎΠ½ΠΈ ΠΈΡΠΏΠΎΠ»ΡΠ·ΡΡΡΡΡ ΠΎΡΠ΅Π½Ρ ΡΠ΅Π΄ΠΊΠΎ. Π‘ Π·Π°Π²ΠΎΠ΄Π° Π½Π° ΠΠΠ-2107 ΡΡΡΠ°Π½Π°Π²Π»ΠΈΠ²Π°ΡΡΡΡ ΡΡΠΎΡΠΎΠ²ΡΠ΅ ΠΏΠΎΠ΄ΡΠ΅ΠΌΠ½ΠΈΠΊΠΈ, ΠΊΠΎΡΠΎΡΡΠ΅ ΠΏΡΠΈΠ²ΠΎΠ΄ΡΡΡΡ Π² Π΄Π΅ΠΉΡΡΠ²ΠΈΠ΅ Π²ΡΡΡΠ½ΡΡ.
ΠΡΠ»ΠΈ ΠΆΠ΅ Π½Π° ΠΌΠ°ΡΠΈΠ½Π΅ ΡΡΡΠ°Π½ΠΎΠ²Π»Π΅Π½ ΡΠ»Π΅ΠΊΡΡΠΎΠΏΡΠΈΠ²ΠΎΠ΄, ΡΡΠΎ ΡΠΆΠ΅ Π³ΠΎΠ²ΠΎΡΠΈΡ ΠΎ ΡΠΎΠΌ, ΡΡΠΎ Π±ΡΠ»Π° ΠΏΡΠΎΠΈΠ·Π²Π΅Π΄Π΅Π½Π° Π΄ΠΎΡΠ°Π±ΠΎΡΠΊΠ° Π°Π²ΡΠΎΠ²Π»Π°Π΄Π΅Π»ΡΡΠ΅ΠΌ. Π Π΄Π°Π½Π½ΠΎΠΉ ΡΡΠ°ΡΡΠ΅ ΠΌΡ ΡΠ°ΡΡΠΌΠΎΡΡΠΈΠΌ Π²ΠΎΠΏΡΠΎΡ ΠΎ ΡΠΎΠΌ, ΠΊΠ°ΠΊ Π·Π°ΠΌΠ΅Π½ΠΈΡΡ ΡΡΠ΅ΠΊΠ»ΠΎΠΏΠΎΠ΄ΡΠ΅ΠΌΠ½ΠΈΠΊ Π½Π° Β«ΡΠ΅ΠΌΠ΅ΡΠΊΠ΅Β» ΡΠ°ΠΌΠΎΡΡΠΎΡΡΠ΅Π»ΡΠ½ΠΎ.
ΠΡΠΎΠ±Π΅Π½Π½ΠΎΡΡΠΈ ΠΊΠΎΠ½ΡΡΡΡΠΊΡΠΈΠΈ
ΠΠΎΠ»ΡΡΠΈΠ½ΡΡΠ²ΠΎ Π²Π»Π°Π΄Π΅Π»ΡΡΠ΅Π² ΡΠ΅Π΄ΡΠΌΠΎΠΉ ΠΌΠΎΠ΄Π΅Π»ΠΈ Π½ΠΎΠ²ΠΎΠ³ΠΎ ΠΏΠΎΠΊΠΎΠ»Π΅Π½ΠΈΡ ΡΠ²Π΅ΡΠ΅Π½Ρ Π² ΡΠΎΠΌ, ΡΡΠΎ ΠΏΡΠΎΡΠ΅ΡΡ Π·Π°ΠΌΠ΅Π½Ρ ΡΡΠ΅ΠΊΠ»ΠΎΠΏΠΎΠ΄ΡΠ΅ΠΌΠ½ΠΈΠΊΠ° Π½Π΅ΡΠΊΠΎΠ»ΡΠΊΠΎ ΡΡΠ»ΠΎΠΆΠ½Π΅Π½. ΠΡΠ΅ ΠΏΠΎΡΠΎΠΌΡ, ΡΡΠΎ ΡΡΠ΅ΠΊΠ»ΠΎ ΡΠΎΠ΅Π΄ΠΈΠ½Π΅Π½ΠΎ Ρ ΠΎΠΏΠΎΡΠ°ΠΌΠΈ ΠΈ ΡΡΠΎΡΠΈΠΊΠΎΠΌ Π½Π΅ Π² ΠΎΠ΄Π½ΠΎΠΌ, Π° 2-Ρ ΠΌΠ΅ΡΡΠ°Ρ . Π’Π°ΠΊΠΎΠ΅ ΡΠ΅ΡΠ΅Π½ΠΈΠ΅ ΠΏΠΎΡΡΠ΅Π±ΠΎΠ²Π°Π»ΠΎ Π΄ΠΎΠ±Π°Π²ΠΈΡΡ Π΅ΡΠ΅ ΠΎΠ΄ΠΈΠ½ ΡΠΎΠ»ΠΈΠΊ. Π’Π΅ΠΏΠ΅ΡΡ ΠΈΡ ΠΈΡΠΏΠΎΠ»ΡΠ·ΡΠ΅ΡΡΡ 4 ΡΡΡΠΊΠΈ (ΡΡΠΈ β Π΄Π»Ρ Π½Π°ΠΏΡΠ°Π²Π»Π΅Π½ΠΈΡ, ΠΎΠ΄ΠΈΠ½ β Π΄Π»Ρ Π½Π°ΡΡΠΆΠ΅Π½ΠΈΡ).
ΠΡΠΎΠΈΠ·Π²Π΅ΡΡΠΈ Π·Π°ΠΌΠ΅Π½Ρ ΡΠ°ΠΌΠΎΡΡΠΎΡΡΠ΅Π»ΡΠ½ΠΎ Π²ΠΏΠΎΠ»Π½Π΅ Π²ΠΎΠ·ΠΌΠΎΠΆΠ½ΠΎ ΠΏΡΠΈ Π½Π°Π»ΠΈΡΠΈΠΈ ΠΏΡΠΎΡΡΡΡ ΠΈΠ½ΡΡΡΡΠΌΠ΅Π½ΡΠΎΠ²:
- ΠΠ»ΡΡΠΈ (8, 10).
ΠΡΠ΅ΡΡΠΎΠΎΠ±ΡΠ°Π·Π½Π°Ρ ΠΎΡΠ²Π΅ΡΡΠΊΠ°.
ΠΠΎΡΠ°Π³ΠΎΠ²Π°Ρ ΠΏΠΎΡΠ»Π΅Π΄ΠΎΠ²Π°ΡΠ΅Π»ΡΠ½ΠΎΡΡΡ Π·Π°ΠΌΠ΅Π½Ρ Π½Π° ΠΏΠ΅ΡΠ΅Π΄Π½Π΅ΠΉ Π΄Π²Π΅ΡΠΈ
Π§ΡΠΎΠ±Ρ ΡΡΡΠ°Π½ΠΎΠ²ΠΈΡΡ Π½ΠΎΠ²ΡΠΉ ΡΡΠ΅ΠΊΠ»ΠΎΠΏΠΎΠ΄ΡΠ΅ΠΌΠ½ΠΈΠΊ, ΠΏΡΠ΅Π΄Π²Π°ΡΠΈΡΠ΅Π»ΡΠ½ΠΎ Π½Π΅ΠΎΠ±Ρ ΠΎΠ΄ΠΈΠΌΠΎ Π΄Π΅ΠΌΠΎΠ½ΡΠΈΡΠΎΠ²Π°ΡΡ ΡΡΠ°ΡΡΠΉ ΠΌΠ΅Ρ Π°Π½ΠΈΠ·ΠΌ.
ΠΠΎΠ΄Π³ΠΎΡΠΎΠ²ΠΈΡΠ΅Π»ΡΠ½ΡΠ΅ ΡΠ°Π±ΠΎΡΡ:
- ΠΡΠΊΡΡΡΠΈΡΠ΅ ΡΡΠΈ Π±ΠΎΠ»ΡΠ°, ΠΊΠΎΡΠΎΡΡΠ΅ ΡΠΈΠΊΡΠΈΡΡΡΡ ΡΡΡΠΊΡ ΠΊ Π΄Π²Π΅ΡΠΈ.

- ΠΠ΅ΠΌΠΎΠ½ΡΠΈΡΡΠΉΡΠ΅ ΡΡΡΠΊΡ.
- Π‘Π½ΠΈΠΌΠΈΡΠ΅ ΠΎΠ±ΡΠΈΠ²ΠΊΡ Ρ Π΄Π²Π΅ΡΠΈ.
ΠΠ΅ΡΠ΅Π΄ Π΄Π΅ΠΌΠΎΠ½ΡΠ°ΠΆΠ΅ΠΌ Π·Π°Π²ΠΎΠ΄ΡΠΊΠΎΠ³ΠΎ ΠΏΠΎΠ΄ΡΠ΅ΠΌΠ½ΠΈΠΊΠ° ΠΎΠ±Π²ΡΠΆΠΈΡΠ΅ Π΄Π²Π΅ Π²Π΅ΡΠ²ΠΈ ΡΡΠΎΡΠ° ΠΏΡΠΎΠ²ΠΎΠ»ΠΎΠΊΠΎΠΉ.
ΠΡΠΎ Π½ΡΠΆΠ½ΠΎ Π΄Π»Ρ ΡΠΎΠ³ΠΎ, ΡΡΠΎΠ±Ρ ΡΡΠΎΡΠΈΠΊ Π½Π΅ Π²ΡΠ»Π΅ΡΠ΅Π» Ρ ΠΏΠ°Π·ΠΎΠ² Π² Π±Π°ΡΠ°Π±Π°Π½Π΅, ΠΈ ΠΌΠ΅Ρ Π°Π½ΠΈΠ·ΠΌ ΠΌΠΎΠΆΠ½ΠΎ Π±ΡΠ»ΠΎ ΠΏΡΠΈΠΌΠ΅Π½ΠΈΡΡ ΠΏΠΎΠ²ΡΠΎΡΠ½ΠΎ.
Π‘Π½ΡΡΠΈΠ΅ ΠΊΠΎΠ½ΡΡΡΡΠΊΡΠΈΠΈ Π²ΡΠΏΠΎΠ»Π½ΡΠ΅ΡΡΡ ΡΠ»Π΅Π΄ΡΡΡΠΈΠΌ ΠΎΠ±ΡΠ°Π·ΠΎΠΌ:
- Π‘ΠΏΡΡΡΠΈΡΠ΅ ΡΡΠ΅ΠΊΠ»ΠΎ Π² ΠΏΡΠ΅Π΄Π΅Π»Π°Ρ ΠΎΠ΄Π½ΠΎΠ³ΠΎ ΠΎΠ±ΠΎΡΠΎΡΠ° ΡΡΠΊΠΎΡΡΠΊΠΈ ΠΏΠΎΠ΄ΡΠ΅ΠΌΠ½ΠΈΠΊΠ° ΡΡΠ΅ΠΊΠ»Π°, ΡΡΠΎΠ±Ρ ΡΠ΅ΡΠ΅Π· ΡΠ΅Ρ Π½ΠΎΠ»ΠΎΠ³ΠΈΡΠ΅ΡΠΊΠΈΠ΅ Π΄Π²Π΅ΡΠ½ΡΠ΅ ΠΏΡΠΎΠ΅ΠΌΡ ΠΌΠΎΠΆΠ½ΠΎ Π±ΡΠ»ΠΎ Π΄ΠΎΠ±ΡΠ°ΡΡΡΡ Π΄ΠΎ ΡΠΈΠΊΡΠ°ΡΠΎΡΠ° ΡΡΠΎΡΠ° ΠΈ ΠΊ ΠΎΠΏΠΎΡΠ°ΠΌ ΡΡΠ΅ΠΊΠ»Π°.
- ΠΠ΄ΠΈΠ½ ΡΠΈΠΊΡΠΈΡΡΡΡΠΈΠΉ Π²ΠΈΠ½Ρ Π½ΡΠΆΠ½ΠΎ Π²ΡΠΊΡΡΡΠΈΡΡ ΠΏΠΎΠ»Π½ΠΎΡΡΡΡ, Π° Π΄ΡΡΠ³ΠΎΠΉ Π½Π΅ΠΌΠ½ΠΎΠ³ΠΎ ΠΎΡΠ»Π°Π±ΠΈΡΡ Ρ ΡΠΊΠΎΠ±Ρ ΠΊΡΠ΅ΠΏΠ»Π΅Π½ΠΈΡ ΡΡΠΎΡΠΈΠΊΠ° ΠΊ Π½Π΅ΡΡΡΠ΅ΠΌΡ Π²ΡΡΡΡΠΏΡ. ΠΡΠ²Π΅Π΄ΠΈΡΠ΅ Π΅Π³ΠΎ.
- ΠΠΎΠ΄Π½ΠΈΠΌΠΈΡΠ΅ ΡΡΠ΅ΠΊΠ»ΠΎ Π² ΠΊΡΠ°ΠΉΠ½Π΅Π΅ Π²Π΅ΡΡ Π½Π΅Π΅ ΠΏΠΎΠ»ΠΎΠΆΠ΅Π½ΠΈΠ΅ ΠΈ Π·Π°ΠΊΡΠ΅ΠΏΠΈΡΠ΅ Π΅Π³ΠΎ ΠΏΡΠΈ ΠΏΠΎΠΌΠΎΡΠΈ ΠΎΠ±ΡΡΠ½ΠΎΠΉ ΠΎΡΠ²Π΅ΡΡΠΊΠΈ. ΠΠ»Ρ ΡΡΠΎΠ³ΠΎ ΠΌΠΎΠΆΠ½ΠΎ ΠΈΡΠΏΠΎΠ»ΡΠ·ΠΎΠ²Π°ΡΡ ΠΈ Π΄ΡΡΠ³ΠΈΠ΅ ΠΏΠΎΠ΄ΡΡΡΠ½ΡΠ΅ ΡΡΠ΅Π΄ΡΡΠ²Π°.
- ΠΠΎΠ·ΡΠΌΠΈΡΠ΅ ΠΊΠ»ΡΡ Π½Π° 10 ΠΈ Π½Π΅ΠΌΠ½ΠΎΠ³ΠΎ ΠΎΡΠ»Π°Π±ΡΡΠ΅ Π³Π°ΠΉΠΊΡ, ΠΊΠΎΡΠΎΡΠ°Ρ ΠΊΡΠ΅ΠΏΠΈΡ Π½Π°ΡΡΠΆΠ½ΠΎΠΉ ΡΠΎΠ»ΠΈΠΊ. ΠΠ½ Π½Π°Ρ ΠΎΠ΄ΠΈΡΡΡ ΠΏΠΎ ΡΠ΅Π½ΡΡΡ ΡΠ½ΠΈΠ·Ρ Π΄Π²Π΅ΡΠΈ.
- Π£Π±Π΅ΡΠΈΡΠ΅ ΡΡΠΎΡ Ρ Π½Π°ΡΡΠΆΠ½ΠΎΠ³ΠΎ ΠΈ ΡΡΠ΅Ρ
Π½Π°ΠΏΡΠ°Π²Π»ΡΡΡΠΈΡ
ΠΊΠ°ΡΡΡΠ΅ΠΊ.

- ΠΡΠΊΡΡΡΠΈΡΠ΅ ΡΡΠΈ Π³Π°ΠΉΠΊΠΈ, ΠΊΠΎΡΠΎΡΡΠ΅ ΠΊΡΠ΅ΠΏΡΡ ΡΡΡΡΠΎΠΉΡΡΠ²ΠΎ ΡΡΠ΅ΠΊΠ»ΠΎΠΏΠΎΠ΄ΡΠ΅ΠΌΠ½ΠΈΠΊΠ° ΠΊ Π΄Π²Π΅ΡΠΈ.
- ΠΡΠΊΡΡΡΠΈΡΠ΅ 2 Π³Π°ΠΉΠΊΠΈ, ΡΠΈΠΊΡΠΈΡΡΡΡΠΈΠ΅ Π½Π°ΠΏΡΠ°Π²Π»ΡΡΡΠΈΠΉ ΠΆΠ΅Π»ΠΎΠ±ΠΎΠΊ ΠΈ ΠΎΡΠΎΠ΄Π²ΠΈΠ½ΡΡΠ΅ Π΅Π³ΠΎ Π²ΠΏΡΠ°Π²ΠΎ.
- ΠΠ°Π²Π΅ΡΡΠ°ΡΡΠΈΠΌ ΡΡΠ°ΠΏΠΎΠΌ ΠΈΠ΄Π΅Ρ Π΄Π΅ΠΌΠΎΠ½ΡΠ°ΠΆ ΡΡΠ΅ΠΊΠ»ΠΎΠΏΠΎΠ΄ΡΠ΅ΠΌΠ½ΠΈΠΊΠ° ΠΈΠ· Π΄Π²Π΅ΡΠΈ.
ΠΠΎΡΠ»Π΅ ΡΠΎΠ³ΠΎ, ΠΊΠ°ΠΊ ΠΌΠ΅Ρ Π°Π½ΠΈΠ·ΠΌ ΡΠ½ΡΡ, ΠΌΠΎΠΆΠ½ΠΎ ΠΏΡΠΎΠ²Π΅ΡΠΈΡΡ, ΠΊΠ°ΠΊ Π²ΡΠ°ΡΠ°ΡΡΡΡ ΡΠΎΠ»ΠΈΠΊΠΈ.
Π£ΡΡΠ°Π½ΠΎΠ²ΠΊΠ° Π½ΠΎΠ²ΠΎΠ³ΠΎ ΡΡΠ΅ΠΊΠ»ΠΎΠΏΠΎΠ΄ΡΠ΅ΠΌΠ½ΠΈΠΊΠ°
ΠΠΎΠ²ΡΠΉ ΠΌΠ΅Ρ Π°Π½ΠΈΠ·ΠΌ Π΄ΠΎΠ»ΠΆΠ΅Π½ Π² ΠΎΠ±ΡΠ·Π°ΡΠ΅Π»ΡΠ½ΠΎΠΌ ΠΏΠΎΡΡΠ΄ΠΊΠ΅ ΠΎΠ±Π»Π°Π΄Π°ΡΡ ΡΠΊΠΎΠ±ΠΎΠΉ, ΠΊΠΎΡΠΎΡΠ°Ρ ΡΠΈΠΊΡΠΈΡΡΠ΅Ρ Π΄Π²Π΅ Π²Π΅ΡΠΊΠΈ ΡΡΠΎΡΠΈΠΊΠΎΠ². ΠΠ΅ Π½Π΅Π»ΡΠ·Ρ ΡΠ½ΠΈΠΌΠ°ΡΡ Π΄ΠΎ ΡΠΎΠ³ΠΎ ΠΌΠΎΠΌΠ΅Π½ΡΠ°, ΠΏΠΎΠΊΠ° Π½Π΅ Π±ΡΠ΄Π΅Ρ ΠΏΡΠΎΠΈΠ·Π²Π΅Π΄Π΅Π½Π° ΠΏΠΎΠ»Π½ΠΎΡΠ΅Π½Π½Π°Ρ ΡΡΡΠ°Π½ΠΎΠ²ΠΊΠ°.
Π ΡΠ΅Π»ΠΎΠΌ ΠΏΡΠΎΡΠ΅ΡΡ ΠΌΠΎΠ½ΡΠ°ΠΆΠ° Π²ΡΠ³Π»ΡΠ΄ΠΈΡ ΡΠ»Π΅Π΄ΡΡΡΠΈΠΌ ΠΎΠ±ΡΠ°Π·ΠΎΠΌ:
- Π£ΡΡΠ°Π½ΠΎΠ²ΠΊΠ° ΠΈ ΡΠΈΠΊΡΠ°ΡΠΈΡ ΠΊΠΎΡΠΏΡΡΠ° Π½Π° Β«ΡΠ²ΠΎΠ΅Β» ΠΌΠ΅ΡΡΠΎ.
- Π£ΡΡΠ°Π½ΠΎΠ²ΠΊΠ° ΡΡΠΎΡΠΎΠ² Π²ΠΎΠΊΡΡΠ³ ΡΠΎΠ»ΠΈΠΊΠΎΠ².
- ΠΠ°ΠΊΡΠ΅ΠΏΠ»Π΅Π½ΠΈΠ΅ ΠΎΠ±ΠΎΠΉΠΌ ΡΡΠ΅ΠΊΠ»Π° Ρ ΡΡΠΎΡΠΎΠΌ. ΠΠ½ ΡΠΈΠΊΡΠΈΡΡΠ΅ΡΡΡ Π²ΠΈΠ½ΡΠ°ΠΌΠΈ Ρ ΠΏΠΎΠΌΠΎΡΡΡ 2-Ρ ΡΠΊΠΎΠ±.
- ΠΠΎΠ½ΡΠ°ΠΆ Π½Π°ΠΏΡΠ°Π²Π»ΡΡΡΠ΅Π³ΠΎ ΠΆΠ΅Π»ΠΎΠ±ΠΊΠ°.
- ΠΠ°ΡΡΠΆΠΊΠ° ΡΡΠΎΡΠ°.
- Π’Π΅ΠΏΠ΅ΡΡ ΡΠ±ΠΈΡΠ°Π΅ΡΡΡ ΡΠΊΠΎΠ±Π°, ΠΊΠΎΡΠΎΡΠ°Ρ ΡΠΈΠΊΡΠΈΡΡΠ΅Ρ Π²Π΅ΡΠ²ΠΈ ΡΡΠΎΡΠ°.
- Π£ΡΡΠ°Π½ΠΎΠ²ΠΊΠ° Π΄Π²Π΅ΡΠ½ΠΎΠΉ ΠΎΠ±ΠΈΠ²ΠΊΠΈ ΠΈ ΡΡΡΠΊΠΈ.
ΠΠ±Π²ΠΎΠ΄ΠΈΡΡ ΡΡΠΎΡΠΈΠΊ Π²ΠΎΠΊΡΡΠ³ ΡΠΎΠ»ΠΈΠΊΠΎΠ² ΠΌΠΎΠΆΠ½ΠΎ Π΄Π²ΡΠΌΡ ΠΏΡΡΡΠΌΠΈ ΡΠ΅ΡΠ΅Π· ΠΎΠΏΠΎΡΡ ΠΊΠ°ΡΠ΅Π½ΠΈΡ (Π²Π΅ΡΡ
Π½ΡΡ ΠΈΠ»ΠΈ Π½ΠΈΠΆΠ½ΡΡ).
ΠΡΠ»ΠΈ ΠΎΠ±Π²ΠΎΠ΄ΠΊΠ° ΠΈΠ΄Π΅Ρ ΡΠ΅ΡΠ΅Π· Π½ΠΈΠΆΠ½ΠΈΠΉ ΡΠΎΠ»ΠΈΠΊ, ΡΠΎΠ³Π΄Π° ΡΡΠΎΡ Π½Π°ΠΏΡΠ°Π²Π»ΡΠ΅ΡΡΡ ΡΠ»Π΅Π΄ΡΡΡΠΈΠΌ ΠΎΠ±ΡΠ°Π·ΠΎΠΌ:
- ΠΠ΅Π²ΡΠΉ Π½Π°ΠΏΡΠ°Π²Π»ΡΡΡΠΈΡ ΡΠΎΠ»ΠΈΠΊ (Π½ΠΈΠΆΠ½ΠΈΠΉ).
- ΠΠ΅Π²Π°Ρ Π½Π°ΠΏΡΠ°Π²Π»ΡΡΡΠ°Ρ ΠΎΠΏΠΎΡΠ° (Π²Π²Π΅ΡΡ Ρ).
- Π¦Π΅Π½ΡΡΠ°Π»ΡΠ½Π°Ρ Π½Π°ΡΡΠΆΠ½Π°Ρ ΠΊΠ°ΡΡΡΠΊΠ° (Π²Π½ΠΈΠ·Ρ).
- ΠΠ°ΠΏΡΠ°Π²Π»ΡΡΡΠΈΠΉ ΡΠ»Π΅ΠΌΠ΅Π½Ρ ΡΠΏΡΠ°Π²Π° Π²Π²Π΅ΡΡ Ρ.
ΠΡΠ»ΠΈ ΠΏΡΠΎΠΈΠ·Π²ΠΎΠ΄ΠΈΡΡΡ Π·Π°ΠΌΠ΅Π½Ρ ΡΡΠΎΠ½ΡΠ°Π»ΡΠ½ΠΎΠ³ΠΎ ΡΡΠ΅ΠΊΠ»ΠΎΠΏΠΎΠ΄ΡΠ΅ΠΌΠ½ΠΈΠΊΠ°, ΡΠΎΠ³Π΄Π° ΠΌΠΎΠΆΠ½ΠΎ ΠΎΠ±Π²ΠΎΠ΄ΠΈΡΡ ΡΠ΅ΡΠ΅Π· Π²Π΅ΡΡ Π½ΡΡ ΠΊΠ°ΡΡΡΠΊΡ Π² ΠΎΠ±ΡΠ°ΡΠ½ΠΎΠΉ ΠΏΠΎΡΠ»Π΅Π΄ΠΎΠ²Π°ΡΠ΅Π»ΡΠ½ΠΎΡΡΠΈ.
ΠΡΠΎΡΠ΅ΡΡ Π½Π°ΡΡΠΆΠΊΠΈ:
- ΠΠΏΡΡΡΠΈΡΠ΅ ΡΡΠ΅ΠΊΠ»ΠΎ Π² Π½ΠΈΠΆΠ½Π΅Π΅ ΠΏΠΎΠ»ΠΎΠΆΠ΅Π½ΠΈΠ΅.
- ΠΠΎΠ²Π΅ΡΠ½ΠΈΡΠ΅ ΡΡΡΠΊΡ Π΄ΠΎ ΡΠΏΠΎΡΠ° Π² Π½Π°ΠΏΡΠ°Π²Π»Π΅Π½ΠΈΠΈ ΠΎΠΏΡΡΠΊΠ°Π½ΠΈΡ ΡΡΠ΅ΠΊΠ»Π°.
- ΠΡΡΠ΅Π³ΡΠ»ΠΈΡΡΠΉΡΠ΅ Π½Π°ΡΡΠΆΠ΅Π½ΠΈΠ΅ ΡΡΠΎΡΠ° ΠΏΡΡΠ΅ΠΌ ΠΏΠ΅ΡΠ΅Π΄Π²ΠΈΠΆΠ΅Π½ΠΈΡ Π½Π΅ΠΎΠ±Ρ ΠΎΠ΄ΠΈΠΌΠΎΠ³ΠΎ ΡΠΎΠ»ΠΈΠΊΠ°.
- ΠΠ°ΠΆΠΈΠΌ Π±ΠΎΠ»ΡΠ°, ΠΊΠΎΡΠΎΡΡΠΉ ΡΠΈΠΊΡΠΈΡΡΠ΅Ρ ΡΠΎΠ»ΠΈΠΊ.
ΠΠ±ΡΠ°ΡΠΈΡΠ΅ Π²Π½ΠΈΠΌΠ°Π½ΠΈΠ΅ Π½Π° ΡΠΎ, ΡΡΠΎ Π½Π°ΡΡΠΆΠΊΠ° Π΄ΠΎΠ»ΠΆΠ½Π° Π±ΡΡΡ ΡΡΠ²ΡΡΠ²ΠΈΡΠ΅Π»ΡΠ½ΠΎΠΉ. Π’ΡΠΎΡ Π½Π΅ Π΄ΠΎΠ»ΠΆΠ΅Π½ Π±ΡΡΡ ΠΏΠ΅ΡΠ΅ΡΡΠ½ΡΡ, Π½ΠΎ ΠΈ ΠΏΠΎΠ·Π²ΠΎΠ»ΡΡΡ Π΅ΠΌΡ Π±ΠΎΠ»ΡΠ°ΡΡΡΡ, ΡΠ°ΠΊΠΆΠ΅ Π½Π΅ ΡΡΠΎΠΈΡ.
Π§ΠΈΡΠ°ΠΉΡΠ΅ ΡΠ°ΠΊΠΆΠ΅: Π Π΅ΠΌΠΎΠ½Ρ ΠΊΠΎΡΠΎΠ±ΠΊΠΈ ΠΏΠ΅ΡΠ΅Π΄Π°Ρ ΠΠΠ-2107
ΠΡΠ»ΠΈ ΠΏΠΎΡΠ»Π΅ ΡΡΡΠ°Π½ΠΎΠ²ΠΊΠΈ Π½ΠΎΠ²ΠΎΠ³ΠΎ ΠΌΠ΅Ρ Π°Π½ΠΈΠ·ΠΌΠ° ΠΏΠΎΡΠ²ΠΈΠ»ΡΡ ΡΠΊΡΠΈΠΏ, ΡΠΎΠ³Π΄Π° ΡΠ΄Π΅Π»Π°ΠΉΡΠ΅ ΡΠ»Π΅Π΄ΡΡΡΠ΅Π΅:
- ΠΡΠ»Π°Π±ΡΡΠ΅ ΠΈ Π²ΡΠ²Π΅Π΄ΠΈΡΠ΅ ΡΡΠΎΡ ΠΈΠ·-ΠΏΠΎΠ΄ ΡΠΎΠ»ΠΈΠΊΠΎΠ².

- ΠΠ΅ΡΠ΅ΠΊΡΠ΅ΡΡΠΈΡΠ΅ Π½ΠΈΠΆΠ½ΡΡ ΠΈ Π²Π΅ΡΡ Π½ΡΡ Π²Π΅ΡΠ²ΠΈ, ΠΊΠΎΡΠΎΡΡΠ΅ Π²ΡΡ ΠΎΠ΄ΡΡ ΠΈΠ· Π±Π°ΡΠ°Π±Π°Π½Π° ΠΌΠ΅Ρ Π°Π½ΠΈΠ·ΠΌΠ°.
- ΠΠΎΠ²ΡΠΎΡΠΈΡΠ΅ ΠΏΡΠΎΡΠ΅Π΄ΡΡΡ ΡΡΡΠ°Π½ΠΎΠ²ΠΊΠΈ ΠΈ Π½Π°ΡΡΠΆΠ΅Π½ΠΈΡ.
ΠΡΠ°ΡΠΊΠ°Ρ ΠΈΠ½ΡΡΡΡΠΊΡΠΈΡ ΠΏΠΎ Π·Π°ΠΌΠ΅Π½Π΅ ΠΌΠ΅Ρ Π°Π½ΠΈΠ·ΠΌΠ°
Π ΠΎΠ±ΡΠ΅ΠΌ, ΠΏΡΠΎΡΠ΅Π΄ΡΡΠ° Π·Π°ΠΌΠ΅Π½Ρ ΡΡΠ΅ΠΊΠ»ΠΎΠΏΠΎΠ΄ΡΠ΅ΠΌΠ½ΠΈΠΊΠ° Π²ΡΠ³Π»ΡΠ΄ΠΈΡ ΡΠ°ΠΊ:
- Π‘Π½ΠΈΠΌΠ°Π΅ΡΡΡ Π΄Π²Π΅ΡΠ½Π°Ρ ΠΎΠ±ΡΠΈΠ²ΠΊΠ°.
ΠΡΡΠΎΠ΅Π΄ΠΈΠ½ΡΠ΅ΡΡΡ ΡΡΠΎΡ ΠΎΡ ΠΎΠ±ΠΎΠΉΠΌ, ΠΊΠΎΡΠΎΡΡΠ΅ ΡΠ΄Π΅ΡΠΆΠΈΠ²Π°ΡΡ ΡΡΠ΅ΠΊΠ»ΠΎ.- Π‘ ΡΠΎΠ»ΠΈΠΊΠΎΠ² ΡΠ½ΠΈΠΌΠ°Π΅ΡΡΡ ΡΡΠΎΡ.
- ΠΠ°Π»Π΅Π΅ ΠΈΠ΄Π΅Ρ ΡΠ½ΡΡΠΈΠ΅ Π½Π°ΠΏΡΠ°Π²Π»ΡΡΡΠ΅Π³ΠΎ ΠΆΠ΅Π»ΠΎΠ±Π° ΠΈ ΠΌΠ΅Ρ Π°Π½ΠΈΠ·ΠΌΠ° ΠΏΠΎΠ΄ΡΠ΅ΠΌΠ½ΠΈΠΊΠ°.
- Π£ΡΡΠ°Π½ΠΎΠ²ΠΊΠ° Π½ΠΎΠ²ΠΎΠ³ΠΎ ΡΡΠ΅ΠΊΠ»ΠΎΠΏΠΎΠ΄ΡΠ΅ΠΌΠ½ΠΈΠΊΠ°.
- ΠΠ°ΠΏΡΠ°Π²ΠΊΠ° ΡΡΠΎΡΠ°.
- Π€ΠΈΠΊΡΠ°ΡΠΈΡ ΠΊΡΠΎΠ½ΡΡΠ΅ΠΉΠ½ΠΎΠ² ΡΡΠ΅ΠΊΠ»Π° ΠΈ Π½Π°ΡΡΠΆΠΊΠ° ΡΡΠΎΡΠ°.
- Π£ΡΡΠ°Π½ΠΎΠ²ΠΊΠ° ΠΎΠ±ΡΠΈΠ²ΠΊΠΈ Π΄Π²Π΅ΡΠ΅ΠΉ ΠΎΠ±ΡΠ°ΡΠ½ΠΎ.
ΠΠΎΠ΄Π²ΠΎΠ΄Ρ ΠΈΡΠΎΠ³, ΠΎΡΠΌΠ΅ΡΠΈΠΌ, ΡΡΠΎ ΠΏΡΠΎΡΠ΅ΡΡ Π·Π°ΠΌΠ΅Π½Ρ ΡΡΠ΅ΠΊΠ»ΠΎΠΏΠΎΠ΄ΡΠ΅ΠΌΠ½ΠΈΠΊΠ° Π½Π° ΠΠΠ-2107 β ΡΡΠΎ Π²ΠΏΠΎΠ»Π½Π΅ ΠΏΠΎΡΠΈΠ»ΡΠ½Π°Ρ Π·Π°Π΄Π°ΡΠ° Π΄Π»Ρ Π°Π²ΡΠΎΠ²Π»Π°Π΄Π΅Π»ΡΡΠ°. Π ΠΏΡΠΎΡΠ΅ΡΡΠ΅ ΡΠ΅ΠΌΠΎΠ½ΡΠ° Π³Π»Π°Π²Π½ΠΎΠ΅ Π²Π½ΠΈΠΌΠ°ΡΠ΅Π»ΡΠ½ΠΎ Π²ΡΠΏΠΎΠ»Π½ΡΡΡ Π²ΡΠ΅ ΡΠ΅ΠΊΠΎΠΌΠ΅Π½Π΄Π°ΡΠΈΠΈ ΠΈ ΡΡΡΠ°Π½ΠΎΠ²ΠΊΠ° Π½ΠΎΠ²ΠΎΠ³ΠΎ ΠΌΠ΅Ρ Π°Π½ΠΈΠ·ΠΌΠ° Π½Π΅ ΡΡΠ°Π½Π΅Ρ Π΄Π»Ρ Π²Π°Ρ ΠΏΡΠΎΠ±Π»Π΅ΠΌΠΎΠΉ.
ΠΊΠ°ΠΊ ΠΏΠΎΡΡΠ°Π²ΠΈΡΡ ΠΈ ΡΡΡΠ°Π½ΠΎΠ²ΠΈΡΡ ΠΌΠ΅Ρ Π°Π½ΠΈΠ·ΠΌ, ΡΠ΅ΠΌΠΎΠ½Ρ ΠΈ ΡΡ Π΅ΠΌΠ°
ΠΠ°ΠΌΠ΅Π½Π° ΡΡΠ΅ΠΊΠ»ΠΎΠΏΠΎΠ΄ΡΠ΅ΠΌΠ½ΠΈΠΊΠ° ΠΏΠ΅ΡΠ΅Π΄Π½Π΅ΠΉ Π΄Π²Π΅ΡΠΈ ΠΠΠ 2101, 2106 ΡΠ²ΠΎΠΈΠΌΠΈ ΡΡΠΊΠ°ΠΌΠΈ
ΠΠ΄ΡΠ°Π²ΡΡΠ²ΡΠΉΡΠ΅! Π‘Π΅Π³ΠΎΠ΄Π½Ρ ΠΏΠΎΠ³ΠΎΠ²ΠΎΡΠΈΠΌ ΠΎ ΡΠ°ΠΊΠΎΠΌ ΠΏΡΠΎΡΡΠΎΠΌ, Π½ΠΎ Π² ΡΠΎ ΠΆΠ΅ Π²ΡΠ΅ΠΌΡ Π½Π΅ Π±Π΅Π· ΡΠ΅ΠΊΡΠ΅ΡΠΎΠ² Π΄Π΅Π»Π΅, ΠΎ Π·Π°ΠΌΠ΅Π½Π΅ ΡΡΠ΅ΠΊΠ»ΠΎΠΏΠΎΠ΄ΡΡΠΌΠ½ΠΈΠΊΠ° Π½Π° ΠΠΠ 2101 ΠΈ 2106.
Π‘ΡΠ΅ΠΊΠ»ΠΎΠΏΠΎΠ΄ΡΡΠΌΠ½ΠΈΠΊ ΠΠΠ
ΠΠ°ΡΠΈΠ½Π°ΡΡ Π·Π°ΠΌΠ΅Π½Ρ Π½Π΅ΠΎΠ±Ρ ΠΎΠ΄ΠΈΠΌΠΎ Ρ ΡΠ΅ΠΎΡΠΈΠΈ, ΡΠ°ΠΊ ΡΡΠΎ Π²Π°ΡΠ΅ΠΌΡ Π²Π½ΠΈΠΌΠ°Π½ΠΈΡ ΠΏΡΠ΅Π΄Π»Π°Π³Π°Ρ ΡΡ Π΅ΠΌΡ, ΠΏΠΎ ΠΊΠΎΡΠΎΡΠΎΠΉ ΡΠ°Π±ΠΎΡΠ°Π΅Ρ ΠΎΠ±ΡΡΠ½ΡΠΉ ΡΡΠ΅ΠΊΠ»ΠΎΠΏΠΎΠ΄ΡΡΠΌΠ½ΠΈΠΊ.
ΠΠ°ΠΊ Π²ΠΈΠ΄ΠΈΠΌ ΡΡΠΎΡ Π΄Π²ΠΈΠΆΠ΅ΡΡΡ ΠΏΠΎ ΡΡΠ΅ΠΌ ΡΠΎΠ»ΠΈΠΊΠ°ΠΌ, ΠΏΡΠΈ Π·Π°ΠΌΠ΅Π½Π΅ ΡΡΠ΅ΠΊΠ»ΠΎΠΏΠΎΠ΄ΡΡΠΌΠ½ΠΈΠΊΠ° Π΅ΡΡΡ ΡΠΌΡΡΠ» ΡΠΌΠ°Π·Π°ΡΡ ΠΈΡ ΠΈ ΠΏΡΠΎΠ²Π΅ΡΠΈΡΡ ΡΠ²ΠΎΠ±ΠΎΠ΄Π½ΠΎ Π»ΠΈ Π²ΡΠ°ΡΠ°ΡΡΡΡ ΠΎΠ½ΠΈ.
ΠΠ΅ Π±ΡΠ΄Ρ Π²Π΄Π°Π²Π°ΡΡΡΡ Π² ΠΏΠΎΠ΄ΡΠΎΠ±Π½ΠΎΡΡΠΈ ΠΎ ΡΠΎΠΌ ΠΊΠ°ΠΊ ΡΠ°Π·ΠΎΠ±ΡΠ°ΡΡ Π΄Π²Π΅ΡΡ, ΡΡΠΎ Π½Π΅ ΡΠ»ΠΎΠΆΠ½ΠΎ ΠΈ ΡΠ°ΠΌ Π²ΡΠ΅ ΠΏΠΎΠ½ΡΡΠ½ΠΎ. ΠΠ°ΡΠΈΠ½Π°ΡΡ Π·Π°ΠΌΠ΅Π½Ρ Π½Π΅ΠΎΠ±Ρ ΠΎΠ΄ΠΈΠΌΠΎ Ρ Π΄Π΅ΠΌΠΎΠ½ΡΠ°ΠΆΠ° Π½Π΅Π³ΠΎΠ΄Π½ΠΎΠ³ΠΎ ΡΡΠ΅ΠΊΠ»ΠΎΠΏΠΎΠ΄ΡΡΠΌΠ½ΠΈΠΊΠ°, ΠΎΠ½ ΠΊΡΠ΅ΠΏΠΈΡΡΡ ΡΡΠ΅ΠΌΡ Π³Π°Π΅ΡΠΊΠ°ΠΌΠΈ Π½Π° Β«8Β», ΡΠ°ΠΊΠΆΠ΅ Ρ ΠΏΠΎΠΌΠΎΡΡΡ ΠΊΡΠ΅ΡΡΠΎΠΎΠ±ΡΠ°Π·Π½ΠΎΠΉ ΠΎΡΠ²Π΅ΡΡΠΊΠΈ Π½Π΅ΠΎΠ±Ρ ΠΎΠ΄ΠΈΠΌΠΎ ΠΎΡΠ²Π΅ΡΠ½ΡΡΡ ΠΊΡΠ΅ΠΏΠ»Π΅Π½ΠΈΠ΅ ΠΏΠ»Π°Π½ΠΊΠΈ ΡΡΠ΅ΠΊΠ»Π° ΠΊ ΡΡΠΎΡΡ ΠΈ ΠΎΡΠ²Π΅ΡΡΠΈ ΡΡΠΎΡ Π² ΡΡΠΎΡΠΎΠ½Ρ.
ΠΠ΄Π΅ΡΡ Π½Π΅ΠΎΠ±Ρ ΠΎΠ΄ΠΈΠΌΠΎ ΠΎΡΠΊΡΡΡΠΈΡΡ ΠΈ ΠΎΡΠ²Π΅ΡΡΠΈ ΡΡΠΎΡ Π² ΡΡΠΎΡΠΎΠ½Ρ
ΠΠΎΡΠ»Π΅ Π΄Π΅ΠΌΠΎΠ½ΡΠ°ΠΆΠ° ΡΡΠ°ΡΠΎΠ³ΠΎ ΡΡΠ΅ΠΊΠ»ΠΎΠΏΠΎΠ΄ΡΠ΅ΠΌΠ½ΠΈΠΊΠ° ΠΈ ΠΏΡΠΎΠ²Π΅ΡΠΊΠΈ ΡΠ²ΠΎΠ±ΠΎΠ΄Π½ΠΎΠ³ΠΎ Π²ΡΠ°ΡΠ΅Π½ΠΈΡ ΡΠΎΠ»ΠΈΠΊΠΎΠ², ΠΌΠΎΠΆΠ½ΠΎ ΠΏΡΠΈΡΡΡΠΏΠ°ΡΡ ΠΊ ΡΡΡΠ°Π½ΠΎΠ²ΠΊΠ΅ Π½ΠΎΠ²ΠΎΠ³ΠΎ. ΠΠ·Π²Π»Π΅ΠΊΠ°Π΅ΠΌ ΠΈΠ· ΠΊΠΎΡΠΎΠ±ΠΊΠΈ Π½ΠΎΠ²ΡΠΉ ΡΡΠ΅ΠΊΠ»ΠΎΠΏΠΎΠ΄ΡΠΌΠ½ΠΈΠΊ β ΠΎΠ½ Π±ΡΠ΄Π΅Ρ Π²ΡΠ³Π»ΡΠ΄Π΅ΡΡ Π°Π½Π°Π»ΠΎΠ³ΠΈΡΠ½ΠΎ ΠΈΠ·ΠΎΠ±ΡΠ°ΠΆΠ΅Π½Π½ΠΎΠΌΡ Π½Π° ΠΏΠ΅ΡΠ²ΠΎΠΉ ΡΠΎΡΠΎΠ³ΡΠ°ΡΠΈΠΈ.
Π ΠΎΠ»ΠΈΠΊΠΈ Π½Π°Ρ ΠΎΠ΄ΡΡΡΡ Π² ΡΡΠΈΡ ΠΌΠ΅ΡΡΠ°Ρ
ΠΠ½ΠΈΠΌΠ°Π½ΠΈΠ΅! ΠΠ΅Π»ΡΠ·Ρ ΡΠ½ΠΈΠΌΠ°ΡΡ Π½Π° Π½Π΅ΡΡΡΠ°Π½ΠΎΠ²Π»Π΅Π½Π½ΠΎΠΌ ΡΡΠ΅ΠΊΠ»ΠΎΠΏΠΎΠ΄ΡΠ΅ΠΌΠ½ΠΈΠΊΠ΅ ΡΠΊΠΎΠ±Ρ, ΠΊΠΎΡΠΎΡΠ°Ρ ΡΠΈΠΊΡΠΈΡΡΠ΅Ρ ΡΡΠΎΡΡ Π² Π½Π°ΠΌΠΎΡΠ°Π½Π½ΠΎΠΌ ΡΠΎΡΡΠΎΡΠ½ΠΈΠΈ, Π΅ΡΠ»ΠΈ ΡΡΠΎΡ ΡΠΎΡΠΊΠΎΡΠΈΡ, ΡΠΎ ΠΏΠΎΠ΄ΡΠ΅ΠΌΠ½ΠΈΠΊ Π·Π°ΠΏΡΡΠ°Π΅ΡΡΡ ΠΈ Π²Π΅ΡΠ½ΡΡΡ Π΅Π³ΠΎ Π² ΠΏΡΠ΅ΠΆΠ½Π΅Π΅ ΠΏΠΎΠ»ΠΎΠΆΠ΅Π½ΠΈΠ΅ ΠΎΠΉ ΠΊΠ°ΠΊ ΡΡΡΠ΄Π½ΠΎ.
ΠΠ°Π»Π΅Π΅ ΠΎΡΠΌΠ°ΡΡΠ²Π°Π΅ΠΌ ΡΡΠΎΡ ΡΠΌΠΎΡΠ°Π½Π½ΡΠΉ ΠΏΡΠΎΠΈΠ·Π²ΠΎΠ΄ΠΈΡΠ΅Π»Π΅ΠΌ, Π·Π°ΡΠ΅Π»ΠΊΡ Π½Π΅ ΡΡΠΎΠ³Π°Π΅ΠΌ!
ΠΠ°ΡΠ΅Π»ΠΊΠ°! ΠΠΎ ΠΌΠΎΠ½ΡΠ°ΠΆΠ° Π½Π΅ ΡΠ½ΠΈΠΌΠ°ΡΡ!
ΠΠ°Π»Π΅Π΅ ΠΌΠΎΠΆΠ½ΠΎ ΠΏΡΠΈΠ²ΠΈΠ½ΡΠΈΡΡ Π½ΠΎΠ²ΡΠΉ ΡΡΠ΅ΠΊΠ»ΠΎΠΏΠΎΠ΄ΡΠ΅ΠΌΠ½ΠΈΠΊ Π½Π° Π΄Π²Π΅ΡΡ, ΠΈ Π½Π°Π΄Π΅ΡΡ ΡΡΠΎΡ Π½Π° ΡΠΎΠ»ΠΈΠΊΠΈ ΡΠΎΠ³Π»Π°ΡΠ½ΠΎ ΡΡ Π΅ΠΌΠ΅ (ΡΠΎΡΠΎ2). ΠΠΎΠ·Π»Π΅ ΠΊΠΎΡΠΏΡΡΠ° ΠΏΠΎΠ΄ΡΠ΅ΠΌΠ½ΠΈΠΊΠ° ΡΡΠΎΡ Π΄ΠΎΠ»ΠΆΠ΅Π½ ΠΏΠ΅ΡΠ΅ΠΊΡΠ΅ΡΠΈΠ²Π°ΡΡΡΡ, ΡΠΎ Π΅ΡΡΡ ΡΡΠΎΡ ΠΊΠΎΡΠΎΡΡΠΉ Π²ΡΡ ΠΎΠ΄ΠΈΡ Ρ Π½ΠΈΠ·Π° Π±Π°ΡΠ°Π±Π°Π½Π° ΠΈΠ΄Π΅Ρ Π½Π° Π²Π΅ΡΡ Π½ΠΈΠΉ ΡΠΎΠ»ΠΈΠΊ, Ρ Π²Π΅ΡΡ Π° Π±Π°ΡΠ°Π±Π°Π½Π° Π½Π° Π½ΠΈΠΆΠ½ΠΈΠΉ ΡΠΎΠ»ΠΈΠΊ.
Π‘Π½Π°ΡΠ°Π»Π° ΡΡΠΎ Π΄ΠΎΠ»ΠΆΠ½ΠΎ Π²ΡΠ³Π»ΡΠ΄Π΅ΡΡ ΡΠ°ΠΊ
ΠΠΎΡΠ»Π΅ ΡΡΠΎΠ³ΠΎ ΠΌΠΎΠΆΠ½ΠΎ Π½Π°ΡΡΠ½ΡΡΡ ΡΡΠΎΡ Π½Π° ΡΠΎΠ»ΠΈΠΊΠΈ, Π΄Π»Ρ ΡΠΎΠ³ΠΎ, ΡΡΠΎΠ±Ρ ΡΡΠΎ ΡΠ΄Π΅Π»Π°ΡΡ Π½Π΅ΠΎΠ±Ρ
ΠΎΠ΄ΠΈΠΌΠΎ Π±ΡΠ΄Π΅Ρ ΠΎΡΠ»Π°Π±ΠΈΡΡ Π½ΠΈΠΆΠ½ΠΈΠΉ ΡΠ΅Π³ΡΠ»ΠΈΡΡΠ΅ΠΌΡΠΉ ΡΠΎΠ»ΠΈΠΊ ΠΈ ΡΠ°ΡΡΡΠ½ΡΡΡ ΡΡΠΎΡ ΡΠΎΠ³Π»Π°ΡΠ½ΠΎ ΡΡ
Π΅ΠΌΠ΅. ΠΡΠ»ΠΈ Π²Π΄ΡΡΠ³ Π½Π΅ Π±ΡΠ΄Π΅Ρ Ρ
Π²Π°ΡΠ°ΡΡ ΡΡΠΎΡΠ°, Π΄Π»Ρ ΡΠΎΠ³ΠΎ ΡΡΠΎΠ±Ρ Π½Π°Π΄Π΅ΡΡ Π΅Π³ΠΎ Π½Π° ΡΠΎΠ»ΠΈΠΊΠΈ, ΡΠΎ Π½Π΅ΠΎΠ±Ρ
ΠΎΠ΄ΠΈΠΌΠΎ ΠΎΠ΄Π΅ΡΡ ΡΡΠΎΡ Π½Π° Π΄Π²Π° ΡΠΎΠ»ΠΈΠΊΠ° ΠΈ ΡΠ½ΡΡΡ Π·Π°ΡΠ΅Π±ΠΊΡ, ΠΊΠΎΡΠΎΡΠ°Ρ ΡΠΈΠΊΡΠΈΡΡΠ΅Ρ ΡΡΠΎΡΡ ΠΈ Π½Π΅ ΠΎΡΠ»Π°Π±Π»ΡΡ Π½Π°ΡΡΠΆΠ΅Π½ΠΈΡ ΡΡΠΎΡΠΎΠ² ΠΎΠ΄Π΅ΡΡ Π΅Π³ΠΎ Π½Π° ΡΠΎΠ»ΠΈΠΊΠΈ.
ΠΠ°ΡΡΠΆΠ½ΠΎΠΉ ΡΠΎΠ»ΠΈΠΊ
ΠΠ°Π»Π΅Π΅ Ρ ΠΏΠΎΠΌΠΎΡΡΡ ΡΡΠΎΠ³ΠΎ ΡΠΎΠ»ΠΈΠΊΠ° Π½Π°ΡΡΠ³ΠΈΠ²Π°Π΅ΠΌ ΡΡΠΎΡ, ΠΎΠ½ Π½Π΅ Π΄ΠΎΠ»ΠΆΠ΅Π½ ΠΏΡΠΎΠ²ΠΈΡΠ°ΡΡ, Π½ΠΎ ΠΈ Π½Π΅ Π΄ΠΎΠ»ΠΆΠ΅Π½ Π±ΡΡΡ Π½Π°ΡΡΠ½ΡΡ ΠΊΠ°ΠΊ ΡΡΡΡΠ½Π°. Π’Π°ΠΊΠΆΠ΅ Π΅ΡΠ»ΠΈ Π²Ρ Π½Π΅ ΡΠ½ΠΈΠΌΠ°Π»ΠΈ ΡΠΈΠΊΡΠ°ΡΠΎΡ, ΡΠΎ ΡΠ΅ΠΏΠ΅ΡΡ Π΅Π³ΠΎ ΠΌΠΎΠΆΠ½ΠΎ ΡΠ½ΡΡΡ.
Π’Π΅ΠΏΠ΅ΡΡ ΠΎΠ΄Π΅Π²Π°Π΅ΠΌ ΡΡΡΠΊΡ ΠΈ ΠΏΡΠΎΠ±ΡΠ΅ΠΌ Π²ΡΠ°ΡΠ°ΡΡ ΠΏΠΎΠ΄ΡΠΌΠ½ΠΈΠΊ, ΡΡΠΎΡ Π΄ΠΎΠ»ΠΆΠ΅Π½ Π²ΡΠ°ΡΠ°ΡΡΡΡ Π»Π΅Π³ΠΊΠΎ, Π±Π΅Π· Π·Π°Π΅Π΄Π°Π½ΠΈΠΉ. Π’Π΅ΠΏΠ΅ΡΡ ΠΎΠΏΡΡΠΊΠ°Π΅ΠΌ ΡΡΠ΅ΠΊΠ»ΠΎ Π² ΡΠ°ΠΌΡΠΉ Π½ΠΈΠ·, ΡΠΎΠΆΠ΅ ΡΠ°ΠΌΠΎΠ΅ Π΄Π΅Π»Π°Π΅ΠΌ ΡΠΎ ΡΡΠ΅ΠΊΠ»ΠΎΠΏΠΎΠ΄ΡΠ΅ΠΌΠ½ΠΈΠΊΠΎΠΌ, ΠΏΡΠΈΠΊΡΡΡΠΈΠ²Π°Π΅ΠΌ ΡΡΠΎΡ ΠΊ ΠΏΠ»Π°Π½ΠΊΠ΅ ΠΈ Π½Π° ΡΡΠΎΠΌ ΠΌΠΎΠΆΠ½ΠΎ ΡΡΠΈΡΠ°ΡΡ ΡΡΡΠ°Π½ΠΎΠ²ΠΊΡ Π·Π°ΠΊΠΎΠ½ΡΠ΅Π½ΠΎΠΉ.
Π Π°Π·!
ΠΠ²Π°!
Π’ΡΠΈ!
ΠΡΠ΅ Π΄ΠΎΠ»ΠΆΠ½ΠΎ ΡΠ°Π±ΠΎΡΠ°ΡΡ ΠΈΠ΄Π΅Π°Π»ΡΠ½ΠΎ!
ΠΠ»Π΅ΠΊΡΡΠΈΡΠ΅ΡΠΊΠΈΠ΅ ΠΏΠΎΠ΄ΡΠ΅ΠΌΠ½ΠΈΠΊΠΈ ΡΡΠ΅ΠΊΠΎΠ» Β«ΡΠ΅ΡΡΠ΅ΡΠΊΠΈΒ»
ΠΠ½ΠΎΠ²Ρ ΡΡΡΠ°Π½ΠΎΠ²Π»Π΅Π½Π½ΡΠ΅ ΡΠ»Π΅ΠΊΡΡΠΈΡΠ΅ΡΠΊΠΈΠ΅ ΠΏΠΎΠ΄ΡΠ΅ΠΌΠ½ΠΈΠΊΠΈ ΡΡΠ΅ΠΊΠΎΠ» Π½Π° Π²Π°Π· 2106 Π΄Π°ΡΡ Π²ΠΎΠ·ΠΌΠΎΠΆΠ½ΠΎΡΡΡ ΠΈΡΠΊΠ»ΡΡΠΈΡΡ Π²ΡΠ°ΡΠ΅Π½ΠΈΠ΅ ΡΡΡΠ΅ΠΊ ΡΡΠ΅ΠΊΠ»ΠΎΠΏΠΎΠ΄ΡΠ΅ΠΌΠ½ΠΈΠΊΠΎΠ² ΠΏΡΠΈ Π½Π΅ΠΎΠ±Ρ ΠΎΠ΄ΠΈΠΌΠΎΡΡΠΈ ΠΎΡΠΊΡΡΡΠΈΡ Π²Π΅ΡΡΠΎΠ²ΡΡ ΡΡΠ΅ΠΊΠΎΠ» ΡΠΏΠ΅ΡΠ΅Π΄ΠΈ ΡΠ°Π»ΠΎΠ½Π°. Π’Π°ΠΊΠΆΠ΅ ΡΡΠΎ Π΄Π΅Π»Π°Π΅Ρ ΠΏΠΎΠ΅Π·Π΄ΠΊΡ Π±ΠΎΠ»Π΅Π΅ ΠΊΠΎΠΌΡΠΎΡΡΠ½ΠΎΠΉ, ΠΏΠΎΠ·Π²ΠΎΠ»ΡΠ΅Ρ Π½Π΅ ΠΎΡΠ²Π»Π΅ΠΊΠ°ΡΡΡΡ ΠΎΡ ΠΏΡΠΎΡΠ΅ΡΡΠ° ΡΠΏΡΠ°Π²Π»Π΅Π½ΠΈΡ ΡΡΠ°Π½ΡΠΏΠΎΡΡΠ½ΡΠΌ ΡΡΠ΅Π΄ΡΡΠ²ΠΎΠΌ.
ΠΠΎΡΠ²Π»ΡΠ΅ΡΡΡ Π΅ΡΠ΅ ΠΎΠ΄Π½ΠΎ ΡΠ΅ΡΡΠ΅Π·Π½ΠΎΠ΅ ΠΏΡΠ΅ΠΈΠΌΡΡΠ΅ΡΡΠ²ΠΎ: ΠΏΡΠΈ Π·Π°Π΄Π΅ΠΉΡΡΠ²ΠΎΠ²Π°Π½ΠΈΠΈ Π΄ΠΎΠ±Π°Π²ΠΎΡΠ½ΠΎΠΉ ΡΠ»Π΅ΠΊΡΡΠΎΡΠ΅ΠΏΠΈ Π² ΡΡ
Π΅ΠΌΠ΅ ΡΡΡΠ°Π½Π°Π²Π»ΠΈΠ²Π°Π΅ΠΌΠΎΠΉ ΡΠΈΠ³Π½Π°Π»ΠΈΠ·Π°ΡΠΈΠΈ ΠΏΠΎΡΠ²Π»ΡΠ΅ΡΡΡ ΡΠΏΠΎΡΠΎΠ± ΡΠΊΡΠΏΠ»ΡΠ°ΡΠ°ΡΠΈΠΈ Π°Π²ΡΠΎΠΌΠ°ΡΠΈΠΊΠΈ ΠΏΡΠΈ Π·Π°ΠΊΡΡΡΠΈΠΈ Π΄Π²Π΅ΡΠ΅ΠΉ ΡΡΠ°Π½ΡΠΏΠΎΡΡΠ½ΠΎΠ³ΠΎ ΡΡΠ΅Π΄ΡΡΠ²Π°.
ΠΠ½ΠΎΠ³ΠΈΠ΅ Π°Π²ΡΠΎΠ»ΡΠ±ΠΈΡΠ΅Π»ΠΈ Π·Π°Π΄Π°ΡΡΡΡ Π²ΠΎΠΏΡΠΎΡΠΎΠΌ, ΠΊΠ°ΠΊ ΠΏΠΎΠΌΠ΅Π½ΡΡΡ ΡΡΠ΅ΠΊΠ»ΠΎΠΏΠΎΠ΄ΡΠ΅ΠΌΠ½ΠΈΠΊ Π½Π° Π²Π°Π· 2106 Π½Π° Π°Π½Π°Π»ΠΎΠ³ΠΈΡΠ½ΡΠΉ ΠΌΠ΅Ρ Π°Π½ΠΈΠ·ΠΌ, Π½ΠΎ Ρ ΡΠ»Π΅ΠΊΡΡΠΈΡΠ΅ΡΠΊΠΈΠΌ ΠΏΡΠΈΠ²ΠΎΠ΄ΠΎΠΌ. ΠΠΎΡΡΠ½ΡΠ΅ΠΌ, ΡΡΠΎ Π½ΠΈΡΠ΅Π³ΠΎ ΡΠ»ΠΎΠΆΠ½ΠΎΠ³ΠΎ Π² ΡΡΠΎΠΉ ΡΠ΅Ρ Π½ΠΎΠ»ΠΎΠ³ΠΈΡΠ΅ΡΠΊΠΎΠΉ ΠΎΠΏΠ΅ΡΠ°ΡΠΈΠΈ Π½Π΅Ρ, Π½Π΅ΠΎΠ±Ρ ΠΎΠ΄ΠΈΠΌΠΎ ΠΈΠΌΠ΅ΡΡ ΡΠ»Π΅ΠΌΠ΅Π½ΡΠ°ΡΠ½ΡΠ΅ Π½Π°Π²ΡΠΊΠΈ Π² ΡΠ»Π΅ΡΠ°ΡΠ½ΠΎΠΌ Π΄Π΅Π»Π΅ ΠΈ ΡΠΌΠ΅ΡΡ ΠΏΠΎΠ»ΡΠ·ΠΎΠ²Π°ΡΡΡΡ ΠΈΠ½ΡΡΡΡΠΌΠ΅Π½ΡΠΎΠΌ.
Π‘Ρ Π΅ΠΌΠ° ΡΡΠ΅ΠΊΠ»ΠΎΠΏΠΎΠ΄ΡΠ΅ΠΌΠ½ΠΈΠΊΠ° Π½Π° Π²Π°Π· 2106 ΡΠ»Π΅ΠΊΡΡΠΈΡΠ΅ΡΠΊΠΎΠ³ΠΎ ΡΠΈΠΏΠ° ΡΠ°ΡΠΏΠΎΠ»ΠΎΠΆΠ΅Π½Π° Π·Π΄Π΅ΡΡ:
Β
Β
Π Π°ΡΠΏΡΠΎΡΡΡΠ°Π½Π΅Π½Π½ΡΠ΅ Π½Π΅ΠΈΡΠΏΡΠ°Π²Π½ΠΎΡΡΠΈ ΠΈ ΡΠΏΠΎΡΠΎΠ±Ρ ΠΈΡ ΡΡΡΡΠ°Π½Π΅Π½ΠΈΡ
Π‘ΠΎ Π²ΡΠ΅ΠΌΠ΅Π½Π΅ΠΌ ΠΌΠ΅Ρ Π°Π½ΠΈΠ·ΠΌ ΠΏΠΎΠ΄ΡΠ΅ΠΌΠ° ΡΡΠ΅ΠΊΠΎΠ» ΠΏΡΠΈΡ ΠΎΠ΄ΠΈΡ Π² Π½Π΅Π³ΠΎΠ΄Π½ΠΎΡΡΡ β Π½Π΅Π²ΠΎΠ·ΠΌΠΎΠΆΠ½ΠΎ ΠΏΠΎΠ΄Π½ΡΡΡ ΠΈΠ»ΠΈ ΠΎΠΏΡΡΡΠΈΡΡ ΡΡΠ΅ΠΊΠ»ΠΎ.
ΠΡΠΈΡΠΈΠ½ Π½Π΅ΠΈΡΠΏΡΠ°Π²Π½ΠΎΡΡΠΈ ΡΡΡΡΠΎΠΉΡΡΠ²Π° ΠΌΠΎΠΆΠ΅Ρ Π±ΡΡΡ Π½Π΅ΡΠΊΠΎΠ»ΡΠΊΠΎ:
- ΠΎΠ±ΡΡΠ² ΡΡΠΎΡΠ°;
- ΠΏΠΎΠΏΠ°Π΄Π°Π½ΠΈΠ΅ ΠΏΠΎΡΡΠΎΡΠΎΠ½Π½ΠΈΡ ΠΏΡΠ΅Π΄ΠΌΠ΅ΡΠΎΠ² Π² ΠΌΠ΅Ρ Π°Π½ΠΈΠ·ΠΌ;
- ΠΈΠ·Π½ΠΎΡ ΡΠ΅Π΄ΡΠΊΡΠΎΡΠ°.
ΠΡΠΏΠΎΠ»Π½ΡΡΡ ΡΠ΅ΠΌΠΎΠ½Ρ ΡΡΠ΅ΠΊΠ»ΠΎΠΏΠΎΠ΄ΡΠ΅ΠΌΠ½ΠΈΠΊΠΎΠ² Π½Π΅ ΠΈΠΌΠ΅Π΅Ρ ΡΠΌΡΡΠ»Π°, ΡΠ°ΠΊ ΠΊΠ°ΠΊ ΠΈΡ ΡΡΠΎΠΈΠΌΠΎΡΡΡ Π½Π΅Π²ΡΡΠΎΠΊΠ°Ρ, ΠΏΡΠΎΡΠ΅ ΠΊΡΠΏΠΈΡΡ Π½ΠΎΠ²ΠΎΠ΅ ΡΡΡΡΠΎΠΉΡΡΠ²ΠΎ ΠΈ Π·Π°ΠΌΠ΅Π½ΠΈΡΡ.
Π‘Ρ Π΅ΠΌΠ° ΡΠ±ΠΎΡΠΊΠΈ ΡΡΡΡΠΎΠΉΡΡΠ²Π°
ΠΠ»Π΅ΠΊΡΡΠΈΡΠ΅ΡΠΊΠΈΠ΅ ΠΏΠΎΠ΄ΡΠ΅ΠΌΠ½ΠΈΠΊΠΈ ΠΌΠΎΠ³ΡΡ ΠΈΠΌΠ΅ΡΡ ΡΠ»Π΅Π΄ΡΡΡΠΈΠ΅ Π½Π΅ΠΈΡΠΏΡΠ°Π²Π½ΠΎΡΡΠΈ:
- ΠΠ΅ ΡΠ°Π±ΠΎΡΠ°ΡΡ Π²ΡΠ΅ ΡΠ»Π΅ΠΊΡΡΠΎΡΡΠ΅ΠΊΠ»ΠΎΠΏΠΎΠ΄ΡΠ΅ΠΌΠ½ΠΈΠΊΠΈ: ΠΏΠ΅ΡΠ΅Π³ΠΎΡΠ΅Π» ΠΏΡΠ΅Π΄ΠΎΡ
ΡΠ°Π½ΠΈΡΠ΅Π»Ρ, ΠΎΡΡΡΡΡΡΠ²ΡΠ΅Ρ ΡΠΎΠ΅Π΄ΠΈΠ½Π΅Π½ΠΈΠ΅ Ρ ΠΌΠ°ΡΡΠΎΠΉ, ΠΎΠ±ΡΡΠ² ΠΏΡΠΎΠ²ΠΎΠ΄ΠΊΠΈ.
Π Π΅ΠΌΠΎΠ½Ρ Π·Π°ΠΊΠ»ΡΡΠ°Π΅ΡΡΡ Π² Π·Π°ΠΌΠ΅Π½Π΅ ΠΏΡΠ΅Π΄ΠΎΡ
ΡΠ°Π½ΠΈΡΠ΅Π»Π΅ΠΉ, Π²ΠΎΡΡΡΠ°Π½ΠΎΠ²Π»Π΅Π½ΠΈΠ΅ ΡΠΎΠ΅Π΄ΠΈΠ½Π΅Π½ΠΈΡ Ρ ΠΌΠ°ΡΡΠΎΠΉ ΠΈ ΡΠ»Π΅ΠΊΡΡΠΎΡΠ΅ΠΏΠΈ. - ΠΠ΅ ΡΠ°Π±ΠΎΡΠ°Π΅Ρ ΠΏΠΎΠ΄ΡΠ΅ΠΌΠ½ΠΈΠΊ Π½Π° ΠΎΠ΄Π½ΠΎΠΉ ΠΈΠ· Π΄Π²Π΅ΡΠ΅ΠΉ. ΠΠ΅ΠΈΡΠΏΡΠ°Π²Π΅Π½ ΠΏΠ΅ΡΠ΅ΠΊΠ»ΡΡΠ°ΡΠ΅Π»Ρ, ΠΏΠΎΠ»ΠΎΠΌΠ°Π½ΠΎ ΡΠ΅Π»Π΅ ΠΎΠ±ΡΠ°ΡΠ½ΠΎΠ³ΠΎ ΡΠΎΠΊΠ°, ΡΠ»Π΅ΠΊΡΡΠΎΠ΄Π²ΠΈΠ³Π°ΡΠ΅Π»Ρ, ΠΎΠ±ΡΡΠ² ΠΏΡΠΎΠ²ΠΎΠ΄ΠΊΠΈ, ΠΎΡΡΠΎΠ΅Π΄ΠΈΠ½Π΅Π½ΠΈΠ΅ ΡΠ°Π·ΡΠ΅ΠΌΠ°. ΠΠ΅ΠΈΡΠΏΡΠ°Π²Π½ΡΠ΅ Π΄Π΅ΡΠ°Π»ΠΈ ΡΠ»Π΅Π΄ΡΠ΅Ρ Π·Π°ΠΌΠ΅Π½ΠΈΡΡ, ΠΏΡΠΎΠ²ΠΎΠ΄ΠΊΡ Π²ΠΎΡΡΡΠ°Π½ΠΎΠ²ΠΈΡΡ, ΡΠ°Π·ΡΠ΅ΠΌ ΠΏΠΎΠ΄ΠΊΠ»ΡΡΠΈΡΡ.
ΠΠ°ΠΌΠ΅Π½Π° ΠΊΠ»Π°ΡΡΠΈΡΠ΅ΡΠΊΠΎΠ³ΠΎ ΠΌΠ΅Ρ Π°Π½ΠΈΠ·ΠΌΠ°
ΠΠ»Π°ΡΡΠΈΡΠ΅ΡΠΊΠΈΠΉ ΠΌΠ΅Ρ Π°Π½ΠΈΠ·ΠΌ Π½Π°Β ΠΠΠ 2106 ΠΏΡΠ΅Π΄ΡΡΠ°Π²Π»ΡΠ΅Ρ ΡΠΎΠ±ΠΎΠΉ ΠΏΡΠΎΡΡΠΎΠ΅ ΡΡΡΡΠΎΠΉΡΡΠ²ΠΎ Π΄Π»Ρ ΠΏΠΎΠ΄Π½ΡΡΠΈΡ-ΠΎΠΏΡΡΠΊΠ°Π½ΠΈΡ ΡΡΠ΅ΠΊΠΎΠ», ΠΊΠΎΡΠΎΡΠΎΠ΅ ΡΠΏΡΠ°Π²Π»ΡΠ΅ΡΡΡ ΠΏΡΠΈ ΠΏΠΎΠΌΠΎΡΠΈ ΡΡΡΠΊΠΈ. ΠΠ΅ΡΠΌΠΎΡΡΡ Π½Π°Β Π΅Π³ΠΎ ΠΏΡΠΎΡΡΠΎΡΡ, ΡΒ Π°Π²ΡΠΎΠ²Π»Π°Π΄Π΅Π»ΡΡΠ΅Π² Β«ΡΠ΅ΡΡΠ΅ΡΠΊΠΈΒ» Π²ΠΎΠ·Π½ΠΈΠΊΠ°ΡΡ ΡΠΈΡΡΠ°ΡΠΈΠΈ, ΠΊΠΎΠ³Π΄Π° ΡΡΠ΅Π±ΡΠ΅ΡΡΡ Π·Π°ΠΌΠ΅Π½Π° ΡΡΡΡΠΎΠΉΡΡΠ²Π°. Π£ΡΠΈΡΡΠ²Π°Ρ Π²ΠΎΠ·ΡΠ°ΡΡ Π°Π²ΡΠΎΠΌΠΎΠ±ΠΈΠ»Ρ, ΠΌΠ΅Ρ Π°Π½ΠΈΠ·ΠΌ ΠΌΠΎΠΆΠ΅Ρ ΡΠ»ΠΎΠΌΠ°ΡΡΡΡ ΠΈΠ»ΠΈ ΡΠ°Π±ΠΎΡΠ°ΡΡ ΡΠΎΒ ΡΠ±ΠΎΡΠΌΠΈ.
- ΠΠ΅ΠΌΠΎΠ½ΡΠΈΡΡΠΉΡΠ΅ Π΄Π²Π΅ΡΡ, Π³Π΄Π΅ Π±ΡΠ΄Π΅Ρ ΠΎΡΡΡΠ΅ΡΡΠ²Π»ΡΡΡΡΡ Π·Π°ΠΌΠ΅Π½Π° ΡΡΠ΅ΠΊΠ»ΠΎΠΏΠΎΠ΄ΡΠ΅ΠΌΠ½ΠΈΠΊΠ°.
- ΠΡΡΠΎΠ΅Π΄ΠΈΠ½ΠΈΡΠ΅ ΠΏΠ»Π°Π½ΠΊΡ, ΠΏΡΠΈ ΠΏΠΎΠΌΠΎΡΠΈ ΠΊΠΎΡΠΎΡΠΎΠΉ ΡΡΠ΅ΠΊΠ»ΠΎ ΠΊΡΠ΅ΠΏΠΈΡΡΡ ΠΊΒ ΡΡΠΎΡΡ ΠΏΠΎΠ΄ΡΠ΅ΠΌΠ½ΠΎΠ³ΠΎ ΠΌΠ΅Ρ Π°Π½ΠΈΠ·ΠΌΠ°. Π‘Π°ΠΌ ΡΡΠΎΡ ΠΎΡΠΎΠ΄Π²ΠΈΠ½ΡΡΠ΅ Π²Β ΡΡΠΎΡΠΎΠ½Ρ ΠΈΒ ΡΠ½ΠΈΠΌΠΈΡΠ΅ ΡΡΡΡΠΎΠΉΡΡΠ²ΠΎ.
- ΠΡΠΎΠ²Π΅ΡΡΡΠ΅, ΠΊΠ°ΠΊ Π»Π΅Π³ΠΊΠΎ Π²ΡΠ°ΡΠ°ΡΡΡΡ ΡΠΎΠ»ΠΈΠΊΠΈ. ΠΡΠ»ΠΈ ΡΡΠ΅Π±ΡΠ΅ΡΡΡ, ΡΠΌΠ°ΠΆΡΡΠ΅ ΠΈΡ
Β Π»ΠΈΡΠΎΠ»ΠΎΠΌ.

- ΠΠ°Β ΡΡΠ°ΡΠ½ΡΠ΅ ΡΠΎΠ΅Π΄ΠΈΠ½Π΅Π½ΠΈΡ ΠΏΡΠΈΠΊΡΠ΅ΠΏΠΈΡΠ΅ Π½ΠΎΠ²ΡΠΉ ΠΌΠ΅Ρ Π°Π½ΠΈΠ·ΠΌ, ΠΏΡΠΎΠΏΡΡΡΠΈΠ² ΡΡΠΎΡ ΠΏΠΎΒ ΡΠΎΠ»ΠΈΠΊΠ°ΠΌ, ΠΊΠ°ΠΊ ΡΠΊΠ°Π·Π°Π½ΠΎ Π²Β ΡΡ Π΅ΠΌΠ΅ ΡΡΡΠ°Π½ΠΎΠ²ΠΊΠΈ.
- ΠΠ°ΡΡΠ½ΠΈΡΠ΅ ΡΡΠΎΡ Π½Π°Β ΡΠΎΠ»ΠΈΠΊΠΈ Π±Π΅Π· ΠΏΡΠΎΠ²ΠΈΡΠ°Π½ΠΈΡ ΠΈΒ ΡΠΈΠ»ΡΠ½ΠΎΠ³ΠΎ Π½Π°ΡΡΠΆΠ΅Π½ΠΈΡ.
- ΠΠ°ΠΊΡΠ΅ΠΏΠΈΡΠ΅ ΡΡΡΠΊΠΈ, Π²ΡΠ°ΡΠ°Ρ ΠΏΡΠΈ ΡΡΠΎΠΌ ΠΏΠΎΠ΄ΡΠ΅ΠΌΠ½ΡΠΉ ΠΌΠ΅Ρ Π°Π½ΠΈΠ·ΠΌ ΡΡΠ΅ΠΊΠ»ΠΎΠΏΠΎΠ΄ΡΠ΅ΠΌΠ½ΠΈΠΊΠ° ΠΠΠ 2106. ΠΡΡ ΠΊΠΎΠ½ΡΡΡΡΠΊΡΠΈΡ Π΄ΠΎΠ»ΠΆΠ½Π° ΠΎΡΡΡΠ΅ΡΡΠ²Π»ΡΡΡ Π²ΡΠ°ΡΠ΅Π½ΠΈΡ ΠΌΡΠ³ΠΊΠΎ, Π±Π΅Π· ΡΠΎΠ»ΡΠΊΠΎΠ².
- ΠΠ°ΡΠΈΠΊΡΠΈΡΡΠΉΡΠ΅ ΡΡΠ΅ΠΊΠ»ΠΎ Π²Β Π½ΠΈΠΆΠ½Π΅ΠΌ ΠΏΠΎΠ»ΠΎΠΆΠ΅Π½ΠΈΠΈ, ΠΎΠΏΡΡΡΠΈΡΠ΅ ΡΡΡΡΠΎΠΉΡΡΠ²ΠΎ, ΠΏΡΠΈΠΊΡΠ΅ΠΏΠΈΡΠ΅ ΡΡΠΎΡ ΠΊΒ ΠΏΠ»Π°Π½ΠΊΠ΅.
Π£ΡΡΠ°Π½ΠΎΠ²ΠΊΠ° Π·Π°Π΄Π½ΠΈΡ ΡΡΠ΅ΠΊΠ»ΠΎΠΏΠΎΠ΄ΡΠ΅ΠΌΠ½ΠΈΠΊΠΎΠ²
ΠΠ°Π΄Π½ΠΈΠ΅ ΡΠ»Π΅ΠΊΡΡΠΎΡΡΠ΅ΠΊΠ»ΠΎΠΏΠΎΠ΄ΡΠ΅ΠΌΠ½ΠΈΠΊΠΈ Π΄Π»Ρ Π°Π²ΡΠΎΠΌΠΎΠ±ΠΈΠ»Π΅ΠΉ ΠΠΠ ΡΠ°ΠΊΠΆΠ΅ ΠΏΡΠΎΠ΄Π°ΡΡΡΡ ΠΊΠΎΠΌΠΏΠ»Π΅ΠΊΡΠ°ΠΌΠΈ, ΠΏΠΎ 2 ΡΡ. ΠΠ»Ρ ΠΏΠ΅ΡΠ΅Π΄Π½Π΅ΠΏΡΠΈΠ²ΠΎΠ΄Π½ΡΡ Π°Π²ΡΠΎΠΌΠΎΠ±ΠΈΠ»Π΅ΠΉ ΠΠ‘Π 2109 ΠΏΠΎΠ΄Ρ ΠΎΠ΄ΡΡ Π½Π° ΠΌΠΎΠ΄Π΅Π»ΠΈ 21099/2114/2115, Π½Π° 2108 ΡΡΠΈΡ Π΄Π΅ΡΠ°Π»ΠΈ Π½Π΅ ΠΏΡΠΎΠΈΠ·Π²ΠΎΠ΄ΡΡΡΡ, ΡΠ°ΠΊ ΠΊΠ°ΠΊ Ρ Β«Π²ΠΎΡΡΠΌΠ΅ΡΠΊΠΈΒ» Π½Π΅Ρ Π·Π°Π΄Π½ΠΈΡ Π±ΠΎΠΊΠΎΠ²ΡΡ Π΄Π²Π΅ΡΠ΅ΠΉ. Π ΠΊΠΎΠΌΠΏΠ»Π΅ΠΊΡ ΠΠΠ 2109 Β«Π€ΠΎΡΠ²Π°ΡΠ΄Β» Π²Ρ ΠΎΠ΄ΠΈΡ:
- Π΄Π²Π° ΠΏΠΎΠ΄ΡΠ΅ΠΌΠ½ΠΈΠΊΠ° Ρ ΡΠ»Π΅ΠΊΡΡΠΎΠΌΠΎΡΠΎΡΡΠΈΠΊΠ°ΠΌΠΈ;
- ΠΊΠ½ΠΎΠΏΠΊΠΈ 2 ΡΡ.;
- ΡΠ»Π΅ΠΊΡΡΠΎΠΏΡΠΎΠ²ΠΎΠ΄ΠΊΠ° Π½Π° ΠΊΠ°ΠΆΠ΄ΡΡ Π·Π°Π΄Π½ΡΡ Π΄Π²Π΅ΡΡ ΡΠΎ ΡΡΠ΅ΠΊΠ΅ΡΠ°ΠΌΠΈ;
- ΠΊΡΠ΅ΠΏΠ΅ΠΆ β ΡΠ°ΠΌΠΎΡΠ΅Π·Ρ;
- Π·Π°Π³Π»ΡΡΠΊΠΈ Π΄Π΅ΠΊΠΎΡΠ°ΡΠΈΠ²Π½ΡΠ΅;
- ΠΈΠ½ΡΡΡΡΠΊΡΠΈΡ ΠΏΠΎ ΡΡΡΠ°Π½ΠΎΠ²ΠΊΠ΅, ΠΏΠ°ΡΠΏΠΎΡΡ.

ΠΠ°Π΄Π½ΠΈΠ΅ ΡΡΠ΅ΠΊΠ»ΠΎΠΏΠΎΠ΄ΡΠ΅ΠΌΠ½ΠΈΠΊΠΈ 2109 ΡΡΠ°Π²ΡΡΡΡ Π½Π° ΡΡΠ°ΡΠ½ΡΠ΅ ΠΌΠ΅ΡΡΠ° Π±Π΅Π· ΡΠ²Π΅ΡΠ»Π΅Π½ΠΈΡ Π΄Π²Π΅ΡΠ΅ΠΉ, ΠΊΠ°ΠΆΠ΄ΡΠΉ ΠΈΠ· Π½ΠΈΡ ΠΊΡΠ΅ΠΏΠΈΡΡΡ Π΄Π²ΡΠΌΡ Π³Π°ΠΉΠΊΠ°ΠΌΠΈ.
ΠΠ»Π΅ΠΊΡΡΠΎΡΡΠ΅ΠΊΠ»ΠΎΠΏΠΎΠ΄ΡΠ΅ΠΌΠ½ΠΈΠΊΠΈ Β«Π€ΠΎΡΠ²Π°ΡΠ΄Β» ΠΏΡΠΎΠΈΠ·Π²ΠΎΠ΄ΡΡΡΡ Π² Π³ΠΎΡΠΎΠ΄Π΅ ΠΠΆΠ΅Π²ΡΠΊΠ΅, Π΄Π΅ΡΠ°Π»ΠΈ ΠΈΠΌΠ΅ΡΡ ΡΠ΅Π΅ΡΠ½ΡΡ ΠΊΠΎΠ½ΡΡΡΡΠΊΡΠΈΡ β Π½Π° ΡΠ΅ΠΉΠΊΠ΅ ΠΏΠ΅ΡΠ΅ΠΌΠ΅ΡΠ°Π΅ΡΡΡ ΠΊΠ°ΡΠ΅ΡΠΊΠ° Π²ΠΌΠ΅ΡΡΠ΅ ΡΠΎ ΡΡΠ΅ΠΊΠ»ΠΎΠΌ. ΠΠ»Ρ ΠΌΠΎΠ΄Π΅Π»Π΅ΠΉ Π°Π²ΡΠΎ 2110/2111/2112 ΡΠ°ΠΊΠΆΠ΅ ΠΏΠ΅ΡΠ΅ΡΠ²Π΅ΡΠ»ΠΈΠ²Π°ΡΡ Π½ΠΈΡΠ΅Π³ΠΎ Π½Π΅ ΡΡΠ΅Π±ΡΠ΅ΡΡΡ β ΠΌΠ΅Ρ Π°Π½ΠΈΠ·ΠΌΡ Π²ΡΡΠ°ΡΡ Π½Π° ΡΠ²ΠΎΠΈ ΠΌΠ΅ΡΡΠ° Π±Π΅Π· Π΄ΠΎΠΏΠΎΠ»Π½ΠΈΡΠ΅Π»ΡΠ½ΠΎΠΉ ΠΏΠΎΠ΄Π³ΠΎΠ½ΠΊΠΈ.
ΠΠ° Π²Π°Π·ΠΎΠ²ΡΠΊΠΈΡ Π°Π²ΡΠΎΠΌΠΎΠ±ΠΈΠ»ΡΡ 2101-07 ΡΠ»Π΅ΠΊΡΡΠΈΡΠ΅ΡΠΊΠΈΠ΅ ΠΏΠΎΠ΄ΡΠ΅ΠΌΠ½ΠΈΠΊΠΈ ΡΡΠ°Π²ΡΡΡΡ Ρ Π΄ΠΎΠΏΠΎΠ»Π½ΠΈΡΠ΅Π»ΡΠ½ΡΠΌ ΡΠ²Π΅ΡΠ»Π΅Π½ΠΈΠ΅ΠΌ Π΄Π²ΡΡ ΠΎΡΠ²Π΅ΡΡΡΠΈΠΉ. Π Π°Π±ΠΎΡΠ° ΠΏΠΎ ΡΡΡΠ°Π½ΠΎΠ²ΠΊΠ΅ Π·Π°Π΄Π½ΠΈΡ ΠΏΠΎΠ΄ΡΠ΅ΠΌΠ½ΠΈΠΊΠΎΠ² Π½Π΅ΡΠ»ΠΎΠΆΠ½Π°Ρ, ΠΈ ΠΏΡΠ°ΠΊΡΠΈΡΠ΅ΡΠΊΠΈ Π½ΠΈΡΠ΅ΠΌ Π½Π΅ ΠΎΡΠ»ΠΈΡΠ°Π΅ΡΡΡ ΠΎΡ ΠΌΠΎΠ½ΡΠ°ΠΆΠ° ΠΏΠ΅ΡΠ΅Π΄Π½ΠΈΡ ΠΠ‘Π.
Π Π΅ΠΌΠΎΠ½Ρ ΡΡΠ΅ΠΊΠ»ΠΎΠΏΠΎΠ΄ΡΡΠΌΠ½ΠΈΠΊΠ°
ΠΠΎΡΠΊΠΎΠ»ΡΠΊΡ ΡΠ΅ΠΌΠΎΠ½Ρ ΡΡΠ΅ΠΊΠ»ΠΎΠΏΠΎΠ΄ΡΡΠΌΠ½ΠΈΠΊΠ° Π² Π±ΠΎΠ»ΡΡΠΈΠ½ΡΡΠ²Π΅ ΡΠ»ΡΡΠ°Π΅Π² ΠΏΡΠ΅Π΄ΠΏΠΎΠ»Π°Π³Π°Π΅Ρ Π·Π°ΠΌΠ΅Π½Ρ ΠΌΠ΅Ρ Π°Π½ΠΈΠ·ΠΌΠ°, ΡΡΠΎΠΈΡ ΡΠ°ΡΡΠΌΠΎΡΡΠ΅ΡΡ ΠΏΠΎΡΠ°Π³ΠΎΠ²ΡΠΉ ΠΏΡΠΎΡΠ΅ΡΡ ΠΎΡ ΡΠ½ΡΡΠΈΡ Π΄ΠΎ ΡΡΡΠ°Π½ΠΎΠ²ΠΊΠΈ. ΠΠ»Ρ ΡΡΠΎΠ³ΠΎ ΠΏΠΎΠ½Π°Π΄ΠΎΠ±ΠΈΡΡΡ ΡΠ»Π΅Π΄ΡΡΡΠΈΠΉ ΠΏΠ΅ΡΠ΅ΡΠ΅Π½Ρ ΠΈΠ½ΡΡΡΡΠΌΠ΅Π½ΡΠΎΠ²:
- Π³ΠΎΠ»ΠΎΠ²ΠΊΠΈ ΠΈΠ»ΠΈ ΠΊΠ»ΡΡΠΈ Π½Π° 8 ΠΈ 10;
- ΡΠ΄Π»ΠΈΠ½ΠΈΡΠ΅Π»Ρ;
- ΡΡΠ΅ΡΠΎΡΠΎΡΠ½Π°Ρ ΡΡΠΊΠΎΡΡΠΊΠ°;
- ΠΏΠ»ΠΎΡΠΊΠ°Ρ ΠΈ ΠΊΡΠ΅ΡΡΠΎΠ²Π°Ρ ΠΎΡΠ²ΡΡΡΠΊΠΈ.

ΠΠ΅ΠΌΠΎΠ½ΡΠ°ΠΆ ΡΡΠ΅ΠΊΠ»ΠΎΠΏΠΎΠ΄ΡΡΠΌΠ½ΠΈΠΊΠ°
ΠΠΎΡΡΠ΄ΠΎΠΊ Π΄Π΅ΠΉΡΡΠ²ΠΈΠΉ ΠΏΠΎ ΡΠ½ΡΡΠΈΡ ΡΡΡΡΠΎΠΉΡΡΠ²Π° Ρ Π°Π²ΡΠΎΠΌΠΎΠ±ΠΈΠ»Ρ ΡΠ°ΠΊΠΎΠ²:
- ΠΡΠ²ΡΡΡΠΊΠΎΠΉ ΠΏΠΎΠ΄Π΄Π΅Π²Π°Π΅ΠΌ ΠΈ Π²ΡΠ½ΠΈΠΌΠ°Π΅ΠΌ Π·Π°Π³Π»ΡΡΠΊΠΈ Π½Π° ΠΏΠΎΠ΄Π»ΠΎΠΊΠΎΡΠ½ΠΈΠΊΠ΅. ΠΠΎΠ΄Π΄Π΅Π²Π°Π΅ΠΌ ΠΎΡΠ²ΡΡΡΠΊΠΎΠΉ ΠΈ Π²ΡΠ½ΠΈΠΌΠ°Π΅ΠΌ Π·Π°Π³Π»ΡΡΠΊΠΈ ΠΏΠΎΠ΄Π»ΠΎΠΊΠΎΡΠ½ΠΈΠΊΠ°
- ΠΡΠ΅ΡΡΠΎΠ²ΠΎΠΉ ΠΎΡΠ²ΡΡΡΠΊΠΎΠΉ ΠΎΡΠΊΡΡΡΠΈΠ²Π°Π΅ΠΌ ΠΊΡΠ΅ΠΏΠ»Π΅Π½ΠΈΠ΅ ΠΏΠΎΠ΄Π»ΠΎΠΊΠΎΡΠ½ΠΈΠΊΠ° ΠΊ Π΄Π²Π΅ΡΠΈ ΠΈ ΡΠ½ΠΈΠΌΠ°Π΅ΠΌ Π΅Π³ΠΎ. ΠΡΠ²Π΅ΡΠ½ΡΠ² ΠΊΡΠ΅ΠΏΠ»Π΅Π½ΠΈΠ΅ ΠΏΠΎΠ΄Π»ΠΎΠΊΠΎΡΠ½ΠΈΠΊΠ°, ΡΠ½ΠΈΠΌΠ°Π΅ΠΌ Π΅Π³ΠΎ Ρ Π΄Π²Π΅ΡΠΈ
- Π‘Π½ΠΈΠΌΠ°Π΅ΠΌ ΠΎΠ±Π»ΠΈΡΠΎΠ²ΠΊΡ ΡΡΡΠΊΠΈ ΡΡΠ΅ΠΊΠ»ΠΎΠΏΠΎΠ΄ΡΡΠΌΠ½ΠΈΠΊΠ°, Π΄Π»Ρ ΡΠ΅Π³ΠΎ Π²ΡΡΠ°Π²Π»ΡΠ΅ΠΌ ΠΏΠ»ΠΎΡΠΊΡΡ ΠΎΡΠ²ΡΡΡΠΊΡ ΠΌΠ΅ΠΆΠ΄Ρ ΡΠΎΠ·Π΅ΡΠΊΠΎΠΉ ΠΈ ΡΠ»Π΅ΠΌΠ΅Π½ΡΠΎΠΌ ΠΎΠ±Π»ΠΈΡΠΎΠ²ΠΊΠΈ. ΠΠΎΠ΄Π΄Π΅Π²Π°Π΅ΠΌ ΠΎΡΠ²ΡΡΡΠΊΠΎΠΉ ΠΈ ΡΠ½ΠΈΠΌΠ°Π΅ΠΌ ΠΎΠ±Π»ΠΈΡΠΎΠ²ΠΊΡ ΡΡΡΠΊΠΈ ΡΡΠ΅ΠΊΠ»ΠΎΠΏΠΎΠ΄ΡΡΠΌΠ½ΠΈΠΊΠ°
- ΠΠ΅ΠΌΠΎΠ½ΡΠΈΡΡΠ΅ΠΌ ΡΡΡΠΊΡ ΠΈ ΡΠΎΠ·Π΅ΡΠΊΡ. Π‘Π½ΠΈΠΌΠ°Π΅ΠΌ Ρ Π΄Π²Π΅ΡΠΈ ΡΡΡΠΊΡ ΡΡΠ΅ΠΊΠ»ΠΎΠΏΠΎΠ΄ΡΡΠΌΠ½ΠΈΠΊΠ° ΠΈ ΡΠΎΠ·Π΅ΡΠΊΡ
- ΠΠΎΠ΄Π΄Π΅Π²Π°Π΅ΠΌ ΠΏΠ»ΠΎΡΠΊΠΎΠΉ ΠΎΡΠ²ΡΡΡΠΊΠΎΠΉ ΠΈ ΡΠ½ΠΈΠΌΠ°Π΅ΠΌ ΠΎΠ±Π»ΠΈΡΠΎΠ²ΠΊΡ Π²Π½ΡΡΡΠ΅Π½Π½Π΅ΠΉ Π΄Π²Π΅ΡΠ½ΠΎΠΉ ΡΡΡΠΊΠΈ. ΠΠ»Ρ ΡΠ½ΡΡΠΈΠ΅ ΠΎΠ±Π»ΠΈΡΠΎΠ²ΠΊΠΈ Π΄Π²Π΅ΡΠ½ΠΎΠΉ ΡΡΡΠΊΠΈ ΠΏΠΎΠ΄Π΄Π΅Π²Π°Π΅ΠΌ Π΅Ρ ΠΏΠ»ΠΎΡΠΊΠΎΠΉ ΠΎΡΠ²ΡΡΡΠΊΠΎΠΉ
- ΠΠ°Π²ΠΎΠ΄ΠΈΠΌ ΡΠ»ΠΈΡΠ΅Π²ΡΡ ΠΎΡΠ²ΡΡΡΠΊΡ ΠΈ Π²ΡΡΠ°Π»ΠΊΠΈΠ²Π°Π΅ΠΌ 7 ΠΊΠ»ΠΈΠΏΡ, ΠΊΠΎΡΠΎΡΡΠΌΠΈ ΡΠ΄Π΅ΡΠΆΠΈΠ²Π°Π΅ΡΡΡ ΠΎΠ±ΠΈΠ²ΠΊΠ° Π΄Π²Π΅ΡΠΈ ΠΏΠΎ Π±ΠΎΠΊΠ°ΠΌ. ΠΠ²Π΅ΡΠ½Π°Ρ ΠΎΠ±ΠΈΠ²ΠΊΠ° ΡΠ΄Π΅ΡΠΆΠΈΠ²Π°Π΅ΡΡΡ ΠΏΡΠΈ ΠΏΠΎΠΌΠΎΡΠΈ ΠΊΠ»ΠΈΠΏΡ, ΠΊΠΎΡΠΎΡΡΠ΅ Π½Π΅ΠΎΠ±Ρ ΠΎΠ΄ΠΈΠΌΠΎ ΠΏΠΎΠ΄Π΄Π΅ΡΡ ΠΎΡΠ²ΡΡΡΠΊΠΎΠΉ
- Π‘Π»Π΅Π³ΠΊΠ° ΠΎΠΏΡΡΠΊΠ°Π΅ΠΌ ΠΎΠ±ΠΈΠ²ΠΊΡ ΠΈ ΡΠ½ΠΈΠΌΠ°Π΅ΠΌ Π΅Ρ Ρ Π²Π½ΡΡΡΠ΅Π½Π½Π΅ΠΉ Π΄Π²Π΅ΡΠ½ΠΎΠΉ ΡΡΡΠΊΠΈ.
ΠΠ΅ΠΌΠΎΠ½ΡΠΈΡΡΠ΅ΠΌ ΠΎΠ±ΠΈΠ²ΠΊΡ Ρ Π΄Π²Π΅ΡΠΈ, ΡΠ»Π΅Π³ΠΊΠ° ΠΎΠΏΡΡΡΠΈΠ² Π΅Ρ - ΠΠΎΠ»Π½ΠΎΡΡΡΡ ΠΎΠΏΡΡΠΊΠ°Π΅ΠΌ ΡΡΠ΅ΠΊΠ»ΠΎ ΠΈ ΠΎΡΠΊΡΡΡΠΈΠ²Π°Π΅ΠΌ Π·Π°ΠΆΠΈΠΌ ΡΡΠΎΡΠ° ΠΊΡΠ΅ΡΡΠΎΠ²ΠΎΠΉ ΠΎΡΠ²ΡΡΡΠΊΠΎΠΉ. Π’ΡΠΎΡ ΠΊΡΠ΅ΠΏΠΈΡΡΡ ΠΊ Π΄Π²Π΅ΡΠ½ΠΎΠΌΡ ΡΡΠ΅ΠΊΠ»Ρ ΠΏΡΠΈ ΠΏΠΎΠΌΠΎΡΠΈ ΡΠΎΠΎΡΠ²Π΅ΡΡΡΠ²ΡΡΡΠ΅Π³ΠΎ Π·Π°ΠΆΠΈΠΌΠ°
- ΠΡΠ²ΠΎΡΠ°ΡΠΈΠ²Π°Π΅ΠΌ ΠΊΡΠ΅ΠΏΠ»Π΅Π½ΠΈΠ΅ Π½Π°ΡΡΠΆΠ½ΠΎΠ³ΠΎ ΡΠΎΠ»ΠΈΠΊΠ°, ΠΏΠΎΡΠ»Π΅ ΡΠ΅Π³ΠΎ ΡΠ΄Π²ΠΈΠ³Π°Π΅ΠΌ Π΅Π³ΠΎ ΠΈ ΠΎΡΠ»Π°Π±Π»ΡΠ΅ΠΌ Π½Π°ΡΡΠΆΠ΅Π½ΠΈΠ΅ ΡΡΠΎΡΠ° ΡΡΠ΅ΠΊΠ»ΠΎΠΏΠΎΠ΄ΡΡΠΌΠ½ΠΈΠΊΠ°. Π§ΡΠΎΠ±Ρ ΠΎΡΠΏΡΡΡΠΈΡΡ Π½Π°ΡΡΠΆΠ½ΠΎΠΉ ΡΠΎΠ»ΠΈΠΊ ΠΎΡΠ²ΠΎΡΠ°ΡΠΈΠ²Π°Π΅ΠΌ Π³Π°ΠΉΠΊΡ ΠΊΠ»ΡΡΠΎΠΌ Π½Π° 10
- Π‘Π½ΠΈΠΌΠ°Π΅ΠΌ ΡΡΠΎΡ Ρ ΠΎΡΡΠ°Π»ΡΠ½ΡΡ ΡΠΎΠ»ΠΈΠΊΠΎΠ².
- ΠΡΠΊΡΡΡΠΈΠ²Π°Π΅ΠΌ ΠΊΡΠ΅ΠΏΠ»Π΅Π½ΠΈΠ΅ ΠΌΠ΅Ρ Π°Π½ΠΈΠ·ΠΌΠ° ΠΈ Π²ΡΠ½ΠΈΠΌΠ°Π΅ΠΌ Π΅Π³ΠΎ ΠΈΠ· Π΄Π²Π΅ΡΠΈ. ΠΠ»Ρ ΡΠ½ΡΡΠΈΡ ΡΡΠ΅ΠΊΠ»ΠΎΠΏΠΎΠ΄ΡΡΠΌΠ½ΠΈΠΊΠ° ΠΎΡΠ²ΠΎΡΠ°ΡΠΈΠ²Π°Π΅ΠΌ 3 ΠΊΡΠ΅ΠΏΡΠΆΠ½ΡΠ΅ Π³Π°ΠΉΠΊΠΈ
- ΠΡΠ»ΠΈ Π½Π°ΡΡΠΆΠ½ΠΎΠΉ ΡΠΎΠ»ΠΈΠΊ ΠΏΡΠΈΡΡΠ» Π² Π½Π΅Π³ΠΎΠ΄Π½ΠΎΡΡΡ, ΡΡΠΎ ΠΌΠΎΠΆΠ½ΠΎ ΠΎΠΏΡΠ΅Π΄Π΅Π»ΠΈΡΡ ΠΏΠΎ Π΅Π³ΠΎ Π²Π½Π΅ΡΠ½Π΅ΠΌΡ ΡΠΎΡΡΠΎΡΠ½ΠΈΡ, ΡΠΎΠ³Π΄Π° ΠΏΠΎΠ»Π½ΠΎΡΡΡΡ ΠΎΡΠΊΡΡΡΠΈΠ²Π°Π΅ΠΌ Π΅Π³ΠΎ ΠΊΡΠ΅ΠΏΠ»Π΅Π½ΠΈΠ΅ Π΄Π»Ρ Π·Π°ΠΌΠ΅Π½Ρ Π½Π° Π½ΠΎΠ²ΡΡ Π΄Π΅ΡΠ°Π»Ρ. ΠΠ»Ρ Π·Π°ΠΌΠ΅Π½Ρ Π½Π°ΡΡΠΆΠ½ΠΎΠ³ΠΎ ΡΠΎΠ»ΠΈΠΊΠ° Π½Π΅ΠΎΠ±Ρ ΠΎΠ΄ΠΈΠΌΠΎ ΠΏΠΎΠ»Π½ΠΎΡΡΡΡ ΠΎΡΠ²Π΅ΡΠ½ΡΡΡ Π΅Π³ΠΎ ΠΊΡΠ΅ΠΏΠ»Π΅Π½ΠΈΠ΅
ΠΠ°ΠΌΠ΅Π½Π° ΡΠΎΠ»ΠΈΠΊΠΎΠ²
Π ΠΎΠ»ΠΈΠΊΠΈ ΡΡΠ΅ΠΊΠ»ΠΎΠΏΠΎΠ΄ΡΡΠΌΠ½ΠΈΠΊΠ° ΡΠΎ Π²ΡΠ΅ΠΌΠ΅Π½Π΅ΠΌ Π²ΡΡ
ΠΎΠ΄ΡΡ ΠΈΠ· ΡΡΡΠΎΡ. ΠΠΎΡΠΊΠΎΠ»ΡΠΊΡ Π½Π°ΠΈΠ±ΠΎΠ»Π΅Π΅ ΠΏΡΠΎΠ±Π»Π΅ΠΌΠ°ΡΠΈΡΠ½ΠΎΠΉ ΡΠ²Π»ΡΠ΅ΡΡΡ Π·Π°ΠΌΠ΅Π½Π° Π²Π΅ΡΡ
Π½Π΅Π³ΠΎ ΡΠ»Π΅ΠΌΠ΅Π½ΡΠ°, ΡΠΎ Π½Π° ΡΡΠΎΠΌ ΠΏΡΠΎΡΠ΅ΡΡΠ΅ ΠΎΡΡΠ°Π½ΠΎΠ²ΠΈΠΌΡΡ Π±ΠΎΠ»Π΅Π΅ ΠΏΠΎΠ΄ΡΠΎΠ±Π½ΠΎ.
ΠΠ΅ΡΠ°Π»Ρ ΠΊ Π΄Π²Π΅ΡΠΈ Π²Π΅ΡΡ
Π½Π΅ΠΉ ΡΠ°ΡΡΡΡ ΡΠΈΠΊΡΠΈΡΡΠ΅ΡΡΡ ΠΊΡΡΡΠΊΠ°ΠΌΠΈ, Π° Π½ΠΈΠΆΠ½Π΅ΠΉ ΠΏΠΎΡΡΠ΅Π΄ΡΡΠ²ΠΎΠΌ ΡΠ²Π°ΡΠΊΠΈ. ΠΠ»Ρ ΡΠ°Π±ΠΎΡΡ ΠΏΠΎΡΡΠ΅Π±ΡΠ΅ΡΡΡ ΡΠ»Π΅Π΄ΡΡΡΠΈΠΉ Π½Π°Π±ΠΎΡ ΠΈΠ½ΡΡΡΡΠΌΠ΅Π½ΡΠΎΠ²:
- Π½Π°Π±ΠΎΡ ΡΠ²ΡΡΠ»;
- ΡΠ»Π΅ΠΊΡΡΠΎΠ΄ΡΠ΅Π»Ρ;
- ΠΏΠ»ΠΎΡΠΊΠ°Ρ ΠΎΡΠ²ΡΡΡΠΊΠ°;
- ΠΌΠΎΠ»ΠΎΡΠΎΠΊ;
- Π½ΠΎΠ²ΡΠΉ ΡΠΎΠ»ΠΈΠΊ.
ΠΠ΅ΡΡ Π½ΠΈΠΉ ΡΠΎΠ»ΠΈΠΊ ΡΠΎΡΡΠΎΠΈΡ ΠΈΠ· Π½Π΅ΠΏΠΎΡΡΠ΅Π΄ΡΡΠ²Π΅Π½Π½ΠΎ ΡΠΎΠ»ΠΈΠΊΠ° ΠΈ ΠΊΡΠ΅ΠΏΡΠΆΠ½ΠΎΠΉ ΠΏΠ»Π°ΡΡΠΈΠ½Ρ
ΠΡΠΎΡΠ΅Π΄ΡΡΠ° Π·Π°ΠΌΠ΅Π½Ρ ΡΠΎΡΡΠΎΠΈΡ ΠΈΠ· ΡΠ»Π΅Π΄ΡΡΡΠΈΡ ΡΠ°Π³ΠΎΠ²:
- ΠΠ»Ρ ΡΠ½ΡΡΠΈΡ ΡΠΎΠ»ΠΈΠΊΠ° Π²ΡΡΠ²Π΅ΡΠ»ΠΈΠ²Π°Π΅ΠΌ ΠΌΠ΅ΡΠ°Π»Π» Π² ΠΌΠ΅ΡΡΠ΅ ΠΊΡΠ΅ΠΏΠ»Π΅Π½ΠΈΡ ΠΏΠ»Π°ΡΡΠΈΠ½Ρ ΡΠ²Π΅ΡΠ»ΠΎΠΌ 4 ΠΌΠΌ.
- ΠΠ½ΡΡΡΡ Π΄Π²Π΅ΡΠΈ Π·Π°Π³ΠΎΠ½ΡΠ΅ΠΌ ΠΏΠ»ΠΎΡΠΊΡΡ ΠΎΡΠ²ΡΡΡΠΊΡ ΠΏΠΎΠ΄ ΠΏΠ»Π°ΡΡΠΈΠ½Ρ ΡΠΎΠ»ΠΈΠΊΠ° ΠΈ ΡΠ±ΠΈΠ²Π°Π΅ΠΌ Π΅Ρ ΡΠ΄Π°ΡΠ°ΠΌΠΈ ΠΌΠΎΠ»ΠΎΡΠΊΠ°, Π΄Π΅ΠΌΠΎΠ½ΡΠΈΡΡΡ ΡΠΎΠ»ΠΈΠΊ. Π‘ΠΎ Π²ΡΠ΅ΠΌΠ΅Π½Π΅ΠΌ ΡΠΎΠ»ΠΈΠΊΠΈ ΡΡΠ΅ΠΊΠ»ΠΎΠΏΠΎΠ΄ΡΡΠΌΠ½ΠΈΠΊΠ° ΠΏΠ΅ΡΠ΅ΡΠΈΡΠ°ΡΡΡΡ ΡΡΠΎΡΠΎΠΌ
- ΠΠΎ ΠΎΡΠ²Π΅ΡΡΡΠΈΡ Π² Π½ΠΎΠ²ΠΎΠΉ ΠΏΠ»Π°ΡΡΠΈΠ½Π΅ ΡΠ²Π΅ΡΠ»ΠΈΠΌ ΠΊΡΠ΅ΠΏΡΠΆΠ½ΠΎΠ΅ ΠΎΡΠ²Π΅ΡΡΡΠΈΠ΅ Π² Π΄Π²Π΅ΡΠΈ.
- Π£ΡΡΠ°Π½Π°Π²Π»ΠΈΠ²Π°Π΅ΠΌ Π½ΠΎΠ²ΡΠΉ ΡΠΎΠ»ΠΈΠΊ ΠΈ ΠΊΡΠ΅ΠΏΠΈΠΌ Π΅Π³ΠΎ Π·Π°ΠΊΠ»ΡΠΏΠΊΠΎΠΉ ΠΈΠ»ΠΈ Π±ΠΎΠ»ΡΠΎΠΌ Ρ Π³Π°ΠΉΠΊΠΎΠΉ. ΠΠΎΠ²ΡΠΉ ΡΠΎΠ»ΠΈΠΊ ΠΊΡΠ΅ΠΏΠΈΡΡΡ Π·Π°ΠΊΠ»ΡΠΏΠΊΠΎΠΉ ΠΈΠ»ΠΈ Π±ΠΎΠ»ΡΠΎΠΌ Ρ Π³Π°ΠΉΠΊΠΎΠΉ
ΠΠΈΠ΄Π΅ΠΎ: Π·Π°ΠΌΠ΅Π½Π° Π²Π΅ΡΡ Π½Π΅Π³ΠΎ ΡΠΎΠ»ΠΈΠΊΠ° ΡΡΠ΅ΠΊΠ»ΠΎΠΏΠΎΠ΄ΡΡΠΌΠ½ΠΈΠΊΠ°
Π£ΡΡΠ°Π½ΠΎΠ²ΠΊΠ° ΡΡΠ΅ΠΊΠ»ΠΎΠΏΠΎΠ΄ΡΡΠΌΠ½ΠΈΠΊΠ°
ΠΠ΅ΡΠ΅Π΄ ΠΌΠΎΠ½ΡΠ°ΠΆΠΎΠΌ Π½ΠΎΠ²ΠΎΠ³ΠΎ ΡΡΠ΅ΠΊΠ»ΠΎΠΏΠΎΠ΄ΡΡΠΌΠ½ΠΈΠΊΠ° Π½Π΅ΠΎΠ±Ρ
ΠΎΠ΄ΠΈΠΌΠΎ ΠΏΡΠΎΠ²Π΅ΡΠΈΡΡ, ΡΠ²ΠΎΠ±ΠΎΠ΄Π½ΠΎ Π»ΠΈ Π²ΡΠ°ΡΠ°ΡΡΡΡ ΡΠΎΠ»ΠΈΠΊΠΈ.
ΠΡΠ»ΠΈ ΡΡΠ΅Π±ΡΠ΅ΡΡΡ, ΡΠΌΠ°Π·ΡΠ²Π°Π΅ΠΌ ΠΈΡ
ΠΠΈΡΠΎΠ»ΠΎΠΌ. Π‘ΠΊΠΎΠ±Ρ, ΠΊΠΎΡΠΎΡΠΎΠΉ ΡΠΈΠΊΡΠΈΡΡΠ΅ΡΡΡ ΡΡΠΎΡ, Π·Π°ΡΠ°Π½Π΅Π΅ ΡΠ½ΠΈΠΌΠ°ΡΡ Π½Π΅ ΡΠ»Π΅Π΄ΡΠ΅Ρ, ΡΡΠΎΠ±Ρ Π½Π΅ Π·Π°ΠΏΡΡΠ°ΡΡ ΠΌΠ΅Ρ
Π°Π½ΠΈΠ·ΠΌ, ΠΏΠΎΡΠΊΠΎΠ»ΡΠΊΡ Π² ΠΈΡΡ
ΠΎΠ΄Π½ΠΎΠ΅ ΠΏΠΎΠ»ΠΎΠΆΠ΅Π½ΠΈΠ΅ Π²Π΅ΡΠ½ΡΡΡ Π²ΡΡ Π±ΡΠ΄Π΅Ρ Π΄ΠΎΠ²ΠΎΠ»ΡΠ½ΠΎ ΠΏΡΠΎΠ±Π»Π΅ΠΌΠ°ΡΠΈΡΠ½ΠΎ. ΠΠΎΠ½ΡΠ°ΠΆ ΠΏΡΠΎΠΈΠ·Π²ΠΎΠ΄ΠΈΠΌ ΡΠ»Π΅Π΄ΡΡΡΠΈΠΌ ΠΎΠ±ΡΠ°Π·ΠΎΠΌ:
- Π£ΡΡΠ°Π½Π°Π²Π»ΠΈΠ²Π°Π΅ΠΌ ΡΡΠ΅ΠΊΠ»ΠΎΠΏΠΎΠ΄ΡΡΠΌΠ½ΠΈΠΊ Π½Π° ΠΌΠ΅ΡΡΠΎ, ΡΠΈΠΊΡΠΈΡΡΡ Π΅Π³ΠΎ Π³Π°ΠΉΠΊΠ°ΠΌΠΈ.
- Π‘Π½ΠΈΠΌΠ°Π΅ΠΌ ΡΠΊΠΎΠ±Ρ ΠΈ Π·Π°Π²ΠΎΠ΄ΠΈΠΌ ΡΡΠΎΡΠΈΠΊ Π½Π° ΡΠΎΠ»ΠΈΠΊΠΈ ΠΏΠΎ ΡΡ Π΅ΠΌΠ΅. Π’ΡΠΎΡ ΡΡΠ΅ΠΊΠ»ΠΎΠΏΠΎΠ΄ΡΡΠΌΠ½ΠΈΠΊΠ° ΡΠ΅ΡΠ΅Π· ΡΠΎΠ»ΠΈΠΊΠΈ Π΄ΠΎΠ»ΠΆΠ΅Π½ ΠΏΡΠΎΡ ΠΎΠ΄ΠΈΡΡ ΠΏΠΎ ΠΎΠΏΡΠ΅Π΄Π΅Π»ΡΠ½Π½ΠΎΠΉ ΡΡ Π΅ΠΌΠ΅
- Π Π΅Π³ΡΠ»ΠΈΡΡΠ΅ΠΌ Π½Π°ΡΡΠΆΠ΅Π½ΠΈΠ΅ ΡΡΠΎΡΠ° ΡΠΎΠΎΡΠ²Π΅ΡΡΡΠ²ΡΡΡΠΈΠΌ ΡΠΎΠ»ΠΈΠΊΠΎΠΌ ΠΈ Π·Π°ΡΡΠ³ΠΈΠ²Π°Π΅ΠΌ ΠΊΡΠ΅ΠΏΠ»Π΅Π½ΠΈΠ΅ ΠΏΠΎΡΠ»Π΅Π΄Π½Π΅Π³ΠΎ.
- Π€ΠΈΠΊΡΠΈΡΡΠ΅ΠΌ ΡΡΠΎΡ ΠΊ ΡΡΠ΅ΠΊΠ»Ρ. ΠΡΠ΅ΡΡΠΎΠ²ΠΎΠΉ ΠΎΡΠ²ΡΡΡΠΊΠΎΠΉ Π·Π°ΠΆΠΈΠΌΠ°Π΅ΠΌ ΠΊΡΠ΅ΠΏΡΠΆΠ½ΡΠΉ Π²ΠΈΠ½Ρ Π·Π°ΠΆΠΈΠΌΠ°
- ΠΡΠΎΠ²Π΅ΡΡΠ΅ΠΌ ΡΠ°Π±ΠΎΡΠΎΡΠΏΠΎΡΠΎΠ±Π½ΠΎΡΡΡ ΠΌΠ΅Ρ Π°Π½ΠΈΠ·ΠΌΠ°.
- Π£ΡΡΠ°Π½Π°Π²Π»ΠΈΠ²Π°Π΅ΠΌ ΠΎΠ±ΠΈΠ²ΠΊΡ ΠΈ ΡΡΡΠΊΡ Π΄Π²Π΅ΡΠΈ, Π° ΡΠ°ΠΊΠΆΠ΅ ΡΡΡΠΊΡ ΡΡΠ΅ΠΊΠ»ΠΎΠΏΠΎΠ΄ΡΡΠΌΠ½ΠΈΠΊΠ°.
ΠΠΈΠ΄Π΅ΠΎ: Π·Π°ΠΌΠ΅Π½Π° ΡΡΠ΅ΠΊΠ»ΠΎΠΏΠΎΠ΄ΡΡΠΌΠ½ΠΈΠΊΠ° Π½Π° ΠΠΠ 2106
ΠΡΠΎΠ±Π΅Π½Π½ΠΎΡΡΠΈ ΠΊΠΎΠ½ΡΡΡΡΠΊΡΠΈΠΈ
ΠΠΎΠ»ΡΡΠΈΠ½ΡΡΠ²ΠΎ Π²Π»Π°Π΄Π΅Π»ΡΡΠ΅Π² ΡΠ΅Π΄ΡΠΌΠΎΠΉ ΠΌΠΎΠ΄Π΅Π»ΠΈ Π½ΠΎΠ²ΠΎΠ³ΠΎ ΠΏΠΎΠΊΠΎΠ»Π΅Π½ΠΈΡ ΡΠ²Π΅ΡΠ΅Π½Ρ Π² ΡΠΎΠΌ, ΡΡΠΎ ΠΏΡΠΎΡΠ΅ΡΡ Π·Π°ΠΌΠ΅Π½Ρ ΡΡΠ΅ΠΊΠ»ΠΎΠΏΠΎΠ΄ΡΠ΅ΠΌΠ½ΠΈΠΊΠ° Π½Π΅ΡΠΊΠΎΠ»ΡΠΊΠΎ ΡΡΠ»ΠΎΠΆΠ½Π΅Π½. ΠΡΠ΅ ΠΏΠΎΡΠΎΠΌΡ, ΡΡΠΎ ΡΡΠ΅ΠΊΠ»ΠΎ ΡΠΎΠ΅Π΄ΠΈΠ½Π΅Π½ΠΎ Ρ ΠΎΠΏΠΎΡΠ°ΠΌΠΈ ΠΈ ΡΡΠΎΡΠΈΠΊΠΎΠΌ Π½Π΅ Π² ΠΎΠ΄Π½ΠΎΠΌ, Π° 2-Ρ
ΠΌΠ΅ΡΡΠ°Ρ
.
Π’Π°ΠΊΠΎΠ΅ ΡΠ΅ΡΠ΅Π½ΠΈΠ΅ ΠΏΠΎΡΡΠ΅Π±ΠΎΠ²Π°Π»ΠΎ Π΄ΠΎΠ±Π°Π²ΠΈΡΡ Π΅ΡΠ΅ ΠΎΠ΄ΠΈΠ½ ΡΠΎΠ»ΠΈΠΊ. Π’Π΅ΠΏΠ΅ΡΡ ΠΈΡ
ΠΈΡΠΏΠΎΠ»ΡΠ·ΡΠ΅ΡΡΡ 4 ΡΡΡΠΊΠΈ (ΡΡΠΈ β Π΄Π»Ρ Π½Π°ΠΏΡΠ°Π²Π»Π΅Π½ΠΈΡ, ΠΎΠ΄ΠΈΠ½ β Π΄Π»Ρ Π½Π°ΡΡΠΆΠ΅Π½ΠΈΡ).
ΠΡΠΎΠΈΠ·Π²Π΅ΡΡΠΈ Π·Π°ΠΌΠ΅Π½Ρ ΡΠ°ΠΌΠΎΡΡΠΎΡΡΠ΅Π»ΡΠ½ΠΎ Π²ΠΏΠΎΠ»Π½Π΅ Π²ΠΎΠ·ΠΌΠΎΠΆΠ½ΠΎ ΠΏΡΠΈ Π½Π°Π»ΠΈΡΠΈΠΈ ΠΏΡΠΎΡΡΡΡ ΠΈΠ½ΡΡΡΡΠΌΠ΅Π½ΡΠΎΠ²:
- ΠΠ»ΡΡΠΈ (8, 10).
- ΠΡΠ΅ΡΡΠΎΠΎΠ±ΡΠ°Π·Π½Π°Ρ ΠΎΡΠ²Π΅ΡΡΠΊΠ°.
ΠΠ°ΠΌΠ΅Π½Π° ΡΡΠ΅ΠΊΠ»ΠΎΠΏΠΎΠ΄ΡΠ΅ΠΌΠ½ΠΈΠΊΠ° Β«ΡΠ΅ΡΡΠ΅ΡΠΊΠΈΒ»
ΠΠ°ΠΊ ΠΏΠΎΡΡΠ°Π²ΠΈΡΡ ΡΡΠ΅ΠΊΠ»ΠΎΠΏΠΎΠ΄ΡΠ΅ΠΌΠ½ΠΈΠΊ Π½Π° Π²Π°Π· 2106? ΠΠΎΡΡΠ΄ΠΎΠΊ Π·Π°ΠΌΠ΅Π½Ρ ΠΈΠ·Π΄Π΅Π»ΠΈΡ ΡΠ»Π΅Π΄ΡΡΡΠΈΠΉ:
Β
- Π Π°Π·Π±ΠΈΡΠ°Π΅ΠΌ Π΄Π²Π΅ΡΡ, Π³Π΄Π΅ Π½Π΅ΠΎΠ±Ρ ΠΎΠ΄ΠΈΠΌΠ° ΡΡΡΠ°Π½ΠΎΠ²ΠΊΠ° ΡΡΠ΅ΠΊΠ»ΠΎΠΏΠΎΠ΄ΡΠ΅ΠΌΠ½ΠΈΠΊΠ° Π²Π·Π°ΠΌΠ΅Π½ Π½Π΅ΠΈΡΠΏΡΠ°Π²Π½ΠΎΠ³ΠΎ ΠΈΠ·Π΄Π΅Π»ΠΈΡ;
- ΠΠ΅ΠΌΠΎΠ½ΡΠ°ΠΆ Π΄Π΅ΡΠ΅ΠΊΡΠ½ΠΎΠ³ΠΎ ΠΈΠ·Π΄Π΅Π»ΠΈΡ Π½Π°ΡΠΈΠ½Π°Π΅ΠΌ ΡΠΎ ΡΠ½ΡΡΠΈΡ ΠΊΡΠ΅ΠΏΠ΅ΠΆΠ½ΠΎΠΉ ΠΏΠ»Π°Π½ΠΊΠΈ ΡΡΠ΅ΠΊΠ»Π° ΠΊ ΡΡΠΎΡΠΈΠΊΡ ΡΡΠ΅ΠΊΠ»ΠΎΠΏΠΎΠ΄ΡΠ΅ΠΌΠ½ΠΈΠΊΠ°;
- ΠΡΠ²ΠΎΠ΄ΠΈΠΌ ΡΡΠΎΡΠΈΠΊ Π² ΠΏΠΎΠ»ΠΎΠΆΠ΅Π½ΠΈΠ΅, Π½Π΅ ΠΏΡΠ΅ΠΏΡΡΡΡΠ²ΡΡΡΠ΅Π΅ ΡΠ°Π±ΠΎΡΠ΅;
- Π‘Π½ΠΈΠΌΠ°Π΅ΠΌ ΡΡΠ°ΡΡΠΉ ΠΌΠ΅Ρ Π°Π½ΠΈΠ·ΠΌ ΡΡΠ΅ΠΊΠ»ΠΎΠΏΠΎΠ΄ΡΠ΅ΠΌΠ½ΠΈΠΊΠ° Π²Π°Π· 2106;
- ΠΡΠΎΠ²Π΅ΡΡΠ΅ΠΌ ΡΠΎΠ»ΠΈΠΊΠΈ Π½Π° ΡΠ²ΠΎΠ±ΠΎΠ΄Π½ΠΎΠ΅ Π²ΡΠ°ΡΠ΅Π½ΠΈΠ΅, Π² ΡΠ»ΡΡΠ°Π΅ ΡΡΠΎΠΏΠΎΡΠ΅Π½ΠΈΡ ΠΏΡΠΈ Π²ΡΠ°ΡΠ΅Π½ΠΈΠΈ ΠΈΡ Π½Π΅ΠΎΠ±Ρ ΠΎΠ΄ΠΈΠΌΠΎ ΡΠΌΠ°Π·Π°ΡΡ Π»ΠΈΡΠΎΠ»ΠΎΠΌ.
ΠΠ°ΠΆΠ½ΠΎΠ΅ Π΄ΠΎΠΏΠΎΠ»Π½Π΅Π½ΠΈΠ΅:
1. ΠΠ°ΠΏΡΠ΅ΡΠ°Π΅ΡΡΡ Π΄Π΅ΠΌΠΎΠ½ΡΠΈΡΠΎΠ²Π°ΡΡ ΡΠΊΠΎΠ±Ρ, ΡΠΈΠΊΡΠΈΡΡΡΡΡΡ ΡΡΠΎΡΠΈΠΊ Π² ΠΊΠ°ΡΡΡΠΊΠ΅ Π² ΡΠΎΠ±ΡΠ°Π½Π½ΠΎΠΉ ΠΊΠΎΠ½Π΄ΠΈΡΠΈΠΈ, ΠΈΠ½Π°ΡΠ΅, Π΅ΡΠ»ΠΈ ΠΏΡΠΈ ΡΠΌΠΎΡΠ°Π½Π½ΠΎΠΌ ΡΠΎΡΡΠΎΡΠ½ΠΈΠΈ ΠΊΠ°ΡΡΡΠΊΠΈ ΡΡΠΎΡ ΡΠΎΠΉΠ΄Π΅Ρ Ρ ΡΠΎΠ»ΠΈΠΊΠΎΠ², ΡΠΎ ΠΏΠΎΠ΄ΡΠ΅ΠΌΠ½ΡΠΉ ΠΌΠ΅Ρ
Π°Π½ΠΈΠ·ΠΌ Π΄Π°ΡΡ ΡΠ±ΠΎΠΉ ΠΈ Π²ΠΎΡΡΡΠ°Π½ΠΎΠ²ΠΈΡΡ Π΅Π³ΠΎ Π² ΠΏΡΠ΅ΠΆΠ½Π΅ΠΉ ΠΊΠΎΠ½Π΄ΠΈΡΠΈΠΈ Π΄ΠΎΡΡΠ°ΡΠΎΡΠ½ΠΎ ΡΠ»ΠΎΠΆΠ½ΠΎ.
2. ΠΡΠΈ ΡΠ°Π·ΠΌΠ°ΡΡΠ²Π°Π½ΠΈΠΈ ΡΡΠΎΡΠ° Π΄Π»Ρ ΡΡΡΠ°Π½ΠΎΠ²ΠΎΡΠ½ΡΡ ΡΠ°Π±ΠΎΡ Π·Π°ΡΠ΅Π»ΠΊΡ ΡΡΠΎΠ³Π°ΡΡ Π·Π°ΠΏΡΠ΅ΡΠ΅Π½ΠΎ.
- ΠΡΠΈΠΊΡΠ΅ΠΏΠ»ΡΠ΅ΠΌ Π½Π° ΡΡΠ°ΡΠ½ΡΠ΅ ΡΠΎΠ΅Π΄ΠΈΠ½Π΅Π½ΠΈΡ ΡΡΠ΅ΠΊΠ»ΠΎΠΏΠΎΠ΄ΡΠ΅ΠΌΠ½ΠΈΠΊΠΈ Π½Π° Π²Π°Π· 2106 Β ΠΈ ΠΏΡΠΎΠΏΡΡΠΊΠ°Π΅ΠΌ ΡΡΠΎΡΠΈΠΊ ΠΏΠΎ ΡΠΎΠ»ΠΈΠΊΠ°ΠΌ ΡΠΎΠ³Π»Π°ΡΠ½ΠΎ ΡΡ Π΅ΠΌΠ΅ ΡΡΡΠ°Π½ΠΎΠ²ΠΊΠΈ;
- Π ΡΠ°ΠΉΠΎΠ½Π΅ ΠΊΠΎΡΠΏΡΡΠ½ΠΎΠΉ ΡΠ°ΡΡΠΈ ΠΏΠΎΠ΄ΡΠ΅ΠΌΠ½ΠΎΠ³ΠΎ ΠΌΠ΅Ρ Π°Π½ΠΈΠ·ΠΌΠ° ΡΡΠΎΡΠΈΠΊ Π΄ΠΎΠ»ΠΆΠ΅Π½ ΠΏΠ΅ΡΠ΅Ρ Π»Π΅ΡΡΡΠ²Π°ΡΡΡΡ, Ρ. Π΅. Π΅Π³ΠΎ ΡΡΠ°ΡΡΠΎΠΊ, Π²ΡΡ ΠΎΠ΄ΡΡΠΈΠΉ Ρ Π½ΠΈΠΆΠ½Π΅ΠΉ ΡΠ°ΡΡΠΈ Π±Π°ΡΠ°Π±Π°Π½Π°, Π½Π°ΠΏΡΠ°Π²Π»Π΅Π½ Π½Π° ΡΠΎΠ»ΠΈΠΊ Π²Π΅ΡΡ Π½Π΅Π³ΠΎ ΡΠ°ΡΠΏΠΎΠ»ΠΎΠΆΠ΅Π½ΠΈΡ, Π° Ρ Π²Π΅ΡΡ Π½Π΅ΠΉ ΡΠ°ΡΡΠΈ Π±Π°ΡΠ°Π±Π°Π½Π° Π½Π° ΡΠΎΠ»ΠΈΠΊ Π΄ΠΎΠ½Π½ΠΎΠ³ΠΎ ΡΠ°ΡΠΏΠΎΠ»ΠΎΠΆΠ΅Π½ΠΈΡ;
- ΠΡΠΎΠΈΠ·Π²ΠΎΠ΄ΠΈΠΌ Π½Π°ΡΡΠΆΠΊΡ ΡΡΠΎΡΠΈΠΊΠ° Π½Π° ΡΠΎΠ»ΠΈΠΊΠΈ, Π΄Π»Ρ ΡΠ΅Π³ΠΎ ΠΎΡΠ»Π°Π±Π»ΡΠ΅ΠΌ ΡΠΎΠ»ΠΈΠΊ ΡΠ½ΠΈΠ·Ρ, ΠΏΠΎΠ΄Π»Π΅ΠΆΠ°ΡΠΈΠΉ ΡΠ΅Π³ΡΠ»ΠΈΡΠΎΠ²ΠΊΠ΅, ΠΈ Π½Π°ΡΡΠ³ΠΈΠ²Π°Π΅ΠΌ Π΅Π³ΠΎ ΠΏΠΎ ΠΏΡΠΈΠ»Π°Π³Π°Π΅ΠΌΠΎΠΉ ΡΡ Π΅ΠΌΠ΅:
- ΠΡΠ»ΠΈ ΡΠ°Π·ΠΌΠ΅ΡΠ° ΡΡΠΎΡΠΈΠΊΠ° Π±ΡΠ΄Π΅Ρ Π½Π΅ Ρ Π²Π°ΡΠ°ΡΡ, ΡΠΎ ΡΡΠ΅Π±ΡΠ΅ΡΡΡ Π½Π°ΡΡΠ½ΡΡΡ Π΅Π³ΠΎ Π½Π° 2 ΡΠΎΠ»ΠΈΠΊΠ° ΠΈ ΠΎΡΠ²ΠΎΠ±ΠΎΠ΄ΠΈΡΡ Π·Π°ΡΠ΅Π»ΠΊΡ β ΡΠΈΠΊΡΠ°ΡΠΎΡ ΠΈ Π±Π΅Π· ΠΏΡΠΎΠ²ΠΈΡΠ°Π½ΠΈΡ ΠΏΠΎΡΡΠ°Π²ΠΈΡΡ Π΅Π³ΠΎ Π½Π° ΡΠΎΠ»ΠΈΠΊΠΎΠ²ΡΠ΅ ΡΠ»Π΅ΠΌΠ΅Π½ΡΡ;
- ΠΠΎΡΠ»Π΅ ΡΡΡΠ°Π½ΠΎΠ²ΠΊΠΈ ΡΡΠ΅ΠΊΠ»ΠΎΠΏΠΎΠ΄ΡΠ΅ΠΌΠ½ΠΈΠΊΠ° Π½Π°ΡΡΠ³ΠΈΠ²Π°Π΅ΠΌ ΡΡΠΎΡΠΈΠΊ Π±Π΅Π· ΠΏΡΠΎΠ²ΠΈΡΠ°Π½ΠΈΡ, Π½ΠΎ ΠΈ Π±Π΅Π· ΠΎΡΠΎΠ±Π΅Π½Π½ΠΎΠΉ Π½Π°ΡΡΠΆΠΊΠΈ. Π ΡΠ»ΡΡΠ°Π΅, Π΅ΡΠ»ΠΈ ΡΠΈΠΊΡΠ°ΡΠΎΡΠ½ΠΎΠ΅ ΡΡΡΡΠΎΠΉΡΡΠ²ΠΎ Π½Π΅ ΡΠ½ΠΈΠΌΠ°Π»ΠΎΡΡ, ΡΠΎ ΡΠ΅ΠΏΠ΅ΡΡ Π΅Π³ΠΎ ΠΌΠΎΠΆΠ½ΠΎ ΠΎΡΠ²ΠΎΠ±ΠΎΠ΄ΠΈΡΡ.
- ΠΡΠΈ Π·Π°ΠΊΡΠ΅ΠΏΠ»Π΅Π½ΠΈΠΈ ΡΡΡΠ΅ΠΊ ΡΡΠ΅ΠΊΠ»ΠΎΠΏΠΎΠ΄ΡΠ΅ΠΌΠ½ΠΈΠΊΠΎΠ² Π²Π°Π· 2106 Π²ΡΠ°ΡΠ°Π΅ΠΌ ΠΏΠΎΠ΄ΡΠ΅ΠΌΠ½ΡΠΉ Β ΠΌΠ΅Ρ
Π°Π½ΠΈΠ·ΠΌ ΡΡΠ΅ΠΊΠ»ΠΎΠΏΠΎΠ΄ΡΠ΅ΠΌΠ½ΠΈΠΊΠ°, ΠΏΡΠΈ ΡΡΠΎΠΌ Π²ΡΡ ΡΠΈΡΡΠ΅ΠΌΠ° Π΄ΠΎΠ»ΠΆΠ½Π° Π²ΡΠ°ΡΠ°ΡΡΡΡ ΠΏΠ»Π°Π²Π½ΠΎ, Π±Π΅Π· ΡΠΎΠ»ΡΠΊΠΎΠ² ΠΈ Π·Π°Π΅Π΄Π°Π½ΠΈΠΉ.
Π’Π΅ΠΏΠ΅ΡΡ ΠΏΠ΅ΡΠ΅Π²ΠΎΠ΄ΠΈΠΌ ΡΡΠ΅ΠΊΠ»ΠΎ Π² Π½ΠΈΠΆΠ½Π΅Π΅ ΠΏΠΎΠ»ΠΎΠΆΠ΅Π½ΠΈΠ΅, ΠΎΠΏΡΡΠΊΠ°Π΅ΠΌ ΡΡΠ΅ΠΊΠ»ΠΎΠΏΠΎΠ΄ΡΠ΅ΠΌΠ½ΠΈΠΊΠΈ, ΠΏΡΠΈΠΊΡΠ΅ΠΏΠ»ΡΠ΅ΠΌ ΡΡΠΎΡΠΈΠΊ ΠΊ ΠΏΠ»Π°Π½ΠΊΠ΅.
ΠΡΠΎΡΠ΅Π΄ΡΡΡ ΡΠ½ΡΡΠΈΡ ΠΈ ΠΌΠΎΠ½ΡΠ°ΠΆΠ° ΡΡΠ΅ΠΊΠ»ΠΎΠΏΠΎΠ΄ΡΠ΅ΠΌΠ½ΠΈΠΊΠ° Π½Π° Π²Π°Π· 2106 Π½Π° Π²ΠΈΠ΄Π΅ΠΎ ΡΠΎΠ»ΠΈΠΊΠ΅ ΠΌΠΎΠΆΠ½ΠΎ ΠΏΠΎΡΠΌΠΎΡΡΠ΅ΡΡ Π½Π° Π½Π°ΡΠ΅ΠΌ ΠΈΠ½ΡΠ΅ΡΠ½Π΅Ρ β ΡΠ΅ΡΡΡΡΠ΅.
Π£ΡΡΡΠΎΠΉΡΡΠ²ΠΎ ΠΈ Π²ΠΈΠ΄Ρ ΡΡΠ΅ΠΊΠ»ΠΎΠΏΠΎΠ΄ΡΠ΅ΠΌΠ½ΠΈΠΊΠΎΠ²
ΠΠ΅Ρ Π°Π½ΠΈΡΠ΅ΡΠΊΠΈΠΉ ΡΡΠ΅ΠΊΠ»ΠΎΠΏΠΎΠ΄ΡΠ΅ΠΌΠ½ΠΈΠΊ Π½Π° ΠΠΠ 2106 ΠΈΠΌΠ΅Π΅Ρ ΠΏΡΠΎΡΡΡΡ ΠΊΠΎΠ½ΡΡΡΡΠΊΡΠΈΡ ΠΈ ΡΠΎΡΡΠΎΠΈΡ ΠΈΠ· ΡΠΏΡΠ°Π²Π»ΡΡΡΠ΅ΠΉ ΡΡΡΠΊΠΈ, ΡΠΈΡΡΠ΅ΠΌΡ ΡΡΠ°Π½ΡΠ»ΡΡΠΈΠΈ ΠΏΠΎΠ΄ΡΠ΅ΠΌΠ° ΡΡΠ΅ΠΊΠ»Π°, ΡΡΠΎΡΠ° ΠΈ ΡΡΠ΅Ρ ΡΠΎΠ»ΠΈΠΊΠΎΠ².
ΠΠ½ΠΎΠ³ΠΈΠ΅ Π²ΠΎΠ΄ΠΈΡΠ΅Π»ΠΈ ΡΡΡΠ°Π½Π°Π²Π»ΠΈΠ²Π°ΡΡ Π²ΠΌΠ΅ΡΡΠΎ ΠΊΠ»Π°ΡΡΠΈΡΠ΅ΡΠΊΠΈΡ ΡΡΠ΅ΠΊΠ»ΠΎΠΏΠΎΠ΄ΡΠ΅ΠΌΠ½ΠΈΠΊΠΎΠ² ΡΠ»Π΅ΠΊΡΡΠΈΡΠ΅ΡΠΊΠΈΠ΅.
ΠΠ½ΠΈ Π±ΡΠ²Π°ΡΡ Π΄Π²ΡΡ Π²ΠΈΠ΄ΠΎΠ²:
- Π’ΡΠΎΡΠΎΠ²ΡΠ΅. Π ΠΊΠΎΠ½ΡΡΡΡΠΊΡΠΈΡ Π²Ρ ΠΎΠ΄ΠΈΡ ΡΠ»Π΅ΠΊΡΡΠΎΠ΄Π²ΠΈΠ³Π°ΡΠ΅Π»Ρ Ρ Π±Π°ΡΠ°Π±Π°Π½ΠΎΠΌ, Π½Π° ΠΊΠΎΡΠΎΡΠΎΠΌ Π½Π°ΠΌΠΎΡΠ°Π½ ΡΡΠΎΡ, ΠΈ ΡΠ΅Π΄ΡΠΊΡΠΎΡ. ΠΠ΅ΡΡ Π½ΠΈΠΉ Π±Π°ΡΠ°Π±Π°Π½ ΡΠΎΠ΅Π΄ΠΈΠ½ΡΠ΅ΡΡΡ Ρ ΠΎΠ±ΡΡΠ½ΡΠΌ ΡΡΠ΅ΠΊΠ»ΠΎΠΏΠΎΠ΄ΡΠ΅ΠΌΠ½ΡΠΌ ΡΡΡΡΠΎΠΉΡΡΠ²ΠΎΠΌ Ρ ΠΏΠΎΠΌΠΎΡΡΡ ΡΠ»ΠΈΡΡ. Π‘ Π΅Π³ΠΎ ΠΏΠΎΠΌΠΎΡΡΡ ΡΡΠΎΡ ΠΏΡΠΈΠ²ΠΎΠ΄ΠΈΡΡΡ Π² Π΄Π΅ΠΉΡΡΠ²ΠΈΠ΅.
- Π Π΅Π΅ΡΠ½ΡΠ΅. Π Π½ΠΈΡ ΠΈΡΠΏΠΎΠ»ΡΠ·ΡΠ΅ΡΡΡ ΠΏΡΠΈΠ½ΡΠΈΠΏ ΡΡΠ»Π΅Π²ΠΎΠΉ ΡΠ΅ΠΉΠΊΠΈ Π² Π°Π²ΡΠΎΠΌΠΎΠ±ΠΈΠ»Π΅.
Π§ΡΠΎΠ±Ρ ΡΡΡΠ°Π½ΠΎΠ²ΠΈΡΡ ΡΠ»Π΅ΠΊΡΡΠΎΠΌΠ΅Ρ
Π°Π½ΠΈΠ·ΠΌ, Π½ΡΠΆΠ½ΠΎ ΠΏΡΠΈΠΎΠ±ΡΠ΅ΡΡΠΈ ΠΊΠΎΠΌΠΏΠ»Π΅ΠΊΡ, ΡΠΎΡΡΠΎΡΡΠΈΠΉ ΠΈΠ· ΠΏΡΠΎΠ²ΠΎΠ΄ΠΎΠ², ΠΊΡΠ΅ΠΏΠ΅ΠΆΠ½ΡΡ
Π΄Π΅ΡΠ°Π»Π΅ΠΉ, ΡΠΏΡΠ°Π²Π»ΡΡΡΠΈΡ
ΠΊΠ»Π°Π²ΠΈΡ Ρ ΠΏΠΎΠ΄ΡΠ²Π΅ΡΠΊΠΎΠΉ, Π΄Π΅ΠΊΠΎΡΠ°ΡΠΈΠ²Π½ΠΎΠΉ Π·Π°Π³Π»ΡΡΠΊΠΈ, ΠΈΠ½ΡΡΡΡΠΊΡΠΈΡ ΠΏΠΎ ΡΡΡΠ°Π½ΠΎΠ²ΠΊΠ΅ (Π°Π²ΡΠΎΡ Π²ΠΈΠ΄Π΅ΠΎ β VALENTIN VERNIGORA)./179.gif)
ΠΠ½ΡΡΡΡΠΊΡΠΈΡ ΠΏΠΎΒ ΡΠ½ΡΡΠΈΡ
ΠΠ»Ρ Π²ΡΠΏΠΎΠ»Π½Π΅Π½ΠΈΡ ΡΠ°Π±ΠΎΡ ΠΏΠΎΡΡΠ΅Π±ΡΡΡΡΡ ΡΠ»Π΅Π΄ΡΡΡΠΈΠ΅ ΠΈΠ½ΡΡΡΡΠΌΠ΅Π½ΡΡ:
- ΠΊΡΠ΅ΡΡΠΎΠΎΠ±ΡΠ°Π·Π½Π°Ρ ΠΈΒ ΠΏΠ»ΠΎΡΠΊΠ°Ρ ΠΎΡΠ²Π΅ΡΡΠΊΠΈ;
- Π½Π°Π±ΠΎΡ ΠΊΠ»ΡΡΠ΅ΠΉ;
- Π²ΠΎΡΠΎΡΠΎΠΊ;
- ΡΠ΄Π»ΠΈΠ½ΠΈΡΠ΅Π»Ρ.
ΠΡΠΎΡΠ΅Π΄ΡΡΠ° ΡΠ½ΡΡΠΈΡ ΡΠΎΡΡΠΎΠΈΡ ΠΈΠ·Β ΡΡΠ°ΠΏΠΎΠ²:
- ΠΒ ΠΏΠ΅ΡΠ²ΡΡ ΠΎΡΠ΅ΡΠ΅Π΄Ρ Π½ΡΠΆΠ½ΠΎ ΡΠ½ΡΡΡ ΠΎΠ±ΡΠΈΠ²ΠΊΡ.
- ΠΠ°Π»Π΅Π΅ ΠΎΠΏΡΡΠΊΠ°Π΅ΡΡΡ ΠΌΠ°ΠΊΡΠΈΠΌΠ°Π»ΡΠ½ΠΎ Π²Π½ΠΈΠ· ΡΡΠ΅ΠΊΠ»ΠΎ. ΠΡΠ΅ΡΡΠΎΠΎΠ±ΡΠ°Π·Π½ΠΎΠΉ ΠΎΡΠ²Π΅ΡΡΠΊΠΎΠΉ Π²ΡΠΊΡΡΡΠΈΠ²Π°Π΅ΡΡΡ Π±ΠΎΠ»Ρ, ΡΠ΄Π΅ΡΠΆΠΈΠ²Π°ΡΡΠΈΠΉ Π·Π°ΠΆΠΈΠΌ.
- ΠΡΠΊΡΡΡΠΈΠ² Π±ΠΎΠ»Ρ, ΠΎΠΏΡΡΠΊΠ°Π΅ΠΌ Π²Π½ΠΈΠ· Π·Π°ΠΆΠΈΠΌ.
- ΠΠ°ΡΠ΅ΠΌ Π²Β Π»Π΅Π²ΠΎΠΉ ΡΠ°ΡΡΠΈ Π΄Π²Π΅ΡΠΈ Π΄ΠΎΡΡΠ°ΡΠΎΡΠ½ΠΎ ΠΎΡΠ»Π°Π±ΠΈΡΡ Π³Π°ΠΉΠΊΡ ΡΠΎΠ»ΠΈΠΊΠ° ΡΒ ΠΏΠΎΠΌΠΎΡΡΡ Π³Π°Π΅ΡΠ½ΠΎΠ³ΠΎ ΠΊΠ»ΡΡΠ°.
- Π’Π΅ΠΏΠ΅ΡΡ ΡΡΠΎΡ ΡΠ²ΠΎΠ±ΠΎΠ΄Π΅Π½, ΠΈΒ Π΅Π³ΠΎ ΠΌΠΎΠΆΠ½ΠΎ ΡΠ½ΡΡΡ ΡΒ ΡΠΎΠ»ΠΈΠΊΠ°.
- ΠΠ°Π»Π΅Π΅ Π²ΡΠΊΡΡΡΠΈΠ²Π°ΡΡΡΡ ΡΡΠΈ Π³Π°ΠΉΠΊΠΈ, ΡΠ΄Π΅ΡΠΆΠΈΠ²Π°ΡΡΠΈΠ΅ ΡΡΠ΅ΠΊΠ»ΠΎΠΏΠΎΠ΄ΡΠ΅ΠΌΠ½ΠΈΠΊ.
- ΠΡΠΊΡΡΡΠΈΠ²Π°Ρ ΡΡΠ΅ΡΠΈΠΉ Π±ΠΎΠ»Ρ, ΠΌΠ΅Ρ Π°Π½ΠΈΠ·ΠΌ ΡΠ»Π΅Π΄ΡΠ΅Ρ ΠΏΡΠΈΠ΄Π΅ΡΠΆΠΈΠ²Π°ΡΡ ΡΒ Π²Π½ΡΡΡΠ΅Π½Π½Π΅ΠΉ ΡΡΠΎΡΠΎΠ½Ρ.
- ΠΠΎΠ³Π΄Π° ΡΡΠ΅ΠΊΠ»ΠΎΠΏΠΎΠ΄ΡΠ΅ΠΌΠ½ΡΠΉ ΠΌΠ΅Ρ Π°Π½ΠΈΠ·ΠΌ Π±ΡΠ΄Π΅Ρ ΡΠ²ΠΎΠ±ΠΎΠ΄Π΅Π½, ΠΎΡΠ²ΠΎΠ΄ΠΈΠΌ Π΅Π³ΠΎ Π²Β ΡΡΠΎΡΠΎΠ½Ρ.
- ΠΡΠΊΡΡΡΠΈΠ² ΠΏΠΎΡΠ»Π΅Π΄Π½ΡΡ Π³Π°ΠΉΠΊΡ ΠΌΠΎΠΆΠ½ΠΎ ΡΠ½ΠΈΠΌΠ°ΡΡ ΡΡΠ΅ΠΊΠ»ΠΎΠΏΠΎΠ΄ΡΠ΅ΠΌΠ½ΠΈΠΊ ΡΒ Π΄Π²Π΅ΡΠΈ.
ΠΠ°Π»Π΅Π΅ ΠΏΡΠΎΠΈΠ·Π²ΠΎΠ΄ΠΈΡΡΡ ΡΠ΅ΠΌΠΎΠ½Ρ ΠΈΠ»ΠΈ Π·Π°ΠΌΠ΅Π½Π°. ΠΠ°Π΄Π½ΠΈΠΉ ΠΌΠ΅Ρ
Π°Π½ΠΈΠ·ΠΌ ΡΡΡΠ°Π½Π°Π²Π»ΠΈΠ²Π°Π΅ΡΡΡ Π°Π½Π°Π»ΠΎΠ³ΠΈΡΠ½ΠΎ.
Π£ΡΡΠ°Π½ΠΎΠ²ΠΊΠ° ΡΡΠ΅ΠΊΠ»ΠΎΠΏΠΎΠ΄ΡΠ΅ΠΌΠ½ΠΈΠΊΠΎΠ² Π½Π° ΠΠΠ 2106
Π ΠΎΡΠ»ΠΈΡΠΈΠ΅ ΠΎΡ ΡΡΠ΅ΠΊΠΎΠ» ΠΠΈΠ³ΡΠ»Π΅ΠΉ Β«ΡΠ΅ΠΌΠ΅ΡΠΊΠΈΒ», Π½Π° ΡΡΠ΅ΠΊΠ»Π°Ρ ΠΌΠΎΠ΄Π΅Π»Π΅ΠΉ 2106 ΡΡΡΠ°Π½Π°Π²Π»ΠΈΠ²Π°ΡΡΡΡ ΡΠΎΡΡΠΎΡΠΊΠΈ. ΠΠ»Ρ ΡΠ΅ΡΡΠ΅ΡΠΊΠΈ ΡΠ°ΠΊΠΆΠ΅ ΠΏΡΠΎΠΈΠ·Π²ΠΎΠ΄ΡΡΡΡ ΠΊΠΎΠΌΠΏΠ»Π΅ΠΊΡΡ ΠΏΠ΅ΡΠ΅Π΄Π½ΠΈΡ ΠΠ‘Π, Π΄Π΅ΡΠ°Π»ΠΈ ΡΡΠ°Π²ΡΡΡΡ Π½Π° ΠΌΠ°ΡΠΈΠ½Ρ ΠΠΠ 2101/2102 (ΡΠ½ΠΈΠ²Π΅ΡΡΠ°Π»)/2103/2106. Π ΠΊΠΎΠΌΠΏΠ»Π΅ΠΊΡ Β«Π€ΠΎΡΠ²Π°ΡΠ΄Β» Π²Ρ ΠΎΠ΄ΠΈΡ:
- Π΄Π²Π° ΡΠ»Π΅ΠΊΡΡΠΎΡΡΠ΅ΠΊΠ»ΠΎΠΏΠΎΠ΄ΡΠ΅ΠΌΠ½ΠΈΠΊΠ°;
- Π²ΠΈΠ½ΡΡ, Π±ΠΎΠ»ΡΡ ΠΈ ΡΠ°ΠΉΠ±Ρ;
- Π΄Π΅ΠΊΠΎΡΠ°ΡΠΈΠ²Π½ΡΠ΅ Π·Π°Π³Π»ΡΡΠΊΠΈ;
- ΡΠΈΠΊΡΠ°ΡΠΎΡΡ;
- ΠΏΠ΅ΡΠ΅Ρ ΠΎΠ΄Π½ΡΠ΅ ΠΏΠ»Π°ΡΡΠΈΠ½Ρ;
- ΠΏΡΠΎΠ²ΠΎΠ΄Π° Ρ ΡΠ°Π·ΡΠ΅ΠΌΠ°ΠΌΠΈ Π΄Π»Ρ ΠΏΠΎΠ΄ΠΊΠ»ΡΡΠ΅Π½ΠΈΡ;
- Π΄Π²Π΅ ΠΊΠ½ΠΎΠΏΠΊΠΈ.
Π£ΡΡΠ°Π½ΠΎΠ²ΠΊΠ° ΠΠ‘Π ΠΏΡΠΎΠΈΠ·Π²ΠΎΠ΄ΠΈΡΡΡ ΡΠ°ΠΊ ΠΆΠ΅, ΠΊΠ°ΠΊ ΠΈ Π½Π° Π°Π²ΡΠΎΠΌΠΎΠ±ΠΈΠ»Π΅ 2107, ΡΠ°Π±ΠΎΡΡ Π½Π°ΡΠΈΠ½Π°Π΅ΠΌ Ρ ΡΠ°Π·Π±ΠΎΡΠΊΠΈ Π΄Π²Π΅ΡΠΈ. Π‘ΡΠ°ΡΡΠΉ ΠΌΠ΅Ρ Π°Π½ΠΈΡΠ΅ΡΠΊΠΈΠΉ ΡΡΠ΅ΠΊΠ»ΠΎΠΏΠΎΠ΄ΡΠ΅ΠΌΠ½ΠΈΠΊ ΠΌΠΎΠΆΠ½ΠΎ ΠΎΡΡΠ°Π²ΠΈΡΡ Π½Π° ΠΌΠ΅ΡΡΠ΅, ΠΏΠ΅ΡΠ΅ΡΠ΅Π·Π°Π² ΡΡΠΎΡΠΈΠΊΠΈ ΠΌΠ΅Ρ Π°Π½ΠΈΠ·ΠΌΠ°. ΠΠ°Π»ΡΡΠ΅ ΠΏΠΎΡΡΡΠΏΠ°Π΅ΠΌ ΡΠ»Π΅Π΄ΡΡΡΠΈΠΌ ΠΎΠ±ΡΠ°Π·ΠΎΠΌ:
Π£ΡΡΠ°Π½ΠΎΠ²ΠΊΠ° ΡΡΠ΅ΠΊΠ»ΠΎΠΏΠΎΠ΄ΡΠ΅ΠΌΠ½ΠΈΠΊΠΎΠ² Π½Π° ΠΠΠ 2106 Π²ΡΠΏΠΎΠ»Π½ΡΠ΅ΡΡΡ Π½Π΅ΡΠ»ΠΎΠΆΠ½ΠΎ, Π½Π΅ΠΎΠ±Ρ ΠΎΠ΄ΠΈΠΌΠΎ ΡΠΎΠ»ΡΠΊΠΎ Π΄Π΅Π»Π°ΡΡ Π²ΡΠ΅ ΠΏΠΎ ΠΈΠ½ΡΡΡΡΠΊΡΠΈΠΈ.
ΠΠ»Π΅ΠΊΡΡΠΎΡΡΠ΅ΠΊΠ»ΠΎΠΏΠΎΠ΄ΡΠ΅ΠΌΠ½ΠΈΠΊΠΈ Π½Π° ΠΠΠ 2106
ΠΠ°Π»ΠΈΡΠΈΠ΅ ΡΠ»Π΅ΠΊΡΡΠΎΡΡΠ΅ΠΊΠ»ΠΎΠΏΠΎΠ΄ΡΡΠΌΠ½ΠΈΠΊΠΎΠ² Π² ΡΠΎΠ²ΡΠ΅ΠΌΠ΅Π½Π½ΡΡ
Π°Π²ΡΠΎΠΌΠΎΠ±ΠΈΠ»ΡΡ
Π½Π΅ ΡΠ²Π»ΡΠ΅ΡΡΡ ΡΠΎΡΠΊΠΎΡΡΡ. ΠΡΠΎ ΡΠ΄ΠΎΠ±Π½ΠΎΠ΅ ΠΏΡΠΈΡΠΏΠΎΡΠΎΠ±Π»Π΅Π½ΠΈΠ΅, ΠΎΠ±Π»Π΅Π³ΡΠ°ΡΡΠ΅Π΅ ΠΏΡΠΎΡΠ΅ΡΡ ΠΏΠΎΠ΄ΡΠ΅ΠΌΠ°-ΠΎΠΏΡΡΠΊΠ°Π½ΠΈΡ ΡΡΠ΅ΠΊΠΎΠ», ΠΏΡΠΎΡΡΠΎ Π΄ΠΎΠ»ΠΆΠ½ΠΎ Π±ΡΡΡ Π² ΠΌΠ°ΡΠΈΠ½Π΅, Π² ΡΠΎΠΌ ΡΠΈΡΠ»Π΅ ΠΈ Π² Π°Π²ΡΠΎ ΠΠΠ 2106.
Π Π°Π·Π±Π΅ΡΠ΅ΠΌΡΡ, ΠΊΠ°ΠΊ ΠΎΡΡΡΠ΅ΡΡΠ²Π»ΡΠ΅ΡΡΡ ΡΡΡΠ°Π½ΠΎΠ²ΠΊΠ° ΡΡΠ΅ΠΊΠ»ΠΎΠΏΠΎΠ΄ΡΠ΅ΠΌΠ½ΠΈΠΊΠΎΠ², Π½Π°ΡΠΊΠΎΠ»ΡΠΊΠΎ ΡΠ»ΠΎΠΆΠ½Π° Π·Π°ΠΌΠ΅Π½Π° ΡΡΠ°ΡΠ½ΠΎΠ³ΠΎ ΠΌΠ΅Ρ
Π°Π½ΠΈΠ·ΠΌΠ° ΠΈ ΠΊΠ°ΠΊ ΡΡΠΎ ΡΠ΄Π΅Π»Π°ΡΡ ΡΠ²ΠΎΠΈΠΌΠΈ ΡΡΠΊΠ°ΠΌΠΈ.
ΠΠ°ΠΌΠ΅Π½Π° ΠΊΠ»Π°ΡΡΠΈΡΠ΅ΡΠΊΠΎΠ³ΠΎ ΠΌΠ΅Ρ Π°Π½ΠΈΠ·ΠΌΠ°
ΠΠ»Ρ ΠΠΠ 2106 ΠΌΠ΅Ρ Π°Π½ΠΈΠ·ΠΌΡ Π΄Π»Ρ ΠΏΠΎΠ΄Π½ΡΡΠΈΡ ΡΡΠ΅ΠΊΠΎΠ» Π±ΡΠ²Π°ΡΡ Π΄Π²ΡΡ ΡΠ°Π·Π½ΠΎΠ²ΠΈΠ΄Π½ΠΎΡΡΠ΅ΠΉ:
| ΠΠΈΠ΄Ρ | Π₯Π°ΡΠ°ΠΊΡΠ΅ΡΠΈΡΡΠΈΠΊΠΈ |
| Π’ΡΠΎΡΠΎΠ²ΡΠ΅. | Π‘ΠΎΡΡΠΎΡΡ ΠΈΠ· ΡΠ»Π΅ΠΊΡΡΠΎΠΏΡΠΈΠ²ΠΎΠ΄Π° Ρ ΡΠ΅Π΄ΡΠΊΡΠΎΡΠΎΠΌ ΠΈ ΠΊΠ°ΡΡΡΠΊΠΎΠΉ Ρ Π½Π°ΠΌΠΎΡΠ°Π½Π½ΡΠΌ ΡΡΠΎΡΠΎΠΌ. ΠΠ΅ΡΡ Π½ΠΈΠΉ Π±Π°ΡΠ°Π±Π°Π½ ΡΠΎΠ΅Π΄ΠΈΠ½Π΅Π½ Ρ ΠΊΠ»Π°ΡΡΠΈΡΠ΅ΡΠΊΠΈΠΌ ΡΡΠ΅ΠΊΠ»ΠΎΠΏΠΎΠ΄ΡΠ΅ΠΌΠ½ΠΈΠΊΠΎΠΌ ΡΠ΅ΡΠ΅Π· ΡΠ»ΠΈΡΡ, ΠΏΡΠ΅Π΄Π½Π°Π·Π½Π°ΡΠ΅Π½ Π΄Π»Ρ ΠΏΡΠΈΠ²Π΅Π΄Π΅Π½ΠΈΡ Π² Π΄Π΅ΠΉΡΡΠ²ΠΈΠ΅ ΡΡΠΎΡΠ°. |
| Π Π΅Π΅ΡΠ½ΡΠ΅. | ΠΠΌΠ΅ΡΡ ΠΈΠ½ΡΡ ΠΊΠΎΠ½ΡΡΡΡΠΊΡΠΈΡ ΠΈ ΡΠ°Π±ΠΎΡΠ°ΡΡ ΠΏΠΎ ΠΏΡΠΈΠ½ΡΠΈΠΏΡ ΡΡΠ»Π΅Π²ΠΎΠΉ ΡΠ΅ΠΉΠΊΠΈ Π² Π°Π²ΡΠΎ. Π’Π°ΠΊΠΈΠ΅ ΡΡΡΡΠΎΠΉΡΡΠ²Π° Ρ ΠΎΡΠΎΡΠΈ Π΄Π»Ρ Π°Π²ΡΠΎΠΌΠΎΠ±ΠΈΠ»ΡΠ½ΡΡ ΡΡΠ΅ΠΊΠΎΠ» Ρ ΡΡΠ³ΠΈΠΌ Ρ ΠΎΠ΄ΠΎΠΌ, ΡΠ°ΠΊ ΠΊΠ°ΠΊ ΡΠ°ΠΌ ΠΌΠ΅Ρ Π°Π½ΠΈΠ·ΠΌ ΠΈΠΌΠ΅Π΅Ρ Π»Π΅Π³ΠΊΠΈΠΉ Ρ ΠΎΠ΄. |
ΠΠ»Π°ΡΡΠΈΡΠ΅ΡΠΊΠΈΠΉ ΠΌΠ΅Ρ
Π°Π½ΠΈΠ·ΠΌ Π½Π° ΠΠΠ 2106 ΠΏΡΠ΅Π΄ΡΡΠ°Π²Π»ΡΠ΅Ρ ΡΠΎΠ±ΠΎΠΉ ΠΏΡΠΎΡΡΠΎΠ΅ ΡΡΡΡΠΎΠΉΡΡΠ²ΠΎ Π΄Π»Ρ ΠΏΠΎΠ΄Π½ΡΡΠΈΡ-ΠΎΠΏΡΡΠΊΠ°Π½ΠΈΡ ΡΡΠ΅ΠΊΠΎΠ», ΠΊΠΎΡΠΎΡΠΎΠ΅ ΡΠΏΡΠ°Π²Π»ΡΠ΅ΡΡΡ ΠΏΡΠΈ ΠΏΠΎΠΌΠΎΡΠΈ ΡΡΡΠΊΠΈ. ΠΠ΅ΡΠΌΠΎΡΡΡ Π½Π° Π΅Π³ΠΎ ΠΏΡΠΎΡΡΠΎΡΡ, Ρ Π°Π²ΡΠΎΠ²Π»Π°Π΄Π΅Π»ΡΡΠ΅Π² Β«ΡΠ΅ΡΡΠ΅ΡΠΊΠΈΒ» Π²ΠΎΠ·Π½ΠΈΠΊΠ°ΡΡ ΡΠΈΡΡΠ°ΡΠΈΠΈ, ΠΊΠΎΠ³Π΄Π° ΡΡΠ΅Π±ΡΠ΅ΡΡΡ Π·Π°ΠΌΠ΅Π½Π° ΡΡΡΡΠΎΠΉΡΡΠ²Π°.
Π£ΡΠΈΡΡΠ²Π°Ρ Π²ΠΎΠ·ΡΠ°ΡΡ Π°Π²ΡΠΎΠΌΠΎΠ±ΠΈΠ»Ρ, ΠΌΠ΅Ρ
Π°Π½ΠΈΠ·ΠΌ ΠΌΠΎΠΆΠ΅Ρ ΡΠ»ΠΎΠΌΠ°ΡΡΡΡ ΠΈΠ»ΠΈ ΡΠ°Π±ΠΎΡΠ°ΡΡ ΡΠΎ ΡΠ±ΠΎΡΠΌΠΈ.
ΠΠΎΡΡΠ΄ΠΎΠΊ Π²Π°ΡΠΈΡ Π΄Π΅ΠΉΡΡΠ²ΠΈΠΉ ΠΏΡΠΈ ΠΏΡΠΎΠ²Π΅Π΄Π΅Π½ΠΈΠΈ ΠΏΡΠΎΡΠ΅Π΄ΡΡΡ ΡΠ½ΡΡΠΈΡ Π½Π΅ΠΈΡΠΏΡΠ°Π²Π½ΠΎΠ³ΠΎ ΠΈΠ·Π΄Π΅Π»ΠΈΡ ΠΈ ΡΡΡΠ°Π½ΠΎΠ²ΠΊΠΈ Π½ΠΎΠ²ΠΎΠ³ΠΎ, ΡΠ»Π΅Π΄ΡΡΡΠΈΠΉ.
- ΠΠ΅ΠΌΠΎΠ½ΡΠΈΡΡΠΉΡΠ΅ Π΄Π²Π΅ΡΡ, Π³Π΄Π΅ Π±ΡΠ΄Π΅Ρ ΠΎΡΡΡΠ΅ΡΡΠ²Π»ΡΡΡΡΡ Π·Π°ΠΌΠ΅Π½Π° ΡΡΠ΅ΠΊΠ»ΠΎΠΏΠΎΠ΄ΡΠ΅ΠΌΠ½ΠΈΠΊΠ°.
- ΠΡΡΠΎΠ΅Π΄ΠΈΠ½ΠΈΡΠ΅ ΠΏΠ»Π°Π½ΠΊΡ, ΠΏΡΠΈ ΠΏΠΎΠΌΠΎΡΠΈ ΠΊΠΎΡΠΎΡΠΎΠΉ ΡΡΠ΅ΠΊΠ»ΠΎ ΠΊΡΠ΅ΠΏΠΈΡΡΡ ΠΊ ΡΡΠΎΡΡ ΠΏΠΎΠ΄ΡΠ΅ΠΌΠ½ΠΎΠ³ΠΎ ΠΌΠ΅Ρ Π°Π½ΠΈΠ·ΠΌΠ°. Π‘Π°ΠΌ ΡΡΠΎΡ ΠΎΡΠΎΠ΄Π²ΠΈΠ½ΡΡΠ΅ Π² ΡΡΠΎΡΠΎΠ½Ρ ΠΈ ΡΠ½ΠΈΠΌΠΈΡΠ΅ ΡΡΡΡΠΎΠΉΡΡΠ²ΠΎ.
- ΠΡΠΎΠ²Π΅ΡΡΡΠ΅, ΠΊΠ°ΠΊ Π»Π΅Π³ΠΊΠΎ Π²ΡΠ°ΡΠ°ΡΡΡΡ ΡΠΎΠ»ΠΈΠΊΠΈ. ΠΡΠ»ΠΈ ΡΡΠ΅Π±ΡΠ΅ΡΡΡ, ΡΠΌΠ°ΠΆΡΡΠ΅ ΠΈΡ Π»ΠΈΡΠΎΠ»ΠΎΠΌ.
- ΠΠ° ΡΡΠ°ΡΠ½ΡΠ΅ ΡΠΎΠ΅Π΄ΠΈΠ½Π΅Π½ΠΈΡ ΠΏΡΠΈΠΊΡΠ΅ΠΏΠΈΡΠ΅ Π½ΠΎΠ²ΡΠΉ ΠΌΠ΅Ρ Π°Π½ΠΈΠ·ΠΌ, ΠΏΡΠΎΠΏΡΡΡΠΈΠ² ΡΡΠΎΡ ΠΏΠΎ ΡΠΎΠ»ΠΈΠΊΠ°ΠΌ, ΠΊΠ°ΠΊ ΡΠΊΠ°Π·Π°Π½ΠΎ Π² ΡΡ Π΅ΠΌΠ΅ ΡΡΡΠ°Π½ΠΎΠ²ΠΊΠΈ.
- ΠΠ°ΡΡΠ½ΠΈΡΠ΅ ΡΡΠΎΡ Π½Π° ΡΠΎΠ»ΠΈΠΊΠΈ Π±Π΅Π· ΠΏΡΠΎΠ²ΠΈΡΠ°Π½ΠΈΡ ΠΈ ΡΠΈΠ»ΡΠ½ΠΎΠ³ΠΎ Π½Π°ΡΡΠΆΠ΅Π½ΠΈΡ.
- ΠΠ°ΠΊΡΠ΅ΠΏΠΈΡΠ΅ ΡΡΡΠΊΠΈ, Π²ΡΠ°ΡΠ°Ρ ΠΏΡΠΈ ΡΡΠΎΠΌ ΠΏΠΎΠ΄ΡΠ΅ΠΌΠ½ΡΠΉ ΠΌΠ΅Ρ Π°Π½ΠΈΠ·ΠΌ ΡΡΠ΅ΠΊΠ»ΠΎΠΏΠΎΠ΄ΡΠ΅ΠΌΠ½ΠΈΠΊΠ° ΠΠΠ 2106. ΠΡΡ ΠΊΠΎΠ½ΡΡΡΡΠΊΡΠΈΡ Π΄ΠΎΠ»ΠΆΠ½Π° ΠΎΡΡΡΠ΅ΡΡΠ²Π»ΡΡΡ Π²ΡΠ°ΡΠ΅Π½ΠΈΡ ΠΌΡΠ³ΠΊΠΎ, Π±Π΅Π· ΡΠΎΠ»ΡΠΊΠΎΠ².
- ΠΠ°ΡΠΈΠΊΡΠΈΡΡΠΉΡΠ΅ ΡΡΠ΅ΠΊΠ»ΠΎ Π² Π½ΠΈΠΆΠ½Π΅ΠΌ ΠΏΠΎΠ»ΠΎΠΆΠ΅Π½ΠΈΠΈ, ΠΎΠΏΡΡΡΠΈΡΠ΅ ΡΡΡΡΠΎΠΉΡΡΠ²ΠΎ, ΠΏΡΠΈΠΊΡΠ΅ΠΏΠΈΡΠ΅ ΡΡΠΎΡ ΠΊ ΠΏΠ»Π°Π½ΠΊΠ΅.
ΠΠ°ΠΌΠ΅Π½Π° ΡΡΠ΅ΠΊΠ»ΠΎΠΏΠΎΠ΄ΡΠ΅ΠΌΠ½ΠΎΠ³ΠΎ ΠΌΠ΅Ρ
Π°Π½ΠΈΠ·ΠΌΠ° Β«ΡΠ΅ΡΡΠ΅ΡΠΊΠΈΒ» Π΄Π΅Π»Π°Π΅ΡΡΡ Π΄ΠΎΡΡΠ°ΡΠΎΡΠ½ΠΎ ΠΏΡΠΎΡΡΠΎ ΠΈ Π½Π΅ ΡΡΠ΅Π±ΡΠ΅Ρ Π±ΠΎΠ»ΡΡΠΈΡ
Π·Π°ΡΡΠ°Ρ Π²ΡΠ΅ΠΌΠ΅Π½ΠΈ ΠΈ ΡΡΠ΅Π΄ΡΡΠ².
ΠΠΎΡΠ»Π΅Π΄ΠΎΠ²Π°ΡΠ΅Π»ΡΠ½ΠΎΡΡΡ Π΄Π΅ΠΉΡΡΠ²ΠΈΠΉ ΠΏΡΠΈ ΡΡΡΠ°Π½ΠΎΠ²ΠΊΠ΅ ΡΠ»Π΅ΠΊΡΡΠΎΡΡΠ΅ΠΊΠ»ΠΎΠΏΠΎΠ΄ΡΡΠΌΠ½ΠΈΠΊΠ°
ΠΠ»Ρ ΡΠΎΠ³ΠΎ ΡΡΠΎΠ±Ρ ΠΎΡΡΡΠ΅ΡΡΠ²ΠΈΡΡ ΡΡΠ½ΠΈΠ½Π³ Β«ΡΠ΅ΡΡΠ΅ΡΠΊΠΈΒ» ΠΏΡΡΠ΅ΠΌ ΡΡΡΠ°Π½ΠΎΠ²ΠΊΠΈ ΡΠ»Π΅ΠΊΡΡΠΈΡΠ΅ΡΠΊΠΈΡ ΠΏΠΎΠ΄ΡΠ΅ΠΌΠ½ΠΈΠΊΠΎΠ² ΡΡΠ΅ΠΊΠΎΠ», Π½Π΅ ΠΎΠ±ΡΠ·Π°ΡΠ΅Π»ΡΠ½ΠΎ ΠΎΠ±ΡΠ°ΡΠ°ΡΡΡΡ Π² Π°Π²ΡΠΎΠΌΠ°ΡΡΠ΅ΡΡΠΊΡΡ. ΠΡΠΎ ΠΌΠΎΠΆΠ½ΠΎ ΡΠ΄Π΅Π»Π°ΡΡ ΡΠ°ΠΌΠΎΠΌΡ. ΠΠ° ΡΠΎΠ²ΡΠ΅ΠΌΠ΅Π½Π½ΠΎΠΌ ΡΡΠ½ΠΊΠ΅ Π°Π²ΡΠΎΠΌΠΎΠ±ΠΈΠ»ΡΠ½ΡΡ Π΄Π΅ΡΠ°Π»Π΅ΠΉ ΠΏΡΠΈΡΡΡΡΡΠ²ΡΠ΅Ρ Π±ΠΎΠ»ΡΡΠΎΠΉ Π²ΡΠ±ΠΎΡ ΠΊΠΎΠΌΠΏΠ»Π΅ΠΊΡΠΎΠ² ΡΠ»Π΅ΠΊΡΡΠΎΡΡΠ΅ΠΊΠ»ΠΎΠΏΠΎΠ΄ΡΠ΅ΠΌΠ½ΠΈΠΊΠΎΠ². Π§ΡΠΎΠ±Ρ ΡΡΡΠ°Π½ΠΎΠ²ΠΈΡΡ ΡΡΡΡΠΎΠΉΡΡΠ²ΠΎ ΡΠ°ΠΌΠΎΡΡΠΎΡΡΠ΅Π»ΡΠ½ΠΎ, Π½Π΅ ΡΡΠ΅Π±ΡΠ΅ΡΡΡ ΠΎΡΠΎΠ±ΡΡ Π·Π½Π°Π½ΠΈΠΉ ΠΈ Π½Π°Π²ΡΠΊΠΎΠ². ΠΠ±ΡΡΠ½ΠΎ Π² ΠΊΠΎΠΌΠΏΠ»Π΅ΠΊΡ ΡΡΠ΅ΠΊΠ»ΠΎΠΏΠΎΠ΄ΡΠ΅ΠΌΠ½ΠΈΠΊΠΎΠ² Π²Ρ ΠΎΠ΄ΡΡ ΡΠ»Π΅ΠΊΡΡΠΎΠΏΡΠΎΠ²ΠΎΠ΄ΠΊΠ°, ΡΠΏΡΠ°Π²Π»ΡΡΡΠΈΠ΅ ΠΊΠ»Π°Π²ΠΈΡΠΈ, ΠΊΡΠ΅ΠΏΠ΅ΠΆΠ½ΡΠ΅ Π΄Π΅ΡΠ°Π»ΠΈ.
Π£ΡΡΠ°Π½ΠΎΠ²ΠΊΠ° ΠΌΠ΅Ρ Π°Π½ΠΈΠ·ΠΌΠ° Π΄ΠΎΠ²ΠΎΠ»ΡΠ½ΠΎ ΠΏΡΠΎΡΡΠ° ΠΈ Π΄Π΅Π»Π°Π΅ΡΡΡ Π² ΡΠ°ΠΊΠΎΠΉ ΠΏΠΎΡΠ»Π΅Π΄ΠΎΠ²Π°ΡΠ΅Π»ΡΠ½ΠΎΡΡΠΈ.
- ΠΠ΅ΠΌΠΎΠ½ΡΠΈΡΡΠΉΡΠ΅ Π΄Π²Π΅ΡΡ, ΡΡΡΠ°Π½ΠΎΠ²ΠΈΡΠ΅ ΡΠ»Π΅ΠΊΡΡΠΎΡΡΠ΅ΠΊΠ»ΠΎΠΏΠΎΠ΄ΡΡΠΌΠ½ΠΈΠΊ. ΠΠ»Ρ ΠΊΡΠ΅ΠΏΠ»Π΅Π½ΠΈΡ ΠΊ ΠΊΠ°ΡΠΊΠ°ΡΡ Π°Π²ΡΠΎΠΌΠΎΠ±ΠΈΠ»ΡΠ½ΠΎΠΉ Π΄Π²Π΅ΡΠΈ ΠΈΡΠΏΠΎΠ»ΡΠ·ΡΠΉΡΠ΅ ΡΠ°ΠΌΠΎΡΠ΅Π·Ρ. Π‘Π΄Π΅Π»Π°ΡΡ ΡΡΠΎ ΡΠ»Π΅Π΄ΡΠ΅Ρ Π°ΠΊΠΊΡΡΠ°ΡΠ½ΠΎ, ΡΡΠΎΠ±Ρ Π΄Π²Π΅ΡΡ Π² ΡΠ΅Π·ΡΠ»ΡΡΠ°ΡΠ΅ Π½Π΅ Π΄Π΅ΡΠΎΡΠΌΠΈΡΠΎΠ²Π°Π»Π°ΡΡ.
- ΠΡΠΎΠ²Π΅ΡΡΡΠ΅ Ρ ΠΎΠ΄ ΡΡΠ΅ΠΊΠ»Π° Π½Π° Π»Π΅Π³ΠΊΠΎΡΡΡ ΡΠΊΠΎΠ»ΡΠΆΠ΅Π½ΠΈΡ. ΠΡΠΈ Π½Π΅ΠΎΠ±Ρ ΠΎΠ΄ΠΈΠΌΠΎΡΡΠΈ ΠΎΡΡΠ΅Π³ΡΠ»ΠΈΡΡΠΉΡΠ΅ Π½Π°ΠΏΡΠ°Π²Π»ΡΡΡΠΈΠ΅.
- ΠΠΎΠ΄ΠΊΠ»ΡΡΠΈΡΠ΅ ΡΠ»Π΅ΠΊΡΡΠΎΠΏΡΠΎΠ²ΠΎΠ΄ΠΊΡ, ΡΠ²Π΅ΡΡΡΡΡ Ρ ΡΠ»Π΅ΠΊΡΡΠΎΡΡ
Π΅ΠΌΠΎΠΉ. ΠΡΠΎΠ²ΠΎΠ΄Π° ΠΏΡΠΎΡΡΠ½ΠΈΡΠ΅ ΠΏΠΎΠ΄ ΠΏΠ°Π½Π΅Π»ΡΡ.

- Π‘ΠΎΠ±Π΅ΡΠΈΡΠ΅ Π΄Π²Π΅ΡΡ, ΡΡΡΠ°Π½ΠΎΠ²ΠΈΠ² Π½Π° ΠΌΠ΅ΡΡΠΎ ΡΡΡΠ΅ΠΊ Π·Π°Π³Π»ΡΡΠΊΠΈ.
- Π‘ΠΌΠΎΠ½ΡΠΈΡΡΠΉΡΠ΅ ΡΠΏΡΠ°Π²Π»ΡΡΡΡΡ ΠΊΠ»Π°Π²ΠΈΡΡ Π² ΠΏΠ°Π½Π΅Π»Ρ ΠΏΡΠΈΠ±ΠΎΡΠΎΠ².
- ΠΠΎΠ΄ΠΊΠ»ΡΡΠΈΡΠ΅ Π°ΠΊΠΊΡΠΌΡΠ»ΡΡΠΎΡ ΠΈ ΠΏΡΠΎΠ²Π΅ΡΡΡΠ΅ ΡΠ°Π±ΠΎΡΠΎΡΠΏΠΎΡΠΎΠ±Π½ΠΎΡΡΡ ΡΠΈΡΡΠ΅ΠΌΡ. ΠΠ° ΡΡΠΎΠΌ ΡΡΡΠ°Π½ΠΎΠ²ΠΊΠ° Π·Π°Π²Π΅ΡΡΠ΅Π½Π°.
ΠΡΠΈ ΠΏΡΠΎΠ²Π΅Π΄Π΅Π½ΠΈΠΈ ΡΠ°Π±ΠΎΡ Ρ ΡΠ»Π΅ΠΊΡΡΠΎΠΎΠ±ΠΎΡΡΠ΄ΠΎΠ²Π°Π½ΠΈΠ΅ΠΌ ΡΠ»Π΅Π΄ΡΠ΅Ρ ΠΎΡΠΊΠ»ΡΡΠΈΡΡ ΠΌΠ°ΡΡΡ Π½Π° Π°ΠΊΠΊΡΠΌΡΠ»ΡΡΠΎΡΠ½ΠΎΠΉ Π±Π°ΡΠ°ΡΠ΅Π΅. ΠΠ΅ Π·Π°Π±ΡΠ²Π°ΠΉΡΠ΅, ΡΡΠΎ ΡΠ΅ΠΏΠΈ Π½ΠΎΠ²ΡΡ ΠΌΠ΅Ρ Π°Π½ΠΈΠ·ΠΌΠΎΠ² Π΄ΠΎΠ»ΠΆΠ½Ρ Π½Π°Ρ ΠΎΠ΄ΠΈΡΡΡΡ ΠΏΠΎΠ΄ Π·Π°ΡΠΈΡΠΎΠΉ ΠΏΡΠ΅Π΄ΠΎΡ ΡΠ°Π½ΠΈΡΠ΅Π»Π΅ΠΉ.
ΠΡΠΎΠ±Π΅Π½Π½ΠΎΡΡΠΈ Π·Π°ΠΌΠ΅Π½Ρ ΡΡΠ΅ΠΊΠ»ΠΎΠΏΠΎΠ΄ΡΠ΅ΠΌΠ½ΠΈΠΊΠ° ΠΠΠ 2107
ΠΠ»Π°Π΄Π΅Π»ΡΡΠ°ΠΌ Π΄ΡΡΠ³ΠΈΡ Π°Π²ΡΠΎΠΌΠ°ΡΠΈΠ½ ΠΠΠΠΎΠ²ΡΠΊΠΎΠΉ Β«ΠΊΠ»Π°ΡΡΠΈΠΊΠΈΒ» Π·Π°ΠΌΠ΅Π½Π° ΡΡΠ΅ΠΊΠ»ΠΎΠΏΠΎΠ΄ΡΠ΅ΠΌΠ½ΠΈΠΊΠ° ΠΠΠ 2107/2105 ΠΌΠΎΠΆΠ΅Ρ ΠΏΠΎΠΊΠ°Π·Π°ΡΡΡΡ ΠΈΠ·Π»ΠΈΡΠ½Π΅ ΡΡΠ»ΠΎΠΆΠ½Π΅Π½Π½ΠΎΠΉ.
Π’Π°ΠΊ ΠΊΠ°ΠΊ Π²ΡΠ΅Π³ΠΎ ΡΠΎΠ»ΠΈΠΊΠΎΠ² ΡΠ΅ΡΡΡΠ΅, ΠΎΠ΄ΠΈΠ½ Π½Π°ΡΡΠΆΠ½ΠΎΠΉ ΠΈ ΡΡΠΈ Π½Π°ΠΏΡΠ°Π²Π»ΡΡΡΠΈΡ , Π° ΡΡΠΎΡ ΡΠ²ΡΠ·Π°Π½ Ρ ΠΊΡΠΎΠ½ΡΡΠ΅ΠΉΠ½Π°ΠΌΠΈ ΡΠΏΠ»ΠΎΡΠ½ΠΎΠ³ΠΎ ΡΡΠ΅ΠΊΠ»Π° Π² Π΄Π²ΡΡ ΠΌΠ΅ΡΡΠ°Ρ , ΡΡΠΎΡ Π²ΠΎΠΊΡΡΠ³ ΡΠΎΠ»ΠΈΠΊΠΎΠ² ΠΌΠΎΠΆΠ΅Ρ ΠΎΠ±Π²ΠΎΠ΄ΠΈΡΡΡΡ Π΄Π²ΡΠΌΡ ΡΠΏΠΎΡΠΎΠ±Π°ΠΌΠΈ β ΡΠ΅ΡΠ΅Π· Π²Π΅ΡΡ Π½ΡΡ ΠΈΠ»ΠΈ Π½ΠΈΠΆΠ½ΡΡ ΠΎΠΏΠΎΡΡ ΠΊΠ°ΡΠ΅Π½ΠΈΡ.
ΠΡΠΈ ΠΎΠ±Π²ΠΎΠ΄ΠΊΠ΅ ΡΠ΅ΡΠ΅Π· Π½ΠΈΠΆΠ½ΠΈΠΉ ΡΠΎΠ»ΠΈΠΊ, Π²ΡΡ
ΠΎΠ΄ΡΡΠΈΠΉ ΠΈΠ· ΠΌΠ΅Ρ
Π°Π½ΠΈΠ·ΠΌΠ° Π²Π΅ΡΡ
Π½ΠΈΠΉ ΡΡΠΎΡ Π½Π°ΠΏΡΠ°Π²Π»ΡΠ΅ΡΡΡ ΡΠ΅ΡΠ΅Π·: Π½ΠΈΠΆΠ½ΠΈΠΉ Π»Π΅Π²ΡΠΉ Π½Π°ΠΏΡΠ°Π²Π»ΡΡΡΠΈΠΉ ΡΠΎΠ»ΠΈΠΊ, Π²Π΅ΡΡ
Π½ΡΡ Π»Π΅Π²ΡΡ Π½Π°ΠΏΡΠ°Π²Π»ΡΡΡΡΡ ΠΎΠΏΠΎΡΡ, Π½ΠΈΠΆΠ½ΠΈΠΉ ΡΠ΅Π½ΡΡΠ°Π»ΡΠ½ΡΠΉ Π½Π°ΡΡΠΆΠ½ΠΎΠΉ ΡΠΎΠ»ΠΈΠΊ, Π²Π΅ΡΡ
Π½ΠΈΠΉ ΠΏΡΠ°Π²ΡΠΉ ΡΠΎΠ»ΠΈΠΊ.
ΠΠ°ΠΊ Π°Π»ΡΡΠ΅ΡΠ½Π°ΡΠΈΠ²Π° ΠΏΡΠΎΠΈΠ·Π²ΠΎΠ΄ΠΈΡΡΡ ΠΎΠ±Π²ΠΎΠ΄ΠΊΠ° ΠΈ ΡΠ΅ΡΠ΅Π· Π²Π΅ΡΡ
Π½ΠΈΠΉ ΡΠΎΠ»ΠΈΠΊ, ΠΊΠΎΡΠΎΡΠ°Ρ ΠΏΡΠΎΠΈΠ·Π²ΠΎΠ΄ΠΈΡΡΡ Π² ΠΎΠ±ΡΠ°ΡΠ½ΠΎΠΉ ΠΏΠΎΡΠ»Π΅Π΄ΠΎΠ²Π°ΡΠ΅Π»ΡΠ½ΠΎΡΡΠΈ. Π ΡΡΠΎΠΌ ΠΆΠ΅ ΡΠ»ΡΡΠ°Π΅ Π½Π°ΠΏΡΠ°Π²Π»ΡΠ΅ΡΡΡ Π½ΠΈΠΆΠ½ΠΈΠΉ ΡΡΠΎΡ.
Π‘Π»Π΅Π΄ΡΠ΅Ρ ΠΏΡΠ΅Π΄ΠΏΠΎΡΠ΅ΡΡΡ ΠΎΠΏΡΠΈΠΌΠ°Π»ΡΠ½ΠΎΠ΅ ΡΡΠΈΠ»ΠΈΠ΅ Π½Π°ΡΡΠΆΠ΅Π½ΠΈΡ ΡΡΠΎΡΠΎΠ²ΠΎΠ³ΠΎ ΠΏΡΠΈΠ²ΠΎΠ΄Π°: ΡΡΠΎΡ Π½Π΅ Π΄ΠΎΠ»ΠΆΠ΅Π½ Π±ΡΡΡ ΠΏΠ΅ΡΠ΅ΡΡΠ½ΡΡ, Π½ΠΎ ΠΈ Π½Π΅ Π΄ΠΎΠ»ΠΆΠ΅Π½ Π±ΠΎΠ»ΡΠ°ΡΡΡΡ.
ΠΊΠ°ΠΊ ΠΏΠΎΡΡΠ°Π²ΠΈΡΡ ΠΈ ΡΡΡΠ°Π½ΠΎΠ²ΠΈΡΡ ΠΌΠ΅Ρ Π°Π½ΠΈΠ·ΠΌ, ΡΠ΅ΠΌΠΎΠ½Ρ ΠΈ ΡΡ Π΅ΠΌΠ°
CΡΠ΅ΠΊΠ»ΠΎΠΏΠΎΠ΄ΡΠ΅ΠΌΠ½ΠΈΠΊ ΠΠΠ 2106 ΠΈΠΌΠ΅Π΅Ρ Π½Π°Π΄Π΅ΠΆΠ½ΡΡ ΠΊΠΎΠ½ΡΡΡΡΠΊΡΠΈΡ, Π½ΠΎ ΠΌΠΎΠΆΠ΅Ρ, ΠΊΠ°ΠΊ ΠΈ Π»ΡΠ±ΠΎΠΉ ΠΌΠ΅Ρ Π°Π½ΠΈΠ·ΠΌ, Π²ΡΠΉΡΠΈ ΠΈΠ· ΡΡΡΠΎΡ. Π ΡΡΠ°ΡΡΠ΅ ΡΠ°ΡΡΠΌΠ°ΡΡΠΈΠ²Π°ΡΡΡΡ ΡΠΈΠΏΠΈΡΠ½ΡΠ΅ Π½Π΅ΠΈΡΠΏΡΠ°Π²Π½ΠΎΡΡΠΈ ΡΡΠ΅ΠΊΠ»ΠΎΠΏΠΎΠ΄ΡΠ΅ΠΌΠ½ΠΈΠΊΠΎΠ² Π½Π° Β«ΠΊΠ»Π°ΡΡΠΈΠΊΠ΅Β», Π΄Π°Π΅ΡΡΡ ΠΈΠ½ΡΡΡΡΠΊΡΠΈΡ ΠΏΠΎ ΡΠ½ΡΡΠΈΡ ΠΈ ΡΡΡΠ°Π½ΠΎΠ²ΠΊΠ΅.
Π‘ΠΎΠ΄Π΅ΡΠΆΠ°Π½ΠΈΠ΅
[ Π Π°ΡΠΊΡΡΡΡ]
[ Π‘ΠΊΡΡΡΡ]
Π£ΡΡΡΠΎΠΉΡΡΠ²ΠΎ ΠΈ Π²ΠΈΠ΄Ρ ΡΡΠ΅ΠΊΠ»ΠΎΠΏΠΎΠ΄ΡΠ΅ΠΌΠ½ΠΈΠΊΠΎΠ²
ΠΠ΅Ρ Π°Π½ΠΈΡΠ΅ΡΠΊΠΈΠΉ ΡΡΠ΅ΠΊΠ»ΠΎΠΏΠΎΠ΄ΡΠ΅ΠΌΠ½ΠΈΠΊ Π½Π° ΠΠΠ 2106 ΠΈΠΌΠ΅Π΅Ρ ΠΏΡΠΎΡΡΡΡ ΠΊΠΎΠ½ΡΡΡΡΠΊΡΠΈΡ ΠΈ ΡΠΎΡΡΠΎΠΈΡ ΠΈΠ· ΡΠΏΡΠ°Π²Π»ΡΡΡΠ΅ΠΉ ΡΡΡΠΊΠΈ, ΡΠΈΡΡΠ΅ΠΌΡ ΡΡΠ°Π½ΡΠ»ΡΡΠΈΠΈ ΠΏΠΎΠ΄ΡΠ΅ΠΌΠ° ΡΡΠ΅ΠΊΠ»Π°, ΡΡΠΎΡΠ° ΠΈ ΡΡΠ΅Ρ ΡΠΎΠ»ΠΈΠΊΠΎΠ².
ΠΠ½ΠΎΠ³ΠΈΠ΅ Π²ΠΎΠ΄ΠΈΡΠ΅Π»ΠΈ ΡΡΡΠ°Π½Π°Π²Π»ΠΈΠ²Π°ΡΡ Π²ΠΌΠ΅ΡΡΠΎ ΠΊΠ»Π°ΡΡΠΈΡΠ΅ΡΠΊΠΈΡ ΡΡΠ΅ΠΊΠ»ΠΎΠΏΠΎΠ΄ΡΠ΅ΠΌΠ½ΠΈΠΊΠΎΠ² ΡΠ»Π΅ΠΊΡΡΠΈΡΠ΅ΡΠΊΠΈΠ΅.
ΠΠ½ΠΈ Π±ΡΠ²Π°ΡΡ Π΄Π²ΡΡ Π²ΠΈΠ΄ΠΎΠ²:
- Π’ΡΠΎΡΠΎΠ²ΡΠ΅.
Π ΠΊΠΎΠ½ΡΡΡΡΠΊΡΠΈΡ Π²Ρ ΠΎΠ΄ΠΈΡ ΡΠ»Π΅ΠΊΡΡΠΎΠ΄Π²ΠΈΠ³Π°ΡΠ΅Π»Ρ Ρ Π±Π°ΡΠ°Π±Π°Π½ΠΎΠΌ, Π½Π° ΠΊΠΎΡΠΎΡΠΎΠΌ Π½Π°ΠΌΠΎΡΠ°Π½ ΡΡΠΎΡ, ΠΈ ΡΠ΅Π΄ΡΠΊΡΠΎΡ. ΠΠ΅ΡΡ Π½ΠΈΠΉ Π±Π°ΡΠ°Π±Π°Π½ ΡΠΎΠ΅Π΄ΠΈΠ½ΡΠ΅ΡΡΡ Ρ ΠΎΠ±ΡΡΠ½ΡΠΌ ΡΡΠ΅ΠΊΠ»ΠΎΠΏΠΎΠ΄ΡΠ΅ΠΌΠ½ΡΠΌ ΡΡΡΡΠΎΠΉΡΡΠ²ΠΎΠΌ Ρ ΠΏΠΎΠΌΠΎΡΡΡ ΡΠ»ΠΈΡΡ. Π‘ Π΅Π³ΠΎ ΠΏΠΎΠΌΠΎΡΡΡ ΡΡΠΎΡ ΠΏΡΠΈΠ²ΠΎΠ΄ΠΈΡΡΡ Π² Π΄Π΅ΠΉΡΡΠ²ΠΈΠ΅.
- Π Π΅Π΅ΡΠ½ΡΠ΅. Π Π½ΠΈΡ ΠΈΡΠΏΠΎΠ»ΡΠ·ΡΠ΅ΡΡΡ ΠΏΡΠΈΠ½ΡΠΈΠΏ ΡΡΠ»Π΅Π²ΠΎΠΉ ΡΠ΅ΠΉΠΊΠΈ Π² Π°Π²ΡΠΎΠΌΠΎΠ±ΠΈΠ»Π΅.
Π§ΡΠΎΠ±Ρ ΡΡΡΠ°Π½ΠΎΠ²ΠΈΡΡ ΡΠ»Π΅ΠΊΡΡΠΎΠΌΠ΅Ρ Π°Π½ΠΈΠ·ΠΌ, Π½ΡΠΆΠ½ΠΎ ΠΏΡΠΈΠΎΠ±ΡΠ΅ΡΡΠΈ ΠΊΠΎΠΌΠΏΠ»Π΅ΠΊΡ, ΡΠΎΡΡΠΎΡΡΠΈΠΉ ΠΈΠ· ΠΏΡΠΎΠ²ΠΎΠ΄ΠΎΠ², ΠΊΡΠ΅ΠΏΠ΅ΠΆΠ½ΡΡ Π΄Π΅ΡΠ°Π»Π΅ΠΉ, ΡΠΏΡΠ°Π²Π»ΡΡΡΠΈΡ ΠΊΠ»Π°Π²ΠΈΡ Ρ ΠΏΠΎΠ΄ΡΠ²Π΅ΡΠΊΠΎΠΉ, Π΄Π΅ΠΊΠΎΡΠ°ΡΠΈΠ²Π½ΠΎΠΉ Π·Π°Π³Π»ΡΡΠΊΠΈ, ΠΈΠ½ΡΡΡΡΠΊΡΠΈΡ ΠΏΠΎ ΡΡΡΠ°Π½ΠΎΠ²ΠΊΠ΅ (Π°Π²ΡΠΎΡ Π²ΠΈΠ΄Π΅ΠΎ β VALENTIN VERNIGORA).
Π Π°ΡΠΏΡΠΎΡΡΡΠ°Π½Π΅Π½Π½ΡΠ΅ Π½Π΅ΠΈΡΠΏΡΠ°Π²Π½ΠΎΡΡΠΈ ΠΈ ΡΠΏΠΎΡΠΎΠ±Ρ ΠΈΡ ΡΡΡΡΠ°Π½Π΅Π½ΠΈΡ
Π‘ΠΎ Π²ΡΠ΅ΠΌΠ΅Π½Π΅ΠΌ ΠΌΠ΅Ρ Π°Π½ΠΈΠ·ΠΌ ΠΏΠΎΠ΄ΡΠ΅ΠΌΠ° ΡΡΠ΅ΠΊΠΎΠ» ΠΏΡΠΈΡ ΠΎΠ΄ΠΈΡ Π² Π½Π΅Π³ΠΎΠ΄Π½ΠΎΡΡΡ β Π½Π΅Π²ΠΎΠ·ΠΌΠΎΠΆΠ½ΠΎ ΠΏΠΎΠ΄Π½ΡΡΡ ΠΈΠ»ΠΈ ΠΎΠΏΡΡΡΠΈΡΡ ΡΡΠ΅ΠΊΠ»ΠΎ.
ΠΡΠΈΡΠΈΠ½ Π½Π΅ΠΈΡΠΏΡΠ°Π²Π½ΠΎΡΡΠΈ ΡΡΡΡΠΎΠΉΡΡΠ²Π° ΠΌΠΎΠΆΠ΅Ρ Π±ΡΡΡ Π½Π΅ΡΠΊΠΎΠ»ΡΠΊΠΎ:
- ΠΎΠ±ΡΡΠ² ΡΡΠΎΡΠ°;
- ΠΏΠΎΠΏΠ°Π΄Π°Π½ΠΈΠ΅ ΠΏΠΎΡΡΠΎΡΠΎΠ½Π½ΠΈΡ ΠΏΡΠ΅Π΄ΠΌΠ΅ΡΠΎΠ² Π² ΠΌΠ΅Ρ Π°Π½ΠΈΠ·ΠΌ;
- ΠΈΠ·Π½ΠΎΡ ΡΠ΅Π΄ΡΠΊΡΠΎΡΠ°.
ΠΡΠΏΠΎΠ»Π½ΡΡΡ ΡΠ΅ΠΌΠΎΠ½Ρ ΡΡΠ΅ΠΊΠ»ΠΎΠΏΠΎΠ΄ΡΠ΅ΠΌΠ½ΠΈΠΊΠΎΠ² Π½Π΅ ΠΈΠΌΠ΅Π΅Ρ ΡΠΌΡΡΠ»Π°, ΡΠ°ΠΊ ΠΊΠ°ΠΊ ΠΈΡ
ΡΡΠΎΠΈΠΌΠΎΡΡΡ Π½Π΅Π²ΡΡΠΎΠΊΠ°Ρ, ΠΏΡΠΎΡΠ΅ ΠΊΡΠΏΠΈΡΡ Π½ΠΎΠ²ΠΎΠ΅ ΡΡΡΡΠΎΠΉΡΡΠ²ΠΎ ΠΈ Π·Π°ΠΌΠ΅Π½ΠΈΡΡ.
ΠΠ»Π΅ΠΊΡΡΠΈΡΠ΅ΡΠΊΠΈΠ΅ ΠΏΠΎΠ΄ΡΠ΅ΠΌΠ½ΠΈΠΊΠΈ ΠΌΠΎΠ³ΡΡ ΠΈΠΌΠ΅ΡΡ ΡΠ»Π΅Π΄ΡΡΡΠΈΠ΅ Π½Π΅ΠΈΡΠΏΡΠ°Π²Π½ΠΎΡΡΠΈ:
- ΠΠ΅ ΡΠ°Π±ΠΎΡΠ°ΡΡ Π²ΡΠ΅ ΡΠ»Π΅ΠΊΡΡΠΎΡΡΠ΅ΠΊΠ»ΠΎΠΏΠΎΠ΄ΡΠ΅ΠΌΠ½ΠΈΠΊΠΈ: ΠΏΠ΅ΡΠ΅Π³ΠΎΡΠ΅Π» ΠΏΡΠ΅Π΄ΠΎΡ ΡΠ°Π½ΠΈΡΠ΅Π»Ρ, ΠΎΡΡΡΡΡΡΠ²ΡΠ΅Ρ ΡΠΎΠ΅Π΄ΠΈΠ½Π΅Π½ΠΈΠ΅ Ρ ΠΌΠ°ΡΡΠΎΠΉ, ΠΎΠ±ΡΡΠ² ΠΏΡΠΎΠ²ΠΎΠ΄ΠΊΠΈ. Π Π΅ΠΌΠΎΠ½Ρ Π·Π°ΠΊΠ»ΡΡΠ°Π΅ΡΡΡ Π² Π·Π°ΠΌΠ΅Π½Π΅ ΠΏΡΠ΅Π΄ΠΎΡ ΡΠ°Π½ΠΈΡΠ΅Π»Π΅ΠΉ, Π²ΠΎΡΡΡΠ°Π½ΠΎΠ²Π»Π΅Π½ΠΈΠ΅ ΡΠΎΠ΅Π΄ΠΈΠ½Π΅Π½ΠΈΡ Ρ ΠΌΠ°ΡΡΠΎΠΉ ΠΈ ΡΠ»Π΅ΠΊΡΡΠΎΡΠ΅ΠΏΠΈ.
- ΠΠ΅ ΡΠ°Π±ΠΎΡΠ°Π΅Ρ ΠΏΠΎΠ΄ΡΠ΅ΠΌΠ½ΠΈΠΊ Π½Π° ΠΎΠ΄Π½ΠΎΠΉ ΠΈΠ· Π΄Π²Π΅ΡΠ΅ΠΉ. ΠΠ΅ΠΈΡΠΏΡΠ°Π²Π΅Π½ ΠΏΠ΅ΡΠ΅ΠΊΠ»ΡΡΠ°ΡΠ΅Π»Ρ, ΠΏΠΎΠ»ΠΎΠΌΠ°Π½ΠΎ ΡΠ΅Π»Π΅ ΠΎΠ±ΡΠ°ΡΠ½ΠΎΠ³ΠΎ ΡΠΎΠΊΠ°, ΡΠ»Π΅ΠΊΡΡΠΎΠ΄Π²ΠΈΠ³Π°ΡΠ΅Π»Ρ, ΠΎΠ±ΡΡΠ² ΠΏΡΠΎΠ²ΠΎΠ΄ΠΊΠΈ, ΠΎΡΡΠΎΠ΅Π΄ΠΈΠ½Π΅Π½ΠΈΠ΅ ΡΠ°Π·ΡΠ΅ΠΌΠ°. ΠΠ΅ΠΈΡΠΏΡΠ°Π²Π½ΡΠ΅ Π΄Π΅ΡΠ°Π»ΠΈ ΡΠ»Π΅Π΄ΡΠ΅Ρ Π·Π°ΠΌΠ΅Π½ΠΈΡΡ, ΠΏΡΠΎΠ²ΠΎΠ΄ΠΊΡ Π²ΠΎΡΡΡΠ°Π½ΠΎΠ²ΠΈΡΡ, ΡΠ°Π·ΡΠ΅ΠΌ ΠΏΠΎΠ΄ΠΊΠ»ΡΡΠΈΡΡ.
ΠΠ½ΡΡΡΡΠΊΡΠΈΡ ΠΏΠΎ ΡΠ½ΡΡΠΈΡ
ΠΠ»Ρ Π²ΡΠΏΠΎΠ»Π½Π΅Π½ΠΈΡ ΡΠ°Π±ΠΎΡ ΠΏΠΎΡΡΠ΅Π±ΡΡΡΡΡ ΡΠ»Π΅Π΄ΡΡΡΠΈΠ΅ ΠΈΠ½ΡΡΡΡΠΌΠ΅Π½ΡΡ:
- ΠΊΡΠ΅ΡΡΠΎΠΎΠ±ΡΠ°Π·Π½Π°Ρ ΠΈ ΠΏΠ»ΠΎΡΠΊΠ°Ρ ΠΎΡΠ²Π΅ΡΡΠΊΠΈ;
- Π½Π°Π±ΠΎΡ ΠΊΠ»ΡΡΠ΅ΠΉ;
- Π²ΠΎΡΠΎΡΠΎΠΊ;
- ΡΠ΄Π»ΠΈΠ½ΠΈΡΠ΅Π»Ρ.
ΠΡΠΎΡΠ΅Π΄ΡΡΠ° ΡΠ½ΡΡΠΈΡ ΡΠΎΡΡΠΎΠΈΡ ΠΈΠ· ΡΡΠ°ΠΏΠΎΠ²:
- Π ΠΏΠ΅ΡΠ²ΡΡ ΠΎΡΠ΅ΡΠ΅Π΄Ρ Π½ΡΠΆΠ½ΠΎ ΡΠ½ΡΡΡ ΠΎΠ±ΡΠΈΠ²ΠΊΡ.
- ΠΠ°Π»Π΅Π΅ ΠΎΠΏΡΡΠΊΠ°Π΅ΡΡΡ ΠΌΠ°ΠΊΡΠΈΠΌΠ°Π»ΡΠ½ΠΎ Π²Π½ΠΈΠ· ΡΡΠ΅ΠΊΠ»ΠΎ. ΠΡΠ΅ΡΡΠΎΠΎΠ±ΡΠ°Π·Π½ΠΎΠΉ ΠΎΡΠ²Π΅ΡΡΠΊΠΎΠΉ Π²ΡΠΊΡΡΡΠΈΠ²Π°Π΅ΡΡΡ Π±ΠΎΠ»Ρ, ΡΠ΄Π΅ΡΠΆΠΈΠ²Π°ΡΡΠΈΠΉ Π·Π°ΠΆΠΈΠΌ.
- ΠΡΠΊΡΡΡΠΈΠ² Π±ΠΎΠ»Ρ, ΠΎΠΏΡΡΠΊΠ°Π΅ΠΌ Π²Π½ΠΈΠ· Π·Π°ΠΆΠΈΠΌ.

- ΠΠ°ΡΠ΅ΠΌ Π² Π»Π΅Π²ΠΎΠΉ ΡΠ°ΡΡΠΈ Π΄Π²Π΅ΡΠΈ Π΄ΠΎΡΡΠ°ΡΠΎΡΠ½ΠΎ ΠΎΡΠ»Π°Π±ΠΈΡΡ Π³Π°ΠΉΠΊΡ ΡΠΎΠ»ΠΈΠΊΠ° Ρ ΠΏΠΎΠΌΠΎΡΡΡ Π³Π°Π΅ΡΠ½ΠΎΠ³ΠΎ ΠΊΠ»ΡΡΠ°.
- Π’Π΅ΠΏΠ΅ΡΡ ΡΡΠΎΡ ΡΠ²ΠΎΠ±ΠΎΠ΄Π΅Π½, ΠΈ Π΅Π³ΠΎ ΠΌΠΎΠΆΠ½ΠΎ ΡΠ½ΡΡΡ Ρ ΡΠΎΠ»ΠΈΠΊΠ°.
- ΠΠ°Π»Π΅Π΅ Π²ΡΠΊΡΡΡΠΈΠ²Π°ΡΡΡΡ ΡΡΠΈ Π³Π°ΠΉΠΊΠΈ, ΡΠ΄Π΅ΡΠΆΠΈΠ²Π°ΡΡΠΈΠ΅ ΡΡΠ΅ΠΊΠ»ΠΎΠΏΠΎΠ΄ΡΠ΅ΠΌΠ½ΠΈΠΊ.
- ΠΡΠΊΡΡΡΠΈΠ²Π°Ρ ΡΡΠ΅ΡΠΈΠΉ Π±ΠΎΠ»Ρ, ΠΌΠ΅Ρ Π°Π½ΠΈΠ·ΠΌ ΡΠ»Π΅Π΄ΡΠ΅Ρ ΠΏΡΠΈΠ΄Π΅ΡΠΆΠΈΠ²Π°ΡΡ Ρ Π²Π½ΡΡΡΠ΅Π½Π½Π΅ΠΉ ΡΡΠΎΡΠΎΠ½Ρ.
- ΠΠΎΠ³Π΄Π° ΡΡΠ΅ΠΊΠ»ΠΎΠΏΠΎΠ΄ΡΠ΅ΠΌΠ½ΡΠΉ ΠΌΠ΅Ρ Π°Π½ΠΈΠ·ΠΌ Π±ΡΠ΄Π΅Ρ ΡΠ²ΠΎΠ±ΠΎΠ΄Π΅Π½, ΠΎΡΠ²ΠΎΠ΄ΠΈΠΌ Π΅Π³ΠΎ Π² ΡΡΠΎΡΠΎΠ½Ρ.
- ΠΡΠΊΡΡΡΠΈΠ² ΠΏΠΎΡΠ»Π΅Π΄Π½ΡΡ Π³Π°ΠΉΠΊΡ ΠΌΠΎΠΆΠ½ΠΎ ΡΠ½ΠΈΠΌΠ°ΡΡ ΡΡΠ΅ΠΊΠ»ΠΎΠΏΠΎΠ΄ΡΠ΅ΠΌΠ½ΠΈΠΊ Ρ Π΄Π²Π΅ΡΠΈ.
ΠΠ°Π»Π΅Π΅ ΠΏΡΠΎΠΈΠ·Π²ΠΎΠ΄ΠΈΡΡΡ ΡΠ΅ΠΌΠΎΠ½Ρ ΠΈΠ»ΠΈ Π·Π°ΠΌΠ΅Π½Π°. ΠΠ°Π΄Π½ΠΈΠΉ ΠΌΠ΅Ρ Π°Π½ΠΈΠ·ΠΌ ΡΡΡΠ°Π½Π°Π²Π»ΠΈΠ²Π°Π΅ΡΡΡ Π°Π½Π°Π»ΠΎΠ³ΠΈΡΠ½ΠΎ.
ΠΡΠΎΠ±Π΅Π½Π½ΠΎΡΡΠΈ ΡΡΡΠ°Π½ΠΎΠ²ΠΊΠΈ
Π£ΡΡΠ°Π½ΠΎΠ²ΠΊΠ° Π½ΠΎΠ²ΠΎΠ³ΠΎ ΠΈΠ»ΠΈ ΠΎΡΡΠ΅ΠΌΠΎΠ½ΡΠΈΡΠΎΠ²Π°Π½Π½ΠΎΠ³ΠΎ ΡΡΠ΅ΠΊΠ»ΠΎΠΏΠΎΠ΄ΡΠ΅ΠΌΠ½ΠΎΠ³ΠΎ ΡΡΡΡΠΎΠΉΡΡΠ²Π° ΠΎΡΡΡΠ΅ΡΡΠ²Π»ΡΠ΅ΡΡΡ Π² ΠΎΠ±ΡΠ°ΡΠ½ΠΎΠΉ ΡΠ½ΡΡΠΈΡ ΠΏΠΎΡΠ»Π΅Π΄ΠΎΠ²Π°ΡΠ΅Π»ΡΠ½ΠΎΡΡΠΈ.
Π€ΠΎΡΠΎΠ³Π°Π»Π΅ΡΠ΅Ρ Β«Π£ΡΡΠ°Π½ΠΎΠ²ΠΊΠ° ΡΡΠ΅ΠΊΠ»ΠΎΠΏΠΎΠ΄ΡΠ΅ΠΌΠ½ΠΎΠ³ΠΎ ΠΌΠ΅Ρ Π°Π½ΠΈΠ·ΠΌΠ°Β»
Β
Π§ΡΠΎΠ±Ρ ΠΏΠΎΡΡΠ°Π²ΠΈΡΡ ΡΠ»Π΅ΠΊΡΡΠΎΡΡΠ΅ΠΊΠ»ΠΎΠΏΠΎΠ΄ΡΠ΅ΠΌΠ½ΠΈΠΊ, ΡΠ»Π΅Π΄ΡΠ΅Ρ Π²ΡΠΏΠΎΠ»Π½ΠΈΡΡ ΡΠ»Π΅Π΄ΡΡΡΠΈΠ΅ Π΄Π΅ΠΉΡΡΠ²ΠΈΡ:
- ΠΠ΅ΠΌΠΎΠ½ΡΠΈΡΠΎΠ²Π°ΡΡ Π΄Π²Π΅ΡΡ, ΡΠ½ΡΡΡ ΠΎΠ±ΡΠΈΠ²ΠΊΡ Π΄Π²Π΅ΡΠΈ. ΠΠ°Π»Π΅Π΅ Ρ ΠΏΠΎΠΌΠΎΡΡΡ ΡΠ°ΠΌΠΎΡΠ΅Π·ΠΎΠ² ΡΡΡΠ°Π½Π°Π²Π»ΠΈΠ²Π°Π΅ΡΡΡ ΡΠ»Π΅ΠΊΡΡΠΎΡΡΠ΅ΠΊΠ»ΠΎΠΏΠΎΠ΄ΡΠ΅ΠΌΠ½ΠΈΠΊ.
- ΠΠΎΡΠ»Π΅ ΠΌΠΎΠ½ΡΠ°ΠΆΠ° Π½ΡΠΆΠ½ΠΎ ΠΏΡΠΎΠ²Π΅ΡΠΈΡΡ ΡΠΊΠΎΠ»ΡΠΆΠ΅Π½ΠΈΠ΅ ΡΡΠ΅ΠΊΠΎΠ».

- ΠΠΎΠ΄ΠΊΠ»ΡΡΠ΅Π½ΠΈΠ΅ ΠΊ ΡΠ»Π΅ΠΊΡΡΠΎΡΠ΅ΡΠΈ Π°Π²ΡΠΎΠΌΠΎΠ±ΠΈΠ»Ρ ΡΠ»Π΅Π΄ΡΠ΅Ρ Π²ΡΠΏΠΎΠ»Π½ΡΡΡ ΡΠΎΠ³Π»Π°ΡΠ½ΠΎ ΡΠ»Π΅ΠΊΡΡΠΈΡΠ΅ΡΠΊΠΎΠΉ ΡΡ Π΅ΠΌΠ΅.
- ΠΠ°Π»Π΅Π΅ Π΄Π²Π΅ΡΡ ΡΡΡΠ°Π½Π°Π²Π»ΠΈΠ²Π°Π΅ΡΡΡ Π½Π° ΠΌΠ°ΡΠΈΠ½Ρ.
- ΠΠ° ΠΏΠ°Π½Π΅Π»ΠΈ ΠΈΠ½ΡΡΡΡΠΌΠ΅Π½ΡΠΎΠ² ΠΌΠΎΠ½ΡΠΈΡΡΠ΅ΡΡΡ ΡΠΏΡΠ°Π²Π»ΡΡΡΠ°Ρ ΠΊΠ½ΠΎΠΏΠΊΠ°.
Β ΠΠ°Π³ΡΡΠ·ΠΊΠ° …ΠΠΎΡΠ»Π΅ ΠΌΠΎΠ½ΡΠ°ΠΆΠ° ΡΠ»Π΅ΠΊΡΡΠΎΡΡΠ΅ΠΊΠΎΠΏΠΎΠ΄ΡΠ΅ΠΌΠ½ΠΈΠΊ Π½ΡΠΆΠ½ΠΎ ΠΏΡΠΎΠ²Π΅ΡΠΈΡΡ Π½Π° ΡΠ°Π±ΠΎΡΠΎΡΠΏΠΎΡΠΎΠ±Π½ΠΎΡΡΡ. ΠΠΎΠΆΠ½ΠΎ ΡΡΡΠ°Π½ΠΎΠ²ΠΈΡΡ ΠΎΠ±ΠΎΠ³ΡΠ΅Π² Π·Π°Π΄Π½Π΅Π³ΠΎ ΡΡΠ΅ΠΊΠ»Π°.
ΠΠΈΠ΄Π΅ΠΎ Β«ΠΠ°ΠΊ ΠΌΠ΅Π½ΡΡΡΡΡ ΡΡΠ΅ΠΊΠ»ΠΎΠΏΠΎΠ΄ΡΠ΅ΠΌΠ½ΠΈΠΊΠΈ Π½Π° ΠΠΠΠ΅Β»
Π ΡΡΠΎΠΌ ΡΠΎΠ»ΠΈΠΊΠ΅ Π΄Π΅ΠΌΠΎΠ½ΡΡΡΠΈΡΡΠ΅ΡΡΡ, ΠΊΠ°ΠΊ Π²ΡΠΏΠΎΠ»Π½ΠΈΡΡ Π·Π°ΠΌΠ΅Π½Ρ ΡΡΠ΅ΠΊΠ»ΠΎΠΏΠΎΠ΄ΡΠ΅ΠΌΠ½ΠΎΠ³ΠΎ ΡΡΡΡΠΎΠΉΡΡΠ²Π° Π½Π° ΠΠΠΠ΅ (Π°Π²ΡΠΎ Π²ΠΈΠ΄Π΅ΠΎ β Pavel Pavek).
ΠΠ°ΠΌΠ΅Π½Π° ΡΡΠ΅ΠΊΠ»ΠΎΠΏΠΎΠ΄ΡΡΠΌΠ½ΠΈΠΊΠ° ΠΠΈΠ²Π° ΠΠΠ 21213, 21214, 2131 lada 4×4
Π£ΡΡΡΠΎΠΉΡΡΠ²ΠΎ ΠΌΠ΅Ρ
Π°Π½ΠΈΡΠ΅ΡΠΊΠΎΠ³ΠΎ ΡΡΠ΅ΠΊΠ»ΠΎΠΏΠΎΠ΄ΡΡΠΌΠ½ΠΈΠΊΠ° :
ΠΠ΅Ρ
Π°Π½ΠΈΠ·ΠΌ ΡΡΠ΅ΠΊΠ»ΠΎΠΏΠΎΠ΄ΡΠ΅ΠΌΠ½ΠΈΠΊΠ° ΡΠ½ΠΈΠΌΠ°Π΅ΠΌ Π΄Π»Ρ Π΅Π³ΠΎ Π·Π°ΠΌΠ΅Π½Ρ ΠΈΠ»ΠΈ ΠΏΡΠΈ ΠΏΠΎΠ»Π½ΠΎΠΉ ΡΠ°Π·Π±ΠΎΡΠΊΠ΅ Π΄Π²Π΅ΡΠΈ.
Π‘Π½ΠΈΠΌΠ°Π΅ΠΌ ΠΎΠ±ΠΈΠ²ΠΊΡ Π΄Π²Π΅ΡΠΈ (ΡΠΌ. ΡΡΡ).
ΠΡΡΠΎΠ΅Π΄ΠΈΠ½ΡΠ΅ΠΌ ΠΊΡΠ΅ΠΏΠ»Π΅Π½ΠΈΠ΅ ΡΡΠΎΡΠ° ΡΡΠ΅ΠΊΠ»ΠΎΠΏΠΎΠ΄ΡΠ΅ΠΌΠ½ΠΈΠΊΠ° ΠΊ ΠΏΠ΅ΡΠ΅Π΄Π½Π΅ΠΌΡ ΠΈ Π·Π°Π΄Π½Π΅ΠΌΡ Π΄Π΅ΡΠΆΠ°ΡΠ΅Π»ΡΠΌ ΡΡΠ΅ΠΊΠ»Π° (ΡΠΌ.
ΡΡΡ).
ΠΠΎΠ΄Π½ΠΈΠΌΠ°Π΅ΠΌ ΡΡΠ΅ΠΊΠ»ΠΎ ΡΡΠΊΠ°ΠΌΠΈβ¦
β¦ΠΈ ΡΠΈΠΊΡΠΈΡΡΠ΅ΠΌ Π΅Π³ΠΎ ΠΎΡ ΠΏΠ°Π΄Π΅Π½ΠΈΡ Π²ΠΈΠ½ΡΠΎΠΌ (ΠΈΠ»ΠΈ ΡΠΏΠΈΠ»ΡΠΊΠΎΠΉ) Ρ ΡΠ΅Π·ΡΠ±ΠΎΠΉ Π5, Π²Π²Π΅ΡΠ½ΡΡΡΠΌ Π² ΠΎΡΠ²Π΅ΡΡΡΠΈΠ΅ ΠΏΠ΅ΡΠ΅Π΄Π½Π΅Π³ΠΎ Π΄Π΅ΡΠΆΠ°ΡΠ΅Π»Ρ ΡΡΠ΅ΠΊΠ»Π°. |
ΠΠΎΠ»ΠΎΠ²ΠΊΠΎΠΉ Β«Π½Π° 8Β» ΠΎΡΠ²ΠΎΡΠ°ΡΠΈΠ²Π°Π΅ΠΌ ΡΡΠΈ Π³Π°ΠΉΠΊΠΈ ΠΊΡΠ΅ΠΏΠ»Π΅Π½ΠΈΡ ΠΌΠ΅Ρ Π°Π½ΠΈΠ·ΠΌΠ° ΡΡΠ΅ΠΊΠ»ΠΎΠΏΠΎΠ΄ΡΠ΅ΠΌΠ½ΠΈΠΊΠ° ΠΊ Π²Π½ΡΡΡΠ΅Π½Π½Π΅ΠΉ ΠΏΠ°Π½Π΅Π»ΠΈ Π΄Π²Π΅ΡΠΈ. |
ΠΠΎΠ΄Π²ΠΎΠ΄ΠΈΠΌ ΠΌΠ΅Ρ Π°Π½ΠΈΠ·ΠΌ ΡΡΠ΅ΠΊΠ»ΠΎΠΏΠΎΠ΄ΡΠ΅ΠΌΠ½ΠΈΠΊΠ° ΠΊ ΠΎΠΊΠ½Ρ Π² ΠΏΠ°Π½Π΅Π»ΠΈ Π΄Π²Π΅ΡΠΈ. |
ΠΡΠ»ΠΈ ΠΌΠ΅Ρ Π°Π½ΠΈΠ·ΠΌ ΡΡΠ΅ΠΊΠ»ΠΎΠΏΠΎΠ΄ΡΠ΅ΠΌΠ½ΠΈΠΊΠ° Π½Π΅ Π·Π°ΠΌΠ΅Π½ΡΠ΅ΠΌ, Π° ΡΠ½ΠΈΠΌΠ°Π΅ΠΌ ΠΏΡΠΈ ΠΏΠΎΠ»Π½ΠΎΠΉ ΡΠ°Π·Π±ΠΎΡΠΊΠ΅ Π΄Π²Π΅ΡΠΈ,β¦
β¦ΡΠΎ ΡΠ²ΡΠ·ΡΠ²Π°Π΅ΠΌ ΠΏΡΠΎΠ²ΠΎΠ»ΠΎΠΊΠΎΠΉ Π²Π΅ΡΠ²ΠΈ ΡΡΠΎΡΠ° Π²Π±Π»ΠΈΠ·ΠΈ Π±Π°ΡΠ°Π±Π°Π½Π° ΠΌΠ΅Ρ Π°Π½ΠΈΠ·ΠΌΠ° ΡΡΠ΅ΠΊΠ»ΠΎΠΏΠΎΠ΄ΡΠ΅ΠΌΠ½ΠΈΠΊΠ°. |
ΠΠΏΡΡΠΊΠ°Π΅ΠΌ ΡΡΠ΅ΠΊΠ»ΠΎ ΡΡΠΊΠ°ΠΌΠΈ Π΄ΠΎ ΡΠ΅Π·ΠΈΠ½ΠΎΠ²ΠΎΠ³ΠΎ Π±ΡΡΠ΅ΡΠ° (ΡΠΌ. ΡΡΡ).
Π‘Π½ΠΈΠΌΠ°Π΅ΠΌ ΡΡΠΎΡ Ρ ΡΠ΅ΡΡΡΠ΅Ρ ΡΠΎΠ»ΠΈΠΊΠΎΠ²β¦
β¦ΠΈ Π²ΡΠ½ΠΈΠΌΠ°Π΅ΠΌ ΠΌΠ΅Ρ Π°Π½ΠΈΠ·ΠΌ ΡΡΠ΅ΠΊΠ»ΠΎΠΏΠΎΠ΄ΡΠ΅ΠΌΠ½ΠΈΠΊΠ° Ρ ΡΡΠΎΡΠΎΠΌ. |
ΠΠΎΠ»ΠΎΠ²ΠΊΠΎΠΉ Β«Π½Π° 10Β» ΠΎΡΠ²ΠΎΡΠ°ΡΠΈΠ²Π°Π΅ΠΌ Π±ΠΎΠ»Ρ ΠΊΡΠ΅ΠΏΠ»Π΅Π½ΠΈΡ ΠΊΡΠΎΠ½ΡΡΠ΅ΠΉΠ½Π° Π½Π°ΡΡΠΆΠ½ΠΎΠ³ΠΎ ΡΠΎΠ»ΠΈΠΊΠ°β¦ |
β¦ΠΈ Π²ΡΠ½ΠΈΠΌΠ°Π΅ΠΌ ΠΊΡΠΎΠ½ΡΡΠ΅ΠΉΠ½ Ρ ΡΠΎΠ»ΠΈΠΊΠΎΠΌ. |
ΠΡΠΈ ΡΠ±ΠΎΡΠΊΠ΅, ΡΡΡΠ°Π½ΠΎΠ²ΠΈΠ² ΠΊΡΠΎΠ½ΡΡΠ΅ΠΉΠ½ Π½Π°ΡΡΠΆΠ½ΠΎΠ³ΠΎ ΡΠΎΠ»ΠΈΠΊΠ°, Π±ΠΎΠ»Ρ Π΅Π³ΠΎ ΠΊΡΠ΅ΠΏΠ»Π΅Π½ΠΈΡ Π½Π΅ Π·Π°ΡΡΠ³ΠΈΠ²Π°Π΅ΠΌ.
ΠΠΎΠ΄Π½ΡΠ² ΡΡΠ΅ΠΊΠ»ΠΎ, ΡΠΈΠΊΡΠΈΡΡΠ΅ΠΌ Π΅Π³ΠΎ.
ΠΡΠΎΠ΄Π΅Π²Π°Π΅ΠΌ Π²Π°Π» ΠΌΠ΅Ρ Π°Π½ΠΈΠ·ΠΌΠ° ΡΡΠ΅ΠΊΠ»ΠΎΠΏΠΎΠ΄ΡΠ΅ΠΌΠ½ΠΈΠΊΠ° Π² ΠΎΡΠ²Π΅ΡΡΡΠΈΠ΅ Π²Π½ΡΡΡΠ΅Π½Π½Π΅ΠΉ ΠΏΠ°Π½Π΅Π»ΠΈ Π΄Π²Π΅ΡΠΈ (Π½ΠΎΠ²ΡΠΉ ΠΌΠ΅Ρ Π°Π½ΠΈΠ·ΠΌ ΡΡΠ΅ΠΊΠ»ΠΎΠΏΠΎΠ΄ΡΠ΅ΠΌΠ½ΠΈΠΊΠ° ΠΏΡΠΎΠ΄Π°Π΅ΡΡΡ ΡΠΎ ΡΠ²ΡΠ·Π°Π½Π½ΡΠΌΠΈ Π²Π΅ΡΠ²ΡΠΌΠΈ ΡΡΠΎΡΠ°). |
ΠΠ°Π΄Π΅Π²Π°Π΅ΠΌ ΡΡΠΎΡ Π½Π° ΡΠΎΠ»ΠΈΠΊΠΈ ΠΏΠΎ ΡΡ Π΅ΠΌΠ΅. |
ΠΠΎΠΊΠΎΡΠ΅Π·Π°ΠΌΠΈ ΠΏΠ΅ΡΠ΅ΠΊΡΡΡΠ²Π°Π΅ΠΌ ΠΏΡΠΎΠ²ΠΎΠ»ΠΎΠΊΡ, ΡΠΈΠΊΡΠΈΡΡΡΡΡΡ Π²Π΅ΡΠ²ΠΈ ΡΡΠΎΡΠ°. |
ΠΡΠΎΠ΄Π΅Π²Π°Π΅ΠΌ ΡΠΏΠΈΠ»ΡΠΊΠΈ ΠΌΠ΅Ρ Π°Π½ΠΈΠ·ΠΌΠ° ΡΡΠ΅ΠΊΠ»ΠΎΠΏΠΎΠ΄ΡΠ΅ΠΌΠ½ΠΈΠΊΠ° Π² ΠΎΡΠ²Π΅ΡΡΡΠΈΡ ΠΈ ΠΊΡΠ΅ΠΏΠΈΠΌ ΠΌΠ΅Ρ Π°Π½ΠΈΠ·ΠΌ.
ΠΠ»Ρ Π½Π°ΡΡΠΆΠ΅Π½ΠΈΡ ΡΡΠΎΡΠ° ΡΠ»Π΅Π³ΠΊΠ° Π·Π°ΡΡΠ³ΠΈΠ²Π°Π΅ΠΌ Π±ΠΎΠ»Ρ ΠΊΡΠΎΠ½ΡΡΠ΅ΠΉΠ½Π° Π½Π°ΡΡΠΆΠ½ΠΎΠ³ΠΎ ΡΠΎΠ»ΠΈΠΊΠ°.
ΠΠΎΡΡΡΠΊΠΈΠ²Π°Ρ ΠΌΠΎΠ»ΠΎΡΠΊΠΎΠΌ ΠΏΠΎ ΡΠ΄Π»ΠΈΠ½ΠΈΡΠ΅Π»Ρ Π³ΠΎΠ»ΠΎΠ²ΠΊΠΈ Β«Π½Π° 10Β», Π½Π°Π΄Π΅ΡΠΎΠΉ Π½Π° Π±ΠΎΠ»Ρ ΠΊΡΠΎΠ½ΡΡΠ΅ΠΉΠ½Π°,β¦ |
β¦ΡΠΌΠ΅ΡΠ°Π΅ΠΌ ΡΠΎΠ»ΠΈΠΊ Π²Π½ΠΈΠ·, Π½Π°ΡΡΠ³ΠΈΠ²Π°Ρ ΡΡΠΎΡ. ΠΠΊΠΎΠ½ΡΠ°ΡΠ΅Π»ΡΠ½ΠΎ Π·Π°ΡΡΠ³ΠΈΠ²Π°Π΅ΠΌ Π±ΠΎΠ»Ρ.
ΠΠ°ΠΆΠΈΠ²Π»ΡΠ΅ΠΌ Π²ΠΈΠ½ΡΡ Π΄Π²ΡΡ
ΠΏΡΠΈΠΆΠΈΠΌΠ½ΡΡ
ΠΏΠ»Π°Π½ΠΎΠΊ ΠΊΡΠΎΠ½ΡΡΠ΅ΠΉΠ½ΠΎΠ² ΠΎΠ±ΠΎΠΉΠΌΡ ΡΡΠ΅ΠΊΠ»Π° ΠΈ Π½Π΅ΠΌΠ½ΠΎΠ³ΠΎ ΠΏΠΎΠ΄ΡΡΠ³ΠΈΠ²Π°Π΅ΠΌ Π²ΠΈΠ½ΡΡ ΠΏΠ»Π°Π½ΠΊΠΈ ΠΏΠ΅ΡΠ΅Π΄Π½Π΅Π³ΠΎ ΠΊΡΠΎΠ½ΡΡΠ΅ΠΉΠ½Π°.
ΠΡΠ°ΡΠ°Π΅ΠΌ ΠΏΡΠΎΡΠΈΠ² ΡΠ°ΡΠΎΠ²ΠΎΠΉ ΡΡΡΠ΅Π»ΠΊΠΈ Π½Π°Π΄Π΅ΡΡΡ Π½Π° Π²Π°Π» ΠΌΠ΅Ρ Π°Π½ΠΈΠ·ΠΌΠ° ΡΡΠ΅ΠΊΠ»ΠΎΠΏΠΎΠ΄ΡΠ΅ΠΌΠ½ΠΈΠΊΠ° ΡΡΡΠΊΡ Π΄ΠΎ ΠΌΠΎΠΌΠ΅Π½ΡΠ°, ΠΏΠΎΠΊΠ° Π²ΡΠ°ΡΠ΅Π½ΠΈΠ΅ Π±Π°ΡΠ°Π±Π°Π½Π° ΠΌΠ΅Ρ Π°Π½ΠΈΠ·ΠΌΠ° ΡΡΠ΅ΠΊΠ»ΠΎΠΏΠΎΠ΄ΡΠ΅ΠΌΠ½ΠΈΠΊΠ° Π½Π΅ ΠΏΡΠ΅ΠΊΡΠ°ΡΠΈΡΡΡ. ΠΠΎΠ΄Π½ΠΈΠΌΠ°Π΅ΠΌ ΡΡΠ΅ΠΊΠ»ΠΎ ΡΡΠΊΠ°ΠΌΠΈ Π΄ΠΎ ΡΠΏΠΎΡΠ° ΠΈ, ΠΏΡΠΈΠ΄Π΅ΡΠΆΠΈΠ²Π°Ρ Π΅Π³ΠΎ Π² ΡΡΠΎΠΌ ΠΏΠΎΠ»ΠΎΠΆΠ΅Π½ΠΈΠΈ, ΠΏΠΎΠ²ΠΎΡΠ°ΡΠΈΠ²Π°Π΅ΠΌ Π½Π°Π΄Π΅ΡΡΡ Π½Π° Π²Π°Π» ΠΌΠ΅Ρ Π°Π½ΠΈΠ·ΠΌΠ° ΡΡΠ΅ΠΊΠ»ΠΎΠΏΠΎΠ΄ΡΠ΅ΠΌΠ½ΠΈΠΊΠ° ΡΡΡΠΊΡ ΠΏΠΎ ΡΠ°ΡΠΎΠ²ΠΎΠΉ ΡΡΡΠ΅Π»ΠΊΠ΅ Π½Π° ΠΏΠΎΠ»-ΠΎΠ±ΠΎΡΠΎΡΠ°.
ΠΡΠ΅ΡΡΠΎΠΎΠ±ΡΠ°Π·Π½ΠΎΠΉ ΠΎΡΠ²Π΅ΡΡΠΊΠΎΠΉ ΡΠΊΠ²ΠΎΠ·Ρ ΠΎΠΊΠ½ΠΎ Π² Π²Π΅ΡΡ Π½Π΅ΠΉ ΡΠ°ΡΡΠΈ Π²Π½ΡΡΡΠ΅Π½Π½Π΅ΠΉ ΠΏΠ°Π½Π΅Π»ΠΈ Π΄Π²Π΅ΡΠΈ ΠΎΠΊΠΎΠ½ΡΠ°ΡΠ΅Π»ΡΠ½ΠΎ Π·Π°ΡΡΠ³ΠΈΠ²Π°Π΅ΠΌ Π²ΠΈΠ½ΡΡ ΠΏΠ»Π°Π½ΠΊΠΈ ΠΏΠ΅ΡΠ΅Π΄Π½Π΅Π³ΠΎ ΠΊΡΠΎΠ½ΡΡΠ΅ΠΉΠ½Π° ΠΎΠ±ΠΎΠΉΠΌΡ ΡΡΠ΅ΠΊΠ»Π°. |
ΠΠΏΡΡΠΊΠ°Π΅ΠΌ ΡΡΠ΅ΠΊΠ»ΠΎ Π΄ΠΎ ΡΠΎΠ³ΠΎ ΡΡΠΎΠ²Π½Ρ, ΠΊΠΎΠ³Π΄Π° ΡΠ΅ΡΠ΅Π· ΠΎΠΊΠ½ΠΎ Π²Π½ΡΡΡΠ΅Π½Π½Π΅ΠΉ ΠΏΠ°Π½Π΅Π»ΠΈ Π΄Π²Π΅ΡΠΈ ΠΌΠΎΠΆΠ½ΠΎ Π±ΡΠ΄Π΅Ρ Π·Π°ΡΡΠ½ΡΡΡ Π²ΠΈΠ½ΡΡ ΠΏΠ»Π°Π½ΠΊΠΈ Π·Π°Π΄Π½Π΅Π³ΠΎ ΠΊΡΠΎΠ½ΡΡΠ΅ΠΉΠ½Π° ΠΎΠ±ΠΎΠΉΠΌΡ ΡΡΠ΅ΠΊΠ»Π° (ΡΠΌ .ΡΡΡ).
ΠΡΠΎΠ²Π΅ΡΠΈΠ² ΡΠ°Π±ΠΎΡΡ ΠΌΠ΅Ρ Π°Π½ΠΈΠ·ΠΌΠ° ΡΡΠ΅ΠΊΠ»ΠΎΠΏΠΎΠ΄ΡΠ΅ΠΌΠ½ΠΈΠΊΠ°, ΡΠΌΠ°Π·ΡΠ²Π°Π΅ΠΌ ΡΡΠΎΡ ΠΈ ΡΠΎΠ»ΠΈΠΊΠΈ ΡΠΌΠ°Π·ΠΊΠΎΠΉ ΠΠΈΡΠΎΠ»-24.
ΠΊΠ°ΠΊ ΠΏΡΠ°Π²ΠΈΠ»ΡΠ½ΠΎ ΠΏΠΎΡΡΠ°Π²ΠΈΡΡ ΡΡΠΎΡΠΈΠΊ, ΡΠ΅ΠΌΠΎΠ½Ρ ΠΈ ΡΡΡΠ°Π½ΠΎΠ²ΠΊΠ°
Β«Π‘Π΅ΠΌΠ΅ΡΠΊΠ°Β» ΡΠ²Π»ΡΠ΅ΡΡΡ Π»Π΅Π³Π΅Π½Π΄Π°ΡΠ½ΡΠΌ Π°Π²ΡΠΎΠΌΠΎΠ±ΠΈΠ»Π΅ΠΌ, ΠΏΠΎΡΡΠΎΠΌΡ ΡΡΠ°Π»Π° ΠΊΠ»Π°ΡΡΠΈΠΊΠΎΠΉ. ΠΠ΅ΡΠΌΠΎΡΡΡ Π½Π°Β ΡΡΠΎ, ΠΌΠ°ΡΠΈΠ½Π° Π½Π΅Β ΠΊΠΎΠΌΠΏΠ»Π΅ΠΊΡΠΎΠ²Π°Π»Π°ΡΡ ΠΊΠΎΠ½Π΄ΠΈΡΠΈΠΎΠ½Π΅ΡΠ°ΠΌΠΈ. ΠΠ΄ΠΈΠ½ΡΡΠ²Π΅Π½Π½ΠΎΠ΅ ΡΠΏΠ°ΡΠ΅Π½ΠΈΠ΅ ΠΎΡΒ ΠΆΠ°ΡΡ Π΄Π»Ρ Π²ΠΎΠ΄ΠΈΡΠ΅Π»Ρ Π²Β Π»Π΅ΡΠ½ΠΈΠΉ ΠΏΠ΅ΡΠΈΠΎΠ΄Β β ΠΎΠΏΡΡΡΠΈΡΡ ΠΎΠΊΠ½ΠΎ.
ΠΠΎΒ ΠΈΒ ΡΡΠΎΡ ΠΌΠ΅Ρ
Π°Π½ΠΈΠ·ΠΌ ΠΏΡΠΈΡ
ΠΎΠ΄ΠΈΡ Π²Β Π½Π΅Π³ΠΎΠ΄Π½ΠΎΡΡΡ, Π»ΠΎΠΌΠ°Π΅ΡΡΡ ΠΈΒ Π·Π°ΠΊΠ»ΠΈΠ½ΠΈΠ²Π°Π΅Ρ. ΠΒ ΡΠ°ΠΊΠΈΡ
ΡΠ»ΡΡΠ°ΡΡ
ΡΡΠ΅Π±ΡΠ΅ΡΡΡ ΠΎΡΡΠ΅ΠΌΠΎΠ½ΡΠΈΡΠΎΠ²Π°ΡΡ ΠΈΠ»ΠΈ Π·Π°ΠΌΠ΅Π½ΠΈΡΡ ΠΏΠΎΠ΄ΡΠ΅ΠΌΠ½ΠΈΠΊ ΠΏΠΎΠ»Π½ΠΎΡΡΡΡ ΠΈΠ»ΠΈ ΡΠ°ΡΡΠΈΡΠ½ΠΎ. ΠΠ΅ΡΠ΅Π΄Π½ΠΈΠΉ ΠΈΒ Π·Π°Π΄Π½ΠΈΠΉ ΠΌΠ΅Ρ
Π°Π½ΠΈΠ·ΠΌΡ ΠΌΠ°Π»ΠΎ ΡΠ΅ΠΌ ΠΎΡΠ»ΠΈΡΠ°ΡΡΡΡ, ΡΠ°ΠΊΒ ΠΆΠ΅, ΠΊΠ°ΠΊ ΠΈΒ ΠΏΡΠ°Π²ΡΠΉ ΠΈΠ»ΠΈ Π»Π΅Π²ΡΠΉ. ΠΠ°ΡΠ°ΡΡΡΡ Π²ΡΡ ΠΏΡΠΎΡΠ΅Π΄ΡΡΡ ΠΌΠΎΠΆΠ½ΠΎ Π²ΡΠΏΠΎΠ»Π½ΠΈΡΡ Π²ΡΡΡΠ½ΡΡ ΡΠ°ΠΌΠΎΡΡΠΎΡΡΠ΅Π»ΡΠ½ΠΎ. ΠΠ°Π»Π΅Π΅ Π²Β ΡΡΠ°ΡΡΠ΅ β ΠΊΠ°ΠΊ ΠΏΡΠΎΠΈΡΡ
ΠΎΠ΄ΠΈΡ Π·Π°ΠΌΠ΅Π½Π° ΡΡΠ΅ΠΊΠ»ΠΎΠΏΠΎΠ΄ΡΠ΅ΠΌΠ½ΠΈΠΊΠ° (ΠΠΠ-2107).
Π£ΡΡΡΠΎΠΉΡΡΠ²ΠΎ ΠΌΠ΅Ρ Π°Π½ΠΈΠ·ΠΌΠ°
ΠΠ°ΠΆΠ΄ΡΠΉ, Π΄Π°ΠΆΠ΅ Π΄Π°Π»Π΅ΠΊΠΈΠΉ ΠΎΡΒ Π°Π²ΡΠΎΠΌΠΎΠ±ΠΈΠ»Π΅ΠΉ ΡΠ΅Π»ΠΎΠ²Π΅ΠΊ, Π·Π½Π°Π΅Ρ ΠΏΡΠ΅Π΄Π½Π°Π·Π½Π°ΡΠ΅Π½ΠΈΠ΅ ΠΏΡΠ΅Π΄ΡΡΠ°Π²Π»Π΅Π½Π½ΠΎΠ³ΠΎ ΡΡΡΡΠΎΠΉΡΡΠ²Π°. ΠΠ°Β ΡΠ΅Π³ΠΎΠ΄Π½ΡΡΠ½ΠΈΠΉ Π΄Π΅Π½Ρ ΠΏΠΎΡΡΠΈ Π²ΡΠ΅ ΠΌΠΈΡΠΎΠ²ΡΠ΅ ΠΌΠ°ΡΠΊΠΈ Π°Π²ΡΠΎΠΌΠΎΠ±ΠΈΠ»Π΅ΠΉ ΡΠΊΠΎΠΌΠΏΠ»Π΅ΠΊΡΠΎΠ²Π°Π½Ρ ΡΠ»Π΅ΠΊΡΡΠΈΡΠ΅ΡΠΊΠΈΠΌΠΈ ΡΡΠ΅ΠΊΠ»ΠΎΠΏΠΎΠ΄ΡΠ΅ΠΌΠ½ΠΈΠΊΠ°ΠΌΠΈ, ΡΠ΅ΠΌ ΡΠ°ΠΌΡΠΌ ΡΠΏΡΠΎΡΠ°Ρ ΠΈΒ ΡΡΠΊΠΎΡΡΡ ΠΏΡΠΎΡΠ΅ΡΡ ΠΏΠΎΠ΄ΡΠ΅ΠΌΠ° ΠΈΒ ΠΎΠΏΡΡΠΊΠ°Π½ΠΈΡ ΡΡΠ΅ΠΊΠ»Π°. ΠΠ΄Π½Π°ΠΊΠΎ ΡΠ°ΠΊ Π±ΡΠ»ΠΎ Π½Π΅Β Π²ΡΠ΅Π³Π΄Π°. Β«ΠΠ»Π°ΡΡΠΈΠΊΠ°Β» ΠΎΡΒ ΠΠΠ ΠΈΠ·Π½Π°ΡΠ°Π»ΡΠ½ΠΎ ΠΊΠΎΠΌΠΏΠ»Π΅ΠΊΡΠΎΠ²Π°Π»Π°ΡΡ ΡΠΎΠ»ΡΠΊΠΎ ΡΡΡΠ½ΡΠΌΠΈ ΡΡΡΡΠΎΠΉΡΡΠ²Π°ΠΌΠΈ.
ΠΡΠΎΡΠ΅ΡΡ ΡΡΡΠ°Π½ΠΎΠ²ΠΊΠΈ ΡΡΠ΅ΠΊΠ»ΠΎΠΏΠΎΠ΄ΡΠ΅ΠΌΠ½ΠΈΠΊΠ° Π½Π° ΠΠΠ-2107ΠΡΠ΅ ΡΡΠ΅ΠΊΠ»ΠΎΠΏΠΎΠ΄ΡΠ΅ΠΌΠ½ΠΈΠΊΠΈ ΡΠ»ΡΠΆΠ°Ρ Π΄Π»Ρ ΠΎΡΠΊΡΡΠ²Π°Π½ΠΈΡ ΠΈΒ Π·Π°ΠΊΡΡΡΠΈΡ ΠΎΠΊΠ½Π°. ΠΠ΅Π»Π°Π΅ΡΡΡ ΡΡΠΎ Π΄Π»Ρ ΡΠΎΠ³ΠΎ, ΡΡΠΎΠ±Ρ ΠΎΡΡΠ΅Π³ΡΠ»ΠΈΡΠΎΠ²Π°ΡΡ ΡΠ΅ΠΌΠΏΠ΅ΡΠ°ΡΡΡΡ ΠΈΒ ΡΡΠ»ΠΎΠ²ΠΈΡ ΠΌΠΈΠΊΡΠΎΠΊΠ»ΠΈΠΌΠ°ΡΠ° Π²Β ΡΠ°Π»ΠΎΠ½Π΅ ΠΌΠ°ΡΠΈΠ½Ρ. ΠΠΎΠ΄ΠΎΠ±Π½ΡΠ΅ ΠΌΠ΅Ρ Π°Π½ΠΈΠ·ΠΌΡ Π΄Π΅Π»ΡΡΡΡ Π½Π°Β Π΄Π²Π΅ ΠΊΠ°ΡΠ΅Π³ΠΎΡΠΈΠΈ:
- ΠΌΠ΅Ρ
Π°Π½ΠΈΡΠ΅ΡΠΊΠΈΠ΅.
ΠΡΠ΅Π΄ΡΡΠ°Π²Π»ΡΡΡ ΡΠΎΠ±ΠΎΠΉ Π½Π°Π±ΠΎΡ ΡΡΡΠ΅ΠΊ Π²Π½ΡΡΡΠΈ ΡΠ°Π»ΠΎΠ½Π° ΠΈΒ ΠΏΠΎΠ΄ΡΠ΅ΠΌΠ½ΠΎΠ³ΠΎ ΡΡΡΡΠΎΠΉΡΡΠ²Π°, ΠΊΠΎΡΠΎΡΡΠΉ ΡΠΎΡΡΠΎΠΈΡ ΠΈΠ·Β ΡΡΠΎΡΠΈΠΊΠΎΠ² ΠΈΒ Π΄ΡΡΠ³ΠΈΡ
ΡΠ»Π΅ΠΌΠ΅Π½ΡΠΎΠ². Π’Π°ΠΊΠΈΠΌ ΠΎΠ±ΡΠ°Π·ΠΎΠΌ, Π²Π΅ΡΡ ΠΏΡΠΎΡΠ΅ΡΡ ΠΏΡΠΎΠΈΡΡ
ΠΎΠ΄ΠΈΡ ΠΏΡΠΈ ΠΏΠΎΠΌΠΎΡΠΈ ΡΡΠΊΠΈ ΠΏΠ°ΡΡΠ°ΠΆΠΈΡΠ°; - ΡΠ»Π΅ΠΊΡΡΠΈΡΠ΅ΡΠΊΠΈΠ΅. ΠΠ»Ρ ΡΠΏΡΠ°Π²Π»Π΅Π½ΠΈΡ ΡΠ°ΠΊΠΈΠΌΠΈ ΠΏΠΎΠ΄ΡΠ΅ΠΌΠ½ΠΈΠΊΠ°ΠΌΠΈ Π²Β ΡΠ°Π»ΠΎΠ½Π΅ ΡΡΡΠ°Π½Π°Π²Π»ΠΈΠ²Π°ΡΡΡΡ ΠΊΠ½ΠΎΠΏΠΊΠΈ, ΠΏΠΎΠ·Π²ΠΎΠ»ΡΡΡΠΈΠ΅ Π»Π΅Π³ΠΊΠΎ ΡΠ΅Π³ΡΠ»ΠΈΡΠΎΠ²Π°ΡΡ ΠΎΡΠΊΡΡΡΠΈΠ΅ ΠΎΠΊΠΎΠ½.
ΠΠ»Π°ΡΡΠΈΡΠ΅ΡΠΊΠΈΠ΅ Β«ΡΠ΅ΠΌΠ΅ΡΠΊΠΈΒ» ΠΎΡΒ ΠΠΎΠ»ΠΆΡΠΊΠΎΠ³ΠΎ Π°Π²ΡΠΎΠΌΠΎΠ±ΠΈΠ»ΡΠ½ΠΎΠ³ΠΎ Π·Π°Π²ΠΎΠ΄Π° ΠΈΠΌΠ΅ΡΡ ΠΎΡΠ΅Π½Ρ ΠΏΡΠΎΡΡΡΡ ΠΊΠΎΠ½ΡΡΡΡΠΊΡΠΈΡ. ΠΒ Π΄Π²Π΅ΡΡΡ ΡΡΡΠ°Π½ΠΎΠ²Π»Π΅Π½ ΠΌΠ΅Ρ Π°Π½ΠΈΠ·ΠΌ, ΠΊΒ ΠΊΠΎΡΠΎΡΠΎΠΌΡ ΠΏΡΠΈΠΊΡΠ΅ΠΏΠ»Π΅Π½ΠΎ ΡΡΠ΅ΠΊΠ»ΠΎ. ΠΠΊΠ½Π° ΡΠ΅Π³ΡΠ»ΠΈΡΡΡΡΡΡ ΠΏΠΎΠ²ΠΎΡΠΎΡΠ°ΠΌΠΈ ΡΡΡΠΊΠΈ Π²Β ΠΎΠ΄Π½Ρ ΠΈΠ»ΠΈ Π΄ΡΡΠ³ΡΡ ΡΡΠΎΡΠΎΠ½Ρ.
Π£ΡΡΠ°Π½ΠΎΠ²ΠΊΠ° ΡΠ»Π΅ΠΊΡΡΠΎΡΡΠ΅ΠΊΠ»ΠΎΠΏΠΎΠ΄ΡΠ΅ΠΌΠ½ΠΈΠΊΠΎΠ² Π½Π° ΠΠΠ-2107ΠΡΠ°ΠΊΡΠΈΡΠ΅ΡΠΊΠΈ Π½Π° Π»ΡΠ±ΠΎΠΉ Π°Π²ΡΠΎΠΌΠΎΠ±ΠΈΠ»Ρ Ρ ΡΡΡΠ½ΡΠΌ ΠΌΠ΅Ρ Π°Π½ΠΈΠ·ΠΌΠΎΠΌ ΠΎΡΠΊΡΡΠ²Π°Π½ΠΈΡ ΡΡΠ΅ΠΊΠΎΠ» ΠΌΠΎΠΆΠ½ΠΎ ΡΡΡΠ°Π½ΠΎΠ²ΠΈΡΡ ΡΠ»Π΅ΠΊΡΡΠΈΡΠ΅ΡΠΊΡΡ ΡΠΈΡΡΠ΅ΠΌΡ.
Π’ΠΈΠΏΡ ΡΡΡΡΠΎΠΉΡΡΠ², ΠΊΠΎΡΠΎΡΡΠ΅ ΡΡΡΠ°Π½Π°Π²Π»ΠΈΠ²Π°Π»ΠΈΡΡ Π½Π°Β ΠΠΠ-2107
ΠΠ°Β Π³ΠΎΠ΄Ρ, ΠΊΠΎΡΠΎΡΡΠ΅ Π°Π²ΡΠΎΠΌΠΎΠ±ΠΈΠ»Ρ ΡΡ ΠΎΠ΄ΠΈΠ» ΡΒ ΠΊΠΎΠ½Π²Π΅ΠΉΠ΅ΡΠ°, ΠΎΠ½Β ΠΊΠΎΠΌΠΏΠ»Π΅ΠΊΡΠΎΠ²Π°Π»ΡΡ ΡΠΎΠ»ΡΠΊΠΎ Π΄Π²ΡΠΌΡ ΡΠΈΠΏΠ°ΠΌΠΈ ΠΌΠ΅Ρ Π°Π½ΠΈΠ·ΠΌΠΎΠ²:
- Π’ΡΠΎΡΠΎΠ²ΡΠ΅. ΠΠ°ΠΊ ΠΌΠΎΠΆΠ½ΠΎ ΠΏΠΎΠ½ΡΡΡ ΠΈΠ·Β Π½Π°Π·Π²Π°Π½ΠΈΡ, ΠΎΡΠ½ΠΎΠ²Π½ΡΠΌ ΠΊΠΎΠΌΠΏΠΎΠ½Π΅Π½ΡΠΎΠΌ Π΄Π»Ρ ΡΠ΅Π³ΡΠ»ΠΈΡΠΎΠ²ΠΊΠΈ ΡΡΠ΅ΠΊΠ»Π° ΡΠ²Π»ΡΠ΅ΡΡΡ ΡΡΠΎΡ.
ΠΡΠΎ Π½Π°ΠΈΠ±ΠΎΠ»Π΅Π΅ ΡΠ°ΡΠΏΡΠΎΡΡΡΠ°Π½Π΅Π½Π½Π°Ρ ΠΊΠΎΠ½ΡΡΡΡΠΊΡΠΈΡ, ΠΎΠ΄Π½Π°ΠΊΠΎ ΠΎΠ½Π° ΠΈΠΌΠ΅Π΅Ρ Π½Π΅Π±ΠΎΠ»ΡΡΡΡ Π½Π°Π΄Π΅ΠΆΠ½ΠΎΡΡΡ. ΠΡΠ»ΠΈΡΠ°Π΅ΡΡΡ ΡΠ°ΠΊΠΆΠ΅ ΠΎΡΠ½ΠΎΡΠΈΡΠ΅Π»ΡΠ½ΠΎΠΉ ΠΌΠ΅Π΄Π»ΠΈΡΠ΅Π»ΡΠ½ΠΎΡΡΡΡ ΡΠ΅Π³ΡΠ»ΠΈΡΠΎΠ²ΠΊΠΈ ΠΏΠΎΠ»ΠΎΠΆΠ΅Π½ΠΈΡ ΠΎΠΊΠ½Π°, ΠΏΠΎΡΠΎΠΌΡ ΡΡΠΎ ΠΏΡΠΈΠ²ΠΎΠ΄Ρ ΡΡΠ΅Π±ΡΡΡΡΡ ΡΡΠΈΠ»ΠΈΡ Π΄Π»Ρ ΠΏΡΠ΅ΠΎΠ΄ΠΎΠ»Π΅Π½ΠΈΡ ΡΠΎΠΏΡΠΎΡΠΈΠ²Π»Π΅Π½ΠΈΡ ΡΠΏΠ»ΠΎΡΠ½ΠΈΡΠ΅Π»ΡΠ½ΡΡ
ΡΠ΅Π·ΠΈΠ½ΠΎΠ²ΡΡ
ΠΏΡΠΎΠΊΠ»Π°Π΄ΠΎΠΊ. ΠΠΎΠ²ΠΎΠ»ΡΠ½ΠΎ ΡΠ°ΡΡΠΎ ΡΡΠΎΡΠΎΠ²ΡΠ΅ ΠΏΠΎΠ΄ΡΠ΅ΠΌΠ½ΠΈΠΊΠΈ ΠΏΠ΅ΡΠ΅Π³ΡΠ΅Π²Π°ΡΡΡΡ ΠΈΒ Π»ΠΎΠΌΠ°ΡΡΡΡ. Π₯ΠΎΡΡ ΠΌΠ΅Ρ
Π°Π½ΠΈΠ·ΠΌ ΠΈΒ ΠΌΠΎΠΆΠ½ΠΎ ΠΎΡΠ΅Π½Ρ Π»Π΅Π³ΠΊΠΎ ΠΎΡΡΠ΅ΠΌΠΎΠ½ΡΠΈΡΠΎΠ²Π°ΡΡ, ΠΎΠ΄Π½Π°ΠΊΠΎ Π΄Π΅Π»Π°ΡΡ ΡΡΠΎ ΠΏΡΠΈΠ΄Π΅ΡΡΡ ΡΠ°ΡΡΠΎ. - Π Π΅Π΅ΡΠ½ΡΠ΅. ΠΡΠ΅Π΄ΡΡΠ°Π²Π»Π΅Π½Π½Π°Ρ ΡΠΈΡΡΠ΅ΠΌΠ° ΠΈΠΌΠ΅Π΅Ρ Π±ΠΎΠ»ΡΡΡΡ Π½Π°Π΄Π΅ΠΆΠ½ΠΎΡΡΡ ΠΏΠΎΒ ΡΡΠ°Π²Π½Π΅Π½ΠΈΡ ΡΒ ΡΡΠΎΡΠΎΠΌ. Π£ΡΡΡΠΎΠΉΡΡΠ²ΠΎ ΡΡΠ½ΠΊΡΠΈΠΎΠ½ΠΈΡΡΠ΅Ρ Π·Π°Β ΡΡΠ΅Ρ ΡΠΈΠ»Ρ Π²ΡΠ°ΡΠ΅Π½ΠΈΡ ΡΠΏΠ΅ΡΠΈΠ°Π»ΡΠ½ΠΎΠΉ ΡΠ΅ΡΡΠ΅ΡΠ΅Π½ΠΊΠΈ, ΠΊΠΎΡΠΎΡΠ°Ρ Π·Π°ΠΏΡΡΠΊΠ°Π΅Ρ Π»ΠΈΠ½Π΅ΠΉΠ½ΡΡ ΡΠ΅ΠΉΠΊΡ Π½Π°Β ΠΊΠ°ΡΠ΅ΡΠΊΡ ΡΡΠ΅ΠΊΠ»Π°. ΠΠΈΠ½ΡΡΒ β Π½Π΅ΠΎΠ±Ρ ΠΎΠ΄ΠΈΠΌΠΎΡΡΡ ΠΏΠΎΡΡΠΎΡΠ½Π½ΠΎ ΡΠΌΠ°Π·ΡΠ²Π°ΡΡ ΠΈΒ ΡΠΈΡΡΠΈΡΡ ΡΡΡΡΠΎΠΉΡΡΠ²ΠΎ. ΠΡΠΎΠΌΠ΅ ΡΡΠΎΠ³ΠΎ, ΡΠ΅ΡΡΠ΅ΡΠ΅Π½ΠΊΠΈ ΡΠ²Π»ΡΡΡΡΡ Π½Π΅Π½Π°Π΄Π΅ΠΆΠ½ΡΠΌΠΈ ΡΠ°ΡΡΡΠΌΠΈ, ΠΏΠΎΡΠΎΠΌΡ ΡΡΠΎ ΡΠ΄Π΅Π»Π°Π½Ρ ΠΈΠ·Β ΠΏΠ»Π°ΡΡΠΌΠ°ΡΡΡ. ΠΡΠ»ΠΈ ΡΠ΅ΡΡΠ΅ΡΠ΅Π½ΠΊΠ° ΡΠ»ΠΎΠΌΠ°Π΅ΡΡΡ, ΡΠΎΒ Π²Π΅ΡΡ ΠΌΠ΅Ρ Π°Π½ΠΈΠ·ΠΌ Π½ΡΠΆΠ΄Π°Π΅ΡΡΡ Π²Β Π·Π°ΠΌΠ΅Π½Π΅.
Π‘Ρ Π΅ΠΌΠ° ΡΠ΅Π΅ΡΠ½ΠΎΠ³ΠΎ ΡΡΡΡΠΎΠΉΡΡΠ²Π°ΠΠ°ΠΆΠ½ΠΎ! ΠΠΎΠΌΠ΅Π½ΡΡΡ ΠΌΠ΅Ρ Π°Π½ΠΈΠ·ΠΌ ΠΈ ΠΏΠΎΡΡΠ°Π²ΠΈΡΡ Π΄ΡΡΠ³ΠΎΠΉ ΡΠΈΠΏ ΠΌΠΎΠΆΠ½ΠΎ Π²ΡΠ΅Π³Π΄Π°: ΡΠ°ΠΌΠΎΡΡΠΎΡΡΠ΅Π»ΡΠ½ΠΎ ΠΈΠ»ΠΈ Π½Π° ΡΠΏΠ΅ΡΠΈΠ°Π»ΠΈΠ·ΠΈΡΠΎΠ²Π°Π½Π½ΠΎΠΉ ΡΡΠ°Π½ΡΠΈΠΈ.
Π Π΅ΠΌΠΎΠ½Ρ
ΠΡΠ½ΠΎΠ²Π½ΡΠ΅ Π½Π΅ΠΏΠΎΠ»Π°Π΄ΠΊΠΈ, ΠΊΠΎΡΠΎΡΡΠ΅ Π²ΡΡΡΠ΅ΡΠ°ΡΡΡΡ Π²Β ΠΏΡΠΎΡΠ΅ΡΡΠ΅ ΡΠΊΡΠΏΠ»ΡΠ°ΡΠ°ΡΠΈΠΈ ΡΡΠ΅ΠΊΠ»ΠΎΠΏΠΎΠ΄ΡΠ΅ΠΌΠ½ΠΈΠΊΠΎΠ², ΠΌΠΎΠΆΠ½ΠΎ Π»Π΅Π³ΠΊΠΎ ΠΈΡΠΏΡΠ°Π²ΠΈΡΡ.
ΠΠ°ΡΠ°ΡΡΡΡ ΠΌΠ΅Ρ
Π°Π½ΠΈΠ·ΠΌ Π΄ΠΎΠ²ΠΎΠ»ΡΠ½ΠΎ ΠΏΡΠΎΡΡΠΎΠΉ, ΠΈΒ Π·Π°ΠΌΠ΅Π½ΠΈΡΡ ΠΎΠ΄ΠΈΠ½ ΠΈΠ»ΠΈ Π½Π΅ΡΠΊΠΎΠ»ΡΠΊΠΎ Π΅Π³ΠΎ ΡΠ»Π΅ΠΌΠ΅Π½ΡΠΎΠ² Π½Π΅Β ΡΠΎΡΡΠ°Π²Π»ΡΠ΅Ρ ΡΡΡΠ΄Π°. ΠΠ΄Π½Π°ΠΊΠΎ Π½Π΅Β ΡΡΠΎΠΈΡ Π²ΠΌΠ΅ΡΠΈΠ²Π°ΡΡΡΡ Π²Β ΡΠ°Π±ΠΎΡΡ ΡΠ·Π»Π°, Π²ΠΎΠ²ΡΠ΅ Π½Π΅Β Π·Π½Π°Ρ ΠΏΡΠΈΠ½ΡΠΈΠΏ Π΅Π³ΠΎ ΡΠ°Π±ΠΎΡΡ.
ΠΠ΅ΡΠ΅Π΄ ΡΠ΅ΠΌ ΠΊΠ°ΠΊ ΡΠ°Π·ΠΎΠ±ΡΠ°ΡΡ ΡΡΡΡΠΎΠΉΡΡΠ²ΠΎ, Π½ΡΠΆΠ½ΠΎ ΠΎΠ·Π½Π°ΠΊΠΎΠΌΠΈΡΡΡΡ Ρ ΠΈΠ½ΡΡΡΡΠΊΡΠΈΠ΅ΠΉ ΠΈ ΡΡ Π΅ΠΌΠΎΠΉ.
ΠΠ°ΠΈΠ±ΠΎΠ»Π΅Π΅ ΡΠ°ΡΠΏΡΠΎΡΡΡΠ°Π½Π΅Π½Π½ΠΎΠΉ ΠΏΠΎΠ»ΠΎΠΌΠΊΠΎΠΉ ΡΡΠΈΡΠ°Π΅ΡΡΡ ΠΈΠ·Π½ΠΎΡ ΠΈΠ»ΠΈ ΡΠ°Π·ΡΡΡΠ΅Π½ΠΈΠ΅ Π·ΡΠ±ΡΠΎΠ² ΡΠ΅ΡΡΠ΅ΡΠ΅Π½ΠΊΠΈ. ΠΠ°Β Π½Π΅Π΅ ΠΏΡΠΈΡ ΠΎΠ΄ΠΈΡΡΡ Π±ΠΎΠ»ΡΡΠ°Ρ Π½Π°Π³ΡΡΠ·ΠΊΠ°, ΠΏΠΎΡΡΠΎΠΌΡ ΠΈΠ·Β ΡΡΡΠΎΡ ΠΎΠ½Π° ΠΎΠ±ΡΡΠ½ΠΎ Π²ΡΡ ΠΎΠ΄ΠΈΡ ΠΏΠ΅ΡΠ²ΠΎΠΉ. ΠΠ΅ΡΠ΅Π΄ Π²ΡΠΏΠΎΠ»Π½Π΅Π½ΠΈΠ΅ΠΌ Π»ΡΠ±ΡΡ Π΄Π΅ΠΉΡΡΠ²ΠΈΠΉ ΡΡΠ΅Π±ΡΠ΅ΡΡΡ ΡΠ½Π°ΡΠ°Π»Π° Π΄Π΅ΠΌΠΎΠ½ΡΠΈΡΠΎΠ²Π°ΡΡ ΠΏΠ°Π½Π΅Π»Ρ Π΄Π²Π΅ΡΠΈ ΠΈΒ ΠΎΠ±ΡΠΈΠ²ΠΊΡ. ΠΠΎΡΠ»Π΅ ΡΡΠΎΠ³ΠΎ ΠΌΠΎΠΆΠ½ΠΎ ΠΏΡΠΈΡΡΡΠΏΠΈΡΡ ΠΊΒ ΡΠ½ΡΡΠΈΡ ΠΌΠ΅Ρ Π°Π½ΠΈΠ·ΠΌΠ°.
ΠΡΠΈΠ½ΡΠΈΠΏ ΡΠ°Π±ΠΎΡΡ ΡΠ·Π»Π° Π·Π°Π΄Π°Π½ ΠΏΡΠΎΠΈΠ·Π²ΠΎΠ΄ΠΈΡΠ΅Π»Π΅ΠΌ. ΠΠ°Β Π·Π°Π²ΠΎΠ΄Π΅ ΠΏΡΠ΅Π΄ΠΏΡΠΈΡΡΠΈΡ ΠΏΡΠΎΠΈΡΡ
ΠΎΠ΄ΠΈΡ ΡΠΏΠ΅ΡΠΈΠ°Π»ΡΠ½Π°Ρ Π½Π°ΡΡΡΠΎΠΉΠΊΠ°, ΠΏΠΎΡΡΠΎΠΌΡ Π½Π΅Β ΡΠ΅ΠΊΠΎΠΌΠ΅Π½Π΄ΡΠ΅ΡΡΡ ΠΏΡΠΎΠΈΠ·Π²ΠΎΠ΄ΠΈΡΡ Π²ΠΌΠ΅ΡΠ°ΡΠ΅Π»ΡΡΡΠ²ΠΎ Π²Β ΡΠΈΡΡΠ΅ΠΌΡ, ΠΏΠΎΡΠΎΠΌΡ ΡΡΠΎ ΡΡΠΎ ΠΌΠΎΠΆΠ΅Ρ Π±ΡΡΡ ΡΡΠ΅Π²Π°ΡΠΎ ΡΠ°Π·Π»ΠΈΡΠ½ΡΠΌΠΈ Π½Π΅ΠΏΠΎΠ»Π°Π΄ΠΊΠ°ΠΌΠΈ Π²Β ΡΡΠ½ΠΊΡΠΈΠΎΠ½ΠΈΡΠΎΠ²Π°Π½ΠΈΠΈ. ΠΡΠΎΠ±Π»Π΅ΠΌΠ° ΠΈΠ½ΠΎΠ³Π΄Π° ΠΌΠΎΠΆΠ΅Ρ ΠΏΠΎΠΊΠ°Π·Π°ΡΡΡΡ Π΄ΠΎΡΡΠ°ΡΠΎΡΠ½ΠΎ ΠΏΡΠΎΡΡΠΎΠΉ Π΄Π»Ρ ΡΠ°ΠΌΠΎΡΡΠΎΡΡΠ΅Π»ΡΠ½ΠΎΠ³ΠΎ ΠΈΡΠΏΡΠ°Π²Π»Π΅Π½ΠΈΡ, Π½ΠΎΒ Π½Π°Β ΡΠ°ΠΌΠΎΠΌ Π΄Π΅Π»Π΅ ΠΎΠΊΠ°ΠΆΠ΅ΡΡΡ Π²ΡΠ΅ Π½Π΅Β ΡΠ°ΠΊ. ΠΠΎΡΠΎΠΌ ΠΏΡΠΈΠ΄Π΅ΡΡΡ Π΅Ρ
Π°ΡΡ ΠΈΡΠΏΡΠ°Π²Π»ΡΡΡ Π²ΡΠ΅ Π½Π°Β ΡΡΠ°Π½ΡΠΈΠΈ ΡΠ΅Ρ
Π½ΠΈΡΠ΅ΡΠΊΠΎΠ³ΠΎ ΠΎΠ±ΡΠ»ΡΠΆΠΈΠ²Π°Π½ΠΈΡ.
ΠΠΎΒ ΠΎΠΏΡΡΡ ΠΌΠ½ΠΎΠΆΠ΅ΡΡΠ²Π° Π°Π²ΡΠΎΠ»ΡΠ±ΠΈΡΠ΅Π»Π΅ΠΉ, Π²Β ΠΏΡΠΎΡΠ΅ΡΡΠ΅ ΡΠΊΡΠΏΠ»ΡΠ°ΡΠ°ΡΠΈΠΈ ΡΡΠ°Π½ΡΠΏΠΎΡΡΠ½ΠΎΠ³ΠΎ ΡΡΠ΅Π΄ΡΡΠ²Π° Π²ΡΡΡΠ΅ΡΠ°ΡΡΡΡ ΡΠ°ΠΊΠΈΠ΅ Π½Π΅ΠΏΠΎΠ»Π°Π΄ΠΊΠΈ:
- ΠΠ΅Ρ Π°Π½ΠΈΠ·ΠΌ ΡΠ°Π±ΠΎΡΠ°Π΅Ρ ΡΠΎΒ ΡΠΊΡΠΈΠΏΠΎΠΌ. ΠΠ°ΡΠ°ΡΡΡΡ ΠΌΠ°Π»ΠΎ ΠΊΡΠΎ ΠΈΠ·Β Π°Π²ΡΠΎΠ»ΡΠ±ΠΈΡΠ΅Π»Π΅ΠΉ ΠΎΠ±ΡΠ°ΡΠ°Π΅Ρ Π²Π½ΠΈΠΌΠ°Π½ΠΈΠ΅ Π½Π°Β ΡΠ°ΠΊΡΡ ΠΌΠ΅Π»ΠΎΡΡ, ΠΎΠ΄Π½Π°ΠΊΠΎ Π½Π΅ΡΠ²ΠΎΠ΅Π²ΡΠ΅ΠΌΠ΅Π½Π½ΡΠ΅ Π΄Π΅ΠΉΡΡΠ²ΠΈΡ Π²Β ΡΠ°ΠΊΠΈΡ ΡΠ»ΡΡΠ°ΡΡ ΠΌΠΎΠ³ΡΡ ΠΏΡΠΈΠ²Π΅ΡΡΠΈ ΠΊΒ ΠΏΠΎΠ»ΠΎΠΌΠΊΠ΅. ΠΡΠΈ ΠΏΠΎΡΠ²Π»Π΅Π½ΠΈΠΈ ΠΏΠΎΡΡΠΎΡΠΎΠ½Π½ΠΈΡ Π·Π²ΡΠΊΠΎΠ² ΡΡΠ΅Π±ΡΠ΅ΡΡΡ ΡΠΌΠ°Π·Π°ΡΡ ΠΏΠΎΠ΄ΡΠ΅ΠΌΠ½ΠΈΠΊ ΠΈΒ Π·Π°ΠΌΠ΅Π½ΠΈΡΡ ΡΠ΅Π·ΠΈΠ½ΠΎΠ²ΡΠ΅ ΡΠΏΠ»ΠΎΡΠ½ΠΈΡΠ΅Π»ΠΈ, ΠΊΠΎΡΠΎΡΡΠ΅ ΠΊΠΎΠ½ΡΠ°ΠΊΡΠΈΡΡΡΡ ΡΠΎΒ ΡΡΠ΅ΠΊΠ»ΠΎΠΌ.
- ΠΠ°ΠΊΠ»ΠΈΠ½ΠΈΠ²Π°Π½ΠΈΠ΅. ΠΒ ΡΠ°ΠΊΠΎΠΌ ΡΠ»ΡΡΠ°Π΅ ΡΡΡΡΠΎΠΉΡΡΠ²ΠΎ Π²ΠΎΠΎΠ±ΡΠ΅ ΠΏΠ΅ΡΠ΅ΡΡΠ°Π΅Ρ ΡΠ°Π±ΠΎΡΠ°ΡΡ. ΠΡΠΎ ΠΌΠΎΠΆΠ΅Ρ ΡΠ»ΡΡΠΈΡΡΡΡ ΠΏΠΎΒ ΠΏΡΠΈΡΠΈΠ½Π΅ Π·Π°ΠΏΡΡΡΠ²Π°Π½ΠΈΡ ΡΡΠΎΡΠ°, ΠΈΠ·Π½ΠΎΡΠ° ΡΠ΅ΡΡΠ΅ΡΠ΅Π½ΠΎΠΊ ΠΈΠ»ΠΈ ΠΏΠΎΠ»ΠΎΠΌΠΊΠΈ ΡΠ²Π°ΡΠ½ΠΎΠ³ΠΎ ΡΠΎΠ΅Π΄ΠΈΠ½Π΅Π½ΠΈΡ.
- ΠΠ°Π΄Π΅Π½ΠΈΠ΅ ΠΎΠΊΠ½Π°. ΠΡΠΎΠ±Π»Π΅ΠΌΠ° Ρ Π°ΡΠ°ΠΊΡΠ΅ΡΠΈΠ·ΡΠ΅ΡΡΡ ΡΠ΅ΠΌ, ΡΡΠΎ ΡΡΠ΅ΠΊΠ»ΠΎ ΠΏΠΎΡΠ»Π΅ ΠΏΠΎΠ΄Π½ΡΡΠΈΡ Π½Π΅Β Π΄Π΅ΡΠΆΠΈΡΡΡ Π½Π°Β ΠΎΠ΄Π½ΠΎΠΌ ΠΌΠ΅ΡΡΠ΅. ΠΡΠΎ ΠΌΠΎΠΆΠ΅Ρ ΠΏΡΠΎΠΈΠ·ΠΎΠΉΡΠΈ Π²ΡΠ»Π΅Π΄ΡΡΠ²ΠΈΠ΅ ΠΎΡΠ»Π°Π±Π»Π΅Π½ΠΈΡ ΠΊΡΠ΅ΠΏΠ»Π΅Π½ΠΈΡ ΠΈΒ Π½Π°ΡΡΠΆΠΊΠΈ ΡΡΠΎΡΠ°. Π§ΡΠΎΠ±Ρ Π²ΡΠ΅ ΠΈΡΠΏΡΠ°Π²ΠΈΡΡ, Π½ΡΠΆΠ½ΠΎ Π·Π°ΠΌΠ΅Π½ΠΈΡΡ ΡΠ»Π΅ΠΌΠ΅Π½Ρ ΠΊΡΠ΅ΠΏΠ»Π΅Π½ΠΈΡ. ΠΠ½ΠΎΠ³Π΄Π° ΡΠ»ΡΡΠ°Π΅ΡΡΡ ΡΠ°ΠΊ, ΡΡΠΎ ΠΎΠ΄ΠΈΠ½ ΠΈΠ·Β ΠΊΠΎΠ½ΡΠΎΠ² ΡΡΠΎΡΠ° ΠΌΠΎΠΆΠ΅Ρ Π²ΡΠ»Π΅ΡΠ΅ΡΡ ΠΈΠ·Β ΠΊΡΠ΅ΠΏΠ΅ΠΆΠ°. ΠΠ»Ρ ΡΡΠΎΠ³ΠΎ Π½ΡΠΆΠ½ΠΎ ΡΠ½ΡΡΡ ΠΌΠ΅Ρ Π°Π½ΠΈΠ·ΠΌ ΠΈΒ Π·Π°ΠΊΡΠ΅ΠΏΠΈΡΡ ΡΡΠΎΡ Π·Π°Π½ΠΎΠ²ΠΎ.
ΠΠ»Π΅ΠΊΡΡΠΈΡΠ΅ΡΠΊΠΈΠΉ ΡΡΠ΅ΠΊΠ»ΠΎΠΏΠΎΠ΄ΡΠ΅ΠΌΠ½ΠΈΠΊ Β«Π€ΠΎΡΠ²Π°ΡΠ΄Β» Π½Π° ΠΠΠ-2107, ΡΡΡΠ°Π½ΠΎΠ²ΠΊΠ°ΠΡΠ°Π²ΠΈΠ»ΡΠ½ΠΎΡΡΡ ΠΎΡΡΡΠ΅ΡΡΠ²Π»Π΅Π½Π½ΠΎΠ³ΠΎ ΡΠ΅ΠΌΠΎΠ½ΡΠ° ΠΏΡΠΎΠ²Π΅ΡΡΠ΅ΡΡΡ ΠΎΡΠ½ΠΎΡΠΈΡΠ΅Π»ΡΠ½ΠΎ ΠΏΡΠΎΡΡΠΎ: Π½ΡΠΆΠ½ΠΎ ΠΏΠΎΠΏΡΠΎΠ±ΠΎΠ²Π°ΡΡ Π²ΡΠ°ΡΠ΅Π½ΠΈΠ΅ ΡΡΡΠΊΠΈ.
ΠΡΠ΅ Π΄ΠΎΠ»ΠΆΠ½ΠΎ ΡΠ°Π±ΠΎΡΠ°ΡΡ Π»Π΅Π³ΠΊΠΎ ΠΈ Π±Π΅Π· ΠΏΠΎΡΡΠΎΡΠΎΠ½Π½ΠΈΡ Π·Π²ΡΠΊΠΎΠ².
ΠΠ°ΠΌΠ΅Π½Π°
ΠΒ Π»ΡΠ±ΠΎΠΌ ΡΠ»ΡΡΠ°Π΅ Π»ΡΠ±Π°Ρ Π·Π°ΠΌΠ΅Π½Π° ΡΡΠ΅ΠΊΠ»ΠΎΠΏΠΎΠ΄ΡΠ΅ΠΌΠ½ΠΈΠΊΠ° ΠΏΡΠΎΠΈΡΡ ΠΎΠ΄ΠΈΡ ΡΠΎΒ ΡΠ½ΡΡΠΈΡ ΡΡΡΠΊΠΈ ΡΡΡΡΠΎΠΉΡΡΠ²Π°. ΠΡΠΎΠΌΠ΅ ΡΡΠΎΠ³ΠΎ, ΡΡΠ° ΡΠ°ΡΡΡ ΠΌΠΎΠΆΠ΅Ρ ΠΏΡΠΈΡ ΠΎΠ΄ΠΈΡΡ Π²Β Π½Π΅Π³ΠΎΠ΄Π½ΠΎΡΡΡ. ΠΠ°ΠΈΠ±ΠΎΠ»Π΅Π΅ ΡΠ°ΡΡΠΎ ΠΎΠ½Π° Π²ΡΡ ΠΎΠ΄ΠΈΡ ΠΈΠ·Β ΡΡΡΠΎΡ Π½Π°Β Π²ΠΎΠ΄ΠΈΡΠ΅Π»ΡΡΠΊΠΎΠΌ ΠΌΠ΅ΡΡΠ΅, ΠΏΠΎΡΠΎΠΌΡ ΡΡΠΎ Π΅ΡΒ ΡΠ°ΡΠ΅ ΠΏΠΎΠ»ΡΠ·ΡΡΡΡΡ.
ΠΠ°ΠΆΠ½ΠΎ! ΠΠ½ΠΎΠ³ΠΈΠ΅ Π°Π²ΡΠΎΠ²Π»Π°Π΄Π΅Π»ΡΡΡ ΡΠΎΠ²Π΅ΡΡΡΡ ΡΡΠ°Π·Ρ ΠΌΠ΅Π½ΡΡΡ ΡΡΡΠΊΡ, Π½Π΅ Π·Π°Π½ΠΈΠΌΠ°ΡΡΡ ΡΠ΅ΠΌΠΎΠ½ΡΠΎΠΌ. ΠΡΠΎ ΠΎΠ±ΠΎΠΉΠ΄Π΅ΡΡΡ Π΄Π΅ΡΠ΅Π²Π»Π΅ ΠΈ Π±ΡΡΡΡΠ΅Π΅, ΡΠ΅ΠΌ ΠΏΠΎΡΡΠΎΡΠ½Π½ΠΎ Π΅Π΅ ΡΠΈΠ½ΠΈΡΡ.
ΠΡΠΎΡΠ΅ΡΡ ΡΠ½ΡΡΠΈΡ ΠΈΠ»ΠΈ Π·Π°ΠΌΠ΅Π½Ρ ΡΡΡΠΊΠΈ ΠΏΡΠΎΠΈΡΡ ΠΎΠ΄ΠΈΡ ΡΠ°ΠΊ:
- ΠΠ΅ΡΠ²ΡΠΌ Π΄Π΅Π»ΠΎΠΌ Π½ΡΠΆΠ½ΠΎ ΡΠ½ΡΡΡ ΡΠΈΠΊΡΠ°ΡΠΎΡ ΠΈΠ·Β ΠΏΠ»Π°ΡΡΠΈΠΊΠ° (ΡΡΠΎΠΏΠΎΡΠ½ΠΎΠ΅ ΠΊΠΎΠ»ΡΡΠΎ). ΠΠ»Ρ ΡΡΠΎΠ³ΠΎ Π½Π΅ΠΎΠ±Ρ ΠΎΠ΄ΠΈΠΌΠΎ ΠΏΠ»ΠΎΡΠΊΠΎΠΉ ΠΎΡΠ²Π΅ΡΡΠΊΠΎΠΉ ΠΎΡΠΎΠ΄Π²ΠΈΠ½ΡΡΡ Π½Π°ΡΡΠΆΠ½ΠΎΠ΅ ΠΊΠΎΠ»ΡΡΠΎ ΠΎΡΒ Π²Π½ΡΡΡΠ΅Π½Π½Π΅Π³ΠΎ ΠΈΒ ΡΠ½ΡΡΡ Π΄Π΅ΡΠ°Π»Ρ.
- ΠΠ°Π»Π΅Π΅ ΡΠ½ΡΡΡ ΡΠ°ΠΌΡ ΡΡΡΠΊΡ.
ΠΡΠΎΡΠ΅ΡΡ ΡΠ½ΡΡΠΈΡ ΠΌΠ΅Ρ Π°Π½ΠΈΠ·ΠΌΠ°
Π§ΡΠΎΠ±Ρ Π΄Π΅ΠΌΠΎΠ½ΡΠΈΡΠΎΠ²Π°ΡΡ ΡΡΠ΅ΠΊΠ»ΠΎΠΏΠΎΠ΄ΡΠ΅ΠΌΠ½ΠΈΠΊ, ΠΏΠΎΡΡΠ΅Π±ΡΠ΅ΡΡΡ ΡΠΎΠ²Π΅ΡΡΠΈΡΡ ΡΠ»Π΅Π΄ΡΡΡΠΈΠ΅ Π΄Π΅ΠΉΡΡΠ²ΠΈΡ:
- ΠΠΏΡΡΡΠΈΡΡ ΠΎΠΊΠ½ΠΎ Π²Β ΡΠ°ΠΌΠΎΠ΅ Π½ΠΈΠΆΠ½Π΅Π΅ ΠΏΠΎΠ»ΠΎΠΆΠ΅Π½ΠΈΠ΅.
- Π‘Π½ΡΡΡ ΡΡΡΠΊΡ, ΠΏΡΠ΅Π΄Π²Π°ΡΠΈΡΠ΅Π»ΡΠ½ΠΎ ΠΎΠΊΡΡΡΠΈΠ² ΠΊΡΠ΅ΠΏΠ»Π΅Π½ΠΈΡ ΠΈΒ ΡΠΈΠΊΡΠ°ΡΠΎΡΡ.

- Π‘Π½ΡΡΡ Π²ΡΠ΅ Π΄Π²Π΅ΡΠ½ΡΠ΅ ΠΏΠ°Π½Π΅Π»ΠΈ ΡΒ ΠΎΠ±ΡΠΈΠ²ΠΊΠΎΠΉ, ΡΡΠΎ ΠΏΠΎΠ·Π²ΠΎΠ»ΠΈΡ Π΄ΠΎΠ±ΡΠ°ΡΡΡΡ Π΄ΠΎΒ Π½Π΅ΠΎΠ±Ρ ΠΎΠ΄ΠΈΠΌΠΎΠ³ΠΎ ΠΌΠ΅Ρ Π°Π½ΠΈΠ·ΠΌΠ°.
- ΠΡΠ»ΠΈ ΡΡΡΡΠΎΠΉΡΡΠ²ΠΎ ΠΏΠΎΡΠΎΠΌ Π½ΡΠΆΠ½ΠΎ Π±ΡΠ΄Π΅Ρ Π²Π΅ΡΠ½ΡΡΡ Π½Π°Β ΠΌΠ΅ΡΡΠΎ, ΡΠΎΒ ΡΠ΅ΠΊΠΎΠΌΠ΅Π½Π΄ΡΠ΅ΡΡΡ ΠΏΡΠΈΠ²ΡΠ·Π°ΡΡ ΡΡΠΎΡΠΈΠΊ ΠΏΡΠΈ ΠΏΠΎΠΌΠΎΡΠΈ ΠΏΡΠΎΠ²ΠΎΠ»ΠΎΠΊΠΈ ΡΠ°ΠΊΠΈΠΌ ΠΎΠ±ΡΠ°Π·ΠΎΠΌ, ΡΡΠΎΠ±Ρ ΠΎΠ½Β Π½Π΅Β ΡΠ»Π΅Π· ΡΒ Π½Π°ΠΏΡΠ°Π²Π»ΡΡΡΠΈΡ ΠΆΠ΅Π»ΠΎΠ±ΠΎΠ².
- ΠΡΠ»Π°Π±ΠΈΡΡ ΡΠΈΠΊΡΠ°ΡΠΎΡ Π½ΠΈΠΆΠ½Π΅Π³ΠΎ ΡΠΎΠ»ΠΈΠΊΠ°.
- ΠΡΡΠ΅ΠΌ ΡΠΌΠ΅ΡΠ΅Π½ΠΈΡ ΡΠΎΠ»ΠΈΠΊΠ° ΠΎΡΠ»Π°Π±ΠΈΡΡ Π½Π°ΡΡΠΆΠ΅Π½ΠΈΠ΅ ΡΡΠΎΡΠ°.
- Π‘Π½ΡΡΡ ΡΡΠΎΡ ΡΒ ΡΠΎΠ»ΠΈΠΊΠΎΠ².
- ΠΡΠΊΡΡΡΠΈΡΡ ΠΌΠ΅Ρ Π°Π½ΠΈΠ·ΠΌ ΠΊΡΠ΅ΠΏΠ»Π΅Π½ΠΈΡ ΡΡΡΡΠΎΠΉΡΡΠ²Π° ΠΊΒ Π΄Π²Π΅ΡΠΈ, ΠΊΠΎΡΠΎΡΡΠΉ Π΄Π΅ΡΠΆΠΈΡΡΡ Π½Π°Β ΡΡΠ΅Ρ ΠΊΡΠ΅ΠΏΠ΅ΠΆΠ½ΡΡ Π±ΠΎΠ»ΡΠ°Ρ .
- ΠΠΎΡΡΠ°ΡΡ ΡΡΡΡΠΎΠΉΡΡΠ²ΠΎ ΠΈΠ·Β Π΄Π²Π΅ΡΠΈ.
ΠΡΠΎΡΠ΅ΡΡ Π΄Π΅ΠΌΠΎΠ½ΡΠ°ΠΆΠ° Π·Π°ΠΊΠΎΠ½ΡΠ΅Π½.
ΠΠΎΡΠ»Π΅ ΡΡΠΎΠ³ΠΎ ΠΌΠΎΠΆΠ½ΠΎ Π½Π° ΡΠ½ΡΡΠΎΠΌ ΠΏΠΎΠ΄ΡΠ΅ΠΌΠ½ΠΈΠΊΠ΅ ΠΏΡΠΎΠ²ΠΎΠ΄ΠΈΡΡ ΡΠ΅ΠΌΠΎΠ½Ρ ΠΈΠ»ΠΈ ΡΡΡΠ°Π½ΠΎΠ²ΠΈΡΡ Π½Π° Π΅Π³ΠΎ ΠΌΠ΅ΡΡΠΎ Π½ΠΎΠ²ΡΠΉ.
Π£ΡΡΠ°Π½ΠΎΠ²ΠΊΠ° Π½ΠΎΠ²ΠΎΠ³ΠΎ
ΠΡΠ°ΠΏΡ ΡΡΡΠ°Π½ΠΎΠ²ΠΊΠΈ Π½ΠΎΠ²ΠΎΠ³ΠΎ ΡΡΠ΅ΠΊΠ»ΠΎΠΏΠΎΠ΄ΡΠ΅ΠΌΠ½ΠΈΠΊΠ°:
- ΠΠ°ΡΠ°ΡΡ Π½ΡΠΆΠ½ΠΎ ΡΒ Π½Π°Π½Π΅ΡΠ΅Π½ΠΈΡ ΡΠΌΠ°Π·ΠΊΠΈ Π½Π°Β ΡΡΠΎΡ.
- Π£ΡΡΠ°Π½ΠΎΠ²ΠΈΡΡ ΠΌΠ΅Ρ Π°Π½ΠΈΠ·ΠΌ Π½Π°Β ΠΏΠΎΠ»ΠΎΠΆΠ΅Π½Π½ΠΎΠ΅ ΠΌΠ΅ΡΡΠΎ ΠΈΒ Π·Π°ΠΊΡΠ΅ΠΏΠΈΡΡ ΠΏΡΠΈ ΠΏΠΎΠΌΠΎΡΠΈ ΡΡΠ΅Ρ ΠΊΡΠ΅ΠΏΠ΅ΠΆΠ½ΡΡ Π±ΠΎΠ»ΡΠΎΠ².
- Π Π°ΡΠΏΠΎΠ»ΠΎΠΆΠΈΡΡ Π½Π°Β ΡΠΎΠ»ΠΈΠΊΠ°Ρ ΡΡΠΎΡ.
- ΠΠ°ΡΡΠ½ΡΡΡ ΡΡΠΎΡ ΠΈΒ Π·Π°ΠΊΡΠ΅ΠΏΠΈΡΡ Π½ΠΈΠΆΠ½ΠΈΠΉ ΡΠΎΠ»ΠΈΠΊ.
- ΠΡΠΎΠ²Π΅ΡΠΈΡΡ ΡΠ°Π±ΠΎΡΡ Π²ΡΠ΅Π³ΠΎ ΠΌΠ΅Ρ
Π°Π½ΠΈΠ·ΠΌΠ°.

- ΠΡΠ»ΠΈ Π²ΡΠ΅ ΡΠ°Π±ΠΎΡΠ°Π΅Ρ ΠΊΠ°ΠΊ Π½Π°Π΄ΠΎ, ΡΠ»Π΅Π΄ΡΠ΅Ρ ΡΡΡΠ°Π½ΠΎΠ²ΠΈΡΡ ΠΎΠ±ΡΠΈΠ²ΠΊΡ ΠΈΒ Π΄Π²Π΅ΡΠ½ΡΠ΅ ΠΏΠ°Π½Π΅Π»ΠΈ.
- ΠΠ°ΠΊΡΠ΅ΠΏΠΈΡΡ Π΄Π²Π΅ΡΠ½ΡΡ ΡΡΡΠΊΡ.
- Π£ΡΡΠ°Π½ΠΎΠ²ΠΈΡΡ ΡΡΡΠΊΡ ΡΡΠ΅ΠΊΠ»ΠΎΠΏΠΎΠ΄ΡΠ΅ΠΌΠ½ΠΈΠΊΠ° ΠΈΒ ΡΠΈΠΊΡΠ°ΡΠΎΡ Π½Π°Β ΠΌΠ΅ΡΡΠΎ.
ΠΡΠΎΡΠ΅ΡΡ ΠΌΠΎΠ½ΡΠ°ΠΆΠ° ΡΡΠΎΡΠΎΠ²ΠΎΠ³ΠΎ ΠΏΠΎΠ΄ΡΠ΅ΠΌΠ½ΠΈΠΊΠ°
ΠΠ΅ΡΡ ΠΏΡΠΎΡΠ΅ΡΡ ΡΠΎΡΡΠΎΠΈΡ ΠΈΡ Β ΡΡΠ΅Ρ ΡΡΠ°ΠΏΠΎΠ². ΠΠ΅ΡΠ²ΡΠΌ Π΄Π΅Π»ΠΎΠΌ Π½ΡΠΆΠ½ΠΎ ΡΠ½ΡΡΡ ΡΡΠΎΡ ΠΈΒ Π·Π°ΠΌΠ΅Π½ΠΈΡΡ Π΅Π³ΠΎ. ΠΠΎΡΠΎΠΌ ΡΠ»Π΅Π΄ΡΠ΅Ρ ΠΏΡΠΎΠ²Π΅ΡΡΠΈ Π·Π°ΠΌΠ΅Π½Ρ ΠΈΒ Π·Π°ΡΠ΅ΠΏΠ»Π΅Π½ΠΈΠ΅ ΡΡΠΎΡΠ° ΠΊΒ Π½ΠΎΠ²ΡΠΌ ΡΠΎΠ»ΠΈΠΊΠ°ΠΌ.
ΠΠ°ΠΌΠ΅Π½Π° ΡΡΠΎΡΠ°
ΠΠΎΠ²ΠΎΠ»ΡΠ½ΠΎ ΡΠ°ΡΡΠΎ ΡΠ°ΡΠΏΡΠΎΡΡΡΠ°Π½Π΅Π½Ρ ΡΠΈΡΡΠ°ΡΠΈΠΈ, ΠΊΠΎΠ³Π΄Π° Π²ΡΠ΅ ΡΠ»Π΅ΠΌΠ΅Π½ΡΡ ΠΈΒ ΡΠΎΡΡΠ°Π²Π½ΡΠ΅ ΡΠ°ΡΡΠΈ ΡΠ°ΠΌΠΎΠ³ΠΎ ΠΌΠ΅Ρ Π°Π½ΠΈΠ·ΠΌΠ° ΡΡΠ΅ΠΊΠ»ΠΎΠΏΠΎΠ΄ΡΠ΅ΠΌΠ½ΠΈΠΊΠ° ΡΡΠ½ΠΊΡΠΈΠΎΠ½ΠΈΡΡΡΡ Π±Π΅Π· ΠΏΡΠΎΠ±Π»Π΅ΠΌ, Π½ΠΎΒ ΡΠ»ΡΡΠΈΠ»ΡΡ ΡΠ°Π·ΡΡΠ² ΡΡΠΎΡΠ° ΠΈΠ»ΠΈ Π΅Π³ΠΎ ΠΏΠ΅ΡΠ΅ΠΊΡΡΡΠΈΠ²Π°Π½ΠΈΠ΅. Π’Π°ΠΊΠΈΠ΅ ΠΏΡΠΎΠ±Π»Π΅ΠΌΡ ΡΠ»ΡΡΠ°ΡΡΡΡ Π΄Π°ΠΆΠ΅ ΡΠ°ΡΠ΅, ΡΠ΅ΠΌ Π²ΡΠ΅Π²ΠΎΠ·ΠΌΠΎΠΆΠ½ΡΠ΅ ΠΏΠΎΠ»ΠΎΠΌΠΊΠΈ ΠΌΠ΅Ρ Π°Π½ΠΈΡΠ΅ΡΠΊΠΎΠΉ ΡΠ°ΡΡΠΈ. ΠΒ ΡΠ°ΠΊΠΈΡ ΡΠ»ΡΡΠ°ΡΡ ΡΡΠ΅Π±ΡΠ΅ΡΡΡ ΠΏΡΠΎΠ²Π΅ΡΡΠΈ Π΄ΠΎΠ²ΠΎΠ»ΡΠ½ΠΎ ΠΏΡΠΎΡΡΡΡ ΠΏΠΎΡΠ»Π΅Π΄ΠΎΠ²Π°ΡΠ΅Π»ΡΠ½ΠΎΡΡΡ Π΄Π΅ΠΉΡΡΠ²ΠΈΠΉ.
ΠΠ΄Π½ΠΎΠ·Π½Π°ΡΠ½ΠΎ ΠΏΡΠ΅Π΄ΡΡΠΎΠΈΡ ΡΠ°Π·Π±ΠΈΡΠ°ΡΡ ΠΏΠ°Π½Π΅Π»Ρ ΠΈ ΠΎΠ±ΡΠΈΠ²ΠΊΡ, Π° ΠΏΠΎΡΠΎΠΌ ΠΏΡΠΈΡΡΡΠΏΠ°ΡΡ ΠΊ Π·Π°ΠΌΠ΅Π½Π΅ ΡΡΠΎΡΠ°.
ΠΠ΄Π½Π°ΠΊΠΎ ΠΏΠ΅ΡΠ΅Π΄ ΠΏΡΠΎΠ²Π΅Π΄Π΅Π½ΠΈΠ΅ΠΌ ΠΏΡΠΎΡΠ΅Π΄ΡΡΡ ΡΠ΅ΠΊΠΎΠΌΠ΅Π½Π΄ΡΠ΅ΡΡΡ ΠΏΡΠΈΠ΄Π΅ΡΠΆΠΈΠ²Π°ΡΡΡΡ ΡΠ»Π΅Π΄ΡΡΡΠΈΡ ΡΠΎΠ²Π΅ΡΠΎΠ²:
- Π½ΠΎΠ²ΡΠΉ ΡΡΠΎΡ ΠΏΠ΅ΡΠ΅Π΄ ΠΌΠΎΠ½ΡΠ°ΠΆΠΎΠΌ ΠΎΠ±ΡΠ·Π°ΡΠ΅Π»ΡΠ½ΠΎ Ρ
ΠΎΡΠΎΡΠΎ ΡΠΌΠ°Π·Π°ΡΡ.
ΠΡΠΎ ΠΏΡΠ΅Π΄ΠΎΡΠ²ΡΠ°ΡΠΈΡ ΠΈΠ·Π»ΠΈΡΠ½Π΅Π΅ ΡΡΠ΅Π½ΠΈΠ΅, Π·Π°Π΅Π΄Π°Π½ΠΈΡ ΠΈΒ ΠΏΠ΅ΡΠ΅ΠΊΡΡΡΠΈΠ²Π°Π½ΠΈΠ΅. ΠΠ΅Ρ
Π°Π½ΠΈΠ·ΠΌ Π±ΡΠ΄Π΅Ρ ΡΠ°Π±ΠΎΡΠ°ΡΡ Π»Π΅Π³ΡΠ΅; - Π²Π°ΠΆΠ½ΠΎ ΡΡΠΈΡΡΠ²Π°ΡΡ, ΡΡΠΎ ΡΡΡΠ΅ΡΡΠ²ΡΠ΅Ρ Π²Π΅ΡΡ Π½ΠΈΠΉ ΡΠΎΠ»ΠΈΠΊ, ΠΊΠΎΡΠΎΡΡΠΉ ΡΠΊΡΡΡ. ΠΠ°Β Π½Π΅Π³ΠΎ Π΄ΠΎΡΡΠ°ΡΠΎΡΠ½ΠΎ ΡΠ»ΠΎΠΆΠ½ΠΎ Π½Π°Π΄Π΅ΡΡ ΡΡΠΎΡ, ΡΡΠ΅Π±ΡΠ΅ΡΡΡ Π±ΠΎΠ»ΡΡΠΎΠΉ ΠΎΠΏΡΡ ΠΈΠ»ΠΈ ΠΌΠ°ΡΡΠ΅ΡΡΡΠ²ΠΎ. ΠΠ΄Π½Π°ΠΊΠΎ Π΅ΡΡΡ ΡΠΏΠΎΡΠΎΠ± ΡΠ΄Π΅Π»Π°ΡΡ ΡΡΠΎ Π»Π΅Π³ΠΊΠΎ. ΠΠΎΡΡΠ΅Π±ΡΠ΅ΡΡΡ ΡΠΊΡΡΡΠΈΡΡ ΠΏΠ΅ΡΠ»Ρ ΠΈΒ Π½Π°Π²Π΅ΡΡΠΈ Π΅Π΅Β Π²Β ΡΠΎΒ ΠΌΠ΅ΡΡΠΎ, Π³Π΄Π΅ Π½Π°Ρ ΠΎΠ΄ΠΈΡΡΡ Π²Π΅ΡΡ Π½ΠΈΠΉ ΡΠ»ΠΎΠΆΠ½ΠΎ Π΄ΠΎΡΡΡΠΏΠ½ΡΠΉ ΡΠΎΠ»ΠΈΠΊ. ΠΠΎΡΠΎΠΌ Π½ΡΠΆΠ½ΠΎ ΡΠΎΠ²Π΅ΡΡΠΈΡΡ Π΄Π²ΠΈΠΆΠ΅Π½ΠΈΡ Π²Π½ΠΈΠ·-Π²Π²Π΅ΡΡ , ΠΊΠΎΡΠΎΡΡΠ΅ ΡΠ»Π΅Π΄ΡΠ΅Ρ ΠΏΠΎΠ²ΡΠΎΡΡΡΡ Π΄ΠΎΒ ΡΠ΅Ρ ΠΏΠΎΡ, ΠΏΠΎΠΊΠ° ΡΡΠΎΡ Π½Π΅Β Π·Π°ΡΠ΅ΠΏΠΈΡΡΡ;
- ΡΠ»Π΅Π΄ΡΠ΅Ρ ΡΡΠΈΡΡΠ²Π°ΡΡ, ΡΡΠΎ Π½Π°Β Π²Π΅ΡΡ Π½ΠΈΠΉ ΡΠΎΠ»ΠΈΠΊ ΠΈΠ΄Π΅Ρ Π½ΠΈΠΆΠ½ΡΡ Π²Π΅ΡΠΊΠ° ΡΡΠΎΡΠ°, Π°Β Π²Π΅ΡΡ Π½ΡΡ, Π½Π°ΠΎΠ±ΠΎΡΠΎΡ, Π½Π°ΠΏΡΠ°Π²Π»ΡΠ΅ΡΡΡ Π²Β Π½ΠΈΠΆΠ½ΡΡ ΡΡΠΎΡΠΎΠ½Ρ. Π§ΡΠΎΠ±Ρ ΠΈΠ·Π±Π΅ΠΆΠ°ΡΡ ΠΏΠ΅ΡΠ΅ΠΏΡΡΡΠ²Π°Π½ΠΈΡ Π²Π΅ΡΠ²Π΅ΠΉ, ΠΌΠΎΠΆΠ½ΠΎ ΠΈΡ Β ΡΠ²ΡΠ·Π°ΡΡ Π²Π΅ΡΠ΅Π²ΠΊΠΎΠΉ ΠΈΠ»ΠΈ ΠΏΡΠΎΠ²ΠΎΠ»ΠΎΠΊΠΎΠΉ, ΠΊΠΎΡΠΎΡΠ°Ρ ΡΠ½ΠΈΠΌΠ°Π΅ΡΡΡ ΠΏΠΎΡΠ»Π΅ ΠΏΡΠΎΠ²Π΅Π΄Π΅Π½ΠΈΡ Π²ΡΠ΅Ρ Π½Π΅ΠΎΠ±Ρ ΠΎΠ΄ΠΈΠΌΡΡ ΠΏΡΠΎΡΠ΅Π΄ΡΡ.
ΠΠ½ΠΎΠ³Π΄Π° ΠΌΠΎΠΆΠ΅Ρ ΠΏΠΎΡΡΠ΅Π±ΠΎΠ²Π°ΡΡΡΡ Π·Π°ΠΌΠ΅Π½Π° ΡΠΎΠ»ΠΈΠΊΠΎΠ² Π²Β ΡΠ²ΡΠ·ΠΈ ΡΒ ΠΈΡ
Β ΠΈΠ·Π½ΠΎΡΠ΅Π½Π½ΠΎΡΡΡΡ. Π‘ΡΠ΅ΠΊΠ»ΠΎΠΏΠΎΠ΄ΡΠ΅ΠΌΠ½ΠΈΠΊ Β«ΡΠ΅ΠΌΠ΅ΡΠΊΠΈΒ» ΡΠΎΡΡΠΎΠΈΡ ΠΈΠ·Β ΡΠ΅ΡΡΡΠ΅Ρ
ΡΠ°ΠΊΠΈΡ
ΡΠ»Π΅ΠΌΠ΅Π½ΡΠΎΠ². ΠΠ½ΠΈ ΠΎΡΠ²Π΅ΡΠ°ΡΡ Π·Π°Β ΠΏΠ΅ΡΠ΅ΠΌΠ΅ΡΠ΅Π½ΠΈΠ΅ ΡΡΠΎΡΠ°, ΠΊΠΎΠ½ΡΡ ΠΊΠΎΡΠΎΡΠΎΠ³ΠΎ Π·Π°ΠΊΡΠ΅ΠΏΠ»Π΅Π½Ρ Π½Π°Β ΡΠΏΠ΅ΡΠΈΠ°Π»ΡΠ½ΠΎΠΌ Π±Π°ΡΠ°Π±Π°Π½Π΅.
ΠΡΠ΅Π΄ΡΡΠ°Π²Π»Π΅Π½Π½ΡΠ΅ ΡΠ»Π΅ΠΌΠ΅Π½ΡΡ Π½Π΅ΡΡΡ ΡΠ°Π·Π»ΠΈΡΠ½ΡΠ΅ ΡΡΠ½ΠΊΡΠΈΠΈ:
- ΠΏΠ΅ΡΠ²ΡΠΉ ΡΠΎΠ»ΠΈΠΊ Π½Π°Π·ΡΠ²Π°Π΅ΡΡΡ Π½Π°ΡΡΠΆΠ½ΡΠΌ ΠΈΒ ΠΎΡΠ²Π΅ΡΠ°Π΅Ρ Π·Π°Β ΠΏΡΠ΅Π΄ΠΎΡΡΠ°Π²Π»Π΅Π½ΠΈΠ΅ ΡΠΈΡΡΠ΅ΠΌΠ΅ Π½Π΅ΠΎΠ±Ρ ΠΎΠ΄ΠΈΠΌΠΎΠ³ΠΎ ΡΡΠΎΠ²Π½Ρ Π½Π°ΡΡΠΆΠ΅Π½ΠΈΡ. Π£ΡΠΈΡΡΠ²Π°Π΅ΡΡΡ Π΄Π°ΠΆΠ΅ ΡΠΊΡΠΏΠ»ΡΠ°ΡΠ°ΡΠΈΠΎΠ½Π½ΠΎΠ΅ ΡΠ°ΡΡΡΠΆΠ΅Π½ΠΈΠ΅;
- Π²Π΅ΡΡ Π½ΠΈΠ΅ ΡΠΎΠ΅Π΄ΠΈΠ½ΡΡΡΡΡ ΡΠΎΒ ΡΡΠ΅ΠΊΠ»ΠΎΠΌ ΠΊΡΠΎΠ½ΡΡΠ΅ΠΉΠ½Π°ΠΌΠΈ ΡΒ ΠΏΡΠΈΠΌΠ΅Π½Π΅Π½ΠΈΠ΅ΠΌ ΡΠΏΠ΅ΡΠΈΠ°Π»ΡΠ½ΡΡ ΠΏΠ»Π°ΡΡΠΈΠ½ Π½Π°ΡΡΠΆΠ΅Π½ΠΈΡ. ΠΡΠΈ Π»ΡΠ±ΠΎΠΌ ΠΏΠ΅ΡΠ΅ΠΌΠ΅ΡΠ΅Π½ΠΈΠΈ ΠΎΠΊΠ½Π° ΡΠΎΠ»ΠΈΠΊΠΈ ΠΏΠ΅ΡΠ΅ΠΌΠ΅ΡΠ°ΡΡΡΡ ΡΒ ΠΌΠ΅Ρ Π°Π½ΠΈΠ·ΠΌΠΎΠΌ;
- Π½ΠΈΠΆΠ½ΠΈΠΉ ΡΠΎΠ»ΠΈΠΊ ΡΠ΅ΡΠΊΠΎ Π·Π°ΡΠΈΠΊΡΠΈΡΠΎΠ²Π°Π½ Π²Β ΠΎΠ΄Π½ΠΎΠΌ ΠΏΠΎΠ»ΠΎΠΆΠ΅Π½ΠΈΠΈ Π½Π°Β Π΄Π²Π΅ΡΠΈ ΠΈΒ ΡΠ»ΡΠΆΠΈΡ ΡΠΎΠ»ΡΠΊΠΎ Π΄Π»Ρ ΠΏΠ΅ΡΠ΅Π΄Π°ΡΠΈ Π΄Π²ΠΈΠΆΠ΅Π½ΠΈΡ ΡΡΠΎΡΠ° ΠΏΡΡΠ΅ΠΌ ΡΠΎΠ±ΡΡΠ²Π΅Π½Π½ΠΎΠ³ΠΎ Π²ΡΠ°ΡΠ΅Π½ΠΈΡ.
ΠΠ°ΠΌΠ΅Π½ΠΈΡΡ ΠΏΡΠ΅Π΄ΡΡΠ°Π²Π»Π΅Π½Π½ΡΠ΅ Π΄Π΅ΡΠ°Π»ΠΈ ΠΌΠΎΠΆΠ½ΠΎ Π±Π΅Π· ΠΎΡΠΎΠ±ΡΡ ΠΏΡΠΎΠ±Π»Π΅ΠΌ. Π‘Π»Π΅Π΄ΡΠ΅Ρ ΡΠΎΠ»ΡΠΊΠΎ ΠΎΡΠΊΡΡΡΠΈΡΡ Π±ΠΎΠ»ΡΡ ΠΈΒ ΠΏΡΠΎΠ²Π΅ΡΡΠΈ ΡΡΡΠ°Π½ΠΎΠ²ΠΊΡ Π½ΠΎΠ²ΡΡ ΡΠΎΠ»ΠΈΠΊΠΎΠ².
Π‘Ρ Π΅ΠΌΠ° ΠΌΠΎΠ½ΡΠ°ΠΆΠ° ΡΠ»Π΅ΠΊΡΡΠΈΡΠ΅ΡΠΊΠΈΡ ΡΡΠ΅ΠΊΠ»ΠΎΠΏΠΎΠ΄ΡΠ΅ΠΌΠ½ΠΈΠΊΠΎΠ² Π² Π°Π²ΡΠΎΠΌΠΎΠ±ΠΈΠ»Π΅ΠΠ° ΡΠ΅Π³ΠΎΠ΄Π½ΡΡΠ½ΠΈΠΉ Π΄Π΅Π½Ρ Π΅ΡΡΡ Π²ΠΎΠ·ΠΌΠΎΠΆΠ½ΠΎΡΡΡ ΡΡΡΠ°Π½Π°Π²Π»ΠΈΠ²Π°ΡΡ Π½Π° Β«ΡΠ΅ΠΌΠ΅ΡΠΊΡΒ» ΡΠ»Π΅ΠΊΡΡΠΈΡΠ΅ΡΠΊΠΈΠ΅ ΡΡΠ΅ΠΊΠ»ΠΎΠΏΠΎΠ΄ΡΠ΅ΠΌΠ½ΠΈΠΊΠΈ ΡΠ°Π·Π»ΠΈΡΠ½ΡΡ ΠΏΡΠΎΠΈΠ·Π²ΠΎΠ΄ΠΈΡΠ΅Π»Π΅ΠΉ. Π ΡΡΠΎΠΌ ΡΠ»ΡΡΠ°Π΅ Π²ΡΠ΅ ΠΏΡΠ΅Π΄ΡΡΠ°Π²Π»Π΅Π½Π½ΡΠ΅ ΡΡΡΡΠΎΠΉΡΡΠ²Π° Π±ΡΠ΄ΡΡ ΠΈΠΌΠ΅ΡΡ ΡΠ΅Π΅ΡΠ½ΡΠΉ ΡΠΈΠΏ. ΠΡΠ΅ ΡΠΏΡΠ°Π²Π»Π΅Π½ΠΈΠ΅ ΠΏΡΠΎΠΈΠ·Π²ΠΎΠ΄ΠΈΡΡΡ ΠΏΡΠΈ ΠΏΠΎΠΌΠΎΡΠΈ ΡΠ»Π΅ΠΊΡΡΠΈΡΠ΅ΡΠΊΠΎΠ³ΠΎ ΠΌΠ΅Ρ Π°Π½ΠΈΠ·ΠΌΠ° ΠΈ ΠΊΠ½ΠΎΠΏΠΎΠΊ, ΠΊΠΎΡΠΎΡΡΠ΅ ΠΌΠΎΠΆΠ½ΠΎ ΠΏΠΎΠ΄ΠΊΠ»ΡΡΠΈΡΡ Π½Π° Π΄Π²Π΅ΡΠ½ΡΠ΅ ΡΡΡΠΊΠΈ ΠΈΠ»ΠΈ ΡΠ΅Π½ΡΡΠ°Π»ΡΠ½ΡΡ ΠΏΠ°Π½Π΅Π»Ρ Π°Π²ΡΠΎΠΌΠΎΠ±ΠΈΠ»Ρ.
Π‘ΡΠ΅ΠΊΠ»ΠΎΠΏΠΎΠ΄ΡΠ΅ΠΌΠ½ΠΈΠΊΠΈ Π²Β ΠΠΠ 2107Β β ΡΠ°ΠΌΠΎΠ΅ Β«Π±ΠΎΠ»Π΅Π·Π½Π΅Π½Π½ΠΎΠ΅Β» ΠΌΠ΅ΡΡΠΎ Π²Β Π°Π²ΡΠΎΠΌΠΎΠ±ΠΈΠ»Π΅, ΠΊΠΎΡΠΎΡΡΠ΅ Π»ΠΎΠΌΠ°ΡΡΡΡ ΡΠ°ΡΠ΅ Π²ΡΠ΅Π³ΠΎ. ΠΠ°ΠΆΠ΅ ΠΏΡΠΈ ΠΎΡΠ²Π΅ΡΡΡΠ²Π΅Π½Π½ΠΎΠΉ ΡΠΊΡΠΏΠ»ΡΠ°ΡΠ°ΡΠΈΠΈ ΠΎΠ½ΠΈ ΠΌΠΎΠ³ΡΡ Π²ΡΠΉΡΠΈ ΠΈΠ·Β ΡΡΡΠΎΡ, ΡΠ°ΠΊ ΠΊΠ°ΠΊ Π²ΡΠ΅ΠΌΡ Π½Π΅Β ΡΠ°Π΄ΠΈΡ. ΠΠΎΒ ΠΎΡΡΠ°ΠΈΠ²Π°ΡΡΡΡ Π½Π΅Β ΡΡΠΎΠΈΡ, ΡΠ°ΠΊ ΠΊΠ°ΠΊ Π·Π°ΠΌΠ΅Π½ΠΈΡΡ ΠΈΡ Β ΡΠΌΠΎΠΆΠ΅Ρ Π΄Π°ΠΆΠ΅ Π½Π°ΡΠΈΠ½Π°ΡΡΠΈΠΉ Π°Π²ΡΠΎΠ»ΡΠ±ΠΈΡΠ΅Π»Ρ.
Π‘Π½ΡΡΠΈΠ΅ ΡΡΡΠΊΠΈ ΡΡΠ΅ΠΊΠ»ΠΎΠΏΠΎΠ΄ΡΠ΅ΠΌΠ½ΠΈΠΊΠ° ΠΠΠ 2102. Π Π΅ΠΌΠΎΠ½Ρ ΠΠ’ ΠΈ ΠΠ
ΠΠΎΠΌΠΌΠ΅Π½ΡΠ°ΡΠΈΠΈ ΠΊ ΡΠ΅ΠΌΠ΅ Π‘Π½ΡΡΠΈΠ΅ ΡΡΡΠΊΠΈ ΡΡΠ΅ΠΊΠ»ΠΎΠΏΠΎΠ΄ΡΠ΅ΠΌΠ½ΠΈΠΊΠ° ΠΠΠ 2102
Owen
ΠΠ΄ΡΠ°Π²ΡΡΠ²ΡΠΉΡΠ΅ Π΄ΡΡΠ·ΡΡ.Π£ ΠΌΠΎΠ΅ΠΉ ΡΠ΅ΡΡΠ΅ΡΠΊΠΈ Π½ΠΎΠ²Π°Ρ ΡΡΠ»Π΅Π²Π°Ρ ΠΊΠΎΠ»ΠΎΠ½ΠΊΠ°,Π½ΠΎ Π½Π° ΡΠ΅Π³ΡΠ»ΠΈΡΠΎΠ²ΠΎΡΠ½ΡΠΉ Π²ΠΈΠ½Ρ Π»ΡΡΡ Π½Π΅ ΡΠΌΠ΅Π½ΡΡΠ°Π΅ΡΡΡ.ΠΠΎΡΠΎΠ²Π΅ΡΡΠΉΡΠ΅ ΠΊΠ°ΠΊ ΡΠ·Π½Π°ΡΡ Π² ΡΠ΅ΠΌ Π΄Π΅Π»ΠΎ ΠΈ ΠΊΡΠ΄Π° ΠΊΠΎΠΏΠ°ΡΡΡΡ.
Constancia
… ΠΈΠ΄ΠΈ Π΄ΠΎΠΌΠΎΠΉ ΠΈ ΠΏΠΎΠ²Π΅ΡΡΡ
ΠΠ±Π°ΠΉ
Π€Π°ΡΡ ΠΏΠΎ ΡΡΡΠ»ΠΊΠ΅ Π½Π° Π½ΠΈΡΡΠ°Π½. ΠΠΎΡ ΠΊΠ°ΠΊ ΡΠ°Π· ΡΠ°ΡΡ ΠΈΡΡ ΠΈ Π½Π΅ ΠΌΠΎΠ³Ρ Π½Π°ΠΉΡΠΈ.
ΠΡΠ½Ρ
ΠΠΈΠ΄ΠΎΡ ΠΡΡΡΠΎΠΉ. Π’Π°ΡΠΊΠ° Π·Π±Ρ
Martino
ΠΠ°ΠΊ Π³Π°Π·ΠΎΠΌΠ°ΡΠ»ΡΠ½ΡΠ΅ ΡΠΏΠ΅ΡΠ΅Π΄ΠΈ? ΠΠΎΠ²ΠΎΠ»Π΅Π½?
ΠΠΆΠ΅ΡΠ΅Π»ΡΠ΅Π² Π Π°ΡΠΈΠ»Ρ
Π‘ΠΏΠ°ΡΠΈΠ±ΠΎ ΡΠΎΠ΄Π½ΠΎΠΉ! Π ΡΠΎ Ρ ΡΡΡΡ ΠΌΠ°ΡΠΈΠ½Ρ Π½Π΅ ΡΠΏΠ°Π»ΠΈΠ» ΡΠ°ΠΊ ΠΊΠ°ΠΊ Π»Π°Π·ΠΈΠ» Π² Π΄ΡΡΠ³ΠΈΡ ΠΌΠ΅ΡΡΠ°Ρ !
Aarush
ΠΠ° ΡΠΎΠΉΠΎΡΠ° ΠΠ΅Π½Π΄ ΠΡΠ°ΡΠ·Π΅Ρ 200, ΡΠ° ΠΆΠ΅ ΠΏΡΠΎΠ±Π»Π΅ΠΌΠ° — ΠΊΠΎΠ³Π΄Π° Π±Π΅ΠΆΠΈΡ ΡΠ°Π΄ΠΈΠ°ΡΠΎΡ. ΠΡΡ ΡΠ²ΡΠ·Π°Π½ΠΎ Π½Π°Π²Π΅ΡΠ½ΠΎΠ΅ Ρ ΠΏΠ»Π°ΡΡΠΈΠΊΠΎΠ²ΡΠΌΠΈ Π²Π°Π½Π½Π°ΠΌΠΈ, ΠΌΠ½ΠΎΠ³ΠΈΠ΅ ΠΎΠ± ΡΡΠΎΠΌ Π³ΠΎΠ²ΠΎΡΡΡ. ΠΠ° ΡΡΡΡ Π³ΠΈΠ΄ΡΠΎΡΡΠ΅Π»ΠΈΡΠ΅Π»Ρ ΡΡΠ»Ρ, Π½Π΅ΠΎΠ±Ρ ΠΎΠ΄ΠΈΠΌΠΎ ΠΌΠ΅Π½ΡΡΡ ΠΌΠ°ΡΠ»ΠΎ Π½Π΅ Π·Π°Π±ΡΠ²Π°ΡΡ, ΠΈ ΠΏΡΠΎΠ±Π»Π΅ΠΌ Π½Π΅ Π±ΡΠ΄Π΅Ρ. Π ΠΌΠΎΡΠΎΠ· ΠΏΠ΅ΡΠ΅Π΄ ΠΏΠΎΠ΅Π·Π΄ΠΊΠΎΠΉ ΠΎΠ±ΡΠ·Π°ΡΠ΅Π»ΡΠ½ΠΎ Ρ ΠΎΡΠΎΡΠΎ ΠΏΡΠΎΠ³ΡΠ΅ΠΉΡΠ΅ Π°Π²ΡΠΎΠΌΠΎΠ±ΠΈΠ»Ρ, ΠΈ Π½Π°Π²Π΅ΡΠ½ΠΎΠ΅ ΠΏΠΎΠ²Π΅ΡΠ½ΡΡΡ Π½Π΅ΡΠΊΠΎΠ»ΡΠΊΠΎ ΡΠ°Π· ΡΡΠ»Π΅Π²ΡΠΌ ΠΊΠΎΠ»Π΅ΡΠΎΠΌ Π²ΠΏΡΠ°Π²ΠΎ ΠΈ Π²Π»Π΅Π²ΠΎ, ΡΡΠΎΠ±Ρ Π½Π°ΡΠΎΡ Π³ΠΈΠ΄ΡΠΎΡΡΠ΅Π»ΠΈΡΠ΅Π»Ρ ΡΡΠ»Ρ ‘ΠΏΠΎΠΊΡΡΡΠΈΠ»Β» ΠΊΠ°ΠΊ Π³ΠΎΠ²ΠΎΡΠΈΡΡΡ ΠΌΠ°ΡΠ»ΠΎ ΠΈ Π² ΠΏΡΡΡ Π΄ΠΎΡΠΎΠ³Ρ.
Π‘ΡΠΎΡΠ½
Π£ ΠΌΠ΅Π½Ρ Π²ΠΎΠΏΡΠΎΡΠΈΠΊ, Π° ΠΊΠ°ΠΊ Π·Π°ΠΊΡΡΡΡ ΠΎΡΡΠ°Π»ΡΠ½ΡΠ΅ Π΄Π²Π΅ΡΠΈ ΠΌΠ°ΡΠΈΠ½Ρ Π±Π΅Π· Π°ΠΊΠΊΡΠΌΡΠ»ΡΡΠΎΡΠ°? ΠΠ΅ΡΠ΅Π΄Π½ΡΡ Π·Π°ΠΊΡΡΠ»Π°, Π° Π½Π° ΠΎΡΡΠ°Π»ΡΠ½ΡΡ ΡΠ°ΠΊΠΎΠ³ΠΎ Π½Π΅Ρ. ΠΠ»ΠΎΠΊΠΈΡΠΎΠ²ΠΊΠ° Ρ ΡΠ°Π»ΠΎΠ½Π° Π½Π΅ ΡΠ°Π±ΠΎΡΠ°Π΅Ρ, Ρ.ΠΊ. ΠΠΊΠΊΡΠΌΡΠ»ΡΡΠΎΡΠ° Π½Π΅Ρ.
ΠΠ°ΠΌΠΈΡ ΠΠ°Π΄ΡΠ»ΠΈΠ½
Π‘ΠΏΠ°ΡΠΈΠ±ΠΎ Π·Π° Ρ ΠΎΡΠΎΡΠ΅Π΅ Π²ΠΈΠ΄Π΅ΠΎ!
ΠΠ½ΡΠ΅ΠΉ
Π‘ΠΏΠ°ΡΠΈΠ±ΠΎ Π΄ΡΡΠ³ Π²ΡΡΡΡΠΈΠ»
ΠΡΡΠΎ Π’ΡΠ΅ΡΠΎΠ²
ΠΠ°ΠΊΠΈΠ΅ ΡΠΎ ΡΠΏΠΎΡΡ…ΠΡ ΡΡΠΎ?ΠΠ°ΡΠΎΠ΄?Π£ΠΌΠ½Π΅Π΅ Π²ΡΠ΅Ρ .ΠΠ ΠΠ‘Π’ΡΠ³ΠΠ²ΠΠΠ’ΠΠ‘Ρ!ΠΠΈΡΠ°ΡΡ Π½Π΅ Π±ΡΠ΄Π΅Ρ ΠΈ ΠΆΠΈΠ²Ρ ΠΎΡΡΠ°Π½Π΅ΡΠ΅ΡΡ!!
O’brian
ΠΠ΅Π±ΠΎ ΠΈ Π·Π΅ΠΌΠ»Ρ, ΠΎΡΠΎΠ±Π΅Π½Π½ΠΎ Π·Π°Π΄Π½ΡΡ Ρ ΠΎΠ΄ΠΎΠ²Π°Ρ Ρ Π΄ΠΈΡΠΊΠΎΠ²ΡΠΌΠΈ ΡΠΎΡΠΌΠΎΠ·Π°ΠΌΠΈ.
Π‘ΠΎΠ»ΠΎΠ²Π΅ΠΉ
ΠΏΠΎΠΌΠΎΠ³Π»Π° ΡΠ²ΠΎΡ Π·Π°ΠΏΠΈΡΡ, ΡΠΏΠ°ΡΠΈΠ±ΠΎ. ΡΠΌΠΎΠ³ ΠΎΡΠΊΡΡΡΡ ΡΠ°ΠΊ ΠΆΠ΅, Π° ΡΠΎ ΠΌΡΡΠ°Π»ΡΡ Ρ ΠΎΠ΄ΠΈΠ» Π½Π΅ Π·Π½Π°Π» ΡΡΠΎ Π΄Π΅Π»Π°ΡΡ
ΠΠ°ΡΠ°ΡΡΠ½ ΠΠΌΠΎ
ΠΠ΄Π½Π° ΠΈΠ· ΠΏΡΠΈΡΠΈΠ½,Π·Π°ΡΠ°ΡΡΡΡ Π²ΡΡΡΠ΅ΡΠ°ΡΡΠ°ΡΡΡ Ρ ΠΏΠ°Π΄Π΅Π½ΠΈΠ΅ΠΌ ΡΠ΅ΠΌΠΏΠ΅ΡΠ°ΡΡΡΡ Π²ΠΎΠ·Π΄ΡΡ Π°.
Brandeis
Π‘ΠΏΠ°ΡΠΈΠ±ΠΎ Π±ΠΎΠ»Π΅Π·Π½Π°Ρ ΠΈΠ½ΡΠΎΡΠΌΠ°ΡΠΈΡ.
ΠΠ΅ΡΠ½Π΅Ρ
ΡΠΏΠ°ΡΠΈΠ±ΠΎ Π±ΠΎΠ»ΡΡΠΎΠ΅ Ρ ΠΌΠ΅Π½Ρ ΡΠΎΠΆΠ΅ Π±ΡΠ»ΠΎ ΡΠ°ΠΊΠΎΠ΅ ΠΏΡΠΎΠ±Π»Π΅ΠΌΠ° Π½ΠΎ ΡΠΆΠ΅ ΡΠ΄Π΅Π»Π°Π»ΠΈ Π±ΠΎΠ»ΡΡΠΎΠ΅ ΡΠΏΠ°ΡΠΈΠ±ΠΎ Π²Π°ΠΌ Π·Π° Π²ΠΈΠ΄Π΅ΠΎ))))
ΠΠΎΠ»ΠΎΡ
ΠΠΎΠ±ΡΡΠΉ Π΄Π΅Π½Ρ. Π° Π΅ΡΡΡ ΡΠ°ΠΉΡ Π²Π°Π· ΡΡΠΎΠ±Ρ Π·Π°ΠΊΠ°Π·Π°ΡΡ ΠΏΡΡΠΆΠΈΠ½Ρ.
Π‘ΡΠ±Π±ΠΎΡΠ°
ΠΠ½Π΄ΡΠ΅ΠΉ-ΠΎΡΠΌΠΎΡΠΎΠ·ΠΎΠΊ. ΠΠ΅ Π±Π΅ΠΉ Π±Π°Π±
Devy
Π΄Π° Π²Π΅ΡΠ½ΠΎ, ΠΊ ΡΠΎΠΆΠ΅Π»Π΅Π½ΠΈΡ ΠΊΠ°ΡΠ΅ΡΡΠ²ΠΎ Π΄ΠΈΠ·.ΡΠΎΠΏΠ»ΠΈΠ²Π° Π² Π£ΠΊΡΠ°ΠΈΠ½Π΅ ΠΏΠ»ΠΎΡ ΠΎΠ΅, Π΅ΡΠ΅ ΠΌΠ½ΠΎΠ³ΠΎΠ΅ Π·Π°Π²ΠΈΡΠΈΡ ΠΎΡ ΠΊΠ»ΠΈΠΌΠ°ΡΠ° 0ΡΠΎΡΠ½Π΅Π΅ Π²Π»Π°ΠΆΠ½ΠΎΡΡΠΈ Π²ΠΎΠ·Π΄ΡΠΊΠ°
ΠΠ°ΠΏΠ° ΠΠ°Π·ΠΈΠ½Π°
ΡΠΊΡΠΏΠΎΡΡΠ½Π°Ρ ΡΠ΅ΠΌΠ΅ΡΠΊΠ°?)
ΠΠΎΠ½Π΅ΠΉΠΊΠΎ ΠΠ»ΠΎΠ½Π΄Π°ΠΉΠΊ
ΡΠΊΠ°ΠΆΠΈΡΠ΅, Π° ΠΊΠ°ΠΊ ΠΏΡΠΎΡΠ΅ΡΡ ΠΏΡΠΎΠ΄ΠΈΡ Π½Π° 16 ΠΊΠ»Π°ΠΏΠ°Π½Π½ΠΎΠΌ Π΄Π²ΠΈΠΆΠΊΠ΅,Ρ ΠΌΠ΅Π½Ρ Π»Π°ΡΠ³ΡΡ.
ΠΠΉΡΠ°
ΠΡΠΆΠ½ΠΎ ΠΎΡΠ΄Π°ΡΡ Π΄ΠΎΠ»ΠΆΠ½ΠΎΠ΅ Π°Π²ΡΠΎΡΡ, ΡΠ½ΡΡΡ ΠΏΠ΅ΡΠ΅Π΄Π½ΠΈΠΉ Π±Π°ΠΌΠΏΠ΅Ρ Π½Π° ΡΠΌΠ°ΡΡΠ΅ ΠΎΠ΄Π½ΠΎΠΉ ΡΡΠΊΠΎΠΉ, Π° Π²ΡΠΎΡΠΎΠΉ ΡΠ½ΠΈΠΌΠ°ΡΡ Π½Π° ΠΊΠ°ΠΌΠ΅ΡΡ Π΄ΠΎΡΡΠ°ΡΠΎΡΠ½ΠΎ ΡΠ»ΠΎΠΆΠ½ΠΎ))
ΠΠΎΠΈΠ½
ΠΠΎΠΆΠ½ΠΎ ΠΈ Π² ΡΠ°ΠΌΡ Π΄Π²Π΅ΡΡ ΠΏΠΎΡΡΠ°Π²ΠΈΡΡ.
ΠΠ°Π»Π΅Π½ΡΠΈΠ½
…! ΠΡΠΎΡΡΠΎ Π·Π°ΡΠΈΡΡΠΈΠ» ΠΊΠΎΠ½ΡΠ°ΠΊΡ ΠΈ ΡΠΌΠ°Π·Π°Π» Π»ΠΈΡΠΎΠ»ΠΎΠΌ!!!!!! ΠΡΠ΅!!!! ΠΠ΅Ρ Π±ΠΎΠ»ΡΡΠ΅ ΠΏΡΠΎΠ±Π»Π΅ΠΌ!!!!!!!!!
ΠΡΡΡΠ°ΠΉ
ΠΠΎΠΊΠ°ΡΠ°ΡΠ»ΠΈΡΡ ΠΎΠ΄Π½Ρ Π½ΠΎΡΡ, ΠΏΠΎΠΉΠΌΠ°ΡΡ ΠΈ ΡΠ»ΠΎΠΌΠ°ΡΡ ΠΊΠ°ΠΆΠ΄ΠΎΠΌΡ ΠΏΠΎ ΠΎΠ΄Π½ΠΎΠΌΡ ΠΏΠ°Π»ΡΡΡ ΠΈ Π²ΡΡ. Π£ΡΠΎΠΊΠΎΠΌ Π±ΡΠ΄Π΅Ρ Π½Π° Π²ΡΡ ΠΆΠΈΠ·Π½Ρ.
ΠΠΈΡΠ°Π»Ρ
ΠΠΈΡΡΠΎΠ½Ρ Π½Π°Π·Π²Π°Π» Π·Π°ΠΊΠ»Π΅ΠΏΠΊΠ°ΠΌΠΈ, Π±Π°ΡΡ ΠΎΡΠΊΠΈ — Π²ΠΈΠ½ΠΈΠ»ΠΎΠ²ΡΠΌΠΈ ΡΠ΅ΡΠΊΠ°ΠΌΠΈ, Π²ΠΎΡ ΡΡΠ° ΠΊΠ»Π΅ΠΌΠΌΠ°… ΠΎΡΠΊΡΠ΄Π° ΡΡ Π²ΡΠ»Π΅Π· ‘ΡΠ΅ΠΌΠΎΠ½ΡΠ½ΠΈΠΊ’.
ΠΡΡΠ°
Π£ ΠΌΠ΅Π½Ρ ΡΡΠ°Π»ΠΎ ΠΎΡΠ»ΠΈΡΠ½ΠΎ, Π±Π΅Π· Π·Π°ΠΌΠ΅Π½Ρ Π±ΠΎΠ»ΡΠ°, Π²ΠΈΡΠΊΠΎΠ² ΠΏΡΡΡ ΡΠΎΡΠ½ΠΎ ΠΏΠΎΠ»ΡΡΠΈΠ»ΠΎΡΡ. ΠΠΎ Ρ Π΄Π΅Π»Π°Π» ΡΠ°ΠΌ.
Π¨Π΅ΡΠ·ΠΎΠ΄
ΠΠΎΠ»ΠΎΠ΄ΡΡ, ΡΠ΅Π±ΡΡΠ°!
ΠΠ»Π΅ΡΠΊΠ°
Π‘ΠΏΠ°ΡΠΈΠ±ΠΎ, ΠΏΡΠΈΠ³ΠΎΠ΄ΠΈΠ»ΠΎΡΡ.
ΠΠ³Π»
ΠΌΠΎΠΆΠ΅Ρ ΠΊΡΠΎ Π·Π½Π°Π΅Ρ, Ρ ΠΌΠ΅Π½Ρ Π½Π΅ Π³ΠΎΡΠΈΡ Π±Π»ΠΈΠΆΠ½ΠΈΠΉ ΡΠ²Π΅Ρ, Π½ΠΎ ΠΏΡΠΈ ΡΡΠΎΠΌ Π΄Π°Π»ΡΠ½ΡΠΉ ΡΠ²Π΅Ρ ΡΠ°Π±ΠΎΡΠ°Π΅Ρ Π½ΠΎ Π»Π°ΠΌΠΏΠΎΡΠΊΠ° ΠΎΠ΄Π½Π°
ΠΠ³Π΄Π΅Π½
Π‘ΠΏΠ°ΡΠΈΠ±ΠΎ Π·Π° Π²ΠΈΠ΄ΠΎΡ Π±ΡΠ°Ρ, Π²ΡΡΡΡΠΈΠ».
Π‘Π΅ΡΠ³Π΅ΠΉ
Ρ ΡΠΌΠ½Π΅ΠΉ ΡΠ΅Π±Ρ ΠΏΠΎΡΠΌΠΎΡΡΠ΅Π» ΠΏΠΎΠΊΡΠΏΠ°Ρ Π»ΠΎΡΠ°Π΄Ρ
Davy
ΠΡΠΈΠ²Π΅Ρ ΠΎΡ Π²ΠΎΠ΄ΠΈΡΠ΅Π»Ρ Π€ΠΎΡΠΈΠΊa ΠΈΠ· ΠΠΎΠ»ΡΡΠΈ. ΠΠ°ΠΉΠΊ 500 ΠΎΡ ΠΌΠ΅Π½Ρ.
ΠΡΠΎΠΊΠΎΠΌΠΌΠ΅Π½ΡΠΈΡΠΎΠ²Π°ΡΡ
ΠΠΏΡΠ±Π»ΠΈΠΊΠΎΠ²Π°ΡΡ
ΠΠ°ΠΊ Π·Π°ΠΌΠ΅Π½ΠΈΡΡ Π΄Π²ΠΈΠ³Π°ΡΠ΅Π»Ρ ΡΡΠ΅ΠΊΠ»ΠΎΠΏΠΎΠ΄ΡΠ΅ΠΌΠ½ΠΈΠΊΠ° Π°Π²ΡΠΎΠΌΠΎΠ±ΠΈΠ»Ρ / ΡΡΠ΅ΠΊΠ»ΠΎΠΏΠΎΠ΄ΡΠ΅ΠΌΠ½ΠΈΠΊ Π² ΡΠ±ΠΎΡΠ΅
ΠΠ²ΠΈΠ³Π°ΡΠ΅Π»ΠΈ ΠΈ ΡΠ΅Π³ΡΠ»ΡΡΠΎΡΡ ΡΡΠ΅ΠΊΠ»ΠΎΠΏΠΎΠ΄ΡΠ΅ΠΌΠ½ΠΈΠΊΠΎΠ² ΡΡΠ°Π½ΡΠΏΠΎΡΡΠ½ΡΡ ΡΡΠ΅Π΄ΡΡΠ² ΠΏΡΠ΅Π΄Π½Π°Π·Π½Π°ΡΠ΅Π½Ρ Π΄Π»Ρ ΠΏΠ΅ΡΠ΅ΠΌΠ΅ΡΠ΅Π½ΠΈΡ ΡΡΠ΅ΠΊΠΎΠ» Π²Π²Π΅ΡΡ ΠΈ Π²Π½ΠΈΠ· Π±Π΅Π· ΠΈΡΠΏΠΎΠ»ΡΠ·ΠΎΠ²Π°Π½ΠΈΡ ΡΡΡΠ°Π³Π° ΡΠΏΡΠ°Π²Π»Π΅Π½ΠΈΡ ΡΡΠ΅ΠΊΠ»ΠΎΠΏΠΎΠ΄ΡΠ΅ΠΌΠ½ΠΈΠΊΠΎΠΌ. ΠΠΎΡΠΊΠΎΠ»ΡΠΊΡ Π°Π²ΡΠΎΠΌΠΎΠ±ΠΈΠ»ΠΈ ΡΡΠ°Π½ΠΎΠ²ΡΡΡΡ Π²ΡΠ΅ Π±ΠΎΠ»Π΅Π΅ ΡΠ»ΠΎΠΆΠ½ΡΠΌΠΈ, ΡΠ»Π΅ΠΊΡΡΠΈΡΠ΅ΡΠΊΠΈΠ΅ ΡΡΠ΅ΠΊΠ»ΠΎΠΏΠΎΠ΄ΡΠ΅ΠΌΠ½ΠΈΠΊΠΈ ΡΠ΅Π³ΠΎΠ΄Π½Ρ Π±ΠΎΠ»Π΅Π΅ ΡΠ°ΡΠΏΡΠΎΡΡΡΠ°Π½Π΅Π½Ρ Π½Π° ΡΡΠ°Π½ΡΠΏΠΎΡΡΠ½ΡΡ ΡΡΠ΅Π΄ΡΡΠ²Π°Ρ . ΠΡΡΡ Π΄Π²ΠΈΠ³Π°ΡΠ΅Π»Ρ ΠΈ ΡΠ΅Π³ΡΠ»ΡΡΠΎΡ, ΠΊΠΎΡΠΎΡΡΠ΅ Π²ΠΊΠ»ΡΡΠ°ΡΡΡΡ, ΠΊΠΎΠ³Π΄Π° ΠΊΠ»ΡΡ Π·Π°ΠΆΠΈΠ³Π°Π½ΠΈΡ Π²ΡΡΠ°Π²Π»Π΅Π½ ΠΈ ΡΡΡΠ°Π½ΠΎΠ²Π»Π΅Π½ Π² Π΄ΠΎΠΏΠΎΠ»Π½ΠΈΡΠ΅Π»ΡΠ½ΠΎΠ΅ ΠΈΠ»ΠΈ Π²ΠΊΠ»ΡΡΠ΅Π½Π½ΠΎΠ΅ ΠΏΠΎΠ»ΠΎΠΆΠ΅Π½ΠΈΠ΅. ΠΠΎΠ»ΡΡΠΈΠ½ΡΡΠ²ΠΎ ΡΡΠ΅ΠΊΠ»ΠΎΠΏΠΎΠ΄ΡΠ΅ΠΌΠ½ΠΈΠΊΠΎΠ² Π½Π΅ ΠΈΠΌΠ΅ΡΡ ΠΏΠΈΡΠ°Π½ΠΈΡ Π±Π΅Π· ΠΊΠ»ΡΡΠ° ΠΎΡ Π°Π²ΡΠΎΠΌΠΎΠ±ΠΈΠ»Ρ. ΠΡΠΎ ΠΏΡΠ΅Π΄ΠΎΡΠ²ΡΠ°ΡΠ°Π΅Ρ Π°ΠΊΡΠΈΠ²Π°ΡΠΈΡ ΡΠ»Π΅ΠΊΡΡΠΎΠ΄Π²ΠΈΠ³Π°ΡΠ΅Π»Ρ, ΠΊΠΎΠ³Π΄Π° Π² Π°Π²ΡΠΎΠΌΠΎΠ±ΠΈΠ»Π΅ Π½ΠΈΠΊΠΎΠ³ΠΎ Π½Π΅Ρ.
ΠΡΠ»ΠΈ Π΄Π²ΠΈΠ³Π°ΡΠ΅Π»Ρ ΠΈΠ»ΠΈ ΡΠ΅Π³ΡΠ»ΡΡΠΎΡ ΡΡΠ΅ΠΊΠ»ΠΎΠΏΠΎΠ΄ΡΠ΅ΠΌΠ½ΠΈΠΊΠ° Π²ΡΠΉΠ΄Π΅Ρ ΠΈΠ· ΡΡΡΠΎΡ, ΠΎΠΊΠ½ΠΎ Π½Π΅ Π±ΡΠ΄Π΅Ρ Π΄Π²ΠΈΠ³Π°ΡΡΡΡ Π²Π²Π΅ΡΡ ΠΈΠ»ΠΈ Π²Π½ΠΈΠ· ΠΏΡΠΈ ΠΏΠΎΠΏΡΡΠΊΠ΅ Π·Π°Π΄Π΅ΠΉΡΡΠ²ΠΎΠ²Π°ΡΡ ΠΏΠ΅ΡΠ΅ΠΊΠ»ΡΡΠ°ΡΠ΅Π»Ρ. ΠΠΊΠ½ΠΎ Π°Π²ΡΠΎΠΌΠ°ΡΠΈΡΠ΅ΡΠΊΠΈ ΠΎΡΠΊΡΠΎΠ΅ΡΡΡ. ΠΡΠ»ΠΈ ΠΎΠ΄Π½ΠΎ ΠΎΠΊΠ½ΠΎ Π·Π°ΠΊΠ»ΠΈΠ½ΠΈΠ»ΠΎ, ΠΏΠ°ΡΡ Π²ΡΡ Π»ΠΎΠΏΠ½ΠΎΠΉ ΡΠΈΡΡΠ΅ΠΌΡ Π°Π²ΡΠΎΠΌΠΎΠ±ΠΈΠ»Ρ, Π΄ΠΎΠΆΠ΄Ρ, Π³ΡΠ°Π΄ ΠΈΠ»ΠΈ ΠΌΡΡΠΎΡ ΠΌΠΎΠ³ΡΡ ΠΏΠΎΠΏΠ°ΡΡΡ Π² Π°Π²ΡΠΎΠΌΠΎΠ±ΠΈΠ»Ρ ΠΈ Π²ΡΠ·Π²Π°ΡΡ ΠΏΡΠΎΠ±Π»Π΅ΠΌΡ.
ΠΠ΅ΠΎΠ±Ρ ΠΎΠ΄ΠΈΠΌΡΠ΅ ΠΌΠ°ΡΠ΅ΡΠΈΠ°Π»Ρ
- ΠΠ°Π±ΠΎΡ ΡΠ΅ΡΡΠΈΠ³ΡΠ°Π½Π½ΡΡ ΠΊΠ»ΡΡΠ΅ΠΉ
- ΠΠ»ΡΡ ΡΠΎΡΡΠ΅Π²ΠΎΠΉ Π² ΠΊΠΎΡΠΎΠ±ΠΊΠ΅
- ΠΡΠ²Π΅ΡΡΠΊΠ° ΠΊΡΠ΅ΡΡΠΎΠ²Π°Ρ
- ΠΠ»Π΅ΠΊΡΡΠΎΠΎΡΠΈΡΡΠΈΡΠ΅Π»Ρ
- ΠΠ»ΠΎΡΠΊΠΎΠ³ΡΠ±ΡΡ ΠΈΠ³ΠΎΠ»ΡΡΠ°ΡΡΠ΅
- Π£ΡΡΡΠΎΠΉΡΡΠ²ΠΎ ΡΠ½Π΅ΡΠ³ΠΎΡΠ±Π΅ΡΠ΅ΠΆΠ΅Π½ΠΈΡ Π½Π° 9 Π
- ΠΠ΅ΡΡΠ°ΡΠΊΠΈ Π·Π°ΡΠΈΡΠ½ΡΠ΅
- Π’ΡΠ΅ΡΠΎΡΠΊΠ° Ρ ΠΌΠ΅ΡΡΠΈΡΠ΅ΡΠΊΠΎΠΉ ΠΈ ΡΡΠ°Π½Π΄Π°ΡΡΠ½ΠΎΠΉ Π³ΠΎΠ»ΠΎΠ²ΠΊΠΎΠΉ
- ΠΠ΅Π·Π²ΠΈΠ΅ Π΄Π»Ρ Π±ΡΠΈΡΠ²Ρ
- ΠΠ°ΡΠΈΡΠ½ΡΠ΅ ΠΎΡΠΊΠΈ
- ΠΠΎΠ»ΠΎΡΠΎΠΊ ΠΌΠ°Π»ΡΠΉ
- ΠΠ·ΠΌΠ΅ΡΠΈΡΠ΅Π»ΡΠ½ΡΠ΅ ΠΏΡΠΎΠ²ΠΎΠ΄Π°
- ΠΠ°Π±ΠΎΡ Π±ΠΈΡ Torx
- ΠΡΠΎΡΠΈΠ²ΠΎΠΎΡΠΊΠ°ΡΠ½ΡΠ΅ ΡΠΏΠΎΡΡ
Π§Π°ΡΡΡ 1 ΠΈΠ· 2: Π‘Π½ΡΡΠΈΠ΅ ΡΠ·Π»Π° Π΄Π²ΠΈΠ³Π°ΡΠ΅Π»Ρ / ΡΠ΅Π³ΡΠ»ΡΡΠΎΡ ΡΡΠ΅ΠΊΠ»ΠΎΠΏΠΎΠ΄ΡΠ΅ΠΌΠ½ΠΈΠΊΠ°
Π¨Π°Π³ 1. ΠΡΠΈΠΏΠ°ΡΠΊΡΠΉΡΠ΅ Π°Π²ΡΠΎΠΌΠΎΠ±ΠΈΠ»Ρ Π½Π° ΡΠΎΠ²Π½ΠΎΠΉ ΡΠ²Π΅ΡΠ΄ΠΎΠΉ ΠΏΠΎΠ²Π΅ΡΡ Π½ΠΎΡΡΠΈ .Π£Π±Π΅Π΄ΠΈΡΠ΅ΡΡ, ΡΡΠΎ ΡΡΠ°Π½ΡΠΌΠΈΡΡΠΈΡ ΡΡΠΎΠΈΡ Π½Π° ΡΡΠΎΡΠ½ΠΊΠ΅ (Π΄Π»Ρ Π°Π²ΡΠΎΠΌΠ°ΡΠΈΠΊΠΈ) ΠΈΠ»ΠΈ Π½Π° ΠΏΠ΅ΡΠ²ΠΎΠΉ ΠΏΠ΅ΡΠ΅Π΄Π°ΡΠ΅ (Π΄Π»Ρ ΠΌΠ΅Ρ Π°Π½ΠΈΡΠ΅ΡΠΊΠΈΡ ΠΊΠΎΡΠΎΠ±ΠΎΠΊ ΠΏΠ΅ΡΠ΅Π΄Π°Ρ).
Π¨Π°Π³ 2: Π£ΡΡΠ°Π½ΠΎΠ²ΠΈΡΠ΅ Π² ΠΏΡΠΈΠΊΡΡΠΈΠ²Π°ΡΠ΅Π»Ρ Π°ΠΊΠΊΡΠΌΡΠ»ΡΡΠΎΡΠ½ΡΡ Π±Π°ΡΠ°ΡΠ΅Ρ Π½Π° 9 ΠΠΎΠ»ΡΡ. ΠΡΠΎ ΠΎΠ±Π΅ΡΠΏΠ΅ΡΠΈΡ Π±Π΅ΡΠΏΠ΅ΡΠ΅Π±ΠΎΠΉΠ½ΡΡ ΡΠ°Π±ΠΎΡΡ Π²Π°ΡΠ΅Π³ΠΎ ΠΊΠΎΠΌΠΏΡΡΡΠ΅ΡΠ° ΠΈ ΡΠΎΡ ΡΠ°Π½ΠΈΡ Π°ΠΊΡΡΠ°Π»ΡΠ½ΠΎΡΡΡ Π²Π°ΡΠΈΡ Π½Π°ΡΡΡΠΎΠ΅ΠΊ Π² Π°Π²ΡΠΎΠΌΠΎΠ±ΠΈΠ»Π΅. ΠΡΠ»ΠΈ Ρ Π²Π°Ρ Π½Π΅Ρ ΡΡΡΡΠΎΠΉΡΡΠ²Π° Π΄Π»Ρ ΡΠΊΠΎΠ½ΠΎΠΌΠΈΠΈ Π·Π°ΡΡΠ΄Π° Π±Π°ΡΠ°ΡΠ΅ΠΈ Π½Π° Π΄Π΅Π²ΡΡΡ Π²ΠΎΠ»ΡΡ, Π²Ρ ΠΌΠΎΠΆΠ΅ΡΠ΅ Π·Π°Π²Π΅ΡΡΠΈΡΡ ΡΠ°Π±ΠΎΡΡ Π±Π΅Π· Π½Π΅Π³ΠΎ; ΡΡΠΎ ΠΏΡΠΎΡΡΠΎ ΡΠΏΡΠΎΡΠ°Π΅Ρ Π·Π°Π΄Π°ΡΡ.
Π¨Π°Π³ 3. ΠΡΠΊΡΠΎΠΉΡΠ΅ ΠΊΠ°ΠΏΠΎΡ Π°Π²ΡΠΎΠΌΠΎΠ±ΠΈΠ»Ρ ΠΈ ΠΎΡΡΠΎΠ΅Π΄ΠΈΠ½ΠΈΡΠ΅ Π°ΠΊΠΊΡΠΌΡΠ»ΡΡΠΎΡ . ΠΡΡΠΎΠ΅Π΄ΠΈΠ½ΠΈΡΠ΅ Π·Π°Π·Π΅ΠΌΠ»ΡΡΡΠΈΠΉ ΠΊΠ°Π±Π΅Π»Ρ ΠΎΡ ΠΎΡΡΠΈΡΠ°ΡΠ΅Π»ΡΠ½ΠΎΠΉ ΠΊΠ»Π΅ΠΌΠΌΡ Π°ΠΊΠΊΡΠΌΡΠ»ΡΡΠΎΡΠ½ΠΎΠΉ Π±Π°ΡΠ°ΡΠ΅ΠΈ, ΠΎΡΠΊΠ»ΡΡΠΈΠ² ΠΏΠΎΠ΄Π°ΡΡ ΠΏΠΈΡΠ°Π½ΠΈΡ Π½Π° ΡΠΈΡΡΠ΅ΠΌΡ Π·Π°ΠΆΠΈΠ³Π°Π½ΠΈΡ, Π΄Π²ΠΈΠ³Π°ΡΠ΅Π»Ρ ΡΡΠ΅ΠΊΠ»ΠΎΠΏΠΎΠ΄ΡΠ΅ΠΌΠ½ΠΈΠΊΠ° ΠΈ ΡΠ·Π΅Π» ΡΠ΅Π³ΡΠ»ΡΡΠΎΡΠ°.
- ΠΡΠΈΠΌΠ΅ΡΠ°Π½ΠΈΠ΅ : ΠΠ°ΠΆΠ½ΠΎ Π·Π°ΡΠΈΡΠΈΡΡ ΡΡΠΊΠΈ. ΠΠ±ΡΠ·Π°ΡΠ΅Π»ΡΠ½ΠΎ Π½Π°Π΄Π΅Π½ΡΡΠ΅ Π·Π°ΡΠΈΡΠ½ΡΠ΅ ΠΏΠ΅ΡΡΠ°ΡΠΊΠΈ, ΠΏΡΠ΅ΠΆΠ΄Π΅ ΡΠ΅ΠΌ ΡΠ½ΠΈΠΌΠ°ΡΡ ΠΊΠ°ΠΊΠΈΠ΅-Π»ΠΈΠ±ΠΎ ΠΊΠ»Π΅ΠΌΠΌΡ Π°ΠΊΠΊΡΠΌΡΠ»ΡΡΠΎΡΠ°.
Π¨Π°Π³ 4: ΠΡΠΊΡΡΡΠΈΡΠ΅ Π²ΠΈΠ½ΡΡ ΠΏΠ΅ΡΠ΅ΠΊΠ»ΡΡΠ°ΡΠ΅Π»Ρ ΡΡΠ΅ΠΊΠ»ΠΎΠΏΠΎΠ΄ΡΠ΅ΠΌΠ½ΠΈΠΊΠ° . ΠΠ΅ΡΠ΅Π΄ ΡΠ΅ΠΌ, ΠΊΠ°ΠΊ ΡΠ½ΡΡΡ Π΄Π²Π΅ΡΠ½ΡΡ ΠΏΠ°Π½Π΅Π»Ρ, Π½ΡΠΆΠ½ΠΎ ΠΎΡΠΊΡΡΡΠΈΡΡ Π²ΠΈΠ½ΡΡ, ΠΊΡΠ΅ΠΏΡΡΠΈΠ΅ ΠΎΠΊΠΎΠ½Π½ΡΠΉ ΠΏΠ΅ΡΠ΅ΠΊΠ»ΡΡΠ°ΡΠ΅Π»Ρ ΠΊ Π΄Π²Π΅ΡΠ½ΠΎΠΉ ΠΏΠ°Π½Π΅Π»ΠΈ. ΠΡΠ»ΠΈ Π²ΡΠΊΠ»ΡΡΠ°ΡΠ΅Π»Ρ ΡΡΠ΅ΠΊΠ»ΠΎΠΏΠΎΠ΄ΡΠ΅ΠΌΠ½ΠΈΠΊΠ° Π½Π΅ ΠΌΠΎΠΆΠ΅Ρ Π±ΡΡΡ ΠΎΡΡΠΎΠ΅Π΄ΠΈΠ½Π΅Π½, Π²ΠΎΠ·ΠΌΠΎΠΆΠ½ΠΎ, Π²Ρ ΡΠΌΠΎΠΆΠ΅ΡΠ΅ ΠΎΡΡΠΎΠ΅Π΄ΠΈΠ½ΠΈΡΡ ΡΠ°Π·ΡΠ΅ΠΌΡ ΠΆΠ³ΡΡΠ° ΠΏΡΠΎΠ²ΠΎΠ΄ΠΎΠ² ΠΏΠΎΠ΄ Π΄Π²Π΅ΡΠ½ΠΎΠΉ ΠΏΠ°Π½Π΅Π»ΡΡ, ΠΊΠΎΠ³Π΄Π° Π±ΡΠ΄Π΅ΡΠ΅ Π΅Π΅ ΡΠ½ΠΈΠΌΠ°ΡΡ.
Π¨Π°Π³ 5: Π‘Π½ΠΈΠΌΠΈΡΠ΅ Π΄Π²Π΅ΡΠ½ΡΡ ΠΏΠ°Π½Π΅Π»Ρ .Π‘Π½ΠΈΠΌΠ°Π΅ΠΌ Π΄Π²Π΅ΡΠ½ΡΡ ΠΏΠ°Π½Π΅Π»Ρ Π½Π° Π΄Π²Π΅ΡΠΈ Ρ Π½Π΅ΠΈΡΠΏΡΠ°Π²Π½ΡΠΌ ΠΌΠΎΡΠΎΡΠΎΠΌ ΡΡΠ΅ΠΊΠ»ΠΎΠΏΠΎΠ΄ΡΠ΅ΠΌΠ½ΠΈΠΊΠ° ΠΈ ΡΠ΅Π³ΡΠ»ΡΡΠΎΡΠΎΠΌ. Π’Π°ΠΊΠΆΠ΅ ΡΠ½ΠΈΠΌΠΈΡΠ΅ ΠΏΡΠΎΠ·ΡΠ°ΡΠ½ΡΡ ΠΏΠ»Π°ΡΡΠΈΠΊΠΎΠ²ΡΡ ΠΊΡΡΡΠΊΡ Π·Π° Π΄Π²Π΅ΡΠ½ΠΎΠΉ ΠΏΠ°Π½Π΅Π»ΡΡ. Π§ΡΠΎΠ±Ρ ΡΠ½ΡΡΡ ΠΏΠ»Π°ΡΡΠΈΠΊΠΎΠ²ΡΡ ΠΊΡΡΡΠΊΡ, Π²Π°ΠΌ ΠΏΠΎΠ½Π°Π΄ΠΎΠ±ΠΈΡΡΡ Π»Π΅Π·Π²ΠΈΠ΅ Π±ΡΠΈΡΠ²Ρ.
- ΠΡΠΈΠΌΠ΅ΡΠ°Π½ΠΈΠ΅ : ΠΠ»Π°ΡΡΠΈΠΊ ΠΈΠ³ΡΠ°Π΅Ρ Π²Π°ΠΆΠ½ΡΡ ΡΠΎΠ»Ρ Π² ΠΎΠ±ΡΠ°Π·ΠΎΠ²Π°Π½ΠΈΠΈ Π²ΠΎΠ΄ΠΎΠ½Π΅ΠΏΡΠΎΠ½ΠΈΡΠ°Π΅ΠΌΠΎΠ³ΠΎ Π±Π°ΡΡΠ΅ΡΠ° Π½Π° Π²Π½Π΅ΡΠ½Π΅ΠΉ ΡΡΠΎΡΠΎΠ½Π΅ Π²Π½ΡΡΡΠ΅Π½Π½Π΅ΠΉ Π΄Π²Π΅ΡΠ½ΠΎΠΉ ΠΏΠ°Π½Π΅Π»ΠΈ, ΠΏΠΎΡΠΎΠΌΡ ΡΡΠΎ Π²ΠΎΠ΄Π° Π²ΡΠ΅Π³Π΄Π° ΠΏΠΎΠΏΠ°Π΄Π°Π΅Ρ Π²Π½ΡΡΡΡ Π΄Π²Π΅ΡΠΈ Π² Π΄ΠΎΠΆΠ΄Π»ΠΈΠ²ΡΠ΅ Π΄Π½ΠΈ ΠΈΠ»ΠΈ ΠΏΡΠΈ ΠΌΠΎΠΉΠΊΠ΅ Π°Π²ΡΠΎΠΌΠΎΠ±ΠΈΠ»Π΅ΠΉ. Π£Π±Π΅Π΄ΠΈΡΠ΅ΡΡ, ΡΡΠΎ Π΄Π²Π° ΡΠ»ΠΈΠ²Π½ΡΡ ΠΎΡΠ²Π΅ΡΡΡΠΈΡ Π² Π½ΠΈΠΆΠ½Π΅ΠΉ ΡΠ°ΡΡΠΈ Π΄Π²Π΅ΡΡΡ ΡΠΈΡΡΡΠ΅, ΠΈ ΡΡΠΎ Π² Π½ΠΈΠΆΠ½Π΅ΠΉ ΡΠ°ΡΡΠΈ Π΄Π²Π΅ΡΡΡ Π½Π΅Ρ ΡΠΊΠΎΠΏΠ»Π΅Π½ΠΈΠΉ ΠΌΡΡΠΎΡΠ°.
Π¨Π°Π³ 5: Π‘Π½ΠΈΠΌΠΈΡΠ΅ ΠΌΠΎΠ½ΡΠ°ΠΆΠ½ΡΠ΅ Π±ΠΎΠ»ΡΡ ΡΠ·Π»Π° . ΠΠ°ΠΉΠ΄ΠΈΡΠ΅ ΠΌΠΎΡΠΎΡ ΡΡΠ΅ΠΊΠ»ΠΎΠΏΠΎΠ΄ΡΠ΅ΠΌΠ½ΠΈΠΊΠ° ΠΈ ΡΠ΅Π³ΡΠ»ΡΡΠΎΡ Π²Π½ΡΡΡΠΈ Π΄Π²Π΅ΡΠΈ. ΠΠ°ΠΌ Π½ΡΠΆΠ½ΠΎ Π±ΡΠ΄Π΅Ρ ΡΠ΄Π°Π»ΠΈΡΡ ΡΠ΅ΡΡΡΠ΅-ΡΠ΅ΡΡΡ ΠΊΡΠ΅ΠΏΠ΅ΠΆΠ½ΡΡ Π±ΠΎΠ»ΡΠΎΠ², ΠΊΠΎΡΠΎΡΡΠ΅ ΠΊΡΠ΅ΠΏΡΡ ΡΡΠ΅ΠΊΠ»ΠΎΠΏΠΎΠ΄ΡΠ΅ΠΌΠ½ΠΈΠΊ Π² ΡΠ±ΠΎΡΠ΅ ΠΊ Π΄Π²Π΅ΡΠ½ΠΎΠΉ ΠΊΠΎΡΠΎΠ±ΠΊΠ΅. ΠΠΎΠ·ΠΌΠΎΠΆΠ½ΠΎ, Π²Π°ΠΌ ΠΏΡΠΈΠ΄Π΅ΡΡΡ ΡΠ½ΡΡΡ Π΄Π²Π΅ΡΠ½ΠΎΠΉ Π΄ΠΈΠ½Π°ΠΌΠΈΠΊ, ΡΡΠΎΠ±Ρ ΠΏΠΎΠ»ΡΡΠΈΡΡ Π΄ΠΎΡΡΡΠΏ ΠΊ ΠΊΡΠ΅ΠΏΠ΅ΠΆΠ½ΡΠΌ Π±ΠΎΠ»ΡΠ°ΠΌ.
Π¨Π°Π³ 6: ΠΠ΅ Π΄ΠΎΠΏΡΡΠΊΠ°ΠΉΡΠ΅ ΠΏΠ°Π΄Π΅Π½ΠΈΡ ΠΎΠΊΠ½Π° . ΠΡΠ»ΠΈ Π΄Π²ΠΈΠ³Π°ΡΠ΅Π»Ρ ΡΡΠ΅ΠΊΠ»ΠΎΠΏΠΎΠ΄ΡΠ΅ΠΌΠ½ΠΈΠΊΠ° ΠΈ ΡΠ΅Π³ΡΠ»ΡΡΠΎΡ Π²ΡΠ΅ Π΅ΡΠ΅ ΡΠ°Π±ΠΎΡΠ°ΡΡ, ΠΏΠΎΠ΄ΡΠΎΠ΅Π΄ΠΈΠ½ΠΈΡΠ΅ ΠΏΠ΅ΡΠ΅ΠΊΠ»ΡΡΠ°ΡΠ΅Π»Ρ ΠΊ Π΄Π²ΠΈΠ³Π°ΡΠ΅Π»Ρ ΡΡΠ΅ΠΊΠ»ΠΎΠΏΠΎΠ΄ΡΠ΅ΠΌΠ½ΠΈΠΊΠ° ΠΈ ΠΏΠΎΠ»Π½ΠΎΡΡΡΡ ΠΏΠΎΠ΄Π½ΠΈΠΌΠΈΡΠ΅ ΠΎΠΊΠ½ΠΎ.
ΠΡΠ»ΠΈ ΠΌΠΎΡΠΎΡ ΡΡΠ΅ΠΊΠ»ΠΎΠΏΠΎΠ΄ΡΠ΅ΠΌΠ½ΠΈΠΊΠ° Π½Π΅ ΡΠ°Π±ΠΎΡΠ°Π΅Ρ, Π²Π°ΠΌ ΠΏΠΎΠ½Π°Π΄ΠΎΠ±ΠΈΡΡΡ ΠΌΠΎΠ½ΡΠΈΡΠΎΠ²ΠΊΠ°, ΡΡΠΎΠ±Ρ ΠΏΠΎΠ΄ΡΠΎΠ»ΠΊΠ½ΡΡΡ Π²Π²Π΅ΡΡ ΡΠ±ΠΎΡΠΊΡ ΠΎΡΠ½ΠΎΠ²Π°Π½ΠΈΡ ΡΠ΅Π³ΡΠ»ΡΡΠΎΡΠ°, ΡΡΠΎΠ±Ρ ΠΏΠΎΠ΄Π½ΡΡΡ ΠΎΠΊΠ½ΠΎ. ΠΡΠΏΠΎΠ»ΡΠ·ΡΠΉΡΠ΅ ΠΌΠ°Π»ΡΡΠ½ΡΠΉ ΡΠΊΠΎΡΡ, ΡΡΠΎΠ±Ρ ΠΏΡΠΈΠΊΡΠ΅ΠΏΠΈΡΡ ΠΎΠΊΠ½ΠΎ ΠΊ Π΄Π²Π΅ΡΠΈ, ΡΡΠΎΠ±Ρ ΠΎΠ½ΠΎ Π½Π΅ ΡΠΏΠ°Π»ΠΎ.
Π¨Π°Π³ 7: Π‘Π½ΠΈΠΌΠΈΡΠ΅ Π²Π΅ΡΡ Π½ΠΈΠ΅ ΠΊΡΠ΅ΠΏΠ΅ΠΆΠ½ΡΠ΅ Π±ΠΎΠ»ΡΡ . ΠΠΎΡΠ»Π΅ ΡΠΎΠ³ΠΎ, ΠΊΠ°ΠΊ ΠΎΠΊΠ½ΠΎ Π±ΡΠ΄Π΅Ρ ΠΏΠΎΠ»Π½ΠΎΡΡΡΡ ΠΏΠΎΠ΄Π½ΡΡΠΎ ΠΈ Π·Π°ΠΊΡΠ΅ΠΏΠ»Π΅Π½ΠΎ, Π±ΡΠ΄ΡΡ Π²ΠΈΠ΄Π½Ρ Π²Π΅ΡΡ Π½ΠΈΠ΅ ΠΊΡΠ΅ΠΏΠ΅ΠΆΠ½ΡΠ΅ Π±ΠΎΠ»ΡΡ Π½Π° ΡΡΠ΅ΠΊΠ»ΠΎΠΏΠΎΠ΄ΡΠ΅ΠΌΠ½ΠΈΠΊΠ΅. ΠΡΠ²Π΅ΡΠ½ΠΈΡΠ΅ Π±ΠΎΠ»ΡΡ ΠΊΡΠ΅ΠΏΠ»Π΅Π½ΠΈΡ ΡΡΠ΅ΠΊΠ»ΠΎΠΏΠΎΠ΄ΡΠ΅ΠΌΠ½ΠΈΠΊΠ°.
Π¨Π°Π³ 8: Π‘Π½ΠΈΠΌΠΈΡΠ΅ ΡΠ·Π΅Π» .ΠΡΡΠ°ΡΠΈΡΠ΅ Π΄Π²ΠΈΠ³Π°ΡΠ΅Π»Ρ ΡΡΠ΅ΠΊΠ»ΠΎΠΏΠΎΠ΄ΡΠ΅ΠΌΠ½ΠΈΠΊΠ° ΠΈ ΡΠ΅Π³ΡΠ»ΡΡΠΎΡ ΠΈΠ· Π΄Π²Π΅ΡΠΈ. ΠΠ°ΠΌ Π½ΡΠΆΠ½ΠΎ Π±ΡΠ΄Π΅Ρ ΠΏΡΠΎΠΏΡΡΡΠΈΡΡ ΠΆΠ³ΡΡ ΠΏΡΠΎΠ²ΠΎΠ΄ΠΎΠ², ΠΏΡΠΈΠΊΡΠ΅ΠΏΠ»Π΅Π½Π½ΡΠΉ ΠΊ ΡΡΠ΅ΠΊΠ»ΠΎΠΏΠΎΠ΄ΡΠ΅ΠΌΠ½ΠΈΠΊΡ, ΡΠ΅ΡΠ΅Π· Π΄Π²Π΅ΡΡ.
Π¨Π°Π³ 9: ΠΡΠΈΡΡΠΈΡΠ΅ ΠΆΠ³ΡΡ ΡΠ»Π΅ΠΊΡΡΠΎΠΏΡΠΈΠ²ΠΎΠ΄ΠΎΠΌ . Π£Π΄Π°Π»ΠΈΡΠ΅ Π²ΡΡ Π²Π»Π°Π³Ρ ΠΈ ΠΌΡΡΠΎΡ Ρ ΡΠ°Π·ΡΠ΅ΠΌΠ° Π΄Π»Ρ Π½Π°Π΄Π΅ΠΆΠ½ΠΎΠ³ΠΎ ΡΠΎΠ΅Π΄ΠΈΠ½Π΅Π½ΠΈΡ.
Π§Π°ΡΡΡ 2 ΠΈΠ· 2: Π£ΡΡΠ°Π½ΠΎΠ²ΠΊΠ° ΡΠ·Π»Π° Π΄Π²ΠΈΠ³Π°ΡΠ΅Π»Ρ / ΡΠ΅Π³ΡΠ»ΡΡΠΎΡ ΡΡΠ΅ΠΊΠ»ΠΎΠΏΠΎΠ΄ΡΠ΅ΠΌΠ½ΠΈΠΊΠ°
Π¨Π°Π³ 1: Π£ΡΡΠ°Π½ΠΎΠ²ΠΈΡΠ΅ Π½ΠΎΠ²ΡΠΉ Π±Π»ΠΎΠΊ Π΄Π²ΠΈΠ³Π°ΡΠ΅Π»Ρ ΠΈ ΡΠ΅Π³ΡΠ»ΡΡΠΎΡΠ° ΡΡΠ΅ΠΊΠ»ΠΎΠΏΠΎΠ΄ΡΠ΅ΠΌΠ½ΠΈΠΊΠ° Π² Π΄Π²Π΅ΡΡ . ΠΡΠΎΠΏΡΡΡΠΈΡΠ΅ ΠΎΠ±Π²ΡΠ·ΠΊΡ ΡΠ΅ΡΠ΅Π· Π΄Π²Π΅ΡΡ.Π£ΡΡΠ°Π½ΠΎΠ²ΠΈΡΠ΅ ΠΊΡΠ΅ΠΏΠ΅ΠΆΠ½ΡΠ΅ Π±ΠΎΠ»ΡΡ, ΡΡΠΎΠ±Ρ ΠΏΡΠΈΠΊΡΠ΅ΠΏΠΈΡΡ ΡΡΠ΅ΠΊΠ»ΠΎΠΏΠΎΠ΄ΡΠ΅ΠΌΠ½ΠΈΠΊ ΠΊ ΠΎΠΊΠ½Ρ.
Π¨Π°Π³ 2: ΠΡΠΈΠΊΡΠ΅ΠΏΠΈΡΠ΅ ΡΠ±ΠΎΡΠΊΡ ΠΊ ΠΎΠΊΠ½Ρ . Π‘Π½ΠΈΠΌΠΈΡΠ΅ ΠΌΠ°Π»ΡΡΠ½ΡΡ Π»Π΅Π½ΡΡ Ρ ΠΎΠΊΠ½Π°. ΠΠ΅Π΄Π»Π΅Π½Π½ΠΎ ΠΎΠΏΡΡΡΠΈΡΠ΅ ΡΡΠ΅ΠΊΠ»ΠΎΠΏΠΎΠ΄ΡΠ΅ΠΌΠ½ΠΈΠΊ ΠΈ ΡΡΠ΅ΠΊΠ»ΠΎΠΏΠΎΠ΄ΡΠ΅ΠΌΠ½ΠΈΠΊ Π² ΡΠ±ΠΎΡΠ΅. Π‘ΠΎΠ²ΠΌΠ΅ΡΡΠΈΡΠ΅ ΠΌΠΎΠ½ΡΠ°ΠΆΠ½ΠΎΠ΅ ΠΎΡΠ²Π΅ΡΡΡΠΈΠ΅ Ρ ΡΡΠ΅ΠΊΠ»ΠΎΠΏΠΎΠ΄ΡΠ΅ΠΌΠ½ΠΈΠΊΠΎΠΌ ΠΈ Π΄Π²Π΅ΡΠ½ΠΎΠΉ ΠΊΠΎΡΠΎΠ±ΠΊΠΎΠΉ.
Π¨Π°Π³ 3: Π£ΡΡΠ°Π½ΠΎΠ²ΠΈΡΠ΅ Π½Π° ΠΌΠ΅ΡΡΠΎ ΠΊΡΠ΅ΠΏΠ΅ΠΆΠ½ΡΠ΅ Π±ΠΎΠ»ΡΡ . Π£ΡΡΠ°Π½ΠΎΠ²ΠΈΡΠ΅ ΠΎΡ ΡΠ΅ΡΡΡΠ΅Ρ Π΄ΠΎ ΡΠ΅ΡΡΠΈ ΠΊΡΠ΅ΠΏΠ΅ΠΆΠ½ΡΡ Π±ΠΎΠ»ΡΠΎΠ², ΡΡΠΎΠ±Ρ ΠΏΡΠΈΠΊΡΠ΅ΠΏΠΈΡΡ ΡΡΠ΅ΠΊΠ»ΠΎΠΏΠΎΠ΄ΡΠ΅ΠΌΠ½ΠΈΠΊ Π² ΡΠ±ΠΎΡΠ΅ ΠΊ Π΄Π²Π΅ΡΠ½ΠΎΠΉ ΠΊΠΎΡΠΎΠ±ΠΊΠ΅.
- ΠΡΠΈΠΌΠ΅ΡΠ°Π½ΠΈΠ΅ : ΠΡΠ»ΠΈ Π²Π°ΠΌ ΠΏΡΠΈΡΠ»ΠΎΡΡ ΡΠ½ΡΡΡ Π΄ΠΈΠ½Π°ΠΌΠΈΠΊ Π² Π΄Π²Π΅ΡΡΠ΅, ΡΠ±Π΅Π΄ΠΈΡΠ΅ΡΡ, ΡΡΠΎ Π²Ρ ΡΡΡΠ°Π½ΠΎΠ²ΠΈΠ»ΠΈ Π΄ΠΈΠ½Π°ΠΌΠΈΠΊ ΠΈ ΠΏΠΎΠ²ΡΠΎΡΠ½ΠΎ ΠΏΡΠΈΠΊΡΠ΅ΠΏΠΈΠ»ΠΈ ΠΊ Π½Π΅ΠΌΡ Π²ΡΠ΅ ΠΏΡΠΎΠ²ΠΎΠ΄Π° ΠΈΠ»ΠΈ ΠΆΠ³ΡΡΡ.
Π¨Π°Π³ 4: Π£ΡΡΠ°Π½ΠΎΠ²ΠΈΡΠ΅ ΠΏΠ»Π°ΡΡΠΈΠΊΠΎΠ²ΠΎΠ΅ ΠΏΠΎΠΊΡΡΡΠΈΠ΅ ΠΎΠ±ΡΠ°ΡΠ½ΠΎ Π½Π° Π΄Π²Π΅ΡΡ . ΠΡΠ»ΠΈ ΠΏΠ»Π°ΡΡΠΈΠΊΠΎΠ²Π°Ρ ΠΊΡΡΡΠΊΠ° Π½Π΅ ΠΏΠ»ΠΎΡΠ½ΠΎ ΠΏΡΠΈΠ»Π΅Π³Π°Π΅Ρ ΠΊ Π΄Π²Π΅ΡΠΈ, ΠΌΠΎΠΆΠ½ΠΎ Π½Π°Π½Π΅ΡΡΠΈ Π½Π° Π½Π΅Π΅ Π½Π΅Π±ΠΎΠ»ΡΡΠΎΠΉ ΡΠ»ΠΎΠΉ ΠΏΡΠΎΠ·ΡΠ°ΡΠ½ΠΎΠ³ΠΎ ΡΠΈΠ»ΠΈΠΊΠΎΠ½Π°. ΠΡΠΎ Π±ΡΠ΄Π΅Ρ ΡΠ΄Π΅ΡΠΆΠΈΠ²Π°ΡΡ ΠΏΠ»Π°ΡΡΠΈΠΊ Π½Π° ΠΌΠ΅ΡΡΠ΅ ΠΈ Π½Π΅ ΠΏΡΠΎΠΏΡΡΠΊΠ°ΡΡ Π²Π»Π°Π³Ρ.
Π¨Π°Π³ 5: Π£ΡΡΠ°Π½ΠΎΠ²ΠΈΡΠ΅ Π΄Π²Π΅ΡΠ½ΡΡ ΠΏΠ°Π½Π΅Π»Ρ ΠΎΠ±ΡΠ°ΡΠ½ΠΎ Π½Π° Π΄Π²Π΅ΡΡ . Π£ΡΡΠ°Π½ΠΎΠ²ΠΈΡΠ΅ Π²ΡΠ΅ ΠΏΠ»Π°ΡΡΠΈΠΊΠΎΠ²ΡΠ΅ ΡΠΈΠΊΡΠ°ΡΠΎΡΡ Π΄Π²Π΅ΡΠ½ΠΎΠΉ ΠΏΠ°Π½Π΅Π»ΠΈ Π½Π° ΠΌΠ΅ΡΡΠΎ. ΠΠ°ΠΌΠ΅Π½ΠΈΡΠ΅ Π²ΡΠ΅ ΠΏΠ»Π°ΡΡΠΈΠΊΠΎΠ²ΡΠ΅ Π²ΠΊΠ»Π°Π΄ΠΊΠΈ, Π΅ΡΠ»ΠΈ ΠΎΠ½ΠΈ Π±ΡΠ»ΠΈ ΡΠ»ΠΎΠΌΠ°Π½Ρ.
Π¨Π°Π³ 6: ΠΡΠΈΡΠΎΠ΅Π΄ΠΈΠ½ΠΈΡΠ΅ ΠΆΠ³ΡΡ ΠΊ ΠΏΠ΅ΡΠ΅ΠΊΠ»ΡΡΠ°ΡΠ΅Π»Ρ ΡΡΠ΅ΠΊΠ»ΠΎΠΏΠΎΠ΄ΡΠ΅ΠΌΠ½ΠΈΠΊΠ° .Π£ΡΡΠ°Π½ΠΎΠ²ΠΈΡΠ΅ ΠΏΠ΅ΡΠ΅ΠΊΠ»ΡΡΠ°ΡΠ΅Π»Ρ ΡΡΠ΅ΠΊΠ»ΠΎΠΏΠΎΠ΄ΡΠ΅ΠΌΠ½ΠΈΠΊΠ° ΠΎΠ±ΡΠ°ΡΠ½ΠΎ Π½Π° Π΄Π²Π΅ΡΠ½ΡΡ ΠΏΠ°Π½Π΅Π»Ρ. ΠΠ²Π΅ΡΠ½ΠΈΡΠ΅ Π²ΠΈΠ½ΡΡ Π² ΠΏΠ΅ΡΠ΅ΠΊΠ»ΡΡΠ°ΡΠ΅Π»Ρ, ΡΡΠΎΠ±Ρ Π·Π°ΠΊΡΠ΅ΠΏΠΈΡΡ Π΅Π³ΠΎ Π½Π° Π΄Π²Π΅ΡΠ½ΠΎΠΉ ΠΏΠ°Π½Π΅Π»ΠΈ.
- ΠΡΠΈΠΌΠ΅ΡΠ°Π½ΠΈΠ΅ : ΠΡΠ»ΠΈ Π²ΡΠΊΠ»ΡΡΠ°ΡΠ΅Π»Ρ Π½Π΅ ΠΌΠΎΠΆΠ΅Ρ Π±ΡΡΡ ΡΠ½ΡΡ Ρ Π΄Π²Π΅ΡΠ½ΠΎΠΉ ΠΏΠ°Π½Π΅Π»ΠΈ, Π²Π°ΠΌ Π½ΡΠΆΠ½ΠΎ Π±ΡΠ΄Π΅Ρ ΠΏΡΠΈΠΊΡΠ΅ΠΏΠΈΡΡ ΠΆΠ³ΡΡ ΠΊ ΠΏΠ΅ΡΠ΅ΠΊΠ»ΡΡΠ°ΡΠ΅Π»Ρ ΠΏΡΠΈ ΡΡΡΠ°Π½ΠΎΠ²ΠΊΠ΅ Π΄Π²Π΅ΡΠ½ΠΎΠΉ ΠΏΠ°Π½Π΅Π»ΠΈ Π½Π° Π΄Π²Π΅ΡΡ.
Π¨Π°Π³ 7: ΠΠΎΠ΄ΠΊΠ»ΡΡΠΈΡΠ΅ Π°ΠΊΠΊΡΠΌΡΠ»ΡΡΠΎΡ . ΠΡΠΊΡΠΎΠΉΡΠ΅ ΠΊΠ°ΠΏΠΎΡ Π°Π²ΡΠΎΠΌΠΎΠ±ΠΈΠ»Ρ. Π‘Π½ΠΎΠ²Π° ΠΏΠΎΠ΄ΡΠΎΠ΅Π΄ΠΈΠ½ΠΈΡΠ΅ Π·Π°Π·Π΅ΠΌΠ»ΡΡΡΠΈΠΉ ΠΊΠ°Π±Π΅Π»Ρ ΠΊ ΠΎΡΡΠΈΡΠ°ΡΠ΅Π»ΡΠ½ΠΎΠΉ ΠΊΠ»Π΅ΠΌΠΌΠ΅ Π°ΠΊΠΊΡΠΌΡΠ»ΡΡΠΎΡΠ½ΠΎΠΉ Π±Π°ΡΠ°ΡΠ΅ΠΈ. Π‘Π½ΠΈΠΌΠΈΡΠ΅ Π΄Π΅Π²ΡΡΠΎΠ²ΠΎΠ»ΡΡΠΎΠ²ΡΠΉ Π°ΠΊΠΊΡΠΌΡΠ»ΡΡΠΎΡ Ρ ΠΏΡΠΈΠΊΡΡΠΈΠ²Π°ΡΠ΅Π»Ρ, Π΅ΡΠ»ΠΈ Π²Ρ Π΅Π³ΠΎ ΠΈΡΠΏΠΎΠ»ΡΠ·ΠΎΠ²Π°Π»ΠΈ.ΠΠ°ΡΡΠ½ΠΈΡΠ΅ Π·Π°ΠΆΠΈΠΌ Π°ΠΊΠΊΡΠΌΡΠ»ΡΡΠΎΡΠ°, ΡΡΠΎΠ±Ρ ΡΠ±Π΅Π΄ΠΈΡΡΡΡ, ΡΡΠΎ ΡΠΎΠ΅Π΄ΠΈΠ½Π΅Π½ΠΈΠ΅ Ρ ΠΎΡΠΎΡΠ΅Π΅.
- ΠΡΠΈΠΌΠ΅ΡΠ°Π½ΠΈΠ΅ : ΠΡΠ»ΠΈ Π²Ρ Π½Π΅ ΠΈΡΠΏΠΎΠ»ΡΠ·ΠΎΠ²Π°Π»ΠΈ Π΄Π΅Π²ΡΡΠΈΠ²ΠΎΠ»ΡΡΠΎΠ²ΡΡ Π±Π°ΡΠ°ΡΠ΅Ρ, Π²Π°ΠΌ ΠΏΡΠΈΠ΄Π΅ΡΡΡ ΡΠ±ΡΠΎΡΠΈΡΡ Π²ΡΠ΅ Π½Π°ΡΡΡΠΎΠΉΠΊΠΈ Π² Π²Π°ΡΠ΅ΠΌ Π°Π²ΡΠΎΠΌΠΎΠ±ΠΈΠ»Π΅, ΡΠ°ΠΊΠΈΠ΅ ΠΊΠ°ΠΊ ΡΠ°Π΄ΠΈΠΎ, ΡΠ»Π΅ΠΊΡΡΠΈΡΠ΅ΡΠΊΠΈΠ΅ ΡΠΈΠ΄Π΅Π½ΡΡ ΠΈ ΡΠ»Π΅ΠΊΡΡΠΈΡΠ΅ΡΠΊΠΈΠ΅ Π·Π΅ΡΠΊΠ°Π»Π°.
Π¨Π°Π³ 8: ΠΡΠΎΠ²Π΅ΡΡΡΠ΅ Π΄Π²ΠΈΠ³Π°ΡΠ΅Π»Ρ Π½ΠΎΠ²ΠΎΠ³ΠΎ ΡΡΠ΅ΠΊΠ»ΠΎΠΏΠΎΠ΄ΡΠ΅ΠΌΠ½ΠΈΠΊΠ° . ΠΠΎΠ²Π΅ΡΠ½ΠΈΡΠ΅ ΠΊΠ»ΡΡ Π² ΠΏΠΎΠ»ΠΎΠΆΠ΅Π½ΠΈΠ΅ Π΄Π»Ρ ΠΏΡΠΈΠ½Π°Π΄Π»Π΅ΠΆΠ½ΠΎΡΡΠ΅ΠΉ ΠΈΠ»ΠΈ ΡΠ°Π±ΠΎΡΡ. ΠΠΊΠ»ΡΡΠΈΡΠ΅ Π²ΡΠΊΠ»ΡΡΠ°ΡΠ΅Π»Ρ Π΄Π²Π΅ΡΠ½ΠΎΠ³ΠΎ ΠΎΠΊΠ½Π°. Π£Π±Π΅Π΄ΠΈΡΠ΅ΡΡ, ΡΡΠΎ ΠΎΠΊΠ½ΠΎ ΠΏΡΠ°Π²ΠΈΠ»ΡΠ½ΠΎ ΠΏΠΎΠ΄Π½ΠΈΠΌΠ°Π΅ΡΡΡ ΠΈ ΠΎΠΏΡΡΠΊΠ°Π΅ΡΡΡ.
ΠΡΠ»ΠΈ Π²Π°ΡΠ΅ ΠΎΠΊΠ½ΠΎ Π½Π΅ ΠΏΠΎΠ΄Π½ΠΈΠΌΠ°Π΅ΡΡΡ ΠΈΠ»ΠΈ Π½Π΅ ΠΎΠΏΡΡΠΊΠ°Π΅ΡΡΡ ΠΏΠΎΡΠ»Π΅ Π·Π°ΠΌΠ΅Π½Ρ ΡΠ·Π»Π° Π΄Π²ΠΈΠ³Π°ΡΠ΅Π»Ρ ΠΈ ΡΠ΅Π³ΡΠ»ΡΡΠΎΡΠ° ΡΡΠ΅ΠΊΠ»ΠΎΠΏΠΎΠ΄ΡΠ΅ΠΌΠ½ΠΈΠΊΠ°, ΡΠΎ ΠΌΠΎΠΆΠ΅Ρ ΠΏΠΎΡΡΠ΅Π±ΠΎΠ²Π°ΡΡΡΡ Π΄ΠΎΠΏΠΎΠ»Π½ΠΈΡΠ΅Π»ΡΠ½Π°Ρ ΠΏΡΠΎΠ²Π΅ΡΠΊΠ° ΡΠ·Π»Π° Π΄Π²ΠΈΠ³Π°ΡΠ΅Π»Ρ ΠΈ ΡΠ΅Π³ΡΠ»ΡΡΠΎΡΠ° ΡΡΠ΅ΠΊΠ»ΠΎΠΏΠΎΠ΄ΡΠ΅ΠΌΠ½ΠΈΠΊΠ° ΠΈΠ»ΠΈ ΠΏΡΠΎΠ²ΠΎΠ΄ΠΊΠΈ Π΄Π²Π΅ΡΠΈ.ΠΡΠ»ΠΈ ΠΏΡΠΎΠ±Π»Π΅ΠΌΠ° Π½Π΅ ΠΈΡΡΠ΅Π·Π½Π΅Ρ, ββΠ²Ρ ΠΌΠΎΠΆΠ΅ΡΠ΅ ΠΏΠΎΠ»ΡΡΠΈΡΡ ΠΏΠΎΠΌΠΎΡΡ ΠΎΡ ΠΎΠ΄Π½ΠΎΠ³ΠΎ ΠΈΠ· ΡΠ΅ΡΡΠΈΡΠΈΡΠΈΡΠΎΠ²Π°Π½Π½ΡΡ ΠΌΠ΅Ρ Π°Π½ΠΈΠΊΠΎΠ² Π² YourMechanic, ΠΊΠΎΡΠΎΡΡΠΉ ΠΌΠΎΠΆΠ΅Ρ Π·Π°ΠΌΠ΅Π½ΠΈΡΡ Π΄Π²ΠΈΠ³Π°ΡΠ΅Π»Ρ ΡΡΠ΅ΠΊΠ»ΠΎΠΏΠΎΠ΄ΡΠ΅ΠΌΠ½ΠΈΠΊΠ° ΠΈ ΡΠ΅Π³ΡΠ»ΡΡΠΎΡ Π² ΡΠ±ΠΎΡΠ΅ ΠΈ Π΄ΠΈΠ°Π³Π½ΠΎΡΡΠΈΡΠΎΠ²Π°ΡΡ Π»ΡΠ±ΡΠ΅ Π΄ΡΡΠ³ΠΈΠ΅ ΠΏΡΠΎΠ±Π»Π΅ΠΌΡ.
Π Π΅ΠΌΠΎΠ½Ρ ΠΈ Π·Π°ΠΌΠ΅Π½Π° ΡΡΠ΅ΠΊΠ»ΠΎΠΏΠΎΠ΄ΡΠ΅ΠΌΠ½ΠΈΠΊΠ° Π΄Π²Π΅ΡΠΈ Π°Π²ΡΠΎΠΌΠΎΠ±ΠΈΠ»Ρ Π² ΡΠΎΡ ΠΆΠ΅ Π΄Π΅Π½Ρ (866) 980-1341
ΠΠΎΡΠΈΠ½ΠΈ ΡΠ΅Π³ΠΎΠ΄Π½Ρ
Π Π΅ΠΌΠΎΠ½Ρ Π°Π²ΡΠΎΠΌΠ°ΡΠΈΡΠ΅ΡΠΊΠΎΠ³ΠΎ ΡΡΠ΅ΠΊΠ»ΠΎΠΏΠΎΠ΄ΡΠ΅ΠΌΠ½ΠΈΠΊΠ°Π§ΡΠΎ ΡΠ°ΠΊΠΎΠ΅ ΡΠ΅Π³ΡΠ»ΡΡΠΎΡ? Π‘ΡΠ΅ΠΊΠ»ΠΎΠΏΠΎΠ΄ΡΠ΅ΠΌΠ½ΠΈΠΊ Π²Π°ΡΠ΅Π³ΠΎ Π°Π²ΡΠΎΠΌΠΎΠ±ΠΈΠ»Ρ ΡΠ°ΡΠΏΠΎΠ»ΠΎΠΆΠ΅Π½ Π²Π½ΡΡΡΠΈ Π²Π°ΡΠ΅ΠΉ Π΄Π²Π΅ΡΠΈ ΠΈ ΠΏΡΠΈΠΊΡΠ΅ΠΏΠ»Π΅Π½ ΠΊ ΠΎΠΊΠ½Ρ ΠΈ Π΄Π²Π΅ΡΠ½ΠΎΠΉ ΠΏΠ°Π½Π΅Π»ΠΈ.Π Π΅Π³ΡΠ»ΡΡΠΎΡ ΡΠΎΡΡΠΎΠΈΡ ΠΈΠ· Π΄Π²ΡΡ Π΄ΠΎΡΠΎΠΆΠ΅ΠΊ, Π½Π΅Π±ΠΎΠ»ΡΡΠΎΠ³ΠΎ ΠΊΠ°Π±Π΅Π»Ρ ΠΈ Π½Π΅ΡΠΊΠΎΠ»ΡΠΊΠΈΡ Π±Π΅Π»ΡΡ ΠΏΠ»Π°ΡΡΠΈΠΊΠΎΠ²ΡΡ Π΄Π΅ΡΠ°Π»Π΅ΠΉ. ΠΠ΅Π»ΡΠ΅ ΠΊΡΡΠΎΡΠΊΠΈ ΠΏΠ»Π°ΡΡΠΈΠΊΠ° ΠΏΡΠΈΠΊΡΠ΅ΠΏΠ»Π΅Π½Ρ ΠΊ ΠΌΠ΅ΡΠ°Π»Π»ΠΈΡΠ΅ΡΠΊΠΈΠΌ Π΄ΠΎΡΠΎΠΆΠΊΠ°ΠΌ ΠΈ ΠΊΠ°Π±Π΅Π»Ρ. ΠΠ½ΡΡΡΠΈ Π±Π΅Π»ΡΡ ΠΊΡΡΠΎΡΠΊΠΎΠ² ΠΏΠ»Π°ΡΡΠΈΠΊΠ° Π½Π°Ρ ΠΎΠ΄ΠΈΡΡΡ Π΅ΡΠ΅ ΠΎΠ΄ΠΈΠ½ ΠΊΡΡΠΎΠΊ ΠΏΠ»Π°ΡΡΠΈΠΊΠ°, ΠΊ ΠΊΠΎΡΠΎΡΠΎΠΌΡ ΠΏΡΠΈΠΊΡΠ΅ΠΏΠ»ΡΡΡΡΡ ΠΊΠΎΠ½ΡΡ ΠΏΡΠΎΠ²ΠΎΠ΄ΠΎΠ², ΠΊΠΎΡΠΎΡΡΠ΅ Π²ΡΠ°ΡΠ°ΡΡΡΡ, Π½Π°ΠΌΠ°ΡΡΠ²Π°Ρ ΠΈ Π½Π°ΠΌΠ°ΡΡΠ²Π°Ρ ΠΊΠ°Π±Π΅Π»Ρ. ΠΡΠΎ Π΄Π²ΠΈΠΆΠ΅Π½ΠΈΠ΅ ΠΏΠ΅ΡΠ΅ΠΌΠ΅ΡΠ°Π΅Ρ ΠΎΠΊΠ½ΠΎ Π΄Π²Π΅ΡΠΈ Π°Π²ΡΠΎΠΌΠΎΠ±ΠΈΠ»Ρ Π²Π²Π΅ΡΡ ΠΈ Π²Π½ΠΈΠ·.
ΠΠ²ΡΠΎΠΌΠΎΠ±ΠΈΠ»ΠΈ Π±Π΅Π· ΡΠ»Π΅ΠΊΡΡΠΈΡΠ΅ΡΠΊΠΎΠ³ΠΎ ΡΡΠ΅ΠΊΠ»ΠΎΠΏΠΎΠ΄ΡΠ΅ΠΌΠ½ΠΈΠΊΠ° ΠΈΠΌΠ΅ΡΡ ΠΎΠΊΠΎΠ½Π½ΡΡ ΡΡΡΠΊΡ, ΠΊΠΎΡΠΎΡΠ°Ρ ΠΏΡΠΈΠΊΡΠ΅ΠΏΠ»Π΅Π½Π° ΠΊ ΡΡΠΊΠΎΡΡΠΊΠ΅ Π΄Π²Π΅ΡΠΈ, Π½Π° ΡΡΠΎΠΉ ΡΡΠΊΠΎΡΡΠΊΠ΅ Π΅ΡΡΡ Π·ΡΠ±ΡΡ, ΠΈ ΠΊΠΎΠ³Π΄Π° Π²Ρ ΠΏΠΎΠ²ΠΎΡΠ°ΡΠΈΠ²Π°Π΅ΡΠ΅ ΡΡΡΠΊΡ ΡΡΠ΅ΠΊΠ»ΠΎΠΏΠΎΠ΄ΡΠ΅ΠΌΠ½ΠΈΠΊΠ° Π°Π²ΡΠΎΠΌΠΎΠ±ΠΈΠ»Ρ, ΠΎΠ½Π° ΠΏΠΎΠ²ΠΎΡΠ°ΡΠΈΠ²Π°Π΅Ρ ΠΎΠΊΠ½ΠΎ Π²Π²Π΅ΡΡ
ΠΈ Π²Π½ΠΈΠ·.
ΠΡΠ΅ΠΌΡ ΠΎΡ Π²ΡΠ΅ΠΌΠ΅Π½ΠΈ ΠΌΠΎΠ³ΡΡ Π»Π΅Π³ΠΊΠΎ Π²ΠΎΠ·Π½ΠΈΠΊΠ½ΡΡΡ Π½Π΅ΡΠΊΠΎΠ»ΡΠΊΠΎ ΠΏΡΠΎΠ±Π»Π΅ΠΌ:
- ΠΠ΅Π»ΡΠ΅ ΠΊΡΡΠΎΡΠΊΠΈ ΠΏΠ»Π°ΡΡΠΈΠΊΠ° ΠΌΠΎΠ³ΡΡ ΠΈΠ·Π½Π°ΡΠΈΠ²Π°ΡΡΡΡ
- Π’ΠΎΠ½ΠΊΠΈΠΉ ΠΊΠ°Π±Π΅Π»Ρ ΠΌΠΎΠΆΠ΅Ρ ΠΏΠΎΡΠ²Π°ΡΡΡΡ
- ΠΠ°Π±Π΅Π»Ρ ΠΌΠΎΠΆΠ΅Ρ ΡΠΎΡΠΊΠΎΠ»ΡΠ·Π½ΡΡΡ Ρ ΡΠΎΠ»ΠΈΠΊΠΎΠ²
- Π‘Π°ΠΌ Π°Π²ΡΠΎΠΌΠΎΠ±ΠΈΠ»ΡΠ½ΡΠΉ ΡΠ΅Π³ΡΠ»ΡΡΠΎΡ ΠΌΠΎΠΆΠ΅Ρ ΡΠ»ΠΎΠΌΠ°ΡΡΡΡ
- ΠΠ°ΡΠ΅ ΠΎΠΊΠ½ΠΎ ΠΌΠΎΠΆΠ΅Ρ Π²ΡΡ ΠΎΠ΄ΠΈΡΡ ΠΈΠ· Π½Π°ΠΏΡΠ°Π²Π»ΡΡΡΠ΅ΠΉ
Π ΡΡΠΈΡ ΡΠ»ΡΡΠ°ΡΡ ΡΡΠ΅ΠΊΠ»ΠΎ Π΄Π²Π΅ΡΠΈ Π°Π²ΡΠΎΠΌΠΎΠ±ΠΈΠ»Ρ Π½Π΅ Π±ΡΠ΄Π΅Ρ Π΄Π²ΠΈΠ³Π°ΡΡΡΡ Π²Π²Π΅ΡΡ ΠΈ Π²Π½ΠΈΠ· ΠΏΡΠ°Π²ΠΈΠ»ΡΠ½ΠΎ.
ΠΠΎΠΊΡΡΡΠΈΠ΅ ΡΠ°Π·Π±ΠΈΡΠΎΠ³ΠΎ ΠΎΠΊΠ½Π° Π°Π²ΡΠΎ
ΠΡΠ»ΠΈ ΠΎΠΊΠ½ΠΎ Π°Π²ΡΠΎΠΌΠΎΠ±ΠΈΠ»Ρ Π½Π΅ ΠΏΠΎΠ΄Π½ΠΈΠΌΠ°Π΅ΡΡΡ, ΠΌΡ Π½Π°ΡΡΠΎΡΡΠ΅Π»ΡΠ½ΠΎ ΡΠ΅ΠΊΠΎΠΌΠ΅Π½Π΄ΡΠ΅ΠΌ Π²Π·ΡΡΡ ΠΊΡΡΠΎΠΊ ΠΏΠ»Π°ΡΡΠΈΠΊΠ° ΠΈ ΠΊΠ»Π΅ΠΉΠΊΡΡ Π»Π΅Π½ΡΡ, ΡΡΠΎΠ±Ρ Π·Π°ΠΊΡΡΡΡ ΠΎΠΊΠ½ΠΎ, ΠΏΠΎΠΊΠ° Π²Ρ Π½Π΅ ΠΏΠΎΡΠΈΠ½ΠΈΡΠ΅ Π΅Π³ΠΎ.ΠΡΠΎ ΠΏΡΠ΅Π΄ΠΎΡΠ²ΡΠ°ΡΠΈΡ ΠΏΠΎΠΏΠ°Π΄Π°Π½ΠΈΠ΅ Π²Π»Π°Π³ΠΈ ΠΈ Π³ΡΡΠ·ΠΈ Π² Π°Π²ΡΠΎΠΌΠΎΠ±ΠΈΠ»Ρ, ΡΡΠΎ ΠΌΠΎΠΆΠ΅Ρ ΠΏΡΠΈΠ²Π΅ΡΡΠΈ ΠΊ Π΅ΡΠ΅ Π±ΠΎΠ»ΡΡΠ΅ΠΌΡ ΠΏΠΎΠ²ΡΠ΅ΠΆΠ΄Π΅Π½ΠΈΡ Π²Π°ΡΠ΅Π³ΠΎ Π°Π²ΡΠΎΠΌΠΎΠ±ΠΈΠ»Ρ.
ΠΡ ΠΌΠΎΠΆΠ΅ΡΠ΅ ΠΈΡΠΏΠΎΠ»ΡΠ·ΠΎΠ²Π°ΡΡ ΠΏΠ»Π°ΡΡΠΈΠΊΠΎΠ²ΡΠΉ ΠΌΠ΅ΡΠΎΠΊ Π΄Π»Ρ ΠΌΡΡΠΎΡΠ° Π² Π·Π°Π²ΠΈΡΠΈΠΌΠΎΡΡΠΈ ΠΎΡ Π΅Π³ΠΎ ΡΠ°Π·ΠΌΠ΅ΡΠ°.
Π Π±ΠΎΠ»ΡΡΠΈΠ½ΡΡΠ²Π΅ ΡΠ»ΡΡΠ°Π΅Π² ΡΡΠ΅ΠΊΠ»ΠΎΠΏΠΎΠ΄ΡΠ΅ΠΌΠ½ΠΈΠΊ Π²Π°ΡΠ΅Π³ΠΎ Π°Π²ΡΠΎΠΌΠΎΠ±ΠΈΠ»Ρ ΠΌΠΎΠΆΠ½ΠΎ Π·Π°ΠΌΠ΅Π½ΠΈΡΡ ΠΈΠ»ΠΈ ΠΎΡΡΠ΅ΠΌΠΎΠ½ΡΠΈΡΠΎΠ²Π°ΡΡ Π² ΡΠ΅ΡΠ΅Π½ΠΈΠ΅ ΡΠ°ΡΠ°.
Π’ΠΎΡ ΠΆΠ΅ ΡΡΠ΅Π½Π°ΡΠΈΠΉ Π±ΡΠ΄Π΅Ρ ΡΠ°ΠΊΠΈΠΌ ΠΆΠ΅ Π½Π° Π²Π°ΡΠ΅ΠΉ Π²Ρ ΠΎΠ΄Π½ΠΎΠΉ Π΄Π²Π΅ΡΠΈ ΠΈΠ»ΠΈ Π΄Π²Π΅ΡΡΡ Π΄Π»Ρ ΡΡΠ΅Π½ΠΈΡ.
ΠΡΠΎ Π²ΡΠ΅Π³Π΄Π° Π²Π΅ΡΠΎΡΡΠ½ΠΎΡΡΡ ΡΠΎΠ³ΠΎ, ΡΡΠΎ ΡΠ°ΠΌΠΎ ΠΎΠΊΠ½ΠΎ Π°Π²ΡΠΎΠΌΠΎΠ±ΠΈΠ»Ρ ΠΌΠΎΠΆΠ΅Ρ Π±ΡΡΡ ΡΠ°Π·Π±ΠΈΡΠΎ, ΠΈ Π² ΡΡΠΎΠΌ ΡΠ»ΡΡΠ°Π΅ ΠΎΠΊΠ½ΠΎ Π°Π²ΡΠΎΠΌΠΎΠ±ΠΈΠ»Ρ Π½Π΅ΠΎΠ±Ρ ΠΎΠ΄ΠΈΠΌΠΎ Π·Π°ΠΌΠ΅Π½ΠΈΡΡ.
ΠΡΠ»ΠΈ Π²Π°ΠΌ Π½Π΅ΡΠ΄ΠΎΠ±Π½ΠΎ ΡΠΏΡΠ°Π²Π»ΡΡΡ Π°Π²ΡΠΎΠΌΠΎΠ±ΠΈΠ»Π΅ΠΌ, ΠΌΡ ΠΌΠΎΠΆΠ΅ΠΌ ΠΏΡΠΈΠ΅Ρ Π°ΡΡ ΠΊ Π²Π°ΠΌ Ρ Π½Π°ΡΠΈΠΌ ΠΌΠΎΠ±ΠΈΠ»ΡΠ½ΡΠΌ ΡΡΡΡΠΎΠΉΡΡΠ²ΠΎΠΌ.
ΠΠ°ΠΏΡΠΎΡ ΡΠ΅Π½Ρ
ΠΡΠ΅Π΄. Π’Π΅ΠΊΡΡΠΈΠΉ Π‘Π»Π΅Π΄ΡΡΡΠΈΠΉ
ΠΠΎΠ΄ Π² ΠΌΠ΅ΡΡΡ
Auto Glass Services ΠΠΎΡΡΡΠΏΠ½ΠΎΠ΅ Π°Π²ΡΠΎΠΌΠΎΠ±ΠΈΠ»ΡΠ½ΠΎΠ΅ ΡΡΠ΅ΠΊΠ»ΠΎ ΠΠ²ΡΠΎΠΌΠ°ΡΠΈΡΠ΅ΡΠΊΠ°Ρ Π·Π°ΠΌΠ΅Π½Π° Π»ΠΎΠ±ΠΎΠ²ΠΎΠ³ΠΎ ΡΡΠ΅ΠΊΠ»Π° Π Π΅ΠΌΠΎΠ½Ρ Π°Π²ΡΠΎΠΌΠΎΠ±ΠΈΠ»ΡΠ½ΡΡ ΡΡΠ΅ΠΊΠΎΠ» ΠΠ°ΠΌΠ΅Π½Π° ΠΎΠΊΠ½Π° Π΄Π²Π΅ΡΠΈ Π°Π²ΡΠΎΠΌΠΎΠ±ΠΈΠ»Ρ ΠΠ°ΠΌΠ΅Π½Π° Π°Π²ΡΠΎΡΡΠ΅ΠΊΠ»Π° ΠΠ°ΠΌΠ΅Π½Π° Π΄Π²ΠΈΠ³Π°ΡΠ΅Π»Ρ ΡΡΠ΅ΠΊΠ»ΠΎΠΏΠΎΠ΄ΡΠ΅ΠΌΠ½ΠΈΠΊΠ° Π΄Π²Π΅ΡΠΈ Π°Π²ΡΠΎΠΌΠΎΠ±ΠΈΠ»Ρ Π Π΅ΠΌΠΎΠ½Ρ Π°Π²ΡΠΎΠΌΠ°ΡΠΈΡΠ΅ΡΠΊΠΈΡ ΡΡΠ΅ΠΊΠ»ΠΎΠΏΠΎΠ΄ΡΠ΅ΠΌΠ½ΠΈΠΊΠΎΠ² ΠΠ°ΠΌΠ΅Π½Π° Π·Π°Π΄Π½Π΅Π³ΠΎ ΡΡΠ΅ΠΊΠ»Π° Π³ΡΡΠ·ΠΎΠ²ΠΈΠΊΠ° (ΡΠ»Π°ΠΉΠ΄Π΅Ρ) ΠΠ²ΡΠΎΡΠ΅ΠΌΠΎΠ½Ρ ΡΠΈΠΏΠ° Π»ΠΎΠ±ΠΎΠ²ΠΎΠ³ΠΎ ΡΡΠ΅ΠΊΠ»Π° ΠΠ°ΠΌΠ΅Π½Π° Π°Π²ΡΠΎ ΡΠ΅ΡΠ²Π΅ΡΡΡ ΡΡΠ΅ΠΊΠ»Π° ΠΠ°ΠΌΠ΅Π½Π° Ρ ΡΡΡΠ±Π΅ΠΊΠ° Π°Π²ΡΠΎΠΌΠΎΠ±ΠΈΠ»Ρ ΠΠ΅ΡΠΏΠ»Π°ΡΠ½Π°Ρ ΠΌΠΎΠ±ΠΈΠ»ΡΠ½Π°Ρ ΡΠ»ΡΠΆΠ±Π° Π Π±ΠΎΠ»ΡΡΠ΅!Π£ΡΡΠ°Π½ΠΎΠ²ΠΊΠ° ΡΡΠ΅ΠΊΠ»ΠΎΠΏΠΎΠ΄ΡΠ΅ΠΌΠ½ΠΈΠΊΠΎΠ² ΡΠ²ΠΎΠΈΠΌΠΈ ΡΡΠΊΠ°ΠΌΠΈ.Π‘Ρ Π΅ΠΌΠ° ΠΏΠΎΠ΄ΠΊΠ»ΡΡΠ΅Π½ΠΈΡ ΠΈ ΡΠ°ΡΠΏΠΈΠ½ΠΎΠ²ΠΊΠ° ΠΊΠ½ΠΎΠΏΠΊΠΈ ΡΡΠ΅ΠΊΠ»ΠΎΠΏΠΎΠ΄ΡΠ΅ΠΌΠ½ΠΈΠΊΠ° ΠΠΠ ΠΠ°ΡΠ°Π»Π»Π΅Π»ΡΠ½ΠΎΠ΅ ΠΏΠΎΠ΄ΠΊΠ»ΡΡΠ΅Π½ΠΈΠ΅
ΠΠ»Π΅ΠΊΡΡΠΎΡΡΠ΅ΠΊΠ»ΠΎΠΏΠΎΠ΄ΡΠ΅ΠΌΠ½ΠΈΠΊ ΠΠΠ-2110 ΡΡΡΠ΅ΡΡΠ²Π΅Π½Π½ΠΎ ΠΏΠΎΠ²ΡΡΠΈΡ ΡΡΠ΅ΠΏΠ΅Π½Ρ ΠΊΠΎΠΌΡΠΎΡΡΠ° Π² Π°Π²ΡΠΎΠΌΠΎΠ±ΠΈΠ»Π΅. ΠΠΎ Ρ Π»ΡΠ±ΠΎΠΉ ΠΌΠΎΠ΄Π΅Π»ΠΈ ΡΡΡΡΠΎΠΉΡΡΠ² Π΅ΡΡΡ Π½Π΅ΠΈΡΠΏΡΠ°Π²Π½ΠΎΡΡΠΈ, ΠΈΠ½ΠΎΠ³Π΄Π° Π·Π°ΠΊΠ»ΠΈΠ½ΠΈΠ²Π°Π΅Ρ ΡΡΠ΅ΠΊΠ»ΠΎ Π΄Π²Π΅ΡΠΈ — Π½Π΅ ΠΎΡΠΊΡΡΠ²Π°Π΅ΡΡΡ ΠΈ Π½Π΅ Π·Π°ΠΊΡΡΠ²Π°Π΅ΡΡΡ. Π ΡΡΠΎΠΌ ΡΠ»ΡΡΠ°Π΅, ΠΊΠ°ΠΊ ΠΏΡΠ°Π²ΠΈΠ»ΠΎ, Π½Π΅ΠΎΠ±Ρ ΠΎΠ΄ΠΈΠΌΠΎ ΠΌΠ΅Π½ΡΡΡ Π²Π΅ΡΡ ΠΌΠ΅Ρ Π°Π½ΠΈΠ·ΠΌ. Π Π½Π΅ΠΊΠΎΡΠΎΡΡΡ ΡΠ»ΡΡΠ°ΡΡ ΠΌΠΎΠΆΠ½ΠΎ ΡΠ°ΠΌΠΎΡΡΠΎΡΡΠ΅Π»ΡΠ½ΠΎ ΠΎΡΡΠ΅ΠΌΠΎΠ½ΡΠΈΡΠΎΠ²Π°ΡΡ ΠΌΠ΅Ρ Π°Π½ΠΈΠ·ΠΌ. ΠΠ½ΠΎΠ³Π΄Π° Π·Π°Π΅Π΄Π°Π½ΠΈΠ΅ ΠΏΡΠΎΠΈΡΡ ΠΎΠ΄ΠΈΡ ΠΈΠ·-Π·Π° Π½Π΅Π΄ΠΎΡΡΠ°ΡΠΎΡΠ½ΠΎΠΉ ΡΠΌΠ°Π·ΠΊΠΈ. Π ΡΡΠΎΠΌ ΡΠ»ΡΡΠ°Π΅ Π²Π°ΠΌ ΠΏΡΠΎΡΡΠΎ Π½ΡΠΆΠ½ΠΎ ΠΎΡΠΈΡΡΠΈΡΡ Π΅Π³ΠΎ ΠΎΡ Π³ΡΡΠ·ΠΈ, Π° Π·Π°ΡΠ΅ΠΌ Π½Π°Π½Π΅ΡΡΠΈ Π½ΠΎΠ²ΡΡ ΡΠΌΠ°Π·ΠΊΡ.
ΠΠ»Π΅ΠΊΡΡΠΎΡΡΠ΅ΠΊΠ»ΠΎΠΏΠΎΠ΄ΡΠ΅ΠΌΠ½ΠΈΠΊΠΈ Π½Π° «Π΄Π΅ΡΡΡΠΊΠΈ»
ΠΠΎΠ³Π΄Π° Π½Π°ΡΠ°Π»ΠΈ Π²ΡΠΏΡΡΠΊΠ°ΡΡ Π°Π²ΡΠΎΠΌΠΎΠ±ΠΈΠ»ΠΈ ΠΠΠ-2110, Π² ΠΊΠΎΠΌΠΏΠ»Π΅ΠΊΡΠ°ΡΠΈΠΈ ΡΠ»Π΅ΠΊΡΡΠΎΡΡΠ΅ΠΊΠ»ΠΎΠΏΠΎΠ΄ΡΠ΅ΠΌΠ½ΠΈΠΊΠΈ ΠΎΡΡΡΡΡΡΠ²ΠΎΠ²Π°Π»ΠΈ. ΠΡ ΡΡΡΠ°Π½Π°Π²Π»ΠΈΠ²Π°Π»ΠΈ ΠΎΡΠ΅Π½Ρ ΡΠ΅Π΄ΠΊΠΎ, Π² ΠΎΡΠ½ΠΎΠ²Π½ΠΎΠΌ ΠΏΠΎ ΠΆΠ΅Π»Π°Π½ΠΈΡ ΠΏΠΎΠΊΡΠΏΠ°ΡΠ΅Π»Ρ ΡΠΆΠ΅ Π½Π΅ΠΏΠΎΡΡΠ΅Π΄ΡΡΠ²Π΅Π½Π½ΠΎ Π² Π°Π²ΡΠΎΡΠ°Π»ΠΎΠ½Π΅. ΠΠΎΠ»ΡΡΠΈΠ½ΡΡΠ²ΠΎ Π°Π²ΡΠΎΠ»ΡΠ±ΠΈΡΠ΅Π»Π΅ΠΉ ΡΡΠ°ΡΠ°ΡΡΡΡ ΡΡΠΊΠΎΠ½ΠΎΠΌΠΈΡΡ Π½Π° ΡΠ΅ΠΌΠΎΠ½ΡΠ΅, ΠΏΠΎΡΡΠΎΠΌΡ Π²ΠΌΠ΅ΡΡΠΎ ΡΠΎΠ³ΠΎ, ΡΡΠΎΠ±Ρ ΠΎΠ±ΡΠ°ΡΠ°ΡΡΡΡ Π² ΡΠΏΠ΅ΡΠΈΠ°Π»ΠΈΠ·ΠΈΡΠΎΠ²Π°Π½Π½ΡΠ΅ ΡΠ΅Π½ΡΡΡ ΠΏΠΎ ΡΠ΅ΠΌΠΎΠ½ΡΡ Π°Π²ΡΠΎΠΌΠΎΠ±ΠΈΠ»Π΅ΠΉ, ΠΎΠ±ΡΠ»ΡΠΆΠΈΠ²Π°Π½ΠΈΠ΅ ΠΏΡΠΎΠ²ΠΎΠ΄ΠΈΡΡΡ ΡΠ°ΠΌΠΎΡΡΠΎΡΡΠ΅Π»ΡΠ½ΠΎ.
ΠΠ° ΡΠ΅Π³ΠΎΠ΄Π½ΡΡΠ½ΠΈΠΉ Π΄Π΅Π½Ρ Π² ΠΌΠ°Π³Π°Π·ΠΈΠ½Π°Ρ ΠΎΡΠ΅Π½Ρ ΠΌΠ½ΠΎΠ³ΠΎ ΠΊΠΎΠΌΠΏΠ»Π΅ΠΊΡΠΎΠ² Π΄Π»Ρ ΡΡΡΠ°Π½ΠΎΠ²ΠΊΠΈ ΡΡΠ΅ΠΊΠ»ΠΎΠΏΠΎΠ΄ΡΠ΅ΠΌΠ½ΠΈΠΊΠΎΠ² Π½Π° Π°Π²ΡΠΎΠΌΠΎΠ±ΠΈΠ»Ρ ΠΠΠ.Π‘Π°ΠΌΡΠΉ ΠΏΡΠΎΡΡΠΎΠΉ ΠΈ Π΄Π΅ΡΠ΅Π²ΡΠΉ ΠΊΠΎΠΌΠΏΠ»Π΅ΠΊΡ Π²ΠΊΠ»ΡΡΠ°Π΅Ρ ΡΠΎΠ»ΡΠΊΠΎ ΡΠ»Π΅ΠΊΡΡΠΎΠ΄Π²ΠΈΠ³Π°ΡΠ΅Π»Ρ Ρ ΠΊΠΎΡΠΎΠ±ΠΊΠΎΠΉ ΠΏΠ΅ΡΠ΅Π΄Π°Ρ. Π’Π°ΠΊΠΈΠΌ ΠΊΠΎΠΌΠΏΠ»Π΅ΠΊΡΠΎΠΌ ΠΌΠΎΠΆΠ½ΠΎ Π·Π°ΠΌΠ΅Π½ΠΈΡΡ ΡΠ»Π΅ΠΊΡΡΠΈΡΠ΅ΡΠΊΠΈΠΉ ΡΡΠ΅ΠΊΠ»ΠΎΠΏΠΎΠ΄ΡΠ΅ΠΌΠ½ΠΈΠΊ ΠΠΠ-2110, Π½ΠΎ Π»ΡΡΡΠ΅ ΠΏΡΠΈΠΎΠ±ΡΠ΅ΡΠ°ΡΡ ΠΊΠΎΠΌΠΏΠ»Π΅ΠΊΡΡ.
ΠΡΠ±ΠΎΡ ΡΡΠ΅ΠΊΠ»ΠΎΠΏΠΎΠ΄ΡΠ΅ΠΌΠ½ΠΈΠΊΠΎΠ²
ΠΠ΅ΡΠ΅Π΄ ΡΡΡΠ°Π½ΠΎΠ²ΠΊΠΎΠΉ Π½ΠΎΠ²ΡΡ ΠΌΠ΅Ρ Π°Π½ΠΈΠ·ΠΌΠΎΠ² ΡΠ·Π½Π°ΠΉΡΠ΅, ΠΊΠ°ΠΊΠΈΠ΅ ΠΈΠΌΠ΅Π½Π½ΠΎ ΡΠΈΠΏΡ ΠΈ ΠΌΠ°ΡΠΊΠΈ ΡΠ΅ΠΊΠΎΠΌΠ΅Π½Π΄ΡΡΡ ΠΎΠΏΡΡΠ½ΡΠ΅ Π°Π²ΡΠΎΠΌΠ΅Ρ Π°Π½ΠΈΠΊΠΈ. ΠΠ° ΠΏΠΎΠ»ΠΊΠ°Ρ Π°Π²ΡΠΎΠΌΠΎΠ±ΠΈΠ»ΡΠ½ΡΡ ΠΌΠ°Π³Π°Π·ΠΈΠ½ΠΎΠ² ΠΌΠΎΠΆΠ½ΠΎ Π½Π°ΠΉΡΠΈ ΡΡΡΡΠΎΠΉΡΡΠ²Π° ΡΠΈΡΠΌ Β«ΠΠ΅ΡΠΊΡΡΒ» ΠΈ Β«ΠΡΠ°Π½Π°ΡΒ». ΠΡΠΎ ΡΠ°ΠΌΡΠ΅ ΠΏΠΎΠΏΡΠ»ΡΡΠ½ΡΠ΅ ΠΌΠ΅Ρ Π°Π½ΠΈΠ·ΠΌΡ, ΡΠ°ΠΊ ΠΊΠ°ΠΊ ΠΎΠ½ΠΈ ΠΈΠΌΠ΅ΡΡ Π΄ΠΎΠ²ΠΎΠ»ΡΠ½ΠΎ Π½ΠΈΠ·ΠΊΡΡ ΡΡΠΎΠΈΠΌΠΎΡΡΡ, Π½ΠΎ ΠΏΡΠΈ ΡΡΠΎΠΌ Π²ΡΡΠΎΠΊΡΡ Π½Π°Π΄Π΅ΠΆΠ½ΠΎΡΡΡ.ΠΠ»Π΅ΠΊΡΡΠΎΡΡΠ΅ΠΊΠ»ΠΎΠΏΠΎΠ΄ΡΠ΅ΠΌΠ½ΠΈΠΊΠΈ Π±ΡΠ²Π°ΡΡ ΡΡΠ΅Ρ ΡΠΈΠΏΠΎΠ²:
- ΠΡΠ΅Π½Ρ Π²ΡΡΠΎΠΊΡΡ ΡΠΊΠΎΡΠΎΡΡΡ Π΄Π²ΠΈΠΆΠ΅Π½ΠΈΡ ΡΡΠ΅ΠΊΠ»Π° ΠΎΠ±Π΅ΡΠΏΠ΅ΡΠΈΠ²Π°ΡΡ ΠΎΡΠΊΠΈΠ΄Π½ΠΎ-ΡΡΡΠ°ΠΆΠ½ΡΠ΅ ΠΎΠΊΠ½Π°. ΠΠΎ Ρ Π½ΠΈΡ ΡΠ°ΠΌΠ°Ρ Π±ΠΎΠ»ΡΡΠ°Ρ ΡΡΠΎΠΈΠΌΠΎΡΡΡ — ΠΊΠΎΠΌΠΏΠ»Π΅ΠΊΡ Π²Ρ ΠΎΠ΄Π½ΠΎΠΉ Π΄Π²Π΅ΡΠΈ ΠΈΠΌΠ΅Π΅Ρ ΡΠ΅Π½Ρ 2500 ΡΡΠ±. ΠΠΎ ΠΊΠ°ΡΠ΅ΡΡΠ²ΠΎ ΠΈΠ·Π³ΠΎΡΠΎΠ²Π»Π΅Π½ΠΈΡ ΠΈ ΡΠ΅ΡΡΡΡ ΠΎΡΠ΅Π½Ρ Π²ΡΡΠΎΠΊΠΈΠ΅. Π¨ΡΠΌΠ° ΠΏΡΠΈ ΡΠ°Π±ΠΎΡΠ΅ ΠΌΠ΅Ρ Π°Π½ΠΈΠ·ΠΌΠ° ΠΏΡΠ°ΠΊΡΠΈΡΠ΅ΡΠΊΠΈ Π½Π΅Ρ. Π Π°Π·Π±ΠΈΡΡ ΡΡΠΎ ΡΡΡΡΠΎΠΉΡΡΠ²ΠΎ ΠΎΡΠ΅Π½Ρ ΡΠ»ΠΎΠΆΠ½ΠΎ, Π΄Π°ΠΆΠ΅ Π΅ΡΠ»ΠΈ ΡΡΠ΅ΠΊΠ»ΠΎ Π·Π°ΠΌΠ΅ΡΠ·Π½Π΅Ρ, ββΡΠ»Π΅ΠΊΡΡΠΎΠ΄Π²ΠΈΠ³Π°ΡΠ΅Π»Ρ ΠΈ ΠΌΠ΅Ρ Π°Π½ΠΈΠ·ΠΌ Π½Π΅ Π²ΡΠΉΠ΄ΡΡ ΠΈΠ· ΡΡΡΠΎΡ.
- Π Π΅Π΅ΡΠ½ΡΠ΅ ΠΎΠΊΠ½Π° Π½Π΅ ΠΎΡΠ»ΠΈΡΠ°ΡΡΡΡ Ρ ΠΎΡΠΎΡΠΈΠΌ ΠΊΠ°ΡΠ΅ΡΡΠ²ΠΎΠΌ… ΠΡΠ»ΠΈ ΡΡΠ΅ΠΊΠ»ΠΎ Π·Π°ΠΌΠ΅ΡΠ·Π½Π΅Ρ, ββΡΠ°ΡΡΡ ΠΏΡΠΈΠ²ΠΎΠ΄Π° ΠΌΠΎΠΆΠ΅Ρ ΡΠ»ΠΎΠΌΠ°ΡΡΡΡ ΠΈΠ»ΠΈ Π΄Π²ΠΈΠ³Π°ΡΠ΅Π»Ρ ΠΌΠΎΠΆΠ΅Ρ Π²ΡΠΉΡΠΈ ΠΈΠ· ΡΡΡΠΎΡ. Π§ΡΠΎΠ±Ρ ΠΎΠ±Π΅ΡΠΏΠ΅ΡΠΈΡΡ Ρ ΠΎΡΠΎΡΡΡ ΡΠ°Π±ΠΎΡΡ Π²ΡΠ΅Π³ΠΎ ΠΌΠ΅Ρ Π°Π½ΠΈΠ·ΠΌΠ°, Π΅Π³ΠΎ Π½ΡΠΆΠ½ΠΎ ΠΎΡΠ΅Π½Ρ ΡΠ°ΡΡΠΎ ΡΠΌΠ°Π·ΡΠ²Π°ΡΡ.
- Π‘ΡΠ΅ΠΊΠ»ΠΎΠΏΠΎΠ΄ΡΠ΅ΠΌΠ½ΠΈΠΊ ΠΊΠ°Π±Π΅Π»ΡΠ½ΠΎΠ³ΠΎ ΡΠΈΠΏΠ° ΡΠ°ΠΌΡΠΉ Π±ΡΠ΄ΠΆΠ΅ΡΠ½ΡΠΉ ΠΈΠ· Π²ΡΠ΅Ρ . Π‘ΠΊΠΎΡΠΎΡΡΡ Π΄Π²ΠΈΠΆΠ΅Π½ΠΈΡ ΡΡΠ΅ΠΊΠ»Π° ΠΎΡΠ΅Π½Ρ ΠΌΠ°Π»Π°, ΠΏΡΠΈ Π·Π°ΠΌΠ΅ΡΠ·Π°Π½ΠΈΠΈ ΡΡΠΎΡΠ° ΡΡΠΎΡ ΠΌΠΎΠΆΠ΅Ρ ΡΠ»ΠΎΠΌΠ°ΡΡΡΡ, ΠΌΠΎΠΆΠ½ΠΎ ΠΏΠΎΠ²ΡΠ΅Π΄ΠΈΡΡ Π΄Π²ΠΈΠ³Π°ΡΠ΅Π»Ρ. ΠΠΎ Π΅ΡΠ»ΠΈ ΡΠ°ΠΊΠΎΠΉ ΡΠ»Π΅ΠΊΡΡΠΈΡΠ΅ΡΠΊΠΈΠΉ ΡΡΠ΅ΠΊΠ»ΠΎΠΏΠΎΠ΄ΡΠ΅ΠΌΠ½ΠΈΠΊ ΠΠΠ-2110 Π½Π΅ ΡΠ°Π±ΠΎΡΠ°Π΅Ρ, ΡΠ΅ΠΌΠΎΠ½ΡΠΈΡΠΎΠ²Π°ΡΡ Π΅Π³ΠΎ Π½Π΅ ΡΡΠΎΠΈΡ, ΠΏΡΠΎΡΠ΅ ΠΊΡΠΏΠΈΡΡ Π½ΠΎΠ²ΡΠΉ.
ΠΠ° ΡΡΠΎ ΠΎΠ±ΡΠ°ΡΠ°ΡΡ Π²Π½ΠΈΠΌΠ°Π½ΠΈΠ΅ ΠΏΡΠΈ ΠΏΠΎΠΊΡΠΏΠΊΠ΅
ΠΠΎΠ½Π΅ΡΠ½ΠΎ, 20 Π»Π΅Ρ Π½Π°Π·Π°Π΄ ΡΠ°ΠΊΠΎΠΉ ΡΠΈΠΏ ΡΠ»Π΅ΠΊΡΡΠΎΡΡΠ΅ΠΊΠ»ΠΎΠΏΠΎΠ΄ΡΠ΅ΠΌΠ½ΠΈΠΊΠΎΠ² ΠΠΠ-2110 Π±ΡΠ» ΠΏΡΠ΅Π΄Π΅Π»ΠΎΠΌ ΠΌΠ΅ΡΡΠ°Π½ΠΈΠΉ Π»ΡΠ±ΠΎΠ³ΠΎ Π°Π²ΡΠΎΠΌΠΎΠ±ΠΈΠ»ΠΈΡΡΠ°.ΠΠΎ ΡΠ΅Π³ΠΎΠ΄Π½Ρ, ΠΊΠΎΠ³Π΄Π° Π½Π° ΠΏΡΠΈΠ»Π°Π²ΠΊΠ°Ρ ΠΌΠ°Π³Π°Π·ΠΈΠ½ΠΎΠ² ΠΌΠΎΠΆΠ½ΠΎ Π½Π°ΠΉΡΠΈ Π³ΠΎΡΠ°Π·Π΄ΠΎ Π±ΠΎΠ»Π΅Π΅ ΡΠΎΠ²Π΅ΡΡΠ΅Π½Π½ΡΠ΅ ΠΌΠ΅Ρ Π°Π½ΠΈΠ·ΠΌΡ Π·Π° Π΄ΠΎΠ²ΠΎΠ»ΡΠ½ΠΎ ΡΠΊΡΠΎΠΌΠ½ΡΠ΅ ΡΡΠ΅Π΄ΡΡΠ²Π°, Π½Π΅ ΡΡΠΎΠΈΡ ΠΎΡΠ΄Π°Π²Π°ΡΡ ΠΏΡΠ΅Π΄ΠΏΠΎΡΡΠ΅Π½ΠΈΠ΅ ΠΊΠ°Π±Π΅Π»ΡΠ½ΡΠΌ ΠΎΠΊΠ½Π°ΠΌ. ΠΠ΅Π²ΠΎΠ·ΠΌΠΎΠΆΠ½ΠΎ Π΄Π°ΠΆΠ΅ ΠΏΡΠ΅Π΄ΡΡΠ°Π²ΠΈΡΡ, ΡΠΊΠΎΠ»ΡΠΊΠΎ ΡΡΠΎΠΈΠ» ΠΠΠ-2110 Π² ΡΠ°ΠΊΠΎΠΉ ΠΊΠΎΠΌΠΏΠ»Π΅ΠΊΡΠ°ΡΠΈΠΈ Π² ΠΊΠΎΠ½ΡΠ΅ 90-Ρ Π³ΠΎΠ΄ΠΎΠ². ΠΠΎΠΆΠ°Π»ΡΠΉ, ΡΡΠΎ Π±ΡΠ»Π° ΠΏΠ΅ΡΠ²Π°Ρ ΠΌΠ°ΡΠΈΠ½Π° ΠΏΠΎΡΠ»Π΅ Π·Π½Π°ΠΌΠ΅Π½ΠΈΡΡΡ 600-Ρ Β«ΠΠ΅ΡΡΠ΅Π΄Π΅ΡΠΎΠ²Β».
ΠΡΠΈ ΠΏΠΎΠΊΡΠΏΠΊΠ΅ Π½ΡΠΆΠ½ΠΎ ΠΎΠ±ΡΠ°ΡΠΈΡΡ Π²Π½ΠΈΠΌΠ°Π½ΠΈΠ΅ Π½Π° ΠΊΠΎΠΌΠΏΠ»Π΅ΠΊΡΠ°ΡΠΈΡ ΡΡΠ΅ΠΊΠ»ΠΎΠΏΠΎΠ΄ΡΠ΅ΠΌΠ½ΠΈΠΊΠΎΠ². ΠΠ΅Π»Π°ΡΠ΅Π»ΡΠ½ΠΎ ΠΏΡΠΈΠΎΠ±ΡΠ΅ΡΠ°ΡΡ ΡΠ΅, Ρ ΠΊΠΎΡΠΎΡΡΡ Π΅ΡΡΡ ΡΠ»Π΅ΠΊΡΡΠΎΠ΄Π²ΠΈΠ³Π°ΡΠ΅Π»ΠΈ, Π²ΡΡ ΠΏΡΠΎΠ²ΠΎΠ΄ΠΊΠ°, ΠΊΠ½ΠΎΠΏΠΊΠΈ, Π·Π°Π³Π»ΡΡΠΊΠΈ, Π·Π°ΡΡΠ΅ΠΆΠΊΠΈ, ΠΌΠ°Π½ΠΆΠ΅ΡΡ ΡΠ΅Π·ΠΈΠ½ΠΎΠ²ΡΠ΅.Π‘ ΠΏΠΎΠΌΠΎΡΡΡ ΠΌΠ°Π½ΠΆΠ΅Ρ ΠΏΡΠΎΡΡΠ³ΠΈΠ²Π°Π΅ΡΡΡ ΡΠ»Π΅ΠΊΡΡΠΎΠΏΡΠΎΠ²ΠΎΠ΄ΠΊΠ° ΠΎΡ Π΄Π²Π΅ΡΠ΅ΠΉ ΠΊ ΡΡΠΎΠΉΠΊΠ°ΠΌ ΠΊΡΠ·ΠΎΠ²Π°.
ΠΠΎΠ΄Π³ΠΎΡΠΎΠ²ΠΊΠ° ΠΊ ΡΡΡΠ°Π½ΠΎΠ²ΠΊΠ΅ ΡΠ»Π΅ΠΊΡΡΠΎΡΡΠ΅ΠΊΠ»ΠΎΠΏΠΎΠ΄ΡΠ΅ΠΌΠ½ΠΈΠΊΠΎΠ²
ΠΠ΅ΡΠ΅Π΄ Π½Π°ΡΠ°Π»ΠΎΠΌ ΡΠ°Π±ΠΎΡ Π½Π΅ΠΎΠ±Ρ ΠΎΠ΄ΠΈΠΌΠΎ ΠΏΡΠΈΠΎΠ±ΡΠ΅ΡΡΠΈ Π²ΡΠ΅ ΡΠ»Π΅ΠΌΠ΅Π½ΡΡ Π΄Π»Ρ ΡΠ΅ΠΌΠΎΠ½ΡΠ°. ΠΠ±ΡΠ·Π°ΡΠ΅Π»ΡΠ½ΠΎ ΠΎΡΠΊΠ»ΡΡΠΈΡΠ΅ ΠΎΡΡΠΈΡΠ°ΡΠ΅Π»ΡΠ½ΡΡ ΠΊΠ»Π΅ΠΌΠΌΡ ΠΎΡ Π°ΠΊΠΊΡΠΌΡΠ»ΡΡΠΎΡΠ½ΠΎΠΉ Π±Π°ΡΠ°ΡΠ΅ΠΈ Π²ΠΎ Π²ΡΠ΅ΠΌΡ ΡΠ°Π±ΠΎΡΡ. ΠΡΠ»ΠΈ ΡΡΠΎ Π½Π΅Π²ΠΎΠ·ΠΌΠΎΠΆΠ½ΠΎ ΡΠ΄Π΅Π»Π°ΡΡ ΠΏΠΎ ΠΊΠ°ΠΊΠΈΠΌ-Π»ΠΈΠ±ΠΎ ΠΏΡΠΈΡΠΈΠ½Π°ΠΌ, ΡΠΎ ΡΠ½ΠΈΠΌΠΈΡΠ΅ ΠΏΡΠ΅Π΄ΠΎΡ ΡΠ°Π½ΠΈΡΠ΅Π»ΠΈ ΠΠΠ-2110, ΠΏΠΈΡΠ°ΡΡΠΈΠ΅ ΠΏΠ°Π½Π΅Π»Ρ ΠΏΡΠΈΠ±ΠΎΡΠΎΠ², ΠΏΠΎΠ΄ΡΠ²Π΅ΡΠΊΡ, ΠΊΠ½ΠΎΠΏΠΊΠΈ ΡΠΏΡΠ°Π²Π»Π΅Π½ΠΈΡ, Π°Π²ΡΠΎΠΌΠΎΠ±ΠΈΠ»ΡΠ½ΡΠΉ ΠΏΡΠΈΠΊΡΡΠΈΠ²Π°ΡΠ΅Π»Ρ.
ΠΠ±ΡΠ·Π°ΡΠ΅Π»ΡΠ½ΠΎ ΠΏΠΎΠ²ΡΠ΅Π΄ΠΈΡΠ΅ Π½Π΅ΠΊΠΎΡΠΎΡΡΠ΅ Π·Π°ΠΆΠΈΠΌΡ ΠΏΡΠΈ ΡΠ½ΡΡΠΈΠΈ ΠΎΠ±Π»ΠΈΡΠΎΠ²ΠΊΠΈ ΠΏΠ΅ΡΠ΅Π΄Π½Π΅ΠΉ Π΄Π²Π΅ΡΠΈ.Π’Π°ΠΊ ΡΡΠΎ ΠΊΡΠΏΠΈΡΠ΅ ΠΏΠ°ΡΡ Π΄Π΅ΡΡΡΠΊΠΎΠ² ΡΡΠΈΡ ΠΏΠ»Π°ΡΡΠΈΠΊΠΎΠ²ΡΡ Π΄Π΅ΡΠ°Π»Π΅ΠΉ ΠΏΡΠΎ Π·Π°ΠΏΠ°Ρ. Π‘ΡΠΎΠΈΠΌΠΎΡΡΡ ΠΈΡ Π½Π΅Π²Π΅Π»ΠΈΠΊΠ°, ΠΏΠΎΡΡΠΎΠΌΡ ΠΏΠΎΠΊΡΠΏΠΊΠ° ΡΠΈΠ»ΡΠ½ΠΎ Π½Π΅ ΡΠ΄Π°ΡΠΈΡ. ΠΠ±ΡΠ·Π°ΡΠ΅Π»ΡΠ½ΠΎ ΠΈΠ·ΡΡΠΈΡΠ΅ ΡΡ Π΅ΠΌΡ Π°Π²ΡΠΎΠΌΠΎΠ±ΠΈΠ»Ρ ΠΠΠ-2110, Π΅ΡΠ»ΠΈ Π½Π΅ Π·Π½Π°Π΅ΡΠ΅, ΠΊΡΠ΄Π° ΠΏΠΎΠ΄ΠΊΠ»ΡΡΠΈΡΡ ΡΠ»Π΅ΠΊΡΡΠΈΡΠ΅ΡΠΊΠΈΠ΅ ΡΡΠ΅ΠΊΠ»ΠΎΠΏΠΎΠ΄ΡΠ΅ΠΌΠ½ΠΈΠΊΠΈ. ΠΡΠ»ΠΈ ΡΡΠΊΠΎΠ²ΠΎΠ΄ΡΡΠ²ΠΎΠ²Π°ΡΡΡΡ ΡΠ»Π΅ΠΊΡΡΠΈΠΊΠΎΠΉ Π°Π²ΡΠΎΠΌΠΎΠ±ΠΈΠ»Ρ, ΡΠΎ ΠΏΡΠΎΠ²ΠΎΠ΄ΠΊΠ° Π±ΡΠ΄Π΅Ρ ΠΏΡΠΎΠ²Π΅Π΄Π΅Π½Π° ΠΎΡΠ΅Π½Ρ Π±ΡΡΡΡΠΎ.
Π‘Π½ΡΡΠΈΠ΅ ΡΡΠ°ΡΠΎΠ³ΠΎ ΠΌΠ΅Ρ Π°Π½ΠΈΠ·ΠΌΠ° ΡΡΠ΅ΠΊΠ»ΠΎΠΏΠΎΠ΄ΡΠ΅ΠΌΠ½ΠΈΠΊΠ°
ΠΠΎ ΠΏΠ΅ΡΠ΅Π΄ ΡΡΡΠ°Π½ΠΎΠ²ΠΊΠΎΠΉ ΡΠ»Π΅ΠΊΡΡΠΎΡΡΠ΅ΠΊΠ»ΠΎΠΏΠΎΠ΄ΡΠ΅ΠΌΠ½ΠΈΠΊΠ° ΠΠΠ-2110, Π½Π΅ΠΈΡΠΏΡΠ°Π²Π½ΠΎΡΡΠΈ ΠΊΠΎΡΠΎΡΠΎΠ³ΠΎ Π±ΡΠ΄ΡΡ ΡΠ°ΡΡΠΌΠΎΡΡΠ΅Π½Ρ Π½ΠΈΠΆΠ΅, Π½Π΅ΠΎΠ±Ρ ΠΎΠ΄ΠΈΠΌΠΎ ΠΏΠΎΠ»Π½ΠΎΡΡΡΡ ΡΠ΄Π°Π»ΠΈΡΡ ΡΡΠ°ΡΡΠΉ.Π ΡΠ΅Π»ΠΎΠΌ Π²ΡΡ ΡΠ°Π±ΠΎΡΡ ΠΌΠΎΠΆΠ½ΠΎ ΡΠ°Π·Π΄Π΅Π»ΠΈΡΡ Π½Π° Π½Π΅ΡΠΊΠΎΠ»ΡΠΊΠΎ ΠΎΡΠ½ΠΎΠ²Π½ΡΡ ΡΡΠ°ΠΏΠΎΠ²:
- ΠΡΡΠΎΡΠΎΠΆΠ½ΠΎ, ΡΡΠ°ΡΠ°ΡΡΡ Π½Π΅ ΠΏΠΎΠ²ΡΠ΅Π΄ΠΈΡΡ, ΡΠ½ΠΈΠΌΠ°Π΅ΠΌ ΠΎΠ±ΡΠΈΠ²ΠΊΡ ΠΏΠ΅ΡΠ΅Π΄Π½Π΅ΠΉ Π΄Π²Π΅ΡΠΈ. ΠΠΎΠΌΠΏΠ»Π΅ΠΊΡ ΡΡΠ΅ΠΊΠ»ΠΎΠΏΠΎΠ΄ΡΠ΅ΠΌΠ½ΠΈΠΊΠΎΠ² ΡΠΎΡΡΠΎΠΈΡ ΠΈΠ· Π΄Π²ΡΡ ΠΌΠ΅Ρ Π°Π½ΠΈΠ·ΠΌΠΎΠ² ΠΈ ΠΏΡΠΈΠ²ΠΎΠ΄Π½ΡΡ Π΄Π²ΠΈΠ³Π°ΡΠ΅Π»Π΅ΠΉ. ΠΠΎΡΡΠΎΠΌΡ Π½ΡΠΆΠ½ΠΎ ΡΡΠ°Π²ΠΈΡΡ ΠΈΡ Π½Π° Π²Ρ ΠΎΠ΄Π½ΡΠ΅ Π΄Π²Π΅ΡΠΈ.
- ΠΡΠΈ ΠΏΠΎΠΌΠΎΡΠΈ ΡΠΊΠΎΡΡΠ° Π½Π΅ΠΎΠ±Ρ ΠΎΠ΄ΠΈΠΌΠΎ ΡΡΡΠ°Π½ΠΎΠ²ΠΈΡΡ ΡΡΠ΅ΠΊΠ»ΠΎ Π²Ρ ΠΎΠ΄Π½ΠΎΠΉ Π΄Π²Π΅ΡΠΈ Π² Π²Π΅ΡΡ Π½Π΅ΠΌ ΠΏΠΎΠ»ΠΎΠΆΠ΅Π½ΠΈΠΈ … ΠΠ»Π°Π²Π½ΠΎΠ΅, ΡΡΠΎΠ±Ρ ΠΎΠ½ΠΎ Π½Π΅ ΡΠΏΠ°Π»ΠΎ Π² Π΄Π²Π΅ΡΡ ΠΏΡΠΈ Π΄Π΅ΠΌΠΎΠ½ΡΠ°ΠΆΠ΅ ΠΌΠ΅Ρ Π°Π½ΠΈΠ·ΠΌΠ°.
- ΠΡΠΊΡΡΡΠΈΠ²Π°Π΅ΠΌ Π±ΠΎΠ»ΡΡ ΠΊΡΠ΅ΠΏΠ»Π΅Π½ΠΈΡ ΡΡΠ°ΡΠΎΠ³ΠΎ ΠΌΠ΅Ρ Π°Π½ΠΈΠ·ΠΌΠ° ΠΈ ΡΡΠ΅ΠΊΠ»Π° ΠΊΠ»ΡΡΠΎΠΌ Π½Π° Β«10Β».
- ΠΠ°ΠΉΠ΄ΠΈΡΠ΅ Π½Π°ΠΏΡΠ°Π²Π»ΡΡΡΡΡ, ΠΎΠ½Π° ΠΏΡΠΈΠΊΡΠ΅ΠΏΠ»Π΅Π½Π° ΠΊ Π΄Π²Π΅ΡΠΈ 4 Π³Π°ΠΉΠΊΠ°ΠΌΠΈ. ΠΠ΅ΡΠ²ΡΠΌ Π΄Π΅Π»ΠΎΠΌ ΠΎΡΠΊΡΡΡΠΈΠ²Π°Π΅ΠΌ Π½ΠΈΠΆΠ½ΡΡ, Π·Π°ΡΠ΅ΠΌ ΡΡΠ΅Π΄Π½ΡΡ ΠΈ ΡΠ°ΠΌΡΡ ΠΏΠΎΡΠ»Π΅Π΄Π½ΡΡ Π²Π΅ΡΡ Π½ΡΡ.
- Π ΡΡΠΊΠ° ΡΠ»Π΅ΠΊΡΡΠΈΡΠ΅ΡΠΊΠΎΠ³ΠΎ ΡΡΠ΅ΠΊΠ»ΠΎΠΏΠΎΠ΄ΡΠ΅ΠΌΠ½ΠΈΠΊΠ° ΠΊΡΠ΅ΠΏΠΈΡΡΡ ΠΊ Π΄Π²Π΅ΡΠΈ ΡΡΠ΅ΠΌΡ Π³Π°ΠΉΠΊΠ°ΠΌΠΈ. ΠΡΠΊΡΡΡΠΈΠ²Π°ΠΉΡΠ΅ ΠΈΡ Π² ΠΏΠΎΡΠ»Π΅Π΄Π½ΡΡ ΠΎΡΠ΅ΡΠ΅Π΄Ρ.
ΠΠΎΡΠ»Π΅ ΡΡΠΎΠ³ΠΎ ΠΌΠΎΠΆΠ½ΠΎ ΠΏΠΎΠ»Π½ΠΎΡΡΡΡ ΡΠ½ΡΡΡ ΠΌΠ΅Ρ Π°Π½ΠΈΠ·ΠΌ. ΠΡΠ»ΠΈ Π²ΡΠ½ΡΡΡ Π΅Π³ΠΎ ΠΈΠ· Π΄Π²Π΅ΡΡΡ Π½Π΅ ΠΏΠΎΠ»ΡΡΠ°Π΅ΡΡΡ, Π½ΡΠΆΠ½ΠΎ Π±ΡΠ΄Π΅Ρ Π½Π°Π΄Π°Π²ΠΈΡΡ ΠΎΡΠ²Π΅ΡΡΠΊΠΎΠΉ Π½Π° Π²Π΅ΡΡ Π½ΠΈΠ΅ ΠΊΡΠ΅ΠΏΠ»Π΅Π½ΠΈΡ. ΠΠΎΡΠ»Π΅ ΡΡΠΎΠ³ΠΎ Π² ΠΎΠ±ΡΠ·Π°ΡΠ΅Π»ΡΠ½ΠΎΠΌ ΠΏΠΎΡΡΠ΄ΠΊΠ΅ Π½Π΅ΠΎΠ±Ρ ΠΎΠ΄ΠΈΠΌΠΎ ΠΎΡΠΈΡΡΠΈΡΡ Π²Π½ΡΡΡΠ΅Π½Π½Π΅Π΅ ΠΏΡΠΎΡΡΡΠ°Π½ΡΡΠ²ΠΎ Π΄Π²Π΅ΡΠΈ, ΡΡΠΎΠ±Ρ Π½Π΅ Π±ΡΠ»ΠΎ ΠΏΡΠ»ΠΈ ΠΈ Π³ΡΡΠ·ΠΈ.ΠΡΠΈ Π½Π΅ΠΎΠ±Ρ ΠΎΠ΄ΠΈΠΌΠΎΡΡΠΈ ΠΌΠΎΠΆΠ½ΠΎ Π½Π°ΠΊΠ»Π΅ΠΈΡΡ ΡΡΠΌΠΎΠΈΠ·ΠΎΠ»ΡΡΠΈΡ. ΠΡΠΎ Π½Π΅ΠΎΠ±Ρ ΠΎΠ΄ΠΈΠΌΠΎ, Π΅ΡΠ»ΠΈ Π²Ρ Π½Π΅ Ρ ΠΎΡΠΈΡΠ΅ Π½Π΅ΡΠΊΠΎΠ»ΡΠΊΠΎ ΡΠ°Π· ΡΠ°Π·Π±ΠΈΡΠ°ΡΡ Π²Ρ ΠΎΠ΄Π½ΡΠ΅ Π΄Π²Π΅ΡΠΈ.
Π£ΡΡΠ°Π½ΠΎΠ²ΠΊΠ° Π½ΠΎΠ²ΠΎΠ³ΠΎ ΡΡΠ΅ΠΊΠ»ΠΎΠΏΠΎΠ΄ΡΠ΅ΠΌΠ½ΠΈΠΊΠ°
ΠΠ»Ρ ΡΡΡΠ°Π½ΠΎΠ²ΠΊΠΈ ΡΡΠ΅ΠΊΠ»ΠΎΠΏΠΎΠ΄ΡΠ΅ΠΌΠ½ΠΈΠΊΠ° Π½Π° Π°Π²ΡΠΎΠΌΠΎΠ±ΠΈΠ»Ρ ΠΠΠ-2110 Π½Π΅ΠΎΠ±Ρ ΠΎΠ΄ΠΈΠΌΠΎ ΠΏΡΠ΅Π΄Π²Π°ΡΠΈΡΠ΅Π»ΡΠ½ΠΎ ΡΠ°Π·ΠΌΠ΅ΡΡΠΈΡΡ Π΅Π³ΠΎ Π² Π΄Π²Π΅ΡΡΡ ΠΌΠ΅ΠΆΠΊΠΎΠΌΠ½Π°ΡΠ½ΡΡ Π΄Π²Π΅ΡΠ΅ΠΉ. ΠΠ»Ρ ΡΡΠΎΠ³ΠΎ ΠΏΠΎΡΡΠ΅Π±ΡΠ΅ΡΡΡ Π²Π²Π΅ΡΡΠΈ Π΅Π³ΠΎ Π² ΡΠ°ΠΌΡΠΉ Π±ΠΎΠ»ΡΡΠΎΠΉ ΡΠ΅Ρ Π½ΠΎΠ»ΠΎΠ³ΠΈΡΠ΅ΡΠΊΠΈΠΉ ΠΏΡΠΎΠ΅ΠΌ Π΄Π²Π΅ΡΠΈ. ΠΠ°Π»ΡΠ½Π΅ΠΉΡΠ°Ρ ΡΠ°Π±ΠΎΡΠ° Π²Π΅Π΄Π΅ΡΡΡ ΠΏΠΎ ΡΠ°ΠΊΠΎΠΌΡ Π°Π»Π³ΠΎΡΠΈΡΠΌΡ:
- ΠΠ΅Ρ Π°Π½ΠΈΠ·ΠΌ Π·Π°ΠΊΡΠ΅ΠΏΠ»Π΅Π½ Π½Π° Π΄Π²ΡΡ ΡΠΏΠΈΠ»ΡΠΊΠ°Ρ , ΠΊΠΎΡΠΎΡΡΠ΅ ΡΡΡΠ°Π½Π°Π²Π»ΠΈΠ²Π°ΡΡΡΡ Π² ΠΎΡΠ²Π΅ΡΡΡΠΈΡ, Π³Π΄Π΅ Π½Π°Ρ ΠΎΠ΄ΠΈΠ»ΠΈΡΡ ΡΡΠ΅Π΄Π½ΠΈΠ΅ Π³Π°ΠΉΠΊΠΈ ΡΡΠ°ΡΠΎΠ³ΠΎ ΠΌΠ΅Ρ Π°Π½ΠΈΠ·ΠΌΠ° ΡΡΠ΅ΠΊΠ»ΠΎΠΏΠΎΠ΄ΡΠ΅ΠΌΠ½ΠΈΠΊΠ°.
- Π‘ΠΎΠ²ΠΌΠ΅ΡΡΠΈΡΠ΅ Π·Π°ΡΡΠ΅ΠΆΠΊΠΈ Π½Π° ΡΡΠ΅ΠΊΠ»Π΅ ΠΈ ΠΌΠ΅Ρ Π°Π½ΠΈΠ·ΠΌΠ΅. ΠΠ»Ρ ΡΡΠΎΠ³ΠΎ Π½ΡΠΆΠ½ΠΎ ΠΏΠΎΠ΄ΠΊΠ»ΡΡΠΈΡΡ ΡΠ»Π΅ΠΊΡΡΠΎΠ΄Π²ΠΈΠ³Π°ΡΠ΅Π»Ρ ΠΊ Π°ΠΊΠΊΡΠΌΡΠ»ΡΡΠΎΡΡ … Π‘ΠΎΠ²ΠΌΠ΅ΡΡΠΈΠ² ΠΎΡΠ²Π΅ΡΡΡΠΈΡ, Π·Π°ΠΊΡΠ΅ΠΏΠΈΡΠ΅ ΠΈΡ Π±ΠΎΠ»ΡΠ°ΠΌΠΈ, Π²Ρ Π½Π°ΠΉΠ΄Π΅ΡΠ΅ ΠΈΡ Π² ΠΊΠΎΠΌΠΏΠ»Π΅ΠΊΡΠ΅.
- Π’Π°ΠΊ ΠΊΠ°ΠΊ Π²ΠΎ Π²ΡΠ΅ΠΌΡ ΡΠ°Π±ΠΎΡΡ Π²ΠΎΠ·Π½ΠΈΠΊΠ°Π΅Ρ ΡΠΈΠ»ΡΠ½ΠΎΠ΅ ΡΡΠ΅Π½ΠΈΠ΅, ΠΎΠ±ΡΠ·Π°ΡΠ΅Π»ΡΠ½ΠΎ ΡΠΌΠ°Π·ΡΠ²Π°ΠΉΡΠ΅ Π²ΡΠ΅ ΡΡΡΡΠΈΠ΅ΡΡ ΠΏΠΎΠ²Π΅ΡΡ Π½ΠΎΡΡΠΈ. ΠΠ΅Π»Π°ΡΠ΅Π»ΡΠ½ΠΎ ΠΈΡΠΏΠΎΠ»ΡΠ·ΠΎΠ²Π°ΡΡ ΡΠΎΡΡΠ°Π² Π¨Π Π£Π‘-4.
ΠΠ»Π΅ΠΊΡΡΠΎΠΏΠΎΠ΄ΠΊΠ»ΡΡΠ΅Π½ΠΈΠ΅
Π’Π΅ΠΏΠ΅ΡΡ, ΡΡΠΎΠ±Ρ ΠΎΠΊΠ½Π° ΡΠ°Π±ΠΎΡΠ°Π»ΠΈ ΠΏΡΠ°Π²ΠΈΠ»ΡΠ½ΠΎ, Π½ΡΠΆΠ½ΠΎ ΠΈΡ ΠΏΠΎΠ΄ΠΊΠ»ΡΡΠΈΡΡ.ΠΡΠ»ΠΈ Π²Ρ Π½Π΅ ΡΠ²Π΅ΡΠ΅Π½Ρ Π² ΡΠ²ΠΎΠΈΡ ΡΠΈΠ»Π°Ρ , ΡΠΎ ΠΎΠ±ΡΠ°ΡΠΈΡΠ΅ΡΡ Π·Π° ΠΏΠΎΠΌΠΎΡΡΡ ΠΊ ΠΎΠΏΡΡΠ½ΠΎΠΌΡ ΡΠ»Π΅ΠΊΡΡΠΈΠΊΡ. ΠΡΠ»ΠΈ Π²Ρ ΡΠ²Π΅ΡΠ΅Π½Ρ Π² ΡΠ΅Π±Π΅, ΠΌΠΎΠΆΠ΅ΡΠ΅ ΠΏΡΠΈΡΡΡΠΏΠ°ΡΡ ΠΊ ΡΠ΅Π΄Π°ΠΊΡΠΈΡΠΎΠ²Π°Π½ΠΈΡ. ΠΠ»Ρ ΡΡΠΎΠ³ΠΎ Π²ΡΠ±Π΅ΡΠΈΡΠ΅ ΠΌΠ΅ΡΡΠΎ Π΄Π»Ρ ΡΡΡΠ°Π½ΠΎΠ²ΠΊΠΈ ΠΊΠ½ΠΎΠΏΠΎΠΊ ΡΠΏΡΠ°Π²Π»Π΅Π½ΠΈΡ. ΠΠ΅Π»Π°ΡΠ΅Π»ΡΠ½ΠΎ ΡΠ°Π·ΠΌΠ΅ΡΠ°ΡΡ ΠΈΡ ΡΠ°ΠΌ, Π³Π΄Π΅ ΠΊ Π½ΠΈΠΌ Π±ΡΠ΄Π΅Ρ ΡΠ²ΠΎΠ±ΠΎΠ΄Π½ΡΠΉ Π΄ΠΎΡΡΡΠΏ ΠΊΠ°ΠΊ Π΄Π»Ρ Π²ΠΎΠ΄ΠΈΡΠ΅Π»Ρ, ΡΠ°ΠΊ ΠΈ Π΄Π»Ρ ΠΏΠ°ΡΡΠ°ΠΆΠΈΡΠ°. ΠΠΎΡΡΠΎΠΌΡ Π»ΡΡΡΠΈΠ΅ ΠΌΠ΅ΡΡΠ° Π΄Π»Ρ ΡΡΡΠ°Π½ΠΎΠ²ΠΊΠΈ — Π½ΠΈΡΠ° ΠΏΠΎΠ΄ ΡΡΡΠ½ΠΈΠΊ, Π° ΡΠ°ΠΊΠΆΠ΅ Π² Π±ΠΎΡΠΎΠ΄Ρ ΠΏΠ΅ΡΠ΅Π΄Π½Π΅ΠΉ ΠΏΠ°Π½Π΅Π»ΠΈ.
ΠΠΎΡΠ»Π΅ ΡΡΡΠ°Π½ΠΎΠ²ΠΊΠΈ ΠΊΠ½ΠΎΠΏΠΎΠΊ Π½Π΅ΠΎΠ±Ρ ΠΎΠ΄ΠΈΠΌΠΎ ΠΎΡ Π½ΠΈΡ ΠΏΡΠΎΠ»ΠΎΠΆΠΈΡΡ ΠΏΡΠΎΠ²ΠΎΠ΄Π° ΠΊ ΠΈΡΡΠΎΡΠ½ΠΈΠΊΡ ΠΏΠΈΡΠ°Π½ΠΈΡ ΡΠ΅ΡΠ΅Π· Π±Π»ΠΎΠΊ ΠΏΡΠ΅Π΄ΠΎΡ ΡΠ°Π½ΠΈΡΠ΅Π»Π΅ΠΉ ΠΠΠ-2110.ΠΠΌΠ΅Π΅Ρ Π½Π΅ΡΠΊΠΎΠ»ΡΠΊΠΎ ΡΠ΅Π·Π΅ΡΠ²Π½ΡΡ ΡΠΎΠ·Π΅ΡΠΎΠΊ, ΠΊ ΠΊΠΎΡΠΎΡΡΠΌ ΠΌΠΎΠΆΠ½ΠΎ ΠΏΠΎΠ΄ΠΊΠ»ΡΡΠΈΡΡ ΡΠ»Π΅ΠΊΡΡΠΈΡΠ΅ΡΠΊΠΈΠ΅ ΡΡΠ΅ΠΊΠ»ΠΎΠΏΠΎΠ΄ΡΠ΅ΠΌΠ½ΠΈΠΊΠΈ. ΠΡ ΡΠ»Π΅ΠΊΡΡΠΎΠ΄Π²ΠΈΠ³Π°ΡΠ΅Π»Π΅ΠΉ Π² Π΄Π²Π΅ΡΡΡ ΠΏΡΠΎΠ²ΠΎΠ΄ΡΡ ΠΏΡΠΎΠ²ΠΎΠ΄Π° ΠΊ ΡΡΠΎΠΉΠΊΠ΅ ΠΊΡΠ·ΠΎΠ²Π°, Π° ΠΎΡΡΡΠ΄Π° ΠΊ ΠΊΠ½ΠΎΠΏΠΊΠ°ΠΌ ΡΠΏΡΠ°Π²Π»Π΅Π½ΠΈΡ. ΠΠ±ΡΠ·Π°ΡΠ΅Π»ΡΠ½ΠΎ ΠΈΡΠΏΠΎΠ»ΡΠ·ΠΎΠ²Π°ΡΡ ΡΠ»Π΅ΠΊΡΡΠΎΠΌΠ°Π³Π½ΠΈΡΠ½ΡΠ΅ ΡΠ΅Π»Π΅, ΡΡΠΎΠ±Ρ ΡΠ±Π΅ΡΠ΅ΡΡ ΠΊΠ½ΠΎΠΏΠΊΠΈ ΠΎΡ ΠΏΠ΅ΡΠ΅ΠΊΠ»ΡΡΠ΅Π½ΠΈΡ Π±ΠΎΠ»ΡΡΠΎΠ³ΠΎ ΡΠΎΠΊΠ°.
Π§Π°ΡΡΡΠ΅ ΠΏΠΎΠ»ΠΎΠΌΠΊΠΈ
ΠΠ΅Π·Π°Π²ΠΈΡΠΈΠΌΠΎ ΠΎΡ ΡΠΎΠ³ΠΎ, ΠΊΠ°ΠΊΠΎΠΉ ΡΠΈΠΏ ΡΡΠ΅ΠΊΠ»ΠΎΠΏΠΎΠ΄ΡΠ΅ΠΌΠ½ΠΈΠΊΠ° ΡΡΡΠ°Π½ΠΎΠ²Π»Π΅Π½, ΠΎΠ½ΠΈ Π²ΡΠ΅ ΡΠ°Π²Π½ΠΎ ΠΌΠΎΠ³ΡΡ Π²ΡΠΉΡΠΈ ΠΈΠ· ΡΡΡΠΎΡ, ΠΈ Π²ΡΠ΅ ΠΏΠΎΠ»ΠΎΠΌΠΊΠΈ Π΄Π΅Π»ΡΡΡΡ Π½Π° ΠΌΠ΅Ρ Π°Π½ΠΈΡΠ΅ΡΠΊΠΈΠ΅ ΠΈ ΡΠ»Π΅ΠΊΡΡΠΈΡΠ΅ΡΠΊΠΈΠ΅. Π ΠΏΠΎΡΠ»Π΅Π΄Π½ΠΈΠΌ ΠΌΠΎΠΆΠ½ΠΎ ΠΎΡΠ½Π΅ΡΡΠΈ Π½Π΅ΠΈΡΠΏΡΠ°Π²Π½ΠΎΡΡΡ ΠΊΠ½ΠΎΠΏΠΊΠΈ ΡΡΠ΅ΠΊΠ»ΠΎΠΏΠΎΠ΄ΡΠ΅ΠΌΠ½ΠΈΠΊΠ° ΠΠΠ-2110.ΠΠΎΠ·ΠΌΠΎΠΆΠ½ΡΠ΅ Π½Π΅ΠΈΡΠΏΡΠ°Π²Π½ΠΎΡΡΠΈ:
- ΠΡΠ»ΠΈ ΠΏΠΎΠ»Π½ΠΎΡΡΡΡ Π²ΡΡΠ΅Π» ΠΈΠ· ΡΡΡΠΎΡ ΡΠ»Π΅ΠΊΡΡΠΎΡΡΠ΅ΠΊΠ»ΠΎΠΏΠΎΠ΄ΡΠ΅ΠΌΠ½ΠΈΠΊ, ΠΏΡΠΈΡΠΈΠ½Π° ΠΌΠΎΠΆΠ΅Ρ Π·Π°ΠΊΠ»ΡΡΠ°ΡΡΡΡ Π² ΡΠΎΠΌ, ΡΡΠΎ ΠΎΠ±ΡΡΠ² ΡΡΠΎΡΠ° ΠΈΠ»ΠΈ Π΅Π³ΠΎ ΡΠΊΡΡ. ΠΡΠ»ΠΈ ΡΡΠ΅ΠΊΠ»ΠΎΠΏΠΎΠ΄ΡΠ΅ΠΌΠ½ΠΈΠΊ ΡΠ΅Π΅ΡΠ½ΠΎΠ³ΠΎ ΠΈΠ»ΠΈ ΡΡΡΠ°ΠΆΠ½ΠΎΠ³ΠΎ ΡΠΈΠΏΠ°, ΠΈΡΠΈΡΠ΅ ΠΏΠΎΠ»ΠΎΠΌΠΊΡ ΠΌΠ΅Ρ Π°Π½ΠΈΠ·ΠΌΠ°.
- ΠΡΠΊΠ°Π· ΡΠ»Π΅ΠΊΡΡΠΎΠ΄Π²ΠΈΠ³Π°ΡΠ΅Π»Ρ ΠΈΠ·-Π·Π° ΠΏΠΎΠΏΠ°Π΄Π°Π½ΠΈΡ Π²ΠΎΠ΄Ρ. ΠΡΠ΅Π½Ρ ΡΠ°ΡΡΠΎ ΠΏΡΠΎΠΈΡΡ ΠΎΠ΄ΠΈΡ ΡΠ°ΠΊΠ°Ρ ΠΏΠΎΠ»ΠΎΠΌΠΊΠ°, ΡΠ°ΠΊ ΠΊΠ°ΠΊ ΡΠ»Π΅ΠΊΡΡΠΎΠ΄Π²ΠΈΠ³Π°ΡΠ΅Π»Ρ Π½Π΅Π³Π΅ΡΠΌΠ΅ΡΠΈΡΠ½ΡΠΉ. Π Π½Π΅Π³ΠΎ ΠΈΠ½ΠΎΠ³Π΄Π° ΠΏΡΠΎΡΠ°ΡΠΈΠ²Π°Π΅ΡΡΡ ΠΊΠΎΠ½Π΄Π΅Π½ΡΠ°Ρ, ΠΏΠΎΡΠ²Π»ΡΠ΅ΡΡΡ ΡΠΆΠ°Π²ΡΠΈΠ½Π°, ΠΊΠΎΡΠΎΡΠ°Ρ ΠΌΠΎΠΆΠ΅Ρ Π½Π°Π½Π΅ΡΡΠΈ ΠΊΠΎΠ»ΠΎΡΡΠ°Π»ΡΠ½ΡΠΉ ΡΡΠ΅ΡΠ± ΡΠ»Π΅ΠΊΡΡΠΎΠ΄Π²ΠΈΠ³Π°ΡΠ΅Π»Ρ.
- ΠΠΎΠ»ΠΎΠΌΠΊΠ° ΡΠ»Π΅ΠΊΡΡΠΎΠΌΠ°Π³Π½ΠΈΡΠ½ΠΎΠ³ΠΎ ΡΠ΅Π»Π΅ — ΡΡΠ΅ΠΊΠ»ΠΎΠΏΠΎΠ΄ΡΠ΅ΠΌΠ½ΠΈΠΊ Π½Π΅ ΡΠΌΠΎΠΆΠ΅Ρ ΡΠ°Π±ΠΎΡΠ°ΡΡ, ΡΠ°ΠΊ ΠΊΠ°ΠΊ Π½Π° ΠΌΠΎΡΠΎΡ Π½Π΅ ΠΏΠΎΠ΄Π°Π½ΠΎ ΠΏΠΈΡΠ°Π½ΠΈΠ΅. Π§ΡΠΎΠ±Ρ ΠΏΡΠΎΠ²Π΅ΡΠΈΡΡ ΡΠ°Π±ΠΎΡΠΎΡΠΏΠΎΡΠΎΠ±Π½ΠΎΡΡΡ ΡΠ΅Π»Π΅, Π½Π΅ΠΎΠ±Ρ ΠΎΠ΄ΠΈΠΌΠΎ ΡΡΡΠ°Π½ΠΎΠ²ΠΈΡΡ Π·Π°Π²Π΅Π΄ΠΎΠΌΠΎ ΠΈΡΠΏΡΠ°Π²Π½ΡΠΉ ΡΠ»Π΅ΠΌΠ΅Π½Ρ.
- ΠΡΠΎΠ²Π΅ΡΠΈΡΡ ΡΠΎΠΎΡΠ²Π΅ΡΡΡΠ²ΡΡΡΠΈΠΉ ΠΏΡΠ΅Π΄ΠΎΡ ΡΠ°Π½ΠΈΡΠ΅Π»Ρ Π² Π±Π»ΠΎΠΊΠ΅ ΠΏΡΠ΅Π΄ΠΎΡ ΡΠ°Π½ΠΈΡΠ΅Π»Π΅ΠΉ ΠΠΠ-2110. ΠΡΠ»ΠΈ Π΄Π°ΠΆΠ΅ ΠΏΡΠΈ ΡΡΡΠ°Π½ΠΎΠ²ΠΊΠ΅ Π½ΠΎΠ²ΠΎΠ³ΠΎ ΡΠ΅Π»Π΅ ΠΎΠ½ΠΎ Π½Π΅ Π²ΠΊΠ»ΡΡΠ°Π΅ΡΡΡ, ΡΠΎ Π½ΡΠΆΠ½ΠΎ ΠΈΡΠΊΠ°ΡΡ Π½Π΅ΠΈΡΠΏΡΠ°Π²Π½ΠΎΡΡΡ Π² ΡΠ΅ΠΏΠΈ ΠΏΠΈΡΠ°Π½ΠΈΡ. ΠΠ°ΠΌΠ΅Π½ΠΈΡΠ΅ ΠΏΡΠ΅Π΄ΠΎΡ ΡΠ°Π½ΠΈΡΠ΅Π»Ρ Π½ΠΎΠ²ΡΠΌ. Π ΡΠΎΠΌ ΡΠ»ΡΡΠ°Π΅, Π΅ΡΠ»ΠΈ ΠΎΠ½ ΠΎΡΠ΅Π½Ρ Π±ΡΡΡΡΠΎ ΡΠ³ΠΎΡΠ°Π΅Ρ, ΡΠΎ Π½ΡΠΆΠ½ΠΎ Π½Π°ΠΉΡΠΈ, Π³Π΄Π΅ Π² ΡΠ»Π΅ΠΊΡΡΠΎΠΏΡΠΎΠ²ΠΎΠ΄ΠΊΠ΅ ΠΏΡΠΎΠΈΡΡ ΠΎΠ΄ΠΈΡ ΠΊΠΎΡΠΎΡΠΊΠΎΠ΅ Π·Π°ΠΌΡΠΊΠ°Π½ΠΈΠ΅.
- ΠΡΠ΅Π½Ρ ΡΠ°ΡΡΠΎ Π²ΡΡ ΠΎΠ΄ΠΈΡ ΠΈΠ· ΡΡΡΠΎΡ ΠΊΠ½ΠΎΠΏΠΊΠ° ΡΡΠ΅ΠΊΠ»ΠΎΠΏΠΎΠ΄ΡΠ΅ΠΌΠ½ΠΈΠΊΠ° ΠΠΠ-2110. ΠΡΠΎΠ²Π΅ΡΠΈΡΡ ΡΡΠΎ Π΄ΠΎΠ²ΠΎΠ»ΡΠ½ΠΎ ΠΏΡΠΎΡΡΠΎ, Π½ΡΠΆΠ½ΠΎ ΡΡΡΠ°Π½ΠΎΠ²ΠΈΡΡ Π½ΠΎΠ²ΡΡ, Π»ΠΈΠ±ΠΎ Π·Π°ΠΊΠΎΡΠΎΡΠΈΡΡ ΠΏΡΠΎΠ²ΠΎΠ΄Π° ΠΌΠ΅ΡΠ°Π»Π»ΠΈΡΠ΅ΡΠΊΠΈΠΌ ΠΏΡΠ΅Π΄ΠΌΠ΅ΡΠΎΠΌ.
- ΠΡΠΈ ΠΎΠ±ΡΡΠ²Π΅ ΡΠΈΠ»ΠΎΠ²ΠΎΠΉ ΡΠ΅ΠΏΠΈ Π½Π΅ΠΎΠ±Ρ ΠΎΠ΄ΠΈΠΌΠΎ Π½Π°ΠΉΡΠΈ ΠΌΠ΅ΡΡΠΎ, Π° Π·Π°ΡΠ΅ΠΌ Π²ΠΎΡΡΡΠ°Π½ΠΎΠ²ΠΈΡΡ.
ΠΡΠ΅Π½Ρ ΡΠ°ΡΡΠΎ ΠΌΠ΅ΠΆΠ΄Ρ ΡΡΠΎΠΉΠΊΠΎΠΉ ΠΊΡΠ·ΠΎΠ²Π° ΠΈ Π΄Π²Π΅ΡΡΡ ΠΏΡΠΎΠΈΡΡ ΠΎΠ΄ΠΈΡ ΡΠ°Π·ΡΡΠ². ΠΠΎΡΠΊΠΎΠ»ΡΠΊΡ Π΄Π²Π΅ΡΡ ΠΏΠΎΡΡΠΎΡΠ½Π½ΠΎ ΠΎΡΠΊΡΡΠ²Π°Π΅ΡΡΡ ΠΈ Π·Π°ΠΊΡΡΠ²Π°Π΅ΡΡΡ, ΠΏΡΠΎΠ²ΠΎΠ»ΠΎΠΊΠ° ΡΠΎ Π²ΡΠ΅ΠΌΠ΅Π½Π΅ΠΌ ΠΈΠ·Π³ΠΈΠ±Π°Π΅ΡΡΡ, ΡΠ°Π·ΡΡΡΠ°Π΅ΡΡΡ. Π§ΡΠΎΠ±Ρ ΠΈΡΠΏΡΠ°Π²ΠΈΡΡ ΡΡΡ ΡΠΈΡΡΠ°ΡΠΈΡ, Π½Π΅ΠΎΠ±Ρ ΠΎΠ΄ΠΈΠΌΠΎ ΡΡΡΠ°Π½ΠΎΠ²ΠΈΡΡ Π½ΠΎΠ²ΡΡ ΠΏΡΠΎΠ²ΠΎΠ΄ΠΊΡ.
ΠΠ°ΠΊΠ»ΡΡΠ΅Π½ΠΈΠ΅
Π Π΅Π΄ΠΊΠΎ ΠΊΠ°ΠΊΠΈΠ΅ ΠΊΠΎΠΌΠΏΠ»Π΅ΠΊΡΠ°ΡΠΈΠΈ ΠΠΠ-2110 ΠΎΡΠ½Π°ΡΠ°Π»ΠΈΡΡ ΡΠ»Π΅ΠΊΡΡΠΎΡΡΠ΅ΠΊΠ»ΠΎΠΏΠΎΠ΄ΡΠ΅ΠΌΠ½ΠΈΠΊΠ°ΠΌΠΈ. ΠΠΎΡΡΠΎΠΌΡ ΡΡΡΠ°Π½ΠΎΠ²ΠΊΡ ΠΏΡΠΈΠ΄Π΅ΡΡΡ ΠΏΡΠΎΠΈΠ·Π²ΠΎΠ΄ΠΈΡΡ ΡΠΎΠ±ΡΡΠ²Π΅Π½Π½ΡΠΌΠΈ ΡΠΈΠ»Π°ΠΌΠΈ. ΠΠΎΡΡΠ°ΡΠ°ΠΉΡΠ΅ΡΡ ΡΠ΄Π΅Π»Π°ΡΡ Π²ΡΠ΅ ΠΌΠ°ΠΊΡΠΈΠΌΠ°Π»ΡΠ½ΠΎ ΠΊΠ°ΡΠ΅ΡΡΠ²Π΅Π½Π½ΠΎ, ΠΏΠΎΠ΄ΠΊΠ»ΡΡΠΈΡΠ΅ ΠΏΡΠΈΠ²ΠΎΠ΄Ρ ΠΊ Π°Π²ΡΠΎΡΠΈΠ³Π½Π°Π»ΠΈΠ·Π°ΡΠΈΠΈ, ΡΡΠΎΠ±Ρ ΠΏΡΠΈ ΠΏΠΎΡΡΠ°Π½ΠΎΠ²ΠΊΠ΅ Π½Π° ΠΎΡ ΡΠ°Π½Ρ ΡΠ°Π·Π±ΠΈΠ²Π°Π»Π° ΠΎΠΊΠ½Π°.
ΠΠ° ΡΡΠ°ΡΡΡ ΠΌΠΎΠ΄Π΅Π»ΡΡ Π°Π²ΡΠΎΠΌΠΎΠ±ΠΈΠ»Π΅ΠΉ ΠΠΠ, ΡΠ°ΠΊΠΈΡ ΠΊΠ°ΠΊ Β«ΠΠ»Π°ΡΡΠΈΠΊΒ», Β«Π²ΠΎΡΡΠΌΠ΅ΡΠΊΠΈΒ» ΠΈ Β«Π΄Π΅Π²ΡΡΠΊΠΈΒ», ΡΠ»Π΅ΠΊΡΡΠΈΡΠ΅ΡΠΊΠΈΠ΅ ΡΡΠ΅ΠΊΠ»ΠΎΠΏΠΎΠ΄ΡΠ΅ΠΌΠ½ΠΈΠΊΠΈ Π½Π΅ ΡΡΡΠ°Π½Π°Π²Π»ΠΈΠ²Π°Π»ΠΈΡΡ Ρ Π·Π°Π²ΠΎΠ΄Π°, Π²ΠΎΠ΄ΠΈΡΠ΅Π»Ρ ΠΈ ΠΏΠ°ΡΡΠ°ΠΆΠΈΡΠ°ΠΌ ΠΏΡΠΈΡ ΠΎΠ΄ΠΈΠ»ΠΎΡΡ Π²ΡΡΡΠ½ΡΡ ΠΎΠΏΡΡΠΊΠ°ΡΡ ΡΡΠ΅ΠΊΠ»ΠΎΠΏΠΎΠ΄ΡΠ΅ΠΌΠ½ΠΈΠΊΠΈ Π΄Π²Π΅ΡΠ΅ΠΉ Π² ΠΌΠ°ΡΠΈΠ½Π΅, ΡΡΠΎ Π² ΡΠ΅Π»ΠΎΠΌ Π½Π΅ΡΠ΄ΠΎΠ±Π½ΠΎ .
ΠΠΎ ΡΠ΅ΠΉΡΠ°Ρ Π½Π° ΡΡΠΈ Π°Π²ΡΠΎΠΌΠΎΠ±ΠΈΠ»ΠΈ ΡΠ»Π΅ΠΊΡΡΠΈΡΠ΅ΡΠΊΠΈΠ΅ ΡΡΠ΅ΠΊΠ»ΠΎΠΏΠΎΠ΄ΡΠ΅ΠΌΠ½ΠΈΠΊΠΈ (ΠΠ‘Π) ΠΏΡΠΎΠΈΠ·Π²ΠΎΠ΄ΡΡ ΡΠ°Π·Π½ΡΠ΅ ΠΊΠΎΠΌΠΏΠ°Π½ΠΈΠΈ, ΠΈ ΠΌΠ½ΠΎΠ³ΠΈΠ΅ Π°Π²ΡΠΎΠΌΠ°ΡΡΠ΅ΡΡΠΊΠΈΠ΅ ΠΌΠΎΠ³ΡΡ ΡΡΡΠ°Π½ΠΎΠ²ΠΈΡΡ ΠΌΠ΅Ρ Π°Π½ΠΈΠ·ΠΌΡ Π·Π° ΡΠΌΠ΅ΡΠ΅Π½Π½ΡΡ ΠΏΠ»Π°ΡΡ. Π£ΡΡΠ°Π½ΠΎΠ²ΠΈΡΡ ΡΠ»Π΅ΠΊΡΡΠΎΡΡΠ΅ΠΊΠ»ΠΎΠΏΠΎΠ΄ΡΠ΅ΠΌΠ½ΠΈΠΊΠΈ ΡΠ²ΠΎΠΈΠΌΠΈ ΡΡΠΊΠ°ΠΌΠΈ Π½Π΅ΡΠ»ΠΎΠΆΠ½ΠΎ, ΠΈ ΡΠ΅ Π°Π²ΡΠΎΠ²Π»Π°Π΄Π΅Π»ΡΡΡ, ΠΊΠΎΡΠΎΡΡΠ΅ ΠΈΠΌΠ΅ΡΡ ΡΠ»Π΅ΡΠ°ΡΠ½ΡΠ΅ Π½Π°Π²ΡΠΊΠΈ ΠΈ Π½Π΅ Ρ ΠΎΡΡΡ ΠΏΠ΅ΡΠ΅ΠΏΠ»Π°ΡΠΈΠ²Π°ΡΡ, Π΄Π΅Π»Π°ΡΡ ΡΡΡ ΡΠ°Π±ΠΎΡΡ ΡΠ²ΠΎΠΈΠΌΠΈ ΡΠΈΠ»Π°ΠΌΠΈ.
ΠΠ΅ΠΈΡΠΏΡΠ°Π²Π½ΠΎΡΡΠΈ ΠΌΠ΅Ρ Π°Π½ΠΈΡΠ΅ΡΠΊΠΈΡ ΡΡΠ΅ΠΊΠ»ΠΎΠΏΠΎΠ΄ΡΠ΅ΠΌΠ½ΠΈΠΊΠΎΠ² ΠΠΠ
ΠΠ΅Ρ Π°Π½ΠΈΡΠ΅ΡΠΊΠΈΠ΅ ΡΡΠ΅ΠΊΠ»ΠΎΠΏΠΎΠ΄ΡΠ΅ΠΌΠ½ΠΈΠΊΠΈ (ΠΠ‘Π) ΠΠΠ ΡΠΎ Π²ΡΠ΅ΠΌΠ΅Π½Π΅ΠΌ ΠΌΠΎΠ³ΡΡ Π²ΡΠΉΡΠΈ ΠΈΠ· ΡΡΡΠΎΡ, ΠΌΠ΅Ρ Π°Π½ΠΈΠ·ΠΌ ΠΏΠ΅ΡΠ΅ΡΡΠ°Π΅Ρ ΡΠ°Π±ΠΎΡΠ°ΡΡ — ΡΡΠ΅ΠΊΠ»ΠΎ Π½Π΅ ΠΎΠΏΡΡΠΊΠ°Π΅ΡΡΡ ΠΈ Π½Π΅ ΠΏΠΎΠ΄Π½ΠΈΠΌΠ°Π΅ΡΡΡ.ΠΡΠΈΡΠΈΠ½ Π½Π΅ΠΈΡΠΏΡΠ°Π²Π½ΠΎΡΡΠΈ Π‘ΠΠ ΠΌΠΎΠΆΠ΅Ρ Π±ΡΡΡ Π½Π΅ΡΠΊΠΎΠ»ΡΠΊΠΎ:
- ΠΎΠ±ΡΡΠ² ΠΊΠ°Π±Π΅Π»Ρ;
- ΠΏΠΎΡΡΠΎΡΠΎΠ½Π½ΠΈΡ ΠΏΡΠ΅Π΄ΠΌΠ΅ΡΠΎΠ² ΠΏΠΎΠΏΠ°Π»ΠΈ Π² Π½Π°ΠΏΡΠ°Π²Π»ΡΡΡΠΈΠ΅ ΡΡΠ΅ΠΊΠ»Π°;
- ΠΈΠ·Π½Π°ΡΠΈΠ²Π°Π΅ΡΡΡ ΠΊΠΎΡΠΎΠ±ΠΊΠ° ΠΏΠ΅ΡΠ΅Π΄Π°Ρ ΠΠ‘Π.
Π Π΅ΠΌΠΎΠ½ΡΠΈΡΠΎΠ²Π°ΡΡ ΠΌΠ΅Ρ Π°Π½ΠΈΡΠ΅ΡΠΊΠΈΠ΅ ΡΡΠ΅ΠΊΠ»ΠΎΠΏΠΎΠ΄ΡΠ΅ΠΌΠ½ΠΈΠΊΠΈ Π½Π° Π°Π²ΡΠΎΠΌΠΎΠ±ΠΈΠ»ΡΡ ΠΠΠ Π½Π΅Ρ ΡΠΌΡΡΠ»Π°, ΡΠ°ΠΊ ΠΊΠ°ΠΊ ΡΡΠΈ Π΄Π΅ΡΠ°Π»ΠΈ ΠΎΡΠ΅Π½Ρ Π½Π΅Π΄ΠΎΡΠΎΠ³ΠΈΠ΅ ΠΏΠΎ ΡΠ΅Π½Π΅, Π° ΠΏΡΠΈ ΠΏΠΎΠ»ΠΎΠΌΠΊΠ΅ Π»ΡΡΡΠ΅ ΡΡΠ°Π·Ρ ΡΡΡΠ°Π½ΠΎΠ²ΠΈΡΡ ΠΠ‘Π, Ρ ΠΎΡΡ Π±Ρ Π½Π° ΠΏΠ΅ΡΠ΅Π΄Π½ΠΈΠ΅ Π΄Π²Π΅ΡΠΈ.
Π£ΠΠ¦ΠΠ΄Π»Ρ Π°Π²ΡΠΎΠΌΠΎΠ±ΠΈΠ»Π΅ΠΉ ΠΠΠ 2101-07 ΠΈ 2108-2115 Π²ΡΠΏΡΡΠΊΠ°ΡΡΡΡ ΡΠ°Π·Π½ΡΠΌΠΈ ΠΊΠΎΠΌΠΏΠ°Π½ΠΈΡΠΌΠΈ — ΠΌΠ΅Ρ Π°Π½ΠΈΠ·ΠΌΡ ΠΌΠΎΠ³ΡΡ ΠΈΠΌΠ΅ΡΡ ΡΠ°Π·Π½ΡΡ ΠΊΠΎΠ½ΡΡΡΡΠΊΡΠΈΡ, ΠΏΡΠΎΠ΄Π°Π²Π°ΡΡΡΡ Π² ΠΊΠΎΠΌΠΏΠ»Π΅ΠΊΡΠ°Ρ Π½Π° Π΄Π²Π΅ ΠΈΠ»ΠΈ ΡΠ΅ΡΡΡΠ΅ Π΄Π²Π΅ΡΠΈ.ΠΠ΄ΠΈΠ½ Π·Π° Π΄ΡΡΠ³ΠΈΠΌ ΠΆΠΈΠ³ΡΠ»Π΅Π²ΡΠΊΠΈΠ΅ ΡΠ»Π΅ΠΊΡΡΠΎΡΡΠ΅ΠΊΠ»ΠΎΠΏΠΎΠ΄ΡΠ΅ΠΌΠ½ΠΈΠΊΠΈ ΠΏΡΠ°ΠΊΡΠΈΡΠ΅ΡΠΊΠΈ Π½Π΅ ΠΏΡΠΎΠ΄Π°ΡΡΡΡ, Π² ΠΌΠ°Π³Π°Π·ΠΈΠ½Π°Ρ ΠΌΠΎΠΆΠ½ΠΎ Π½Π°ΠΉΡΠΈ ΡΠΎΠ»ΡΠΊΠΎ ΠΌΠΎΡΠΎΡΡ ESP ΠΎΡΠ΄Π΅Π»ΡΠ½ΠΎ. Π‘ΡΠ΅Π΄ΠΈ Π½Π°ΠΈΠ±ΠΎΠ»Π΅Π΅ ΠΈΠ·Π²Π΅ΡΡΠ½ΡΡ ΠΏΡΠΎΠΈΠ·Π²ΠΎΠ΄ΠΈΡΠ΅Π»Π΅ΠΉ ΡΠ»Π΅ΠΊΡΡΠΈΡΠ΅ΡΠΊΠΈΡ ΡΡΠ΅ΠΊΠ»ΠΎΠΏΠΎΠ΄ΡΠ΅ΠΌΠ½ΡΡ ΠΌΠ΅Ρ Π°Π½ΠΈΠ·ΠΌΠΎΠ²:
ΠΡΠΎΠΌΡΡΠ»Π΅Π½Π½ΠΎΡΡΡ Π²ΡΠΏΡΡΠΊΠ°Π΅Ρ Π½Π΅ΡΠΊΠΎΠ»ΡΠΊΠΎ ΡΠΈΠΏΠΎΠ² ΠΠ¦Π Π΄Π»Ρ Π°Π²ΡΠΎΠΌΠΎΠ±ΠΈΠ»Π΅ΠΉ ΠΠΈΠ³ΡΠ»ΠΈ, Π° ΡΠ»Π΅ΠΊΡΡΠΈΡΠ΅ΡΠΊΠΈΠ΅ ΡΡΠ΅ΠΊΠ»ΠΎΠΏΠΎΠ΄ΡΠ΅ΠΌΠ½ΠΈΠΊΠΈ ΠΌΠΎΠ³ΡΡ Π±ΡΡΡ:
- ΠΏΠ»Π°Π½ΠΊΠ°;
- Π·ΡΠ±ΡΠ°ΡΠ°Ρ ΡΠ΅ΠΉΠΊΠ°; Π’ΠΈΠΏ ΠΊΠ°Π±Π΅Π»Ρ
- .
ΠΠ°ΠΆΠ΄Π°Ρ ΠΌΠΎΠ΄Π΅Π»Ρ ΡΡΠ΅ΠΊΠ»ΠΎΠΏΠΎΠ΄ΡΠ΅ΠΌΠ½ΠΈΠΊΠ° ΠΈΠΌΠ΅Π΅Ρ ΡΠ²ΠΎΠΈ ΠΎΡΠΎΠ±Π΅Π½Π½ΠΎΡΡΠΈ, Π΄ΠΎΡΡΠΎΠΈΠ½ΡΡΠ²Π° ΠΈ Π½Π΅Π΄ΠΎΡΡΠ°ΡΠΊΠΈ. Π‘Π»Π΅Π΄ΡΠ΅Ρ ΠΎΡΠΌΠ΅ΡΠΈΡΡ, ΡΡΠΎ Ρ ΡΠ°Π·Π½ΡΡ ΠΏΡΠΎΠΈΠ·Π²ΠΎΠ΄ΠΈΡΠ΅Π»Π΅ΠΉ ΠΌΠ΅Ρ Π°Π½ΠΈΠ·ΠΌΡ ESP ΠΊΠΎΠ½ΡΡΡΡΠΊΡΠΈΠ²Π½ΠΎ ΠΎΡΠ»ΠΈΡΠ°ΡΡΡΡ Π΄ΡΡΠ³ ΠΎΡ Π΄ΡΡΠ³Π°, Π° ΠΏΠΎΡΠΎΠΌΡ Π½Π΅ ΡΠ²Π»ΡΡΡΡΡ Π²Π·Π°ΠΈΠΌΠΎΠ·Π°ΠΌΠ΅Π½ΡΠ΅ΠΌΡΠΌΠΈ.ΠΠΎΠΌΠΏΠ»Π΅ΠΊΡΡ ΠΎΡΠ½ΠΎΡΠΈΡΠ΅Π»ΡΠ½ΠΎ Π½Π΅Π΄ΠΎΡΠΎΠ³ΠΈΠ΅, ΠΈ Π½Π°ΠΈΠ±ΠΎΠ»Π΅Π΅ ΠΏΠΎΠΏΡΠ»ΡΡΠ½ΡΠΌΠΈ ΡΠ²Π»ΡΡΡΡΡ ΠΊΠΎΠΌΠΏΠ»Π΅ΠΊΡΡ ESP Π΄Π»Ρ Π²Ρ ΠΎΠ΄Π½ΡΡ Π΄Π²Π΅ΡΠ΅ΠΉ. Π ΡΡΠ°Π½Π΄Π°ΡΡΠ½ΡΠΉ ΠΊΠΎΠΌΠΏΠ»Π΅ΠΊΡ ΡΡΠ΅ΠΊΠ»ΠΎΠΏΠΎΠ΄ΡΠ΅ΠΌΠ½ΠΈΠΊΠΎΠ² Π²Ρ ΠΎΠ΄ΡΡ:
- ΡΠ°ΠΌΠΈ ΠΏΠΎΠ΄ΡΠ΅ΠΌΠ½ΡΠ΅ ΠΌΠ΅Ρ Π°Π½ΠΈΠ·ΠΌΡ Π΄Π²Π΅ΡΠ΅ΠΉ Ρ ΠΌΠΎΡΠΎΡΠ°ΠΌΠΈ;
- Π΄Π²Π΅ ΠΊΠ½ΠΎΠΏΠΊΠΈ ΠΏΠΎΠ΄ΡΠ΅ΠΌΠ° ΠΎΠΊΠΎΠ½;
- ΠΏΡΠΎΠ²ΠΎΠ΄Π° Ρ Π·Π°Π³Π»ΡΡΠΊΠ°ΠΌΠΈ Π΄Π»Ρ ΠΏΠΎΠ΄ΠΊΠ»ΡΡΠ΅Π½ΠΈΡ;
- Π½Π΅ΠΎΠ±Ρ ΠΎΠ΄ΠΈΠΌΡΠΉ ΠΊΡΠ΅ΠΏΠ΅ΠΆ;
- Π·Π°Π³Π»ΡΡΠΊΠΈ.
ΠΡΠ°ΠΊΡΠΈΡΠ΅ΡΠΊΠΈ Π²ΡΠ΅ ΠΊΠΎΠΌΠΏΠ»Π΅ΠΊΡΡ ΡΠΎΠ΄Π΅ΡΠΆΠ°Ρ ΠΈΠ½ΡΡΡΡΠΊΡΠΈΠΈ ΠΏΠΎ ΡΡΡΠ°Π½ΠΎΠ²ΠΊΠ΅ Π΄Π΅ΡΠ°Π»Π΅ΠΉ Ρ ΠΏΠΎΠ΄ΠΊΠ»ΡΡΠ΅Π½ΠΈΡΠΌΠΈ ΡΠ»Π΅ΠΊΡΡΠΈΡΠ΅ΡΠΊΠΈΡ ΡΠ΅ΠΏΠ΅ΠΉ.
ΠΠ»Π΅ΠΊΡΡΠΎΡΡΠ΅ΠΊΠ»ΠΎΠΏΠΎΠ΄ΡΠ΅ΠΌΠ½ΠΈΠΊΠΈΠΏΡΠ΅Π΄Π½Π°Π·Π½Π°ΡΠ΅Π½Ρ Π΄Π»Ρ ΠΌΠΎΠ΄Π΅Π»Π΅ΠΉ 2104-05-07 ΠΏΠΎΠ΄Ρ ΠΎΠ΄ΡΡ Π΄Π»Ρ ΠΏΠ΅ΡΠ΅Π΄Π½ΠΈΡ Π΄Π²Π΅ΡΠ΅ΠΉ Π°Π²ΡΠΎΠΌΠΎΠ±ΠΈΠ»Ρ 2107, ΠΏΡΠΎΡΠ΅ Π²ΡΠ΅Π³ΠΎ ΡΠΌΠΎΠ½ΡΠΈΡΠΎΠ²Π°ΡΡ ΡΡΠΎΠ΅ΡΠ½ΡΡ ΠΊΠΎΠ½ΡΡΡΡΠΊΡΠΈΡ.ΠΠΎΠ½ΡΠ°ΠΆ ΡΠ΅Π΅ΡΠ½ΡΡ Π£ΠΠ¦Π Π²ΡΠΏΠΎΠ»Π½ΡΠ΅ΡΡΡ Π² ΡΠ»Π΅Π΄ΡΡΡΠ΅ΠΉ ΠΏΠΎΡΠ»Π΅Π΄ΠΎΠ²Π°ΡΠ΅Π»ΡΠ½ΠΎΡΡΠΈ:
Π‘ΠΎΠ±ΠΈΡΠ°Π΅ΠΌ Π΄Π²Π΅ΡΡ, ΠΈ Π½Π° ΡΡΠΎΠΌ ΡΡΡΠ°Π½ΠΎΠ²ΠΊΠ° ΡΡΠ΅ΠΊΠ»ΠΎΠΏΠΎΠ΄ΡΠ΅ΠΌΠ½ΠΈΠΊΠ° Π½Π° ΠΠΠ 2107.
Π ΠΎΡΠ»ΠΈΡΠΈΠ΅ ΠΎΡ ΡΡΠ΅ΠΊΠΎΠ» ΠΆΠΈΠ³ΡΠ»Π΅Π²ΡΠΊΠΎΠΉ Β«ΡΠ΅ΠΌΠ΅ΡΠΊΠΈΒ», Ρ ΠΌΠΎΠ΄Π΅Π»Π΅ΠΉ 2106 ΠΎΠΊΠ½Π° ΠΈΠΌΠ΅ΡΡ ΡΠΎΡΡΠΎΡΠΊΠΈ. ΠΠ° ΡΠ΅ΡΡΠ΅ΡΠΊΡ ΡΠ°ΠΊΠΆΠ΅ ΠΏΡΠΎΠΈΠ·Π²ΠΎΠ΄ΡΡΡΡ ΠΊΠΎΠΌΠΏΠ»Π΅ΠΊΡΡ ΠΏΠ΅ΡΠ΅Π΄Π½ΠΈΡ ΠΠ¦Π, Π΄Π΅ΡΠ°Π»ΠΈ ΡΡΡΠ°Π½Π°Π²Π»ΠΈΠ²Π°ΡΡΡΡ Π½Π° Π°Π²ΡΠΎΠΌΠΎΠ±ΠΈΠ»ΠΈ ΠΠΠ 2101/2102 (ΡΠ½ΠΈΠ²Π΅ΡΡΠ°Π») / 2103/2106. Π ΠΏΠ°ΠΊΠ΅Ρ Π€ΠΎΡΠ²Π°ΡΠ΄ Π²Ρ ΠΎΠ΄ΡΡ:
- Π΄Π²Π° ΡΡΠ΅ΠΊΠ»ΠΎΠΏΠΎΠ΄ΡΠ΅ΠΌΠ½ΠΈΠΊΠ°;
- Π²ΠΈΠ½ΡΡ, Π±ΠΎΠ»ΡΡ ΠΈ ΡΠ°ΠΉΠ±Ρ;
- Π·Π°Π³Π»ΡΡΠΊΠΈ Π΄Π΅ΠΊΠΎΡΠ°ΡΠΈΠ²Π½ΡΠ΅; Π₯ΠΎΠΌΡΡΡ
- ;
- ΠΏΠ΅ΡΠ΅Ρ ΠΎΠ΄Π½ΡΠ΅ ΠΏΠ»Π°ΡΡΠΈΠ½Ρ;
- ΠΏΡΠΎΠ²ΠΎΠ΄Π° Ρ ΡΠ°Π·ΡΠ΅ΠΌΠ°ΠΌΠΈ Π΄Π»Ρ ΠΏΠΎΠ΄ΠΊΠ»ΡΡΠ΅Π½ΠΈΡ;
- Π΄Π²Π΅ ΠΊΠ½ΠΎΠΏΠΊΠΈ.
Π£ΡΡΠ°Π½ΠΎΠ²ΠΊΠ° ESP ΠΏΡΠΎΠ²ΠΎΠ΄ΠΈΡΡΡ ΡΠ°ΠΊ ΠΆΠ΅, ΠΊΠ°ΠΊ Π½Π° Π°Π²ΡΠΎΠΌΠΎΠ±ΠΈΠ»Π΅ 2107, ΡΠ°Π±ΠΎΡΡ Π½Π°ΡΠΈΠ½Π°Π΅ΠΌ Ρ ΡΠ°Π·Π±ΠΎΡΠΊΠΈ Π΄Π²Π΅ΡΠΈ. Π‘ΡΠ°ΡΡΠΉ ΡΡΠ΅ΠΊΠ»ΠΎΠΏΠΎΠ΄ΡΠ΅ΠΌΠ½ΠΈΠΊ ΠΌΠΎΠΆΠ½ΠΎ ΠΎΡΡΠ°Π²ΠΈΡΡ Π½Π° ΠΌΠ΅ΡΡΠ΅, ΠΏΠ΅ΡΠ΅ΡΠ΅Π·Π°Π² ΡΡΠΎΡΡ ΠΌΠ΅Ρ Π°Π½ΠΈΠ·ΠΌΠ°. ΠΠ°Π»Π΅Π΅ Π΄Π΅ΠΉΡΡΠ²ΡΠ΅ΠΌ ΡΠ»Π΅Π΄ΡΡΡΠΈΠΌ ΠΎΠ±ΡΠ°Π·ΠΎΠΌ:
Π£ΡΡΠ°Π½ΠΎΠ²ΠΈΡΡ ΡΠ»Π΅ΠΊΡΡΠΈΡΠ΅ΡΠΊΠΈΠ΅ ΡΡΠ΅ΠΊΠ»ΠΎΠΏΠΎΠ΄ΡΠ΅ΠΌΠ½ΠΈΠΊΠΈ Π½Π° ΠΠΠ 2106 Π½Π΅ΡΠ»ΠΎΠΆΠ½ΠΎ, Π½ΡΠΆΠ½ΠΎ Π»ΠΈΡΡ ΡΠ΄Π΅Π»Π°ΡΡ Π²ΡΠ΅ ΠΏΠΎ ΠΈΠ½ΡΡΡΡΠΊΡΠΈΠΈ.
ΠΠ° Π°Π²ΡΠΎΠΌΠΎΠ±ΠΈΠ»ΠΈ 2108-09-099 ΡΠ°ΠΊΠΆΠ΅ Π΄ΠΎΠ²ΠΎΠ»ΡΠ½ΠΎ ΠΏΡΠΎΡΡΠΎ ΡΡΡΠ°Π½ΠΎΠ²ΠΈΡΡ ΠΏΠ΅ΡΠ΅Π΄Π½ΠΈΠΉ ΡΡΠ΅ΠΊΠ»ΠΎΠΏΠΎΠ΄ΡΠ΅ΠΌΠ½ΠΈΠΊ, Π² ΠΊΠ°ΡΠ΅ΡΡΠ²Π΅ ΠΏΡΠΈΠΌΠ΅ΡΠ° Π²ΠΎΠ·ΡΠΌΠ΅ΠΌ ΡΡΡΠ°Π½ΠΎΠ²ΠΊΡ ΠΏΠ»Π°Π½ΠΊΠΈ ΡΠΈΠΏΠ° ESP (ΠΏΡΠΎΠΈΠ·Π²ΠΎΠ΄ΡΡΠ²Π° Β«ΠΡΠ°Π½Π°ΡΒ»).
Π Π°Π±ΠΎΡΠ°Π΅ΠΌ ΠΌΡ ΠΏΠΎ ΡΠ»Π΅Π΄ΡΡΡΠ΅ΠΉ ΡΡ Π΅ΠΌΠ΅:
ΠΠ»Π΅ΠΊΡΡΠΎΡΡΠ΅ΠΊΠ»ΠΎΠΏΠΎΠ΄ΡΠ΅ΠΌΠ½ΠΈΠΊΠΈ Ρ ΠΌΠΎΠ΄Π΅Π»Π΅ΠΉ ΠΠΠ 2110/2111/2112 ΡΠ°ΠΊΠΈΠ΅ ΠΆΠ΅, Π½Π° Π°Π²ΡΠΎΠΌΠΎΠ±ΠΈΠ»ΡΡ
ΠΡΠΈΠΎΡΠ° ΡΠ°ΠΊΠΈΠ΅ ΠΆΠ΅. Π‘Π°ΠΌΡΠΌΠΈ ΠΏΠΎΠΏΡΠ»ΡΡΠ½ΡΠΌΠΈ Π½Π° ΡΡΠΈΡ
Π°Π²ΡΠΎΠΌΠΎΠ±ΠΈΠ»ΡΡ
ΡΠ²Π»ΡΡΡΡΡ ΠΠ¦Π ΠΏΡΠΎΠΈΠ·Π²ΠΎΠ΄ΡΡΠ²Π° Π€ΠΎΡΠ²Π°ΡΠ΄ ΠΈ ΠΡΠ°Π½Π°Ρ, ΠΊΠΎΡΠΎΡΡΠ΅ ΡΠ°ΡΠ΅ Π²ΡΠ΅Π³ΠΎ ΠΈΡΠΏΠΎΠ»ΡΠ·ΡΡΡΡΡ Π°Π²ΡΠΎΠ²Π»Π°Π΄Π΅Π»ΡΡΠ°ΠΌΠΈ Π½Π° ΡΠ²ΠΎΠΈΡ
Π°Π²ΡΠΎΠΌΠΎΠ±ΠΈΠ»ΡΡ
. ΠΠ°ΠΌΠ΅Π½Π° Π»ΠΈΡΡΠΎΠ² ΠΏΡΠΎΠ²ΠΎΠ΄ΠΈΡΡΡ ΡΠ°ΠΊ ΠΆΠ΅, ΠΊΠ°ΠΊ ΠΈ Π² ΠΠΠΠ΅ Β«Π΄Π΅Π²ΡΡΠΊΠΈΒ» (Β«Π²ΠΎΡΡΠΌΠ΅ΡΠΊΠΈΒ»), ΡΠΎΠ»ΡΠΊΠΎ ΠΊΡΠ΅ΠΏΠ»Π΅Π½ΠΈΡ Π½Π°Ρ
ΠΎΠ΄ΡΡΡΡ Π² Π΄ΡΡΠ³ΠΈΡ
ΠΌΠ΅ΡΡΠ°Ρ
. Π§ΡΠΎΠ±Ρ ΡΠ½ΡΡΡ ΠΌΠ΅Ρ
Π°Π½ΠΈΡΠ΅ΡΠΊΠΈΠΉ ΠΏΠΎΠ΄ΡΠ΅ΠΌΠ½ΠΈΠΊ, Π½Π΅ΠΎΠ±Ρ
ΠΎΠ΄ΠΈΠΌΠΎ Π²ΡΠ²Π΅ΡΡΠΈ ΠΎΠ΄ΠΈΠ½ Π΅Π³ΠΎ ΡΠ³ΠΎΠ» ΡΠ΅ΡΠ΅Π· Π²Π΅ΡΡ
Π½ΠΈΠΉ ΠΏΡΠΎΠ΅ΠΌ Π΄Π²Π΅ΡΠΈ, Π° Π·Π°ΡΠ΅ΠΌ Π²ΡΡΠ°ΡΠΈΡΡ Π²Π΅ΡΡ ΠΌΠ΅Ρ
Π°Π½ΠΈΠ·ΠΌ.
ΠΡΠΈ ΡΡΡΠ°Π½ΠΎΠ²ΠΊΠ΅ ΡΠ»Π΅ΠΊΡΡΠΎΡΡΠ΅ΠΊΠ»ΠΎΠΏΠΎΠ΄ΡΠ΅ΠΌΠ½ΠΈΠΊΠΎΠ² ΠΠΠ 2110 ΡΠ²Π΅ΡΠ»ΠΈΡΡ Π²Π½ΡΡΡΠ΅Π½Π½ΠΈΠ΅ ΠΏΠ°Π½Π΅Π»ΠΈ ΠΏΠ΅ΡΠ΅Π΄Π½ΠΈΡ Π΄Π²Π΅ΡΠ΅ΠΉ Π½Π΅ Π½ΡΠΆΠ½ΠΎ, ΠΌΠ΅Ρ Π°Π½ΠΈΠ·ΠΌΡ ΠΊΡΠ΅ΠΏΡΡΡΡ Π½Π° ΡΡΠ°ΡΠ½ΡΠ΅ ΠΌΠ΅ΡΡΠ° Π±Π΅Π· Π΄ΠΎΡΠ°Π±ΠΎΡΠΎΠΊ.
Π‘ΡΠ΅ΠΊΠ»ΠΎΠΏΠΎΠ΄ΡΠ΅ΠΌΠ½ΠΈΠΊΠΈ Π·Π°Π΄Π½ΠΈΠ΅ Π΄Π»Ρ Π°Π²ΡΠΎΠΌΠΎΠ±ΠΈΠ»Π΅ΠΉ ΠΠΠ ΡΠ°ΠΊΠΆΠ΅ ΠΏΡΠΎΠ΄Π°ΡΡΡΡ ΠΊΠΎΠΌΠΏΠ»Π΅ΠΊΡΠ°ΠΌΠΈ ΠΏΠΎ 2 ΡΡ. ΠΠ»Ρ ΠΏΠ΅ΡΠ΅Π΄Π½Π΅ΠΏΡΠΈΠ²ΠΎΠ΄Π½ΡΡ Π°Π²ΡΠΎΠΌΠΎΠ±ΠΈΠ»Π΅ΠΉ ESP 2109 ΠΏΠΎΠ΄Ρ ΠΎΠ΄ΠΈΡ Π΄Π»Ρ ΠΌΠΎΠ΄Π΅Π»ΠΈ 21099/2114/2115, Π΄Π»Ρ 2108 ΡΡΠΈ Π΄Π΅ΡΠ°Π»ΠΈ Π½Π΅ ΠΏΡΠΎΠΈΠ·Π²ΠΎΠ΄ΡΡΡΡ, ΡΠ°ΠΊ ΠΊΠ°ΠΊ Ρ Β«Π²ΠΎΡΡΠΌΠ΅ΡΠΊΠΈΒ» Π½Π΅Ρ Π·Π°Π΄Π½ΠΈΡ Π±ΠΎΠΊΠΎΠ²ΡΡ Π΄Π²Π΅ΡΠ΅ΠΉ. Π ΠΊΠΎΠΌΠΏΠ»Π΅ΠΊΡ ΠΠΠ 2109 Β«Π€ΠΎΡΠ²Π°ΡΠ΄Β» Π²Ρ ΠΎΠ΄ΡΡ:
- Π΄Π²Π° Π»ΠΈΡΡΠ° Ρ ΡΠ»Π΅ΠΊΡΡΠΎΠ΄Π²ΠΈΠ³Π°ΡΠ΅Π»ΡΠΌΠΈ;
- ΠΏΡΠ³ΠΎΠ²ΠΈΡΡ 2 ΡΡ.;
- ΡΠ»Π΅ΠΊΡΡΠΎΠΏΡΠΎΠ²ΠΎΠ΄ΠΊΠΈ Π½Π° ΠΊΠ°ΠΆΠ΄ΡΡ Π·Π°Π΄Π½ΡΡ Π΄Π²Π΅ΡΡ Ρ Π·Π°Π³Π»ΡΡΠΊΠ°ΠΌΠΈ; ΠΡΠ΅ΠΏΠ΅ΠΆ
- — ΡΠ°ΠΌΠΎΡΠ΅Π·Ρ;
- Π·Π°Π³Π»ΡΡΠΊΠΈ Π΄Π΅ΠΊΠΎΡΠ°ΡΠΈΠ²Π½ΡΠ΅;
- ΠΈΠ½ΡΡΡΡΠΊΡΠΈΡ ΠΏΠΎ ΡΡΡΠ°Π½ΠΎΠ²ΠΊΠ΅, ΠΏΠ°ΡΠΏΠΎΡΡ.
Π‘ΡΠ΅ΠΊΠ»ΠΎΠΏΠΎΠ΄ΡΠ΅ΠΌΠ½ΠΈΠΊΠΈ 2109 Π·Π°Π΄Π½ΠΈΠ΅ ΡΡΡΠ°Π½Π°Π²Π»ΠΈΠ²Π°ΡΡΡΡ Π½Π° ΠΏΡΠ΅ΠΆΠ½ΠΈΠ΅ ΠΌΠ΅ΡΡΠ° Π±Π΅Π· ΡΠ²Π΅ΡΠ»Π΅Π½ΠΈΡ Π΄Π²Π΅ΡΠ΅ΠΉ, ΠΊΠ°ΠΆΠ΄ΡΠΉ ΠΈΠ· Π½ΠΈΡ
ΠΊΡΠ΅ΠΏΠΈΡΡΡ Π΄Π²ΡΠΌΡ Π³Π°ΠΉΠΊΠ°ΠΌΠΈ.
ΠΠ»Π΅ΠΊΡΡΠΎΡΡΠ΅ΠΊΠ»ΠΎΠΏΠΎΠ΄ΡΠ΅ΠΌΠ½ΠΈΠΊΠΈ «Π€ΠΎΡΠ²Π°ΡΠ΄» ΠΏΡΠΎΠΈΠ·Π²ΠΎΠ΄ΡΡΡΡ Π² Π³. ΠΠΆΠ΅Π²ΡΠΊΠ΅, Π΄Π΅ΡΠ°Π»ΠΈ Π·ΡΠ±ΡΠ°ΡΠΎ-ΡΠ΅Π΅ΡΠ½ΡΠ΅ — ΠΊΠ°ΡΠ΅ΡΠΊΠ° Π΄Π²ΠΈΠΆΠ΅ΡΡΡ ΠΏΠΎ ΡΠ΅Π»ΡΡΡ Π²ΠΌΠ΅ΡΡΠ΅ ΡΠΎ ΡΡΠ΅ΠΊΠ»ΠΎΠΌ.ΠΠ»Ρ ΠΌΠΎΠ΄Π΅Π»Π΅ΠΉ Π°Π²ΡΠΎΠΌΠΎΠ±ΠΈΠ»Π΅ΠΉ 2110/2111/2112 Π½ΠΈΡΠ΅Π³ΠΎ ΠΏΠΎΠ²ΡΠΎΡΠ½ΠΎ ΡΠ²Π΅ΡΠ»ΠΈΡΡ Π½Π΅ Π½ΡΠΆΠ½ΠΎ — ΠΌΠ΅Ρ Π°Π½ΠΈΠ·ΠΌΡ Π²ΡΡΠ°ΡΡ Π½Π° ΠΌΠ΅ΡΡΠΎ Π±Π΅Π· Π΄ΠΎΠΏΠΎΠ»Π½ΠΈΡΠ΅Π»ΡΠ½ΠΎΠΉ ΡΠ΅Π³ΡΠ»ΠΈΡΠΎΠ²ΠΊΠΈ.
ΠΠ° Π°Π²ΡΠΎΠΌΠΎΠ±ΠΈΠ»ΠΈ ΠΠΠ 2101-07 ΡΡΡΠ°Π½Π°Π²Π»ΠΈΠ²Π°ΡΡΡΡ ΡΠ»Π΅ΠΊΡΡΠΎΠΏΠΎΠ΄ΡΠ΅ΠΌΠ½ΠΈΠΊΠΈ Ρ Π΄ΠΎΠΏΠΎΠ»Π½ΠΈΡΠ΅Π»ΡΠ½ΡΠΌ Π²ΡΡΠ²Π΅ΡΠ»ΠΈΠ²Π°Π½ΠΈΠ΅ΠΌ Π΄Π²ΡΡ ΠΎΡΠ²Π΅ΡΡΡΠΈΠΉ. Π Π°Π±ΠΎΡΠ° ΠΏΠΎ ΡΡΡΠ°Π½ΠΎΠ²ΠΊΠ΅ Π·Π°Π΄Π½ΠΈΡ ΠΏΠΎΠ΄ΡΠ΅ΠΌΠ½ΠΈΠΊΠΎΠ² ΠΏΡΠΎΡΡΠ°, ΠΈ ΠΏΡΠ°ΠΊΡΠΈΡΠ΅ΡΠΊΠΈ Π½Π΅ ΠΎΡΠ»ΠΈΡΠ°Π΅ΡΡΡ ΠΎΡ ΡΡΡΠ°Π½ΠΎΠ²ΠΊΠΈ ΠΏΠ΅ΡΠ΅Π΄Π½ΠΈΡ ΠΠ‘Π.
ΠΠ° Π½Π΅ΠΊΠΎΡΠΎΡΡΡ ΠΌΠΎΠ΄Π΅Π»ΡΡ ΠΠΠ, Π² ΡΠΈΡΠ»ΠΎ ΠΊΠΎΡΠΎΡΡΡ Π²Ρ ΠΎΠ΄ΠΈΡ Β«ΡΠ΅ΠΌΠ΅ΡΠΊΠ°Β», ΡΠ»Π΅ΠΊΡΡΠΈΡΠ΅ΡΠΊΠΈΠ΅ ΡΡΠ΅ΠΊΠ»ΠΎΠΏΠΎΠ΄ΡΠ΅ΠΌΠ½ΠΈΠΊΠΈ Π² Π·Π°Π²ΠΎΠ΄ΡΠΊΠΈΡ ΡΡΠ»ΠΎΠ²ΠΈΡΡ Π½Π΅ ΡΡΡΠ°Π½Π°Π²Π»ΠΈΠ²Π°Π»ΠΈΡΡ. Π’Π΅ΠΌ, ΠΊΡΠΎ Π½Π°Ρ ΠΎΠ΄ΠΈΠ»ΡΡ Π² ΠΌΠ°ΡΠΈΠ½Π΅, ΠΏΡΠΈΡ ΠΎΠ΄ΠΈΠ»ΠΎΡΡ Π²ΡΡΡΠ½ΡΡ ΠΎΠΏΡΡΠΊΠ°ΡΡ Π΄Π²Π΅ΡΠ½ΡΠ΅ ΡΡΠ΅ΠΊΠ»Π°, ΡΡΠΎ Π±ΡΠ»ΠΎ Π½Π΅ ΡΠΎΠ²ΡΠ΅ΠΌ ΡΠ΄ΠΎΠ±Π½ΠΎ.ΠΠ° ΡΠ΅Π³ΠΎΠ΄Π½ΡΡΠ½ΠΈΠΉ Π΄Π΅Π½Ρ Π΄Π»Ρ ΡΠ°ΠΊΠΈΡ ΠΌΠ°ΡΠΈΠ½ ΡΠ»Π΅ΠΊΡΡΠΈΡΠ΅ΡΠΊΠΈΠ΅ ΡΡΠ΅ΠΊΠ»ΠΎΠΏΠΎΠ΄ΡΠ΅ΠΌΠ½ΠΈΠΊΠΈ (ΠΠ‘Π) ΠΏΡΠΎΠΈΠ·Π²ΠΎΠ΄ΡΡΡΡ ΡΠ°Π·Π½ΡΠΌΠΈ ΡΠΈΡΠΌΠ°ΠΌΠΈ, ΠΈ Π² Π°Π²ΡΠΎΠΌΠ°ΡΡΠ΅ΡΡΠΊΠΈΡ ΡΠ°ΠΊΠΈΠ΅ ΠΌΠ΅Ρ Π°Π½ΠΈΠ·ΠΌΡ ΠΌΠΎΠΆΠ½ΠΎ ΡΡΡΠ°Π½ΠΎΠ²ΠΈΡΡ ΠΏΠΎ ΡΠ°Π·ΡΠΌΠ½ΠΎΠΉ ΡΠ΅Π½Π΅. ΠΠΎ Π΅ΡΠ»ΠΈ Π²Ρ Π·Π½Π°ΠΊΠΎΠΌΡ Ρ ΡΠ°Π½ΡΠ΅Ρ Π½ΠΈΠΊΠΎΠΉ, ΡΠΎ Π²ΡΠΏΠΎΠ»Π½ΠΈΡΡ ΡΠ°ΠΊΠΈΠ΅ ΡΠ°Π±ΠΎΡΡ ΡΠ²ΠΎΠΈΠΌΠΈ ΡΠΈΠ»Π°ΠΌΠΈ Π²ΠΏΠΎΠ»Π½Π΅ Π²ΠΎΠ·ΠΌΠΎΠΆΠ½ΠΎ.
Π’ΠΈΠΏΡ ESP
ΠΠ»Ρ Β«ΠΠΈΠ³ΡΠ»Π΅ΠΉΒ» Π½Π° ΡΠ΅Π³ΠΎΠ΄Π½ΡΡΠ½ΠΈΠΉ Π΄Π΅Π½Ρ Π²ΡΠΏΡΡΠΊΠ°Π΅ΡΡΡ Π½Π΅ΡΠΊΠΎΠ»ΡΠΊΠΎ ΠΌΠΎΠ΄ΠΈΡΠΈΠΊΠ°ΡΠΈΠΉ ΡΠ»Π΅ΠΊΡΡΠΎΡΡΠ΅ΠΊΠ»ΠΎΠΏΠΎΠ΄ΡΠ΅ΠΌΠ½ΠΈΠΊΠΎΠ²:
ΠΠ°ΠΆΠ΄Π°Ρ ΠΌΠΎΠ΄Π΅Π»Ρ ΠΎΡΠ»ΠΈΡΠ°Π΅ΡΡΡ ΡΠ²ΠΎΠΈΠΌΠΈ ΠΎΡΠΎΠ±Π΅Π½Π½ΠΎΡΡΡΠΌΠΈ, Π΄ΠΎΡΡΠΎΠΈΠ½ΡΡΠ²Π°ΠΌΠΈ ΠΈ Π½Π΅Π΄ΠΎΡΡΠ°ΡΠΊΠ°ΠΌΠΈ, ΡΡΠΎ ΠΎΠΏΡΠ΅Π΄Π΅Π»ΡΠ΅Ρ ΡΡΡΠ°Π½ΠΎΠ²ΠΊΡ ΡΡΠ΅ΠΊΠ»ΠΎΠΏΠΎΠ΄ΡΠ΅ΠΌΠ½ΠΈΠΊΠΎΠ² Π½Π° ΠΠΠ 2107.
Π‘Π»Π΅Π΄ΡΠ΅Ρ ΠΎΡΠΌΠ΅ΡΠΈΡΡ, ΡΡΠΎ ΠΌΠ΅Ρ Π°Π½ΠΈΠ·ΠΌΡ ΡΠ°Π·Π½ΡΡ ΠΏΡΠΎΠΈΠ·Π²ΠΎΠ΄ΠΈΡΠ΅Π»Π΅ΠΉ ΠΊΠΎΠ½ΡΡΡΡΠΊΡΠΈΠ²Π½ΠΎ ΡΠ°Π·Π»ΠΈΡΠ°ΡΡΡΡ, ΠΏΠΎ ΡΡΠΎΠΉ ΠΏΡΠΈΡΠΈΠ½Π΅ ΠΈΡ Π½Π΅ ΡΠ»Π΅Π΄ΡΠ΅Ρ ΡΡΠΈΡΠ°ΡΡ Π²Π·Π°ΠΈΠΌΠΎΠ·Π°ΠΌΠ΅Π½ΡΠ΅ΠΌΡΠΌΠΈ. Π‘ΡΠΎΠΈΠΌΠΎΡΡΡ ΠΊΠΎΠΌΠΏΠ»Π΅ΠΊΡΠΎΠ² Π½Π΅ ΠΎΡΠ΅Π½Ρ Π²ΡΡΠΎΠΊΠ°, Π° Π½Π°ΠΈΠ±ΠΎΠ»ΡΡΠ΅ΠΉ ΠΏΠΎΠΏΡΠ»ΡΡΠ½ΠΎΡΡΡΡ ΠΏΠΎΠ»ΡΠ·ΡΡΡΡΡ ΠΏΠ΅ΡΠ΅Π΄Π½ΠΈΠ΅ ΠΏΠΎΠ΄ΡΠ΅ΠΌΠ½ΠΈΠΊΠΈ Π΄Π»Ρ ΠΏΠ΅ΡΠ΅Π΄Π½ΠΈΡ ΠΎΠΊΠΎΠ½. Π ΡΡΠ°Π½Π΄Π°ΡΡΠ½ΡΡ ΠΊΠΎΠΌΠΏΠ»Π΅ΠΊΡΠ°ΡΠΈΡ ΡΠ»Π΅ΠΊΡΡΠΎΠ»ΠΈΡΡΠ° Π²Ρ ΠΎΠ΄ΡΡ:
- ΠΏΠΎΠ΄ΡΠ΅ΠΌΠ½ΡΠΉ ΠΌΠ΅Ρ Π°Π½ΠΈΠ·ΠΌ Ρ ΠΌΠΎΡΠΎΡΠ°ΠΌΠΈ;
- ΠΊΠ½ΠΎΠΏΠΊΠΈ ΡΠΏΡΠ°Π²Π»Π΅Π½ΠΈΡ;
- ΡΠ»Π΅ΠΊΡΡΠΎΠΏΡΠΎΠ²ΠΎΠ΄ΠΊΠ° ΡΠΎ ΡΡΠ΅ΠΊΠ΅ΡΠ½ΡΠΌΠΈ ΡΡΡΡΠΎΠΉΡΡΠ²Π°ΠΌΠΈ;
- ΠΊΡΠ΅ΠΏΠ΅ΠΆΠ½ΡΠ΅ ΠΈΠ·Π΄Π΅Π»ΠΈΡ;
- Π·Π°Π³Π»ΡΡΠΊΠΈ.
ΠΡΠΎΠΌΠ΅ ΡΠΎΠ³ΠΎ, Π² ΠΊΠΎΠΌΠΏΠ»Π΅ΠΊΡ ΠΏΠΎΡΡΠ°Π²ΠΊΠΈ Π²Ρ ΠΎΠ΄ΠΈΡ ΠΈΠ½ΡΡΡΡΠΊΡΠΈΡ ΡΠΎ ΡΡ Π΅ΠΌΠΎΠΉ ΡΠ»Π΅ΠΊΡΡΠΈΡΠ΅ΡΠΊΠΈΡ ΡΠΎΠ΅Π΄ΠΈΠ½Π΅Π½ΠΈΠΉ.
ΠΡΠΈΡΠΈΠ½Ρ Π½Π΅ΠΎΠ±Ρ ΠΎΠ΄ΠΈΠΌΠΎΡΡΠΈ Π·Π°ΠΌΠ΅Π½Ρ Π·Π²Π΅Π½ΡΠ΅Π² ΠΏΠΎΠ΄ΡΠ΅ΠΌΠ½ΠΈΠΊΠΎΠ²
ΠΠ΅Ρ Π°Π½ΠΈΡΠ΅ΡΠΊΠΈΠ΅ ΠΏΠΎΠ΄ΡΠ΅ΠΌΠ½ΠΈΠΊΠΈ ΡΡΠ΅ΠΊΠ»Π° Π²ΡΡ ΠΎΠ΄ΡΡ ΠΈΠ· ΡΡΡΠΎΡ ΠΈΠ·-Π·Π° Π΄Π»ΠΈΡΠ΅Π»ΡΠ½ΠΎΠΉ ΡΠΊΡΠΏΠ»ΡΠ°ΡΠ°ΡΠΈΠΈ, ΡΡΠ΅ΠΊΠ»ΠΎ ΠΏΠ΅ΡΠ΅ΡΡΠ°Π΅Ρ ΠΎΠΏΡΡΠΊΠ°ΡΡΡΡ ΠΈΠ»ΠΈ ΠΏΠΎΠ΄Π½ΠΈΠΌΠ°ΡΡΡΡ. ΠΡΠΎ ΡΠ²ΡΠ·Π°Π½ΠΎ Ρ:
ΠΠ΅Ρ ΡΠΌΡΡΠ»Π° ΠΏΡΠΎΠ²ΠΎΠ΄ΠΈΡΡ ΡΠ΅ΠΌΠΎΠ½Ρ Π² ΡΠ°ΠΊΠΈΡ ΡΠΈΡΡΠ°ΡΠΈΡΡ , ΡΠ΅ΠΊΠΎΠΌΠ΅Π½Π΄ΡΠ΅ΡΡΡ ΡΡΠ°Π·Ρ ΡΡΡΠ°Π½ΠΎΠ²ΠΈΡΡ ΡΠ»Π΅ΠΊΡΡΠΈΡΠ΅ΡΠΊΠΈΠ΅ ΡΡΠ΅ΠΊΠ»ΠΎΠΏΠΎΠ΄ΡΠ΅ΠΌΠ½ΠΈΠΊΠΈ.
Π£ΡΡΡΠΎΠΉΡΡΠ²ΠΎ ESP
Π ΡΡΠΎΠΌ Π½Π΅Ρ Π½ΠΈΡΠ΅Π³ΠΎ ΡΠ»ΠΎΠΆΠ½ΠΎΠ³ΠΎ. Π Π΄ΠΈΠ·Π°ΠΉΠ½ Π²Ρ ΠΎΠ΄ΡΡ:
- ΡΡΡΠΊΠ° ΠΏΠΎΠ΄ΡΠ΅ΠΌΠ°;
- ΠΎΠ±Π»ΠΈΡΠΎΠ²ΠΎΡΠ½ΡΠΉ ΡΠ»Π΅ΠΌΠ΅Π½Ρ; Π ΠΎΠ·Π΅ΡΠΊΠ°
- ; ΠΠΎΠ΄ΡΠ΅ΠΌΠ½ΠΎΠ΅ ΡΡΡΡΠΎΠΉΡΡΠ²ΠΎ
- ;
- Π²Π΅ΡΡ Π½ΠΈΡ ΡΠΎΠ»ΠΈΠΊΠΎΠ²ΡΡ ΡΠ»Π΅ΠΌΠ΅Π½ΡΠΎΠ²;
- Π²ΠΈΠ½ΡΡ Π΄Π»Ρ ΠΊΡΠ΅ΠΏΠ»Π΅Π½ΠΈΡ ΠΏΠ»Π°ΡΡΠΈΠ½;
- ΡΠ°ΡΠ΅Π»ΠΎΠΊ;
- ΠΊΡΠΎΠ½ΡΡΠ΅ΠΉΠ½;
- ΡΡΠ΅ΠΊΠ»ΠΎ; ΠΠ°Π±Π΅Π»Ρ
- ;
- ΡΠΎΠ»ΠΈΠΊΠΈ Π½ΠΈΠΆΠ½ΠΈΠ΅;
- Π±ΠΎΠ»ΡΠΎΠ²;
- Π½Π°ΡΡΠΆΠ½ΡΠ΅ ΡΠΎΠ»ΠΈΠΊΠΈ.
ΠΠΎΡΠ»Π΅Π΄ΠΎΠ²Π°ΡΠ΅Π»ΡΠ½ΠΎΡΡΡ Π΄Π΅ΠΉΡΡΠ²ΠΈΠΉ ΠΏΡΠΈ ΡΡΡΠ°Π½ΠΎΠ²ΠΊΠ΅ ESP, Π²ΠΈΠ΄Π΅ΠΎΡΡΠΎΠΊ
ΠΠ»Ρ ΠΏΡΠΎΠ²Π΅Π΄Π΅Π½ΠΈΡ Π²ΡΠ΅Ρ
ΡΠ°Π±ΠΎΡ Π²Π°ΠΌ ΠΏΠΎΠ½Π°Π΄ΠΎΠ±ΠΈΡΡΡ Π½Π°Π±ΠΎΡ ΠΎΡΠ²Π΅ΡΡΠΎΠΊ, ΡΠΎΡΡΠ΅Π²ΡΠ΅ ΠΊΠ»ΡΡΠΈ Π½Π° 8 ΠΈ 10 ΠΌΠΌ, ΡΠΊΠΎΡΡ Π΄Π»Ρ ΠΏΠΎΠΊΡΠ°ΡΠΊΠΈ, ΠΌΠ΅ΡΡΠΎΠ²ΡΠΉ ΠΊΡΡΠΎΠΊ ΡΡΠ°Π»ΡΠ½ΠΎΠΉ ΠΏΡΠΎΠ²ΠΎΠ»ΠΎΠΊΠΈ.
ΠΠ»Ρ Π½Π°ΡΠ°Π»Π° Π½ΡΠΆΠ½ΠΎ ΠΎΡΠΊΠ»ΡΡΠΈΡΡ ΠΌΠ°ΡΡΡ Π½Π° Π°ΠΊΠΊΡΠΌΡΠ»ΡΡΠΎΡΠ΅. ΠΠΎΡΠΊΠΎΠ»ΡΠΊΡ ΡΠ΅Π΅ΡΠ½Π°Ρ ΠΊΠΎΠ½ΡΡΡΡΠΊΡΠΈΡ Π²Ρ
ΠΎΠ΄Π½ΡΡ
Π΄Π²Π΅ΡΠ΅ΠΉ Ρ Β«ΡΠ΅ΠΌΠ΅ΡΠΊΠΈΒ» Π»ΡΡΡΠ΅ ΠΎΡΡΠ°Π»ΡΠ½ΡΡ
, ΡΠ°Π·Π±Π΅ΡΠ΅ΠΌ ΠΏΠΎΡΠ»Π΅Π΄ΠΎΠ²Π°ΡΠ΅Π»ΡΠ½ΠΎΡΡΡ ΡΠ°Π±ΠΎΡΡ Π½Π° Π΅Π΅ ΠΏΡΠΈΠΌΠ΅ΡΠ΅.
Π ΡΠ°Π»ΠΎΠ½Π΅ Π΄Π²Π΅ΡΡ Π² ΡΠ°Π·ΠΎΠ±ΡΠ°Π½Π½ΠΎΠΌ Π²ΠΈΠ΄Π΅; Π΄Π»Ρ ΡΡΠΎΠ³ΠΎ ΡΠ½Π°ΡΠ°Π»Π° Π΄Π΅ΠΌΠΎΠ½ΡΠΈΡΡΠ΅ΡΡΡ ΡΡΡΠΊΠ° ΡΡΠ΅ΠΊΠ»ΠΎΠΏΠΎΠ΄ΡΠ΅ΠΌΠ½ΠΈΠΊΠ°.
Π’Π΅ΠΏΠ΅ΡΡ Π½ΡΠΆΠ½ΠΎ ΠΎΡΠΊΡΡΡΠΈΡΡ ΠΊΠ½ΠΎΠΏΠΊΡ ΡΠΈΠΊΡΠ°ΡΠΎΡΠ° ΡΠΈΠΊΡΠ°ΡΠΎΡΠ°, ΠΎΡΠΊΡΡΡΠΈΡΡ Π²ΠΈΠ½ΡΡ Π½Π° ΠΏΠΎΠ΄Π»ΠΎΠΊΠΎΡΠ½ΠΈΠΊΠ΅. ΠΠ½ΠΈ ΡΠ°ΡΠΏΠΎΠ»ΠΎΠΆΠ΅Π½Ρ ΡΠΏΠ΅ΡΠ΅Π΄ΠΈ, ΡΠ²Π΅ΡΡ
Ρ, ΡΠ·Π°Π΄ΠΈ ΠΈ ΠΏΠΎΡΠ΅ΡΠ΅Π΄ΠΈΠ½Π΅. ΠΡΡΠΎΡΠΎΠΆΠ½ΠΎ ΡΠ½ΠΈΠΌΠ°Π΅ΡΡΡ ΠΎΡΠ½ΠΎΠ²Π½Π°Ρ ΠΎΠ±ΡΠΈΠ²ΠΊΠ° Π΄Π²Π΅ΡΠΈ, Π·Π°ΡΠ΅ΠΌ Π²Π΅ΡΡ
Π½ΡΡ ΡΠ°ΡΡΡ. Π’ΠΎΡΡΠ΅Π²ΡΠΌ ΠΊΠ»ΡΡΠΎΠΌ Π½Π° Π²ΠΎΡΠ΅ΠΌΡ ΠΎΡΠ²ΠΎΡΠ°ΡΠΈΠ²Π°ΡΡΡΡ Π±ΠΎΠ»ΡΡ ΠΌΠ΅Ρ
Π°Π½ΠΈΠ·ΠΌΠ°. ΠΠ°ΡΠ΅ΠΌ ΠΎΡΠΊΡΡΡΠΈΠ²Π°ΡΡΡΡ Π±ΠΎΠ»ΡΡ, ΡΠΈΠΊΡΠΈΡΡΡΡΠΈΠ΅ Π½Π°ΠΏΡΠ°Π²Π»ΡΡΡΡΡ ΠΏΠ»Π°Π½ΠΊΡ, ΠΊΠΎΡΠΎΡΡΡ ΡΠ½ΠΈΠΌΠ°ΡΡ Π·Π° Π½Π΅Π½Π°Π΄ΠΎΠ±Π½ΠΎΡΡΡΡ. Π‘ Π΄Π²Π΅ΡΠΈ ΡΠ½ΠΈΠΌΠ°Π΅ΡΡΡ ΠΌΠ΅Ρ
Π°Π½ΠΈΡΠ΅ΡΠΊΠΈΠΉ ΡΡΠ΅ΠΊΠ»ΠΎΠΏΠΎΠ΄ΡΠ΅ΠΌΠ½ΠΈΠΊ. ΠΠ° ΡΡΠ΅ΠΊΠ»Π΅ ΠΎΡΠΊΡΡΡΠΈΠ²Π°Π΅ΠΌ ΡΠ΅ΡΡΡΠ΅ Π²ΠΈΠ½ΡΠ° ΠΊΡΠ΅ΠΏΠ»Π΅Π½ΠΈΡ ΠΌΠ΅Ρ
Π°Π½ΠΈΠ·ΠΌΠ° (ΠΏΠΎ Π΄Π²Π° Ρ ΠΊΠ°ΠΆΠ΄ΠΎΠΉ ΡΡΠΎΡΠΎΠ½Ρ).
ΠΡΠ²Π΅ΡΠ½ΡΡΠ° Π³Π°ΠΉΠΊΠ° ΡΡΡΠ³ΠΈΠ²Π°ΡΡΠ°Ρ ΡΡΠΎΡ ΠΏΠΎΠ΄ΡΠ΅ΠΌΠ½ΠΎΠ³ΠΎ ΡΡΡΡΠΎΠΉΡΡΠ²Π°, ΡΠΎΠ»ΠΈΠΊ Π΄Π΅ΠΌΠΎΠ½ΡΠΈΡΠΎΠ²Π°Π½. Π’Π΅ΠΏΠ΅ΡΡ ΠΌΠ΅Ρ
Π°Π½ΠΈΠ·ΠΌ ΠΌΠΎΠΆΠ½ΠΎ ΠΏΠΎΠ»Π½ΠΎΡΡΡΡ Π²ΡΡΠ°ΡΠΈΡΡ ΠΈΠ· Π΄Π²Π΅ΡΠΈ.
ΠΠ»Ρ Π½ΠΎΠ²ΠΎΠ³ΠΎ ΡΡΡΡΠΎΠΉΡΡΠ²Π° Π²Π°ΠΌ ΠΏΡΠΈΠ΄Π΅ΡΡΡ ΠΏΡΠΎΡΠ²Π΅ΡΠ»ΠΈΡΡ Π² Π΄Π²Π΅ΡΠΈ ΠΏΠ°ΡΡ ΡΠ΅ΡΡΠΈΠΌΠΈΠ»Π»ΠΈΠΌΠ΅ΡΡΠΎΠ²ΡΡ
ΠΎΡΠ²Π΅ΡΡΡΠΈΠΉ, ΠΎΠ΄Π½ΠΎ ΠΈΠ· ΠΊΠΎΡΠΎΡΡΡ
Π΄ΠΎΠ»ΠΆΠ½ΠΎ Π±ΡΡΡ ΡΠ°ΡΠΏΠΎΠ»ΠΎΠΆΠ΅Π½ΠΎ ΡΡΠ΄ΠΎΠΌ Ρ ΡΡΡΠΊΠΎΠΉ, Π·Π°ΠΊΡΡΠ²Π°ΡΡΠ΅ΠΉ Π΄Π²Π΅ΡΡ.
ΠΠΎΡΠΎΡ-ΡΠ΅Π΄ΡΠΊΡΠΎΡ ΡΡΡΠ°Π½Π°Π²Π»ΠΈΠ²Π°Π΅ΡΡΡ Π²ΠΌΠ΅ΡΡΠΎ ΠΌΠ΅Ρ
Π°Π½ΠΈΡΠ΅ΡΠΊΠΎΠ³ΠΎ ΠΏΠΎΠ΄ΡΠ΅ΠΌΠ½ΠΎΠ³ΠΎ ΡΡΡΡΠΎΠΉΡΡΠ²Π°. Π ΡΡΠΎΠΌ ΡΠ»ΡΡΠ°Π΅ ΠΈΡΠΏΠΎΠ»ΡΠ·ΡΡΡΡΡ Π²ΠΈΠ½ΡΡ ΠΈΠ· ΠΊΠΎΠΌΠΏΠ»Π΅ΠΊΡΠ°, ΡΠ°ΠΊ ΠΊΠ°ΠΊ ΡΡΠ°Π½Π΄Π°ΡΡΠ½ΡΠ΅ Π±ΡΠ΄ΡΡ Π΄Π»ΠΈΠ½Π½ΡΠΌΠΈ ΠΈ Π±ΡΠ΄ΡΡ ΠΎΠΏΠΈΡΠ°ΡΡΡΡ Π½Π° ΠΌΠ΅Ρ
Π°Π½ΠΈΠ·ΠΌ.ΠΡΠΈ Π½Π΅ΠΎΠ±Ρ
ΠΎΠ΄ΠΈΠΌΠΎΡΡΠΈ ΠΌΠΎΠΆΠ½ΠΎ Π°ΠΊΠΊΡΡΠ°ΡΠ½ΠΎ Π²ΡΡΠ΅Π·Π°ΡΡ ΡΡΠ°Π½Π΄Π°ΡΡΠ½ΡΠ΅.
ΠΠΎΠ΄ΡΡΠ°ΠΊΠ°Π½Π½ΠΈΠΊΠΈ ΠΊΡΠ΅ΠΏΡΡΡΡ ΠΊ ΡΠ»Π΅ΠΊΡΡΠΎΠΏΠΎΠ΄ΡΠ΅ΠΌΠ½ΠΎΠΌΡ ΠΌΠ΅Ρ
Π°Π½ΠΈΠ·ΠΌΡ Ρ ΠΏΠΎΠΌΠΎΡΡΡ ΡΡΠ°Π½Π΄Π°ΡΡΠ½ΡΡ
ΠΊΡΠ΅ΠΏΠ»Π΅Π½ΠΈΠΉ.
ΠΠ»Π΅ΠΊΡΡΠΎΠΏΡΠΎΠ²ΠΎΠ΄ΠΊΠ° ΡΠ½ΡΡΠ° Ρ ΠΏΠΎΠ΄ΡΠ΅ΠΌΠ½ΠΈΠΊΠΎΠ², ΠΊΠ½ΠΎΠΏΠΊΠΈ ΡΡΡΠ°Π½ΠΎΠ²Π»Π΅Π½Ρ Π½Π° Π΄Π²Π΅ΡΡΡ
ΠΈΠ»ΠΈ Π½Π° ΠΏΠΎΠ΄Π»ΠΎΠΊΠΎΡΠ½ΠΈΠΊΠ΅, ΡΠ°ΡΠΏΠΎΠ»ΠΎΠΆΠ΅Π½Π½ΠΎΠΌ ΠΏΠΎ ΡΠ΅Π½ΡΡΡ, Π²ΠΎΠ·Π»Π΅ ΠΊΠΎΠ½ΡΠΎΠ»ΠΈ ΠΠΠ.
ΠΠ²Π΅ΡΡ ΡΠΎΠ±ΠΈΡΠ°Π΅ΡΡΡ Π² ΠΎΠ±ΡΠ°ΡΠ½ΠΎΠΉ ΠΏΠΎΡΠ»Π΅Π΄ΠΎΠ²Π°ΡΠ΅Π»ΡΠ½ΠΎΡΡΠΈ.
ΠΡΠ΅ Π΄ΠΎΠ²ΠΎΠ»ΡΠ½ΠΎ ΠΏΡΠΎΡΡΠΎ. ΠΡΠ»ΠΈ Π²Ρ Ρ
ΠΎΡΠΈΡΠ΅ ΡΡΠΊΠΎΠ½ΠΎΠΌΠΈΡΡ, ΡΠΎ ΡΠ°ΠΊΡΡ ββΡΠ°Π±ΠΎΡΡ ΠΌΠΎΠΆΠ½ΠΎ Π²ΡΠΏΠΎΠ»Π½ΠΈΡΡ ΡΠ°ΠΌΠΎΡΡΠΎΡΡΠ΅Π»ΡΠ½ΠΎ. ΠΠ»Ρ ΡΡΠΎΠ³ΠΎ Π½ΡΠΆΠ½ΠΎ Π»ΠΈΡΡ Π·Π½Π°ΡΡ ΡΡ
Π΅ΠΌΡ ΠΏΠΎΠ΄ΡΠ΅ΠΌΠ½ΠΎΠ³ΠΎ ΠΌΠ΅Ρ
Π°Π½ΠΈΠ·ΠΌΠ° ΠΈ ΠΈΠΌΠ΅ΡΡ Π½Π΅ΠΎΠ±Ρ
ΠΎΠ΄ΠΈΠΌΡΠ΅ ΡΡΠ»ΠΎΠ²ΠΈΡ Π΄Π»Ρ ΠΏΡΠΎΠ²Π΅Π΄Π΅Π½ΠΈΡ ΡΠ°Π±ΠΎΡ.
Classic ΠΎΡ ΠΠΎΠ»ΠΆΡΠΊΠΎΠ³ΠΎ Π°Π²ΡΠΎΠ·Π°Π²ΠΎΠ΄Π° Π² Π±Π°Π·ΠΎΠ²ΠΎΠΉ ΠΊΠΎΠΌΠΏΠ»Π΅ΠΊΡΠ°ΡΠΈΠΈ ΠΎΠ±Π»Π°Π΄Π°ΡΡ ΠΌΠΈΠ½ΠΈΠΌΡΠΌΠΎΠΌ ΡΠ΄ΠΎΠ±ΡΡΠ². Π£ΡΡΠ°Π½ΠΎΠ²Π»Π΅Π½Π½ΡΠ΅ Π½Π° ΠΠΠ 2107 ΡΠ»Π΅ΠΊΡΡΠΈΡΠ΅ΡΠΊΠΈΠ΅ ΡΡΠ΅ΠΊΠ»ΠΎΠΏΠΎΠ΄ΡΠ΅ΠΌΠ½ΠΈΠΊΠΈ Π·Π½Π°ΡΠΈΡΠ΅Π»ΡΠ½ΠΎ ΠΏΠΎΠ²ΡΡΠ°ΡΡ ΡΡΠΎΠ²Π΅Π½Ρ ΠΊΠΎΠΌΡΠΎΡΡΠ° ΠΈ ΠΏΠΎΠ·Π²ΠΎΠ»ΡΡΡ Π²ΠΎΠ΄ΠΈΡΠ΅Π»Ρ ΠΈ ΠΏΠ°ΡΡΠ°ΠΆΠΈΡΠ°ΠΌ ΠΎΡΠΊΡΡΠ²Π°ΡΡ ΠΈ Π·Π°ΠΊΡΡΠ²Π°ΡΡ ΠΎΠΊΠ½Π° Π±Π΅Π· ΠΈΠ·Π»ΠΈΡΠ½ΠΈΡ ΡΡΠΈΠ»ΠΈΠΉ. Π£ΡΡΠ°Π½ΠΎΠ²ΠΊΠ° ΡΠ°ΠΊΠΎΠ³ΠΎ ΠΎΠ±ΠΎΡΡΠ΄ΠΎΠ²Π°Π½ΠΈΡ ΡΠ°ΠΊΠΆΠ΅ ΠΎΡΠΊΡΡΠ²Π°Π΅Ρ Π½ΠΎΠ²ΡΠ΅ Π²ΠΎΠ·ΠΌΠΎΠΆΠ½ΠΎΡΡΠΈ: Π°Π²ΡΠΎΠΌΠ°ΡΠΈΡΠ΅ΡΠΊΠΎΠ΅ Π·Π°ΠΊΡΡΡΠΈΠ΅ ΠΎΠΊΠΎΠ½ ΠΏΡΠΈ ΠΏΠΎΡΡΠ°Π½ΠΎΠ²ΠΊΠ΅ Π°Π²ΡΠΎΠΌΠΎΠ±ΠΈΠ»Ρ Π½Π° ΠΎΡ ΡΠ°Π½Ρ.
Π’ΠΈΠΏΠΎΠ²Π°Ρ ΠΊΠΎΠ½ΡΡΡΡΠΊΡΠΈΡ ΡΡΠ΅ΠΊΠ»ΠΎΠΏΠΎΠ΄ΡΠ΅ΠΌΠ½ΠΈΠΊΠΎΠ² Π½Π° ΠΌΠΎΠ΄Π΅Π»ΠΈ ΠΠΠ 2107 — ΡΡΠΎΡΠΎΠ²ΡΠΉ Π½Π΅ ΠΎΡΠ»ΠΈΡΠ°Π΅ΡΡΡ Π²ΡΡΠΎΠΊΠΎΠΉ Π½Π°Π΄Π΅ΠΆΠ½ΠΎΡΡΡΡ… ΠΠΎΠΏΠ°Π΄Π°Π½ΠΈΠ΅ Π²Π»Π°Π³ΠΈ ΡΠ΅ΡΠ΅Π· Π·Π°Π·ΠΎΡ ΠΌΠ΅ΠΆΠ΄Ρ ΡΡΠ΅ΠΊΠ»ΠΎΠΌ ΠΈ ΡΠΏΠ»ΠΎΡΠ½Π΅Π½ΠΈΠ΅ΠΌ ΠΌΠΎΠΆΠ΅Ρ ΠΏΡΠΈΠ²Π΅ΡΡΠΈ ΠΊ Π·Π°ΠΊΠ»ΠΈΠ½ΠΈΠ²Π°Π½ΠΈΡ ΠΌΠ΅Ρ Π°Π½ΠΈΠ·ΠΌΠ°. ΠΠΎΠ·ΠΌΠΎΠΆΠ½Ρ Π΄Π²Π° Π²Π°ΡΠΈΠ°Π½ΡΠ° ΠΌΠΎΠ½ΡΠ°ΠΆΠ° ΠΈ ΠΏΠΎΠ΄ΠΊΠ»ΡΡΠ΅Π½ΠΈΡ ΠΊΠΎΠΌΠΏΠ»Π΅ΠΊΡΠΎΠ² Π£ΠΠ¦Π:
- ΠΡΠΈ ΡΠΎΡ ΡΠ°Π½Π΅Π½ΠΈΠΈ ΡΡΠ°ΡΠ½ΠΎΠ³ΠΎ ΠΌΠ΅Ρ Π°Π½ΠΈΠ·ΠΌΠ° ΠΈ ΡΡΡΠ°Π½ΠΎΠ²ΠΊΠ΅ ΡΠ»Π΅ΠΊΡΡΠΎΠ΄Π²ΠΈΠ³Π°ΡΠ΅Π»Ρ ΠΏΠΎ-ΠΏΡΠ΅ΠΆΠ½Π΅ΠΌΡ Π²ΡΡΠΎΠΊ ΡΠΈΡΠΊ Π²ΡΡ ΠΎΠ΄Π° ΠΈΠ· ΡΡΡΠΎΡ Π²ΡΠ΅ΠΉ ΡΠΈΡΡΠ΅ΠΌΡ.
- Π‘ ΡΡΡΠ°Π½ΠΎΠ²ΠΊΠΎΠΉ ΠΊΠΎΠΌΠΏΠ»Π΅ΠΊΡΠ° ΠΎΠ±ΠΎΡΡΠ΄ΠΎΠ²Π°Π½ΠΈΡ ESP, ΡΠ°Π·ΡΠ°Π±ΠΎΡΠ°Π½Π½ΠΎΠ³ΠΎ Π΄Π»Ρ ΠΠΠ G8 Ρ Π±ΠΎΠ»Π΅Π΅ Π½Π°Π΄Π΅ΠΆΠ½ΠΎΠΉ Π½Π°Π²Π΅ΡΠΊΠΎΠΉ ΠΊΠΎΠ½ΡΡΡΡΠΊΡΠΈΠΈ.
ΠΡΠ΅Π΄ΠΏΠΎΡΡΠ΅Π½ΠΈΠ΅ ΡΡΠΎΠΈΡ ΠΎΡΠ΄Π°ΡΡ Π²ΡΠΎΡΠΎΠΌΡ Π²Π°ΡΠΈΠ°Π½ΡΡ, ΡΠ΅ΠΌ Π±ΠΎΠ»Π΅Π΅ ΡΡΠΎ ΡΠ°Π·Π½ΠΈΡΠ° Π² ΡΡΠΎΠΈΠΌΠΎΡΡΠΈ ΠΊΠΎΠΌΠΏΠ»Π΅ΠΊΡΠΎΠ² ΠΎΠ±ΠΎΡΡΠ΄ΠΎΠ²Π°Π½ΠΈΡ Π½Π΅Π·Π½Π°ΡΠΈΡΠ΅Π»ΡΠ½Π°.
ΠΠ»Ρ Π²ΡΠΏΠΎΠ»Π½Π΅Π½ΠΈΡ ΡΡΠΎΠΉ ΠΎΠΏΠ΅ΡΠ°ΡΠΈΠΈ Π²Π°ΠΌ ΠΏΠΎΠ½Π°Π΄ΠΎΠ±ΠΈΡΡΡ ΡΠ»Π΅ΡΠ°ΡΠ½ΡΠΉ ΠΈΠ½ΡΡΡΡΠΌΠ΅Π½Ρ: ΠΊΠ»ΡΡΠΈ, ΠΎΡΠ²Π΅ΡΡΠΊΠΈ, ΠΏΠ»ΠΎΡΠΊΠΎΠ³ΡΠ±ΡΡ ΠΈ ΡΠΎΠΌΡ ΠΏΠΎΠ΄ΠΎΠ±Π½ΠΎΠ΅, Π° ΡΠ°ΠΊΠΆΠ΅ Π½Π°Π±ΠΎΡ ΠΈΠ· Π΄Π²ΡΡ -ΡΠ΅ΡΡΡΠ΅Ρ ΠΠ¦Π Π½Π° Π°Π²ΡΠΎΠΌΠΎΠ±ΠΈΠ»Ρ ΠΠΠ 2107. Π£Π΄ΠΎΠ±Π½Π΅Π΅ ΠΏΡΠΎΠ²ΠΎΠ΄ΠΈΡΡ ΡΠ°Π±ΠΎΡΡ Π² Π³Π°ΡΠ°ΠΆΠ΅ ΠΈΠ»ΠΈ Π·Π°ΠΊΡΡΡΠΎΠΌ Π±ΠΎΠΊΡΠ΅, ΠΊΠ°ΠΊ ΠΏΡΠ°Π²ΠΈΠ»ΠΎ, Π±ΡΡΡΡΠΎ ΡΡΡΠ°Π½ΠΎΠ²ΠΈΡΡ ΡΠ»Π΅ΠΊΡΡΠΈΡΠ΅ΡΠΊΠΈΠ΅ ΡΡΠ΅ΠΊΠ»ΠΎΠΏΠΎΠ΄ΡΠ΅ΠΌΠ½ΠΈΠΊΠΈ Π½Π΅ ΡΠ΄Π°Π΅ΡΡΡ, Π½Π΅ ΠΈΠΌΠ΅Ρ ΡΠΎΠΎΡΠ²Π΅ΡΡΡΠ²ΡΡΡΠ΅Π³ΠΎ ΠΎΠΏΡΡΠ° … Π ΠΏΡΠΎΡΠ΅ΡΡΠ΅ ΡΡΡΠ°Π½ΠΎΠ²ΠΊΠΈ ΠΌΠΎΠ³ΡΡ Π±ΡΡΡ Π²ΡΡΠ²Π»Π΅Π½Ρ Π½Π΅ΠΈΡΠΏΡΠ°Π²Π½ΠΎΡΡΠΈ, ΡΡΠΎ ΠΏΠΎΡΡΠ΅Π±ΡΠ΅Ρ ΠΏΠΎΠΊΡΠΏΠΊΠΈ Π΄ΠΎΠΏΠΎΠ»Π½ΠΈΡΠ΅Π»ΡΠ½ΡΡ Π·Π°ΠΏΡΠ°ΡΡΠΈ.
ΠΠΎΠ΄Π³ΠΎΡΠΎΠ²ΠΈΡΠ΅Π»ΡΠ½ΡΠ΅ ΠΌΠ΅ΡΠΎΠΏΡΠΈΡΡΠΈΡ ΠΈ ΡΠ°Π·Π±ΠΎΡΠΊΠ° Π΄Π²Π΅ΡΠ΅ΠΉ
ΠΠ»Ρ ΠΎΠ±Π΅ΡΠΏΠ΅ΡΠ΅Π½ΠΈΡ Π΄ΠΎΡΡΡΠΏΠ° ΠΊ ΠΌΠ΅Ρ Π°Π½ΠΈΠ·ΠΌΡ Π½Π΅ΠΎΠ±Ρ ΠΎΠ΄ΠΈΠΌΠΎ Π΄Π΅ΠΌΠΎΠ½ΡΠΈΡΠΎΠ²Π°ΡΡ ΠΎΠ±ΠΈΠ²ΠΊΡ, ΠΎΠΏΠ΅ΡΠ°ΡΠΈΡ Π²ΡΠΏΠΎΠ»Π½ΡΠ΅ΡΡΡ ΡΠ»Π΅Π΄ΡΡΡΠΈΠΌ ΠΎΠ±ΡΠ°Π·ΠΎΠΌ:
- ΠΡΠ²Π΅ΡΡΠΊΠΎΠΉ ΠΎΡΠ²Π΅ΡΠ½ΠΈΡΠ΅ Π²ΠΈΠ½ΡΡ ΠΊΡΠ΅ΠΏΠ»Π΅Π½ΠΈΡ ΡΡΡΠΊΠΈ Π΄Π²Π΅ΡΠΈ, ΡΠ½ΠΈΠΌΠΈΡΠ΅ ΠΈ ΡΠ½ΠΈΠΌΠΈΡΠ΅ ΡΡΠΎ Π² ΡΡΠΎΡΠΎΠ½Ρ.
- ΠΡΡΠΎΡΠΎΠΆΠ½ΠΎ ΡΠ½ΠΈΠΌΠΈΡΠ΅ ΡΡΡΠΊΡ ΡΡΠ΅ΠΊΠ»ΠΎΠΏΠΎΠ΄ΡΠ΅ΠΌΠ½ΠΈΠΊΠΎΠ² ΠΈ ΡΡΡΠΊΡ ΠΎΡΠΊΡΡΠ²Π°Π½ΠΈΡ.
- ΠΡΡΠ°Π²ΡΡΠ΅ ΠΏΠ»ΠΎΡΠΊΡΡ ΠΎΡΠ²Π΅ΡΡΠΊΡ Π² Π·Π°Π·ΠΎΡ ΠΌΠ΅ΠΆΠ΄Ρ ΠΎΠ±ΠΈΠ²ΠΊΠΎΠΉ ΠΈ Π΄Π²Π΅ΡΡΡ, ΡΠΎΠΆΠΌΠΈΡΠ΅ Π΅Π΅, ΠΏΡΠ΅ΠΎΠ΄ΠΎΠ»Π΅Π²Π°Ρ ΡΠΎΠΏΡΠΎΡΠΈΠ²Π»Π΅Π½ΠΈΠ΅ ΠΏΠ»Π°ΡΡΠΈΠΊΠΎΠ²ΡΡ Π·Π°ΡΠ΅Π»ΠΎΠΊ.
- ΠΡΠΊΡΡΡΠΈΠ²Π°Π΅ΠΌ Π²ΠΈΠ½ΡΡ, ΡΠ΄Π΅ΡΠΆΠΈΠ²Π°ΡΡΠΈΠ΅ Π΄Π΅ΡΠ°Π»ΠΈ ΠΏΡΠΈΠ²ΠΎΠ΄Π° ΠΈ ΠΈΡΠΏΠΎΠ»Π½ΠΈΡΠ΅Π»ΡΠ½ΡΡ ΡΠ°ΡΡΡ ΡΡΠ°ΡΠ½ΠΎΠ³ΠΎ ΠΌΠ΅Ρ Π°Π½ΠΈΠ·ΠΌΠ° ΠΈ Π²ΡΠ½ΠΈΠΌΠ°Π΅ΠΌ ΠΈΡ Π²ΠΌΠ΅ΡΡΠ΅ ΡΠΎ ΡΡΠ΅ΠΊΠ»ΠΎΠΌ.
ΠΠΎΠ΄Π³ΠΎΡΠΎΠ²ΠΈΡΠ΅Π»ΡΠ½ΡΠ΅ ΠΌΠ΅ΡΠΎΠΏΡΠΈΡΡΠΈΡ ΠΏΠΎ ΡΡΡΠ°Π½ΠΎΠ²ΠΊΠ΅ ΡΡΠ΅ΠΊΠ»ΠΎΠΏΠΎΠ΄ΡΠ΅ΠΌΠ½ΠΈΠΊΠΎΠ² Π½Π° Π°Π²ΡΠΎΠΌΠΎΠ±ΠΈΠ»Ρ ΠΠΠ 2107 ΠΎΠΊΠΎΠ½ΡΠ΅Π½Ρ ΠΈ ΠΌΠΎΠΆΠ½ΠΎ ΠΏΠ΅ΡΠ΅Ρ ΠΎΠ΄ΠΈΡΡ ΠΊ ΡΠ»Π΅Π΄ΡΡΡΠ΅ΠΌΡ ΡΡΠ°ΠΏΡ.
Π£ΡΡΠ°Π½ΠΎΠ²ΠΊΠ° ΡΠ»Π΅ΠΊΡΡΠΎΠΏΡΠΈΠ²ΠΎΠ΄ΠΎΠ²
Π£ΡΡΠ°Π½ΠΎΠ²ΠΊΠ° ΠΏΡΠΈΠΎΠ±ΡΠ΅ΡΠ΅Π½Π½ΡΡ ΡΠ°Π½Π΅Π΅ Π£ΠΠ¦Π ΠΈ ΠΌΠ΅Ρ Π°Π½ΠΈΠ·ΠΌΠΎΠ² ΠΏΡΠΎΠΈΠ·Π²ΠΎΠ΄ΠΈΡΡΡ Π² ΡΠ»Π΅Π΄ΡΡΡΠ΅ΠΉ ΠΏΠΎΡΠ»Π΅Π΄ΠΎΠ²Π°ΡΠ΅Π»ΡΠ½ΠΎΡΡΠΈ:
- ΠΠ° Π½ΠΈΠΆΠ½ΡΡ ΡΠ°ΡΡΡ Π΄Π²Π΅ΡΠ΅ΠΉ Π²Π½ΡΡΡΠΈ Π½Π°Π½ΠΎΡΠΈΠΌ ΠΊΠΎΡΠΏΡΡ Π΄Π²ΠΈΠ³Π°ΡΠ΅Π»Ρ ΠΈ Π΄Π΅Π»Π°Π΅ΠΌ ΡΠ°Π·ΠΌΠ΅ΡΠΊΡ Π΄Π»Ρ ΠΊΡΠ΅ΠΏΠ΅ΠΆΠ°.
- Π‘ ΠΏΠΎΠΌΠΎΡΡΡ ΡΠ»Π΅ΠΊΡΡΠΎΠ΄ΡΠ΅Π»ΠΈ ΠΏΡΠΎΡΠ²Π΅ΡΠ»ΠΈΠ²Π°Π΅ΠΌ ΠΎΡΠ²Π΅ΡΡΡΠΈΡ Π΄Π»Ρ ΠΊΡΠ΅ΠΏΠ»Π΅Π½ΠΈΡ ΠΎΠ±ΠΎΡΡΠ΄ΠΎΠ²Π°Π½ΠΈΡ.
- Π£ΡΡΠ°Π½Π°Π²Π»ΠΈΠ²Π°Π΅ΠΌ ΡΠ»Π΅ΠΊΡΡΠΎΠΌΠ΅Ρ Π°Π½ΠΈΡΠ΅ΡΠΊΠΈΠΉ Π±Π»ΠΎΠΊ Π½Π° ΠΏΡΠ΅Π΄Π½Π°Π·Π½Π°ΡΠ΅Π½Π½ΠΎΠ΅ ΠΌΠ΅ΡΡΠΎ Π² Π΄Π²Π΅ΡΡΡ ΠΠΠ 2107 ΠΈ Π·Π°ΠΊΡΠ΅ΠΏΠ»ΡΠ΅ΠΌ.
ΠΠΎΠ»Π΅Π·Π½ΡΠΉ ΡΠΎΠ²Π΅Ρ: ΠΎΠ±ΡΡΠ½ΠΎ Π² ΠΊΠΎΠΌΠΏΠ»Π΅ΠΊΡΠ΅ ΠΏΠΎΡΡΠ°Π²ΠΊΠΈ Π΄Π»Ρ ΡΡΠΈΡ ΡΠ΅Π»Π΅ΠΉ Π΅ΡΡΡ ΡΠ°ΠΌΠΎΡΠ΅Π·Ρ, ΡΠΏΠ΅ΡΠΈΠ°Π»ΠΈΡΡΡ ΡΠ΅ΠΊΠΎΠΌΠ΅Π½Π΄ΡΡΡ Π·Π°ΠΌΠ΅Π½ΡΡΡ ΠΈΡ Π²ΠΈΠ½ΡΠ°ΠΌΠΈ Ρ Π³Π°ΠΉΠΊΠΎΠΉ ΠΈ ΡΠΈΠΊΡΠΈΡΡΡΡΠ΅ΠΉ ΡΠ°ΠΉΠ±ΠΎΠΉ Ρ Π³ΡΠΎΠ²Π΅ΡΠΎΠΌ.
- Π‘Π²Π΅ΡΡ Ρ ΡΡΡΠ°Π½Π°Π²Π»ΠΈΠ²Π°Π΅ΠΌ Π±ΠΎΠΊΠΎΠ²ΠΎΠ΅ ΡΡΠ΅ΠΊΠ»ΠΎ Π°Π²ΡΠΎΠΌΠΎΠ±ΠΈΠ»Ρ ΠΠΠ 2107, ΠΎΠΏΡΡΠΊΠ°Π΅ΠΌ Π²Π½ΠΈΠ· ΠΈ Π·Π°ΠΊΡΠ΅ΠΏΠ»ΡΠ΅ΠΌ Π² ΠΌΠΎΠ½ΡΠ°ΠΆΠ½ΠΎΠΉ ΡΠ΅ΠΉΠΊΠ΅. ΠΡΠ° ΠΎΠΏΠ΅ΡΠ°ΡΠΈΡ Π²ΡΠΏΠΎΠ»Π½ΡΠ΅ΡΡΡ Π°ΠΊΠΊΡΡΠ°ΡΠ½ΠΎ, ΡΡΠΎΠ±Ρ Π½Π΅ ΠΏΠΎΠ²ΡΠ΅Π΄ΠΈΡΡ Ρ ΡΡΠΏΠΊΡΡ Π΄Π΅ΡΠ°Π»Ρ.
Π‘Π»Π΅Π΄ΡΡΡΠΈΠΌ ΡΠ°Π³ΠΎΠΌ Π±ΡΠ΄Π΅Ρ ΠΏΠΎΠ΄ΠΊΠ»ΡΡΠ΅Π½ΠΈΠ΅ ESP ΠΊ Π±ΠΎΡΡΠΎΠ²ΠΎΠΉ ΡΠ΅ΡΠΈ Π°Π²ΡΠΎΠΌΠΎΠ±ΠΈΠ»Ρ, ΠΏΡΠΈΠ½ΡΠΈΠΏΠΈΠ°Π»ΡΠ½Π°Ρ ΡΡ Π΅ΠΌΠ° … ΠΠ½ΠΈΠΌΠ°ΡΠ΅Π»ΡΠ½ΠΎ ΠΈΠ·ΡΡΠΈΡΡ ΠΈ Π΄Π΅ΠΉΡΡΠ²ΠΎΠ²Π°ΡΡ ΡΡΡΠΎΠ³ΠΎ Π² ΡΠΎΠΎΡΠ²Π΅ΡΡΡΠ²ΠΈΠΈ Ρ ΠΈΠ½ΡΡΡΡΠΊΡΠΈΠ΅ΠΉ ΠΏΠΎ ΡΡΡΠ°Π½ΠΎΠ²ΠΊΠ΅ ΡΡΠ΅ΠΊΠ»ΠΎΠΏΠΎΠ΄ΡΠ΅ΠΌΠ½ΠΈΠΊΠΎΠ² Π² ΡΠ»Π΅Π΄ΡΡΡΠ΅ΠΌ ΠΏΠΎΡΡΠ΄ΠΊΠ΅:
- ΠΡΠΎΡΡΠ³ΠΈΠ²Π°Π΅ΠΌ ΠΏΡΠΎΠ²ΠΎΠ΄Π° ΠΎΡ ΠΏΡΠΈΠ²ΠΎΠ΄Π° ΡΠ΅ΡΠ΅Π· Π·Π°ΡΠΈΡΠ½ΡΡ Π³ΠΎΡΡΡ ΠΊ ΡΠ΅Π½ΡΡΠ°Π»ΡΠ½ΠΎΠΉ ΠΊΠΎΠ½ΡΠΎΠ»ΠΈ Π°Π²ΡΠΎΠΌΠΎΠ±ΠΈΠ»Ρ.
- ΠΠ° ΠΏΠ°Π½Π΅Π»ΠΈ ΡΡΠ΄ΠΎΠΌ Ρ ΡΠ°ΡΠ°ΠΌΠΈ Π²ΡΡΠ΅Π·Π°Π΅ΠΌ ΠΎΡΠ²Π΅ΡΡΡΠΈΡ Π΄Π»Ρ ΠΊΠ½ΠΎΠΏΠΎΠΊ ΡΠΏΡΠ°Π²Π»Π΅Π½ΠΈΡ, Π²ΡΠ²ΠΎΠ΄ΠΈΠΌ ΡΠ΅ΡΠ΅Π· Π½ΠΈΡ ΠΏΡΠΎΠ²ΠΎΠ΄Π° ΠΈ ΠΏΠΎΠ΄ΠΊΠ»ΡΡΠ°Π΅ΠΌ ΠΈ ΡΡΡΠ°Π½Π°Π²Π»ΠΈΠ²Π°Π΅ΠΌ Π½Π° ΠΎΡΠ²Π΅Π΄Π΅Π½Π½ΠΎΠ΅ Π΄Π»Ρ Π½ΠΈΡ ΠΌΠ΅ΡΡΠΎ.
- Π‘ΠΈΠ»ΠΎΠ²Π°Ρ ΡΠ΅ΠΏΡ ESP ΠΏΠΎΠ΄ΠΊΠ»ΡΡΠ°Π΅ΡΡΡ ΠΊ Π±ΠΎΡΡΠΎΠ²ΠΎΠΉ ΡΠ΅ΡΠΈ Ρ ΠΎΠ±ΡΠ·Π°ΡΠ΅Π»ΡΠ½ΡΠΌ ΠΈΡΠΏΠΎΠ»ΡΠ·ΠΎΠ²Π°Π½ΠΈΠ΅ΠΌ ΠΏΡΠ΅Π΄ΠΎΡ ΡΠ°Π½ΠΈΡΠ΅Π»Π΅ΠΉ. Π‘Ρ Π΅ΠΌΠ°, ΠΏΠΎ ΠΊΠΎΡΠΎΡΠΎΠΉ ΠΎΡΡΡΠ΅ΡΡΠ²Π»ΡΠ΅ΡΡΡ ΠΊΠΎΠΌΠΌΡΡΠ°ΡΠΈΡ, Π΄ΠΎΠ»ΠΆΠ½Π° ΠΏΡΠ΅Π΄ΡΡΠΌΠ°ΡΡΠΈΠ²Π°ΡΡ Π²ΠΎΠ·ΠΌΠΎΠΆΠ½ΠΎΡΡΡ ΠΈΡΠΏΠΎΠ»ΡΠ·ΠΎΠ²Π°Π½ΠΈΡ ΡΠ»Π΅ΠΊΡΡΠΎΠΏΡΠΈΠ²ΠΎΠ΄ΠΎΠ² ΡΠΎΠ»ΡΠΊΠΎ ΠΏΡΠΈ ΡΠ°Π±ΠΎΡΠ°ΡΡΠ΅ΠΌ Π΄Π²ΠΈΠ³Π°ΡΠ΅Π»Π΅.
- ΠΡΠΎΠ²ΠΎΠ΄Π° Π² ΡΠ°Π»ΠΎΠ½Π΅ ΠΈΠ·ΠΎΠ»ΠΈΡΠΎΠ²Π°Π½Ρ ΡΡΡΠ±ΠΊΠ°ΠΌΠΈ ΠΠΠ₯ ΠΈ ΠΏΡΠΎΠ»ΠΎΠΆΠ΅Π½Ρ ΠΏΠΎΠ΄ ΠΎΠ±ΠΈΠ²ΠΊΠΎΠΉ.
Π£ΡΡΠ°Π½ΠΎΠ²ΠΊΠ° ΠΎΠ±ΠΎΡΡΠ΄ΠΎΠ²Π°Π½ΠΈΡ Π£ΠΠ¦Π ΠΈ Π΅Π³ΠΎ ΠΏΠΎΠ΄ΠΊΠ»ΡΡΠ΅Π½ΠΈΠ΅ Π·Π°Π²Π΅ΡΡΠ΅Π½Ρ, ΠΌΠΎΠΆΠ½ΠΎ ΠΏΠ΅ΡΠ΅Ρ ΠΎΠ΄ΠΈΡΡ ΠΊ ΠΏΡΠΎΠ²Π΅ΡΠΊΠ°ΠΌ ΠΈ ΡΠ΅Π³ΡΠ»ΠΈΡΠΎΠ²ΠΊΠ°ΠΌ. Π‘ ΠΏΠΎΠΌΠΎΡΡΡ ΡΠ»Π΅ΠΊΡΡΠΎΠΏΡΠΈΠ²ΠΎΠ΄Π° ΠΏΠΎΠ΄Π½ΠΈΠΌΠ°Π΅ΠΌ ΡΡΠ΅ΠΊΠ»ΠΎ Π²Π²Π΅ΡΡ ΠΈ ΡΠ΅Π³ΡΠ»ΠΈΡΡΠ΅ΠΌ ΠΏΠΎΠ»ΠΎΠΆΠ΅Π½ΠΈΠ΅ ΠΌΠ΅Ρ Π°Π½ΠΈΠ·ΠΌΠ°, ΡΡΠΎΠ±Ρ Π½Π΅ Π±ΡΠ»ΠΎ Π·Π°Π·ΠΎΡΠΎΠ². Π£ΡΡΠ°Π½Π°Π²Π»ΠΈΠ²Π°Π΅ΠΌ ΠΎΠ±ΠΈΠ²ΠΊΡ Π½Π° Π΄Π²Π΅ΡΡ Π² ΠΎΠ±ΡΠ°ΡΠ½ΠΎΠΉ ΠΏΠΎΡΠ»Π΅Π΄ΠΎΠ²Π°ΡΠ΅Π»ΡΠ½ΠΎΡΡΠΈ, Π½Π° ΠΌΠ΅ΡΡΠΎ ΡΡΡΠΊΠΈ ΠΌΠ΅Ρ Π°Π½ΠΈΡΠ΅ΡΠΊΠΎΠ³ΠΎ ΠΏΡΠΈΠ²ΠΎΠ΄Π° ΡΡΠ΅ΠΊΠ»ΠΎΠΏΠΎΠ΄ΡΠ΅ΠΌΠ½ΠΈΠΊΠ° ΡΡΠ°Π²ΠΈΠΌ Π·Π°Π³Π»ΡΡΠΊΡ.
ΠΠΎΡ ΠΎΠΆΠ΅ Π½Π° ΡΠ΅Π΅ΡΠ½ΡΠΉ ΡΡΠ΅ΠΊΠ»ΠΎΠΏΠΎΠ΄ΡΠ΅ΠΌΠ½ΠΈΠΊ Π½Π° ΠΠΠ 2101-2107
ΠΠΎΠΆΠ½ΠΎ Π»ΠΈ Π½Π° ΠΠΠ 2101 ΠΏΠΎΡΡΠ°Π²ΠΈΡΡ ΡΠ»Π΅ΠΊΡΡΠΈΡΠ΅ΡΠΊΠΈΠ΅ ΡΡΠ΅ΠΊΠ»ΠΎΠΏΠΎΠ΄ΡΠ΅ΠΌΠ½ΠΈΠΊΠΈ, ΡΡΠΎΠΈΡ Π»ΠΈ Π²ΡΠ΄Π΅Π»ΠΊΠΈ? Π‘ΡΠ°Π·Ρ Π½ΡΠΆΠ½ΠΎ ΠΎΠ³ΠΎΠ²ΠΎΡΠΈΡΡΡΡ — Π² ΠΏΡΠΎΠ΄Π°ΠΆΠ΅ Π΅ΡΡΡ ΡΡΡΡΠΎΠΉΡΡΠ²Π°, ΠΏΡΠ΅Π΄Π½Π°Π·Π½Π°ΡΠ΅Π½Π½ΡΠ΅ Π΄Π»Ρ ΡΡΡΠ°Π½ΠΎΠ²ΠΊΠΈ Π½Π° Π°Π²ΡΠΎΠΌΠΎΠ±ΠΈΠ»ΠΈ ΠΊΠ»Π°ΡΡΠΈΡΠ΅ΡΠΊΠΎΠΉ ΡΠ΅ΡΠΈΠΈ.Π ΠΈΡ ΡΡΡΠ°Π½ΠΎΠ²ΠΊΠ° Π½Π΅ ΠΏΡΠ΅Π΄ΡΡΠ°Π²Π»ΡΠ΅Ρ ΠΎΡΠΎΠ±ΡΡ ΡΠ»ΠΎΠΆΠ½ΠΎΡΡΠ΅ΠΉ, ΠΏΠΎΡΡΠ΅Π±ΡΠ΅ΡΡΡ ΠΌΠΈΠ½ΠΈΠΌΠ°Π»ΡΠ½ΠΎΠ΅ ΠΊΠΎΠ»ΠΈΡΠ΅ΡΡΠ²ΠΎ ΠΈΠ½ΡΡΡΡΠΌΠ΅Π½ΡΠΎΠ² ΠΈ ΠΌΠ°ΡΠ΅ΡΠΈΠ°Π»ΠΎΠ².
ΠΠ°ΠΊΠΈΠ΅ Π±ΡΠ²Π°ΡΡ ΡΡΠ΅ΠΊΠ»ΠΎΠΏΠΎΠ΄ΡΠ΅ΠΌΠ½ΠΈΠΊΠΈ?
Π‘ΡΠ°Π½Π΄Π°ΡΡΠ½ΡΠ΅ ΠΎΠΊΠ½Π° ΠΌΠ΅Ρ Π°Π½ΠΈΡΠ΅ΡΠΊΠΎΠ³ΠΎ ΡΠΈΠΏΠ° ΠΏΠΎΠ΄Ρ ΠΎΠ΄ΡΡ Π΄Π°Π»Π΅ΠΊΠΎ Π½Π΅ Π²ΡΠ΅ΠΌ. ΠΠ½ΠΈ Π½Π΅ΡΠ΄ΠΎΠ±Π½Ρ, ΠΏΡΠΈΡ ΠΎΠ΄ΠΈΡΡΡ ΠΏΡΠΈΠΊΠ»Π°Π΄ΡΠ²Π°ΡΡ ΡΡΠΈΠ»ΠΈΡ, ΡΡΠΎΠ±Ρ Π·Π°ΠΊΡΡΡΡ ΠΈΠ»ΠΈ Π΄Π°ΠΆΠ΅ ΠΎΡΠΊΡΡΡΡ ΠΎΠΊΠ½ΠΎ. Π₯ΠΎΡΠΎΡΠΎ, ΡΡΠΎ ΡΡΠ΅ΠΊΠ»ΠΎ Π½Π° ΠΠΠ 2101 ΠΏΡΡΠΌΠΎΡΠ³ΠΎΠ»ΡΠ½ΠΎΠ΅, Π° Π½Π΅ ΡΠ°ΠΊΠΎΠ΅ ΠΊΠ°ΠΊ Π½Π° ΡΠ΅ΠΌΡΡΠΊΠ°Ρ ΠΈ Π±ΠΎΠ»Π΅Π΅ ΠΏΠΎΠ·Π΄Π½ΠΈΡ ΠΌΠΎΠ΄Π΅Π»ΡΡ . ΠΠΎ ΠΊΡΠ°ΠΉΠ½Π΅ΠΉ ΠΌΠ΅ΡΠ΅, Π²Π΅ΡΠΎΡΡΠ½ΠΎΡΡΡ ΠΏΠ΅ΡΠ΅ΠΊΠΎΡΠ° ΠΌΠΈΠ½ΠΈΠΌΠ°Π»ΡΠ½Π°.
ΠΠΌΠ΅ΡΡΠΎ ΡΡΠΊΠΎΡΡΠΊΠΈ ΠΏΡΠΈΠ²ΠΎΠ΄Π° ΠΌΠΎΠΆΠ½ΠΎ ΠΈΡΠΏΠΎΠ»ΡΠ·ΠΎΠ²Π°ΡΡ ΡΠ»Π΅ΠΊΡΡΠΎΠ΄Π²ΠΈΠ³Π°ΡΠ΅Π»Ρ, ΠΏΡΠΈΠ²ΠΎΠ΄ΠΈΠΌΡΠΉ Π² Π΄Π²ΠΈΠΆΠ΅Π½ΠΈΠ΅ ΡΡΠΎΡΠΎΠΌ.ΠΡΠΎΡ ΡΠΈΠΏ ΡΡΠ΅ΠΊΠ»ΠΎΠΏΠΎΠ΄ΡΠ΅ΠΌΠ½ΠΈΠΊΠΎΠ², ΠΊΠΎΡΠΎΡΡΠ΅ ΡΡΡΠ°Π½Π°Π²Π»ΠΈΠ²Π°ΡΡΡΡ Π½Π° Π°Π²ΡΠΎΠΌΠΎΠ±ΠΈΠ»ΠΈ ΠΠΠ 2101-2107, Π½Π°Π·ΡΠ²Π°Π΅ΡΡΡ Β«ΡΡΠΎΡΠΎΠ²ΡΠΌΠΈΒ». ΠΠΎΡΠΎΡ Π²ΡΠ°ΡΠ°Π΅Ρ ΠΊΠ°ΡΡΡΠΊΡ Ρ ΡΡΠΎΡΠΎΠΌ ΡΠ΅ΡΠ΅Π· ΡΠ΅Π΄ΡΠΊΡΠΎΡ. ΠΡΠΈΡΠ΅ΠΌ ΠΏΠΎΡΠ»Π΅Π΄Π½ΠΈΠΉ Π²ΡΠ°ΡΠ°Π΅Ρ Π±Π°ΡΠ°Π±Π°Π½, ΡΠ²ΡΠ·Π°Π½Π½ΡΠΉ ΡΠΎ ΡΡΠ΅ΠΊΠ»ΠΎΠΏΠΎΠ΄ΡΠ΅ΠΌΠ½ΠΈΠΊΠΎΠΌ, ΠΊΠΎΡΠΎΡΡΠΉ ΡΡΡΠ°Π½Π°Π²Π»ΠΈΠ²Π°Π΅ΡΡΡ Π½Π° Π°Π²ΡΠΎΠΌΠΎΠ±ΠΈΠ»Ρ Ρ Π·Π°Π²ΠΎΠ΄Π°.
ΠΠΎ Π±ΠΎΠ»Π΅Π΅ Π½Π°Π΄Π΅ΠΆΠ½ΡΠΌ ΡΡΠΈΡΠ°Π΅ΡΡΡ ΡΠ»Π΅ΠΊΡΡΠΈΡΠ΅ΡΠΊΠΈΠΉ ΡΡΠ΅ΠΊΠ»ΠΎΠΏΠΎΠ΄ΡΠ΅ΠΌΠ½ΠΈΠΊ, Π² ΠΊΠΎΠ½ΡΡΡΡΠΊΡΠΈΠΈ ΠΊΠΎΡΠΎΡΠΎΠ³ΠΎ Π΅ΡΡΡ ΠΌΠ΅ΡΠ°Π»Π»ΠΈΡΠ΅ΡΠΊΠ°Ρ ΡΠ΅ΠΉΠΊΠ°. Π‘ΠΈΡΡΠ΅ΠΌΠ° ΠΏΡΠΎΡΡΠ° ΠΈ Π΄ΠΎΠ»Π³ΠΎΠ²Π΅ΡΠ½Π°, ΠΏΡΠΈΠ½ΡΠΈΠΏ ΡΠ°Π±ΠΎΡΡ Π°Π½Π°Π»ΠΎΠ³ΠΈΡΠ΅Π½ ΠΈΡΠΏΠΎΠ»ΡΠ·ΡΠ΅ΠΌΠΎΠΉ Π² ΡΡΠ»Π΅Π²ΠΎΠΉ ΡΠ΅ΠΉΠΊΠ΅ ΠΏΠ΅ΡΠ΅Π΄Π½Π΅ΠΏΡΠΈΠ²ΠΎΠ΄Π½ΡΡ Π°Π²ΡΠΎΠΌΠΎΠ±ΠΈΠ»Π΅ΠΉ. Π‘ΡΠ΅Π΄ΠΈ ΠΏΡΠ΅ΠΈΠΌΡΡΠ΅ΡΡΠ² ΡΠ΅Π΅ΡΠ½ΡΡ ΠΏΠΎΠ΄ΡΠ΅ΠΌΠ½ΠΈΠΊΠΎΠ² ΠΌΠΎΠΆΠ½ΠΎ Π²ΡΠ΄Π΅Π»ΠΈΡΡ ΡΠΎ, ΡΡΠΎ ΠΎΠ½ΠΈ ΠΈΠΌΠ΅ΡΡ ΠΎΡΠ΅Π½Ρ Π»Π΅Π³ΠΊΠΈΠΉ Ρ ΠΎΠ΄.Π ΠΏΡΠΎΠ²ΠΎΠ΄ΠΊΠ° ΠΠΠ 2101 ΡΠΌΠΎΠΆΠ΅Ρ Π±Π΅Π· ΠΏΡΠΎΠ±Π»Π΅ΠΌ ΡΠ°Π±ΠΎΡΠ°ΡΡ Ρ ΡΠ°ΠΊΠΈΠΌΠΈ ΡΡΠ΅ΠΊΠ»Π°ΠΌΠΈ.
ΠΠ°ΠΆΠ΅ ΡΡΠ³ΠΈΠ΅ ΠΎΡΠΊΠΈ ΠΏΡΠΈΠ²ΠΎΠ΄ΡΡ Π² Π΄Π²ΠΈΠΆΠ΅Π½ΠΈΠ΅ Π±Π΅Π· ΠΏΡΠΎΠ±Π»Π΅ΠΌ. ΠΠΎΡΡΠΎΠΌΡ ΡΡΠΎΠΈΡ ΠΎΡΠ΄Π°Π²Π°ΡΡ ΠΏΡΠ΅Π΄ΠΏΠΎΡΡΠ΅Π½ΠΈΠ΅ ΠΈΠΌΠ΅Π½Π½ΠΎ ΡΠ°ΠΊΠΈΠΌ ΠΊΠΎΠ½ΡΡΡΡΠΊΡΠΈΡΠΌ. Π ΡΠ»Π΅ΠΊΡΡΠΎΡΡΠ΅ΠΊΠ»ΠΎΠΏΠΎΠ΄ΡΠ΅ΠΌΠ½ΠΈΠΊΠΈ Π½Π° ΠΠΠ 2101, ΡΠ΅Π½Π° ΡΠ΅Π΅ΡΠ½ΡΠ΅, Π½Π°ΠΏΡΠΈΠΌΠ΅Ρ, ΠΎΠΊΠΎΠ»ΠΎ 2400-2700 ΡΡΠ±Π»Π΅ΠΉ (ΠΊΠΎΠΌΠΏΠ»Π΅ΠΊΡ), ΠΌΠΎΠΆΠ½ΠΎ Π±ΡΡΡΡΠΎ ΡΡΡΠ°Π½ΠΎΠ²ΠΈΡΡ ΡΠ²ΠΎΠΈΠΌΠΈ ΡΡΠΊΠ°ΠΌΠΈ.
ΠΠΎΠ³Ρ Ρ ΡΠ°ΠΌ ΡΡΡΠ°Π½ΠΎΠ²ΠΈΡΡ?
ΠΠΎΡΠ΅ΠΌΡ Π½Π΅Ρ? Π ΡΠ΅ΠΏΠ΅ΡΡ ΡΠ°Π·Π±Π΅ΡΠ΅ΠΌΡΡ, ΡΡΠΎ Π΄Π»Ρ ΡΡΠΎΠ³ΠΎ ΡΡΠ΅Π±ΡΠ΅ΡΡΡ:
- ΠΠΎΠΌΠΏΠ»Π΅ΠΊΡ ΡΡΠ΅ΠΊΠ»ΠΎΠΏΠΎΠ΄ΡΠ΅ΠΌΠ½ΠΈΠΊΠΎΠ² Π½Π° ΠΠΠ 2101-2107.
- ΠΠ°Π±ΠΎΡ ΠΊΠ»ΡΡΠ΅ΠΉ ΠΈ ΠΎΡΠ²Π΅ΡΡΠΎΠΊ.
- Π‘Π²Π΅ΡΠ»Π° ΠΈ ΡΠ²Π΅ΡΠ»Π°.
- Π‘Π°ΠΌΠΎΡΠ΅Π·Ρ, Π±ΠΎΠ»ΡΡ.
- ΠΠΎΠΆ.
- Π‘ΠΌΠ°Π·ΠΊΠ° (ΠΠΈΡΠΎΠ», Π¨Π Π£Π‘).
- ΠΠΎΠ²ΡΠ΅ ΠΎΠ±ΠΎΠΉΠΌΡ.
ΠΠΎΡΠ»Π΅Π΄Π½ΠΈΠΉ ΠΏΡΠ½ΠΊΡ Π²Π°ΠΆΠ΅Π½, ΡΠ°ΠΊ ΠΊΠ°ΠΊ ΠΏΡΠΈ ΡΠ½ΡΡΠΈΠΈ ΠΎΠ±ΡΠΈΠ²ΠΊΠΈ Π΄Π²Π΅ΡΠΈ ΡΡΠ°ΡΡΠ΅ ΠΏΡΠΎΡΡΠΎ ΡΠ»ΠΎΠΌΠ°ΡΡΡΡ. ΠΠΎΠ³Π΄Π° Π²ΡΠ΅ Π±ΡΠ΄Π΅Ρ Π³ΠΎΡΠΎΠ²ΠΎ, ΠΌΠΎΠΆΠ½ΠΎ ΠΏΡΠΈΡΡΡΠΏΠ°ΡΡ ΠΊ ΠΌΠΎΠ½ΡΠ°ΠΆΠ½ΡΠΌ ΡΠ°Π±ΠΎΡΠ°ΠΌ. ΠΠ΅ΡΠ²ΡΠΌ Π΄Π΅Π»ΠΎΠΌ ΡΠ½ΠΈΠΌΠ°Π΅ΠΌ ΠΎΠ±ΡΠΈΠ²ΠΊΡ Π΄Π²Π΅ΡΠΈ. ΠΠ»Ρ ΡΡΠΎΠ³ΠΎ:
- ΠΡΠΊΡΡΡΠΈΠ²Π°Π΅ΠΌ Π±ΠΎΠ»ΡΡ ΠΊΡΠ΅ΠΏΠ»Π΅Π½ΠΈΡ ΡΡΡΠΊΠΈ Π΄Π²Π΅ΡΠΈ.
- Π‘Π½ΠΈΠΌΠΈΡΠ΅ ΡΡΡΠΊΡ ΠΎΠΊΠ½Π°.
- ΠΡΠ»ΠΈ ΡΡΡΠ°Π½ΠΎΠ²Π»Π΅Π½Ρ Π΄ΠΈΠ½Π°ΠΌΠΈΠΊΠΈ, ΠΈΡ ΡΠΎΠΆΠ΅ Π½Π° Π²ΡΠ΅ΠΌΡ Π΄Π΅ΠΌΠΎΠ½ΡΠΈΡΡΡΡ.
- Π‘Π½ΡΡΡ ΠΎΠ±ΡΠΈΠ²ΠΊΡ Π΄Π²Π΅ΡΠΈ ΠΠΠ 2101 Ρ ΡΠΈΠΊΡΠ°ΡΠΎΡΠΎΠ².
ΠΠΎΡ ΠΈ Π²ΡΠ΅, Π΄ΠΎΡΡΡΠΏ ΠΊ Π²Π½ΡΡΡΠ΅Π½Π½ΠΎΡΡΡΠΌ Π΄Π²Π΅ΡΠΈ ΠΎΡΠΊΡΡΡ, ΡΠ΅ΠΏΠ΅ΡΡ Π½ΡΠΆΠ½ΠΎ Π²ΡΠ΅ ΠΎΡΠΈΡΡΠΈΡΡ ΠΎΡ ΠΏΡΠ»ΠΈ ΠΈ Π³ΡΡΠ·ΠΈ. ΠΡΠΈ Π½Π΅ΠΎΠ±Ρ ΠΎΠ΄ΠΈΠΌΠΎΡΡΠΈ ΠΏΡΠΎΠ΄Π΅Π»Π°ΠΉΡΠ΅ Π² Π½ΠΈΠΆΠ½Π΅ΠΉ ΡΠ°ΡΡΠΈ Π΄Π²Π΅ΡΡΡ ΠΎΡΠ²Π΅ΡΡΡΠΈΡ Π΄Π»Ρ Π²ΡΡ ΠΎΠ΄Π° ΠΊΠΎΠ½Π΄Π΅Π½ΡΠ°ΡΠ°. Π’Π΅ΠΏΠ΅ΡΡ Π²Ρ ΠΎΡΠΊΡΡΡΠΈΠ²Π°Π΅ΡΠ΅ Π³Π°ΠΉΠΊΠΈ, ΠΊΠΎΡΠΎΡΡΠΌΠΈ Π±Π°ΡΠ°Π±Π°Π½ ΡΡΠ΅ΠΊΠ»ΠΎΠΏΠΎΠ΄ΡΠ΅ΠΌΠ½ΠΈΠΊΠ° ΠΠΠ 2101 ΠΊΡΠ΅ΠΏΠΈΡΡΡ ΠΊ Π΄Π²Π΅ΡΠΈ. Π Π²Π΅ΡΡ Π΄ΠΈΡΠΊ ΠΌΠΎΠΆΠ½ΠΎ Π²ΡΠ±ΡΠΎΡΠΈΡΡ, ΡΠ°ΠΊ ΠΊΠ°ΠΊ ΠΎΠ½ Π²Π°ΠΌ Π²ΡΡΠ΄ Π»ΠΈ ΠΏΡΠΈΠ³ΠΎΠ΄ΠΈΡΡΡ.
ΠΠΎΡΠ»Π΅ ΡΡΠΎΠ³ΠΎ ΠΎΡΠΊΡΡΡΠΈΠ²Π°Π΅ΠΌ Π½Π°ΠΏΡΠ°Π²Π»ΡΡΡΠΈΠ΅ ΡΡΠ΅ΠΊΠ»Π°. ΠΡ ΠΌΠΎΠΆΠ½ΠΎ Π½Π΅ΠΌΠ½ΠΎΠ³ΠΎ ΠΌΠΎΠ΄Π΅ΡΠ½ΠΈΠ·ΠΈΡΠΎΠ²Π°ΡΡ — ΡΠ±ΡΠ°ΡΡ ΠΏΠ°ΡΡ ΠΌΠΈΠ»Π»ΠΈΠΌΠ΅ΡΡΠΎΠ² Π²Π²Π΅ΡΡ Ρ, ΡΡΠΎΠ±Ρ ΡΡΠ΅ΠΊΠ»Ρ Π±ΡΠ»ΠΎ Π»Π΅Π³ΡΠ΅ ΡΠ΄Π²ΠΈΠ½ΡΡΡΡΡ. Π ΠΎΠ±ΡΠ΅ΠΌ, Π±ΡΠ΄Π΅Ρ ΠΈΠ΄Π΅Π°Π»ΡΠ½ΠΎ, Π΅ΡΠ»ΠΈ ΠΎΠ½ ΡΠΎΠ½Π΅Ρ ΠΏΠΎΠ΄ Π²Π°ΡΠΈΠΌ ΡΠΎΠ±ΡΡΠ²Π΅Π½Π½ΡΠΌ Π²Π΅ΡΠΎΠΌ. ΠΠ° ΡΡΠ΅ΠΊΠ»ΠΎΠΏΠΎΠ΄ΡΠ΅ΠΌΠ½ΠΈΠΊ Π±ΡΠ΄Π΅Ρ ΠΌΠ΅Π½ΡΡΠ΅ Π½Π°Π³ΡΡΠ·ΠΊΠΈ. ΠΠ°ΡΠ΅ΠΌ Π²Ρ ΡΡΡΠ°Π½Π°Π²Π»ΠΈΠ²Π°Π΅ΡΠ΅ ΡΡΠ΅ΠΊΠ»ΠΎ Π½Π° ΠΌΠ΅ΡΡΠΎ, Π½Π°Π΄Π΅ΠΆΠ½ΠΎ ΡΠΈΠΊΡΠΈΡΡΠ΅ΡΠ΅ ΠΈ Π½Π°ΠΌΠ΅ΡΠ°Π΅ΡΠ΅ ΡΠ°ΡΠΏΠΎΠ»ΠΎΠΆΠ΅Π½ΠΈΠ΅ ΠΌΠΎΡΠΎΡΠ° ΠΈ ΠΊΠΎΡΠΎΠ±ΠΊΠΈ ΠΏΠ΅ΡΠ΅Π΄Π°Ρ. ΠΠ° Π°Π²ΡΠΎΠΌΠΎΠ±ΠΈΠ»Π΅ ΠΠΠ 2101 Π΅Π³ΠΎ Π½Π΅ΠΎΠ±Ρ ΠΎΠ΄ΠΈΠΌΠΎ ΡΠ°Π·ΠΌΠ΅ΡΡΠΈΡΡ Π²Π½ΠΈΠ·Ρ Π΄Π²Π΅ΡΠΈ.
ΠΠ°ΠΏΡΠ°Π²Π»ΡΡΡΠ°Ρ Π΄ΠΎΠ»ΠΆΠ½Π° ΡΠ΅ΡΠΊΠΎ ΠΏΡΠΈΠ»Π΅Π³Π°ΡΡ ΠΊ ΡΡΠ΅ΠΊΠ»Ρ Π² ΡΡΠ΅Π΄Π½Π΅ΠΉ ΡΠ°ΡΡΠΈ, ΡΡΠΎΠ±Ρ ΠΈΠ·Π±Π΅ΠΆΠ°ΡΡ ΠΏΠ΅ΡΠ΅ΠΊΠΎΡΠ°.Π’ΠΎΠ»ΡΠΊΠΎ Π² ΡΡΠΎΠΌ ΡΠ»ΡΡΠ°Π΅ ΠΏΡΠΈΠ²ΠΎΠ΄ ΡΡΠ΅ΠΊΠ»ΠΎΠΏΠΎΠ΄ΡΠ΅ΠΌΠ½ΠΈΠΊΠ° Π½Π° ΠΠΠ 2101 ΡΠΌΠΎΠΆΠ΅Ρ Π½Π°Π΄Π΅ΠΆΠ½ΠΎ ΡΠ°Π±ΠΎΡΠ°ΡΡ Π΄ΠΎΠ»Π³ΠΎΠ΅ Π²ΡΠ΅ΠΌΡ. ΠΠΎΠ½Π΅ΡΠ½ΠΎ, Π²Π°ΠΌ Π½ΡΠΆΠ½ΠΎ Π±ΡΠ΄Π΅Ρ ΡΠ΄Π°Π»ΠΈΡΡ ΠΏΠΎΠ»ΠΈΡΡΠΈΠ»Π΅Π½ (Π²Π»Π°Π³ΠΎΠΈΠ·ΠΎΠ»ΡΡΠΈΡ), ΡΠ°ΠΊ ΠΊΠ°ΠΊ ΠΎΠ½ Π±ΡΠ΄Π΅Ρ ΠΌΠ΅ΡΠ°ΡΡ. Π ΠΎΠ»ΠΈΠΊΠΈ, ΠΊΠΎΡΠΎΡΡΠ΅ ΠΈΡΠΏΠΎΠ»ΡΠ·ΠΎΠ²Π°Π»ΠΈΡΡ Π΄Π»Ρ ΠΏΠ΅ΡΠ΅ΠΌΠ΅ΡΠ΅Π½ΠΈΡ ΡΡΠΎΡΠ°, Π½ΡΠΆΠ½ΠΎ Π»ΠΈΠ±ΠΎ Π·Π°Π±Π»ΠΎΠΊΠΈΡΠΎΠ²Π°ΡΡ, Π»ΠΈΠ±ΠΎ ΠΏΠΎΠ»Π½ΠΎΡΡΡΡ ΠΎΡΡΠ΅Π·Π°ΡΡ. Π ΠΏΡΠΎΡΠΈΠ²Π½ΠΎΠΌ ΡΠ»ΡΡΠ°Π΅ ΠΏΡΠΈ Π΄Π²ΠΈΠΆΠ΅Π½ΠΈΠΈ ΠΎΠ½ΠΈ Π±ΡΠ΄ΡΡ ΠΈΠ·Π΄Π°Π²Π°ΡΡ Π½Π΅ ΠΎΡΠ΅Π½Ρ ΠΏΡΠΈΡΡΠ½ΡΠΉ Π·Π²ΡΠΊ.
ΠΠΎΠ΄ΠΊΠ»ΡΡΠ΅Π½ΠΈΠ΅ ΠΎΡΡΡΠ΅ΡΡΠ²Π»ΡΠ΅ΡΡΡ ΠΊΠ½ΠΎΠΏΠΊΠ°ΠΌΠΈ ΠΊ Π°ΠΊΠΊΡΠΌΡΠ»ΡΡΠΎΡΡ. Π Π½Π΅ Π·Π°Π±ΡΠ²Π°Π΅ΠΌ ΠΏΡΠΎ ΠΏΡΠ΅Π΄ΠΎΡ ΡΠ°Π½ΠΈΡΠ΅Π»Ρ Π² Π½Π°ΡΠ°Π»Π΅ ΡΠΈΠ»ΠΎΠ²ΠΎΠΉ ΡΠ΅ΠΏΠΈ. ΠΠΎΠΌΠ½ΠΈΡΠ΅, ΡΡΠΎ Π²ΡΡ ΡΠ»Π΅ΠΊΡΡΠΈΠΊΠ° ΠΠΠ 2101 Π΄ΠΎΠ»ΠΆΠ½Π° Π±ΡΡΡ Π·Π°ΡΠΈΡΠ΅Π½Π° ΠΎΡ Π²ΠΎΠ·ΠΌΠΎΠΆΠ½ΠΎΠ³ΠΎ ΠΊΠΎΡΠΎΡΠΊΠΎΠ³ΠΎ Π·Π°ΠΌΡΠΊΠ°Π½ΠΈΡ ΠΏΡΠ΅Π΄ΠΎΡ ΡΠ°Π½ΠΈΡΠ΅Π»ΡΠΌΠΈ.ΠΡΠΈΡΠ΅ΠΌ ΠΏΠΎΡΠ»Π΅Π΄Π½ΠΈΠ΅ Π²ΡΠ±ΠΈΡΠ°ΡΡΡΡ ΠΈΡΡ ΠΎΠ΄Ρ ΠΈΠ· ΡΠΎΠ³ΠΎ, ΠΊΠ°ΠΊΠΎΠΉ ΡΠΎΠΊ ΠΏΠΎΡΡΠ΅Π±Π»ΡΠ΅Ρ ΠΏΠΎΠ΄ΠΊΠ»ΡΡΠ΅Π½Π½ΠΎΠ΅ ΡΡΡΡΠΎΠΉΡΡΠ²ΠΎ. ΠΠ½ΠΈ Π·Π°ΡΠΈΡΡΡ Π²Π°Ρ Π°Π²ΡΠΎΠΌΠΎΠ±ΠΈΠ»Ρ ΠΎΡ ΠΊΠΎΡΠΎΡΠΊΠΈΡ Π·Π°ΠΌΡΠΊΠ°Π½ΠΈΠΉ.
Π ΠΏΠ΅ΡΠ΅Π΄ ΡΠ±ΠΎΡΠΊΠΎΠΉ Π΄Π²Π΅ΡΠΈ ΠΎΠ±ΠΈΠ»ΡΠ½ΠΎ ΡΠΌΠ°ΠΆΡΡΠ΅ ΡΠ΅ΠΉΠΊΡ ΠΠΈΡΠΎΠ»ΠΎΠΌ ΠΈΠ»ΠΈ Π¨Π Π£Π‘ΠΎΠΌ. ΠΡΠΎ Π·Π½Π°ΡΠΈΡΠ΅Π»ΡΠ½ΠΎ ΡΠΏΡΠΎΡΡΠΈΡ ΡΠΊΡΠΏΠ»ΡΠ°ΡΠ°ΡΠΈΡ ΠΏΡΠΈΠ²ΠΎΠ΄Π°. Π’ΠΎΠ»ΡΠΊΠΎ ΠΏΠΎΡΠ»Π΅ ΡΡΡΠ°Π½ΠΎΠ²ΠΊΠΈ ΠΌΠΎΠΆΠ½ΠΎ ΡΡΡΠ°Π½ΠΎΠ²ΠΈΡΡ ΡΡΠΌΠΊΡ ΠΠΠ 2101 Π΄Π»Ρ ΠΏΠΎΠ²ΡΡΠ΅Π½ΠΈΡ ΠΊΠΎΠΌΡΠΎΡΡΠ° Π² Π°Π²ΡΠΎΠΌΠΎΠ±ΠΈΠ»Π΅. ΠΠ΅ΡΠΌΠΎΡΡΡ Π½Π° ΡΠΎ, ΡΡΠΎ ΠΌΠ°ΡΠΈΠ½Π° ΡΡΠ°ΡΠ°Ρ, ΠΎΠ½Π° ΠΏΠΎ-ΠΏΡΠ΅ΠΆΠ½Π΅ΠΌΡ ΠΏΠΎΠΏΡΠ»ΡΡΠ½Π°.
ΠΠΈΠ΄Π΅ΠΎ ΠΎΠ± ΡΡΡΠ°Π½ΠΎΠ²ΠΊΠ΅ ΡΡΠ΅ΠΊΠ»ΠΎΠΏΠΎΠ΄ΡΠ΅ΠΌΠ½ΠΈΠΊΠΎΠ² Π½Π° Π°Π²ΡΠΎΠΌΠΎΠ±ΠΈΠ»Ρ ΠΠΠ 2101:
https: // youtu.be / 4dhm0A6OHM8
ΠΠ°ΠΊ Π·Π°ΠΌΠ΅Π½ΠΈΡΡ Π΄Π²ΠΈΠ³Π°ΡΠ΅Π»Ρ ΡΡΠ΅ΠΊΠ»ΠΎΠΏΠΎΠ΄ΡΠ΅ΠΌΠ½ΠΈΠΊΠ° Π°Π²ΡΠΎΠΌΠΎΠ±ΠΈΠ»Ρ / ΡΡΠ΅ΠΊΠ»ΠΎΠΏΠΎΠ΄ΡΠ΅ΠΌΠ½ΠΈΠΊ Π² ΡΠ±ΠΎΡΠ΅
ΠΠ²ΠΈΠ³Π°ΡΠ΅Π»ΠΈ ΠΈ ΡΠ΅Π³ΡΠ»ΡΡΠΎΡΡ ΡΡΠ΅ΠΊΠ»ΠΎΠΏΠΎΠ΄ΡΠ΅ΠΌΠ½ΠΈΠΊΠΎΠ² ΡΡΠ°Π½ΡΠΏΠΎΡΡΠ½ΡΡ ΡΡΠ΅Π΄ΡΡΠ² ΠΏΡΠ΅Π΄Π½Π°Π·Π½Π°ΡΠ΅Π½Ρ Π΄Π»Ρ ΠΏΠ΅ΡΠ΅ΠΌΠ΅ΡΠ΅Π½ΠΈΡ ΡΡΠ΅ΠΊΠΎΠ» Π²Π²Π΅ΡΡ ΠΈ Π²Π½ΠΈΠ· Π±Π΅Π· ΠΈΡΠΏΠΎΠ»ΡΠ·ΠΎΠ²Π°Π½ΠΈΡ ΡΡΡΠ°Π³Π° ΡΠΏΡΠ°Π²Π»Π΅Π½ΠΈΡ ΡΡΠ΅ΠΊΠ»ΠΎΠΏΠΎΠ΄ΡΠ΅ΠΌΠ½ΠΈΠΊΠΎΠΌ. ΠΠΎΡΠΊΠΎΠ»ΡΠΊΡ Π°Π²ΡΠΎΠΌΠΎΠ±ΠΈΠ»ΠΈ ΡΡΠ°Π½ΠΎΠ²ΡΡΡΡ Π²ΡΠ΅ Π±ΠΎΠ»Π΅Π΅ ΡΠ»ΠΎΠΆΠ½ΡΠΌΠΈ, ΡΠ»Π΅ΠΊΡΡΠΈΡΠ΅ΡΠΊΠΈΠ΅ ΡΡΠ΅ΠΊΠ»ΠΎΠΏΠΎΠ΄ΡΠ΅ΠΌΠ½ΠΈΠΊΠΈ ΡΠ΅Π³ΠΎΠ΄Π½Ρ Π±ΠΎΠ»Π΅Π΅ ΡΠ°ΡΠΏΡΠΎΡΡΡΠ°Π½Π΅Π½Ρ Π½Π° ΡΡΠ°Π½ΡΠΏΠΎΡΡΠ½ΡΡ ΡΡΠ΅Π΄ΡΡΠ²Π°Ρ . ΠΡΡΡ Π΄Π²ΠΈΠ³Π°ΡΠ΅Π»Ρ ΠΈ ΡΠ΅Π³ΡΠ»ΡΡΠΎΡ, ΠΊΠΎΡΠΎΡΡΠ΅ Π²ΠΊΠ»ΡΡΠ°ΡΡΡΡ, ΠΊΠΎΠ³Π΄Π° ΠΊΠ»ΡΡ Π·Π°ΠΆΠΈΠ³Π°Π½ΠΈΡ Π²ΡΡΠ°Π²Π»Π΅Π½ ΠΈ ΡΡΡΠ°Π½ΠΎΠ²Π»Π΅Π½ Π² Π΄ΠΎΠΏΠΎΠ»Π½ΠΈΡΠ΅Π»ΡΠ½ΠΎΠ΅ ΠΈΠ»ΠΈ Π²ΠΊΠ»ΡΡΠ΅Π½Π½ΠΎΠ΅ ΠΏΠΎΠ»ΠΎΠΆΠ΅Π½ΠΈΠ΅. ΠΠΎΠ»ΡΡΠΈΠ½ΡΡΠ²ΠΎ ΡΡΠ΅ΠΊΠ»ΠΎΠΏΠΎΠ΄ΡΠ΅ΠΌΠ½ΠΈΠΊΠΎΠ² Π½Π΅ ΠΈΠΌΠ΅ΡΡ ΠΏΠΈΡΠ°Π½ΠΈΡ Π±Π΅Π· ΠΊΠ»ΡΡΠ° ΠΎΡ Π°Π²ΡΠΎΠΌΠΎΠ±ΠΈΠ»Ρ.ΠΡΠΎ ΠΏΡΠ΅Π΄ΠΎΡΠ²ΡΠ°ΡΠ°Π΅Ρ Π°ΠΊΡΠΈΠ²Π°ΡΠΈΡ ΡΠ»Π΅ΠΊΡΡΠΎΠ΄Π²ΠΈΠ³Π°ΡΠ΅Π»Ρ, ΠΊΠΎΠ³Π΄Π° Π² Π°Π²ΡΠΎΠΌΠΎΠ±ΠΈΠ»Π΅ Π½ΠΈΠΊΠΎΠ³ΠΎ Π½Π΅Ρ.
ΠΡΠ»ΠΈ Π΄Π²ΠΈΠ³Π°ΡΠ΅Π»Ρ ΠΈΠ»ΠΈ ΡΠ΅Π³ΡΠ»ΡΡΠΎΡ ΡΡΠ΅ΠΊΠ»ΠΎΠΏΠΎΠ΄ΡΠ΅ΠΌΠ½ΠΈΠΊΠ° Π²ΡΠΉΠ΄Π΅Ρ ΠΈΠ· ΡΡΡΠΎΡ, ΠΎΠΊΠ½ΠΎ Π½Π΅ Π±ΡΠ΄Π΅Ρ Π΄Π²ΠΈΠ³Π°ΡΡΡΡ Π²Π²Π΅ΡΡ ΠΈΠ»ΠΈ Π²Π½ΠΈΠ· ΠΏΡΠΈ ΠΏΠΎΠΏΡΡΠΊΠ΅ Π·Π°Π΄Π΅ΠΉΡΡΠ²ΠΎΠ²Π°ΡΡ ΠΏΠ΅ΡΠ΅ΠΊΠ»ΡΡΠ°ΡΠ΅Π»Ρ. ΠΠΊΠ½ΠΎ Π°Π²ΡΠΎΠΌΠ°ΡΠΈΡΠ΅ΡΠΊΠΈ ΠΎΡΠΊΡΠΎΠ΅ΡΡΡ. ΠΡΠ»ΠΈ ΠΎΠ΄Π½ΠΎ ΠΎΠΊΠ½ΠΎ Π·Π°ΠΊΠ»ΠΈΠ½ΠΈΠ»ΠΎ, ΠΏΠ°ΡΡ Π²ΡΡ Π»ΠΎΠΏΠ½ΠΎΠΉ ΡΠΈΡΡΠ΅ΠΌΡ Π°Π²ΡΠΎΠΌΠΎΠ±ΠΈΠ»Ρ, Π΄ΠΎΠΆΠ΄Ρ, Π³ΡΠ°Π΄ ΠΈΠ»ΠΈ ΠΌΡΡΠΎΡ ΠΌΠΎΠ³ΡΡ ΠΏΠΎΠΏΠ°ΡΡΡ Π² Π°Π²ΡΠΎΠΌΠΎΠ±ΠΈΠ»Ρ ΠΈ Π²ΡΠ·Π²Π°ΡΡ ΠΏΡΠΎΠ±Π»Π΅ΠΌΡ.
ΠΠ΅ΠΎΠ±Ρ ΠΎΠ΄ΠΈΠΌΡΠ΅ ΠΌΠ°ΡΠ΅ΡΠΈΠ°Π»Ρ
- ΠΠ°Π±ΠΎΡ ΡΠ΅ΡΡΠΈΠ³ΡΠ°Π½Π½ΡΡ ΠΊΠ»ΡΡΠ΅ΠΉ
- ΠΠ»ΡΡ ΡΠΎΡΡΠ΅Π²ΠΎΠΉ Π² ΠΊΠΎΡΠΎΠ±ΠΊΠ΅
- ΠΡΠ²Π΅ΡΡΠΊΠ° ΠΊΡΠ΅ΡΡΠΎΠ²Π°Ρ
- ΠΠ»Π΅ΠΊΡΡΠΎΠΎΡΠΈΡΡΠΈΡΠ΅Π»Ρ
- ΠΠ»ΠΎΡΠΊΠΎΠ³ΡΠ±ΡΡ ΠΈΠ³ΠΎΠ»ΡΡΠ°ΡΡΠ΅
- Π£ΡΡΡΠΎΠΉΡΡΠ²ΠΎ ΡΠ½Π΅ΡΠ³ΠΎΡΠ±Π΅ΡΠ΅ΠΆΠ΅Π½ΠΈΡ Π½Π° 9 Π
- ΠΠ΅ΡΡΠ°ΡΠΊΠΈ Π·Π°ΡΠΈΡΠ½ΡΠ΅
- Π’ΡΠ΅ΡΠΎΡΠΊΠ° Ρ ΠΌΠ΅ΡΡΠΈΡΠ΅ΡΠΊΠΎΠΉ ΠΈ ΡΡΠ°Π½Π΄Π°ΡΡΠ½ΠΎΠΉ Π³ΠΎΠ»ΠΎΠ²ΠΊΠΎΠΉ
- ΠΠ΅Π·Π²ΠΈΠ΅ Π΄Π»Ρ Π±ΡΠΈΡΠ²Ρ
- ΠΠ°ΡΠΈΡΠ½ΡΠ΅ ΠΎΡΠΊΠΈ
- ΠΠΎΠ»ΠΎΡΠΎΠΊ ΠΌΠ°Π»ΡΠΉ
- ΠΠ·ΠΌΠ΅ΡΠΈΡΠ΅Π»ΡΠ½ΡΠ΅ ΠΏΡΠΎΠ²ΠΎΠ΄Π°
- ΠΠ°Π±ΠΎΡ Π±ΠΈΡ Torx
- ΠΡΠΎΡΠΈΠ²ΠΎΠΎΡΠΊΠ°ΡΠ½ΡΠ΅ ΡΠΏΠΎΡΡ
Π§Π°ΡΡΡ 1 ΠΈΠ· 2: Π‘Π½ΡΡΠΈΠ΅ ΡΠ·Π»Π° Π΄Π²ΠΈΠ³Π°ΡΠ΅Π»Ρ / ΡΠ΅Π³ΡΠ»ΡΡΠΎΡ ΡΡΠ΅ΠΊΠ»ΠΎΠΏΠΎΠ΄ΡΠ΅ΠΌΠ½ΠΈΠΊΠ°
Π¨Π°Π³ 1. ΠΡΠΈΠΏΠ°ΡΠΊΡΠΉΡΠ΅ Π°Π²ΡΠΎΠΌΠΎΠ±ΠΈΠ»Ρ Π½Π° ΡΠΎΠ²Π½ΠΎΠΉ ΡΠ²Π΅ΡΠ΄ΠΎΠΉ ΠΏΠΎΠ²Π΅ΡΡ Π½ΠΎΡΡΠΈ .Π£Π±Π΅Π΄ΠΈΡΠ΅ΡΡ, ΡΡΠΎ ΡΡΠ°Π½ΡΠΌΠΈΡΡΠΈΡ ΡΡΠΎΠΈΡ Π½Π° ΡΡΠΎΡΠ½ΠΊΠ΅ (Π΄Π»Ρ Π°Π²ΡΠΎΠΌΠ°ΡΠΈΠΊΠΈ) ΠΈΠ»ΠΈ Π½Π° ΠΏΠ΅ΡΠ²ΠΎΠΉ ΠΏΠ΅ΡΠ΅Π΄Π°ΡΠ΅ (Π΄Π»Ρ ΠΌΠ΅Ρ Π°Π½ΠΈΡΠ΅ΡΠΊΠΈΡ ΠΊΠΎΡΠΎΠ±ΠΎΠΊ ΠΏΠ΅ΡΠ΅Π΄Π°Ρ).
Π¨Π°Π³ 2: Π£ΡΡΠ°Π½ΠΎΠ²ΠΈΡΠ΅ Π² ΠΏΡΠΈΠΊΡΡΠΈΠ²Π°ΡΠ΅Π»Ρ Π°ΠΊΠΊΡΠΌΡΠ»ΡΡΠΎΡΠ½ΡΡ Π±Π°ΡΠ°ΡΠ΅Ρ Π½Π° 9 ΠΠΎΠ»ΡΡ. ΠΡΠΎ ΠΎΠ±Π΅ΡΠΏΠ΅ΡΠΈΡ Π±Π΅ΡΠΏΠ΅ΡΠ΅Π±ΠΎΠΉΠ½ΡΡ ΡΠ°Π±ΠΎΡΡ Π²Π°ΡΠ΅Π³ΠΎ ΠΊΠΎΠΌΠΏΡΡΡΠ΅ΡΠ° ΠΈ ΡΠΎΡ ΡΠ°Π½ΠΈΡ Π°ΠΊΡΡΠ°Π»ΡΠ½ΠΎΡΡΡ Π²Π°ΡΠΈΡ Π½Π°ΡΡΡΠΎΠ΅ΠΊ Π² Π°Π²ΡΠΎΠΌΠΎΠ±ΠΈΠ»Π΅. ΠΡΠ»ΠΈ Ρ Π²Π°Ρ Π½Π΅Ρ ΡΡΡΡΠΎΠΉΡΡΠ²Π° Π΄Π»Ρ ΡΠΊΠΎΠ½ΠΎΠΌΠΈΠΈ Π·Π°ΡΡΠ΄Π° Π±Π°ΡΠ°ΡΠ΅ΠΈ Π½Π° Π΄Π΅Π²ΡΡΡ Π²ΠΎΠ»ΡΡ, Π²Ρ ΠΌΠΎΠΆΠ΅ΡΠ΅ Π·Π°Π²Π΅ΡΡΠΈΡΡ ΡΠ°Π±ΠΎΡΡ Π±Π΅Π· Π½Π΅Π³ΠΎ; ΡΡΠΎ ΠΏΡΠΎΡΡΠΎ ΡΠΏΡΠΎΡΠ°Π΅Ρ Π·Π°Π΄Π°ΡΡ.
Π¨Π°Π³ 3. ΠΡΠΊΡΠΎΠΉΡΠ΅ ΠΊΠ°ΠΏΠΎΡ Π°Π²ΡΠΎΠΌΠΎΠ±ΠΈΠ»Ρ ΠΈ ΠΎΡΡΠΎΠ΅Π΄ΠΈΠ½ΠΈΡΠ΅ Π°ΠΊΠΊΡΠΌΡΠ»ΡΡΠΎΡ . ΠΡΡΠΎΠ΅Π΄ΠΈΠ½ΠΈΡΠ΅ Π·Π°Π·Π΅ΠΌΠ»ΡΡΡΠΈΠΉ ΠΊΠ°Π±Π΅Π»Ρ ΠΎΡ ΠΎΡΡΠΈΡΠ°ΡΠ΅Π»ΡΠ½ΠΎΠΉ ΠΊΠ»Π΅ΠΌΠΌΡ Π°ΠΊΠΊΡΠΌΡΠ»ΡΡΠΎΡΠ½ΠΎΠΉ Π±Π°ΡΠ°ΡΠ΅ΠΈ, ΠΎΡΠΊΠ»ΡΡΠΈΠ² ΠΏΠΎΠ΄Π°ΡΡ ΠΏΠΈΡΠ°Π½ΠΈΡ Π½Π° ΡΠΈΡΡΠ΅ΠΌΡ Π·Π°ΠΆΠΈΠ³Π°Π½ΠΈΡ, Π΄Π²ΠΈΠ³Π°ΡΠ΅Π»Ρ ΡΡΠ΅ΠΊΠ»ΠΎΠΏΠΎΠ΄ΡΠ΅ΠΌΠ½ΠΈΠΊΠ° ΠΈ ΡΠ·Π΅Π» ΡΠ΅Π³ΡΠ»ΡΡΠΎΡΠ°.
- ΠΡΠΈΠΌΠ΅ΡΠ°Π½ΠΈΠ΅ : ΠΠ°ΠΆΠ½ΠΎ Π·Π°ΡΠΈΡΠΈΡΡ ΡΡΠΊΠΈ. ΠΠ±ΡΠ·Π°ΡΠ΅Π»ΡΠ½ΠΎ Π½Π°Π΄Π΅Π½ΡΡΠ΅ Π·Π°ΡΠΈΡΠ½ΡΠ΅ ΠΏΠ΅ΡΡΠ°ΡΠΊΠΈ, ΠΏΡΠ΅ΠΆΠ΄Π΅ ΡΠ΅ΠΌ ΡΠ½ΠΈΠΌΠ°ΡΡ ΠΊΠ°ΠΊΠΈΠ΅-Π»ΠΈΠ±ΠΎ ΠΊΠ»Π΅ΠΌΠΌΡ Π°ΠΊΠΊΡΠΌΡΠ»ΡΡΠΎΡΠ°.
Π¨Π°Π³ 4: ΠΡΠΊΡΡΡΠΈΡΠ΅ Π²ΠΈΠ½ΡΡ ΠΏΠ΅ΡΠ΅ΠΊΠ»ΡΡΠ°ΡΠ΅Π»Ρ ΡΡΠ΅ΠΊΠ»ΠΎΠΏΠΎΠ΄ΡΠ΅ΠΌΠ½ΠΈΠΊΠ° . ΠΠ΅ΡΠ΅Π΄ ΡΠ΅ΠΌ, ΠΊΠ°ΠΊ ΡΠ½ΡΡΡ Π΄Π²Π΅ΡΠ½ΡΡ ΠΏΠ°Π½Π΅Π»Ρ, Π½ΡΠΆΠ½ΠΎ ΠΎΡΠΊΡΡΡΠΈΡΡ Π²ΠΈΠ½ΡΡ, ΠΊΡΠ΅ΠΏΡΡΠΈΠ΅ ΠΎΠΊΠΎΠ½Π½ΡΠΉ ΠΏΠ΅ΡΠ΅ΠΊΠ»ΡΡΠ°ΡΠ΅Π»Ρ ΠΊ Π΄Π²Π΅ΡΠ½ΠΎΠΉ ΠΏΠ°Π½Π΅Π»ΠΈ. ΠΡΠ»ΠΈ Π²ΡΠΊΠ»ΡΡΠ°ΡΠ΅Π»Ρ ΡΡΠ΅ΠΊΠ»ΠΎΠΏΠΎΠ΄ΡΠ΅ΠΌΠ½ΠΈΠΊΠ° Π½Π΅ ΠΌΠΎΠΆΠ΅Ρ Π±ΡΡΡ ΠΎΡΡΠΎΠ΅Π΄ΠΈΠ½Π΅Π½, Π²ΠΎΠ·ΠΌΠΎΠΆΠ½ΠΎ, Π²Ρ ΡΠΌΠΎΠΆΠ΅ΡΠ΅ ΠΎΡΡΠΎΠ΅Π΄ΠΈΠ½ΠΈΡΡ ΡΠ°Π·ΡΠ΅ΠΌΡ ΠΆΠ³ΡΡΠ° ΠΏΡΠΎΠ²ΠΎΠ΄ΠΎΠ² ΠΏΠΎΠ΄ Π΄Π²Π΅ΡΠ½ΠΎΠΉ ΠΏΠ°Π½Π΅Π»ΡΡ, ΠΊΠΎΠ³Π΄Π° Π±ΡΠ΄Π΅ΡΠ΅ Π΅Π΅ ΡΠ½ΠΈΠΌΠ°ΡΡ.
Π¨Π°Π³ 5: Π‘Π½ΠΈΠΌΠΈΡΠ΅ Π΄Π²Π΅ΡΠ½ΡΡ ΠΏΠ°Π½Π΅Π»Ρ .Π‘Π½ΠΈΠΌΠ°Π΅ΠΌ Π΄Π²Π΅ΡΠ½ΡΡ ΠΏΠ°Π½Π΅Π»Ρ Π½Π° Π΄Π²Π΅ΡΠΈ Ρ Π½Π΅ΠΈΡΠΏΡΠ°Π²Π½ΡΠΌ ΠΌΠΎΡΠΎΡΠΎΠΌ ΡΡΠ΅ΠΊΠ»ΠΎΠΏΠΎΠ΄ΡΠ΅ΠΌΠ½ΠΈΠΊΠ° ΠΈ ΡΠ΅Π³ΡΠ»ΡΡΠΎΡΠΎΠΌ. Π’Π°ΠΊΠΆΠ΅ ΡΠ½ΠΈΠΌΠΈΡΠ΅ ΠΏΡΠΎΠ·ΡΠ°ΡΠ½ΡΡ ΠΏΠ»Π°ΡΡΠΈΠΊΠΎΠ²ΡΡ ΠΊΡΡΡΠΊΡ Π·Π° Π΄Π²Π΅ΡΠ½ΠΎΠΉ ΠΏΠ°Π½Π΅Π»ΡΡ. Π§ΡΠΎΠ±Ρ ΡΠ½ΡΡΡ ΠΏΠ»Π°ΡΡΠΈΠΊΠΎΠ²ΡΡ ΠΊΡΡΡΠΊΡ, Π²Π°ΠΌ ΠΏΠΎΠ½Π°Π΄ΠΎΠ±ΠΈΡΡΡ Π»Π΅Π·Π²ΠΈΠ΅ Π±ΡΠΈΡΠ²Ρ.
- ΠΡΠΈΠΌΠ΅ΡΠ°Π½ΠΈΠ΅ : ΠΠ»Π°ΡΡΠΈΠΊ ΠΈΠ³ΡΠ°Π΅Ρ Π²Π°ΠΆΠ½ΡΡ ΡΠΎΠ»Ρ Π² ΠΎΠ±ΡΠ°Π·ΠΎΠ²Π°Π½ΠΈΠΈ Π²ΠΎΠ΄ΠΎΠ½Π΅ΠΏΡΠΎΠ½ΠΈΡΠ°Π΅ΠΌΠΎΠ³ΠΎ Π±Π°ΡΡΠ΅ΡΠ° Π½Π° Π²Π½Π΅ΡΠ½Π΅ΠΉ ΡΡΠΎΡΠΎΠ½Π΅ Π²Π½ΡΡΡΠ΅Π½Π½Π΅ΠΉ Π΄Π²Π΅ΡΠ½ΠΎΠΉ ΠΏΠ°Π½Π΅Π»ΠΈ, ΠΏΠΎΡΠΎΠΌΡ ΡΡΠΎ Π²ΠΎΠ΄Π° Π²ΡΠ΅Π³Π΄Π° ΠΏΠΎΠΏΠ°Π΄Π°Π΅Ρ Π²Π½ΡΡΡΡ Π΄Π²Π΅ΡΠΈ Π² Π΄ΠΎΠΆΠ΄Π»ΠΈΠ²ΡΠ΅ Π΄Π½ΠΈ ΠΈΠ»ΠΈ Π½Π° Π°Π²ΡΠΎΠΌΠΎΠΉΠΊΠ΅. Π£Π±Π΅Π΄ΠΈΡΠ΅ΡΡ, ΡΡΠΎ Π΄Π²Π° ΡΠ»ΠΈΠ²Π½ΡΡ ΠΎΡΠ²Π΅ΡΡΡΠΈΡ Π² Π½ΠΈΠΆΠ½Π΅ΠΉ ΡΠ°ΡΡΠΈ Π΄Π²Π΅ΡΡΡ ΡΠΈΡΡΡΠ΅, ΠΈ ΡΡΠΎ Π² Π½ΠΈΠΆΠ½Π΅ΠΉ ΡΠ°ΡΡΠΈ Π΄Π²Π΅ΡΡΡ Π½Π΅Ρ ΡΠΊΠΎΠΏΠ»Π΅Π½ΠΈΠΉ ΠΌΡΡΠΎΡΠ°.
Π¨Π°Π³ 5: Π‘Π½ΠΈΠΌΠΈΡΠ΅ ΠΌΠΎΠ½ΡΠ°ΠΆΠ½ΡΠ΅ Π±ΠΎΠ»ΡΡ ΡΠ·Π»Π° . ΠΠ°ΠΉΠ΄ΠΈΡΠ΅ ΠΌΠΎΡΠΎΡ ΡΡΠ΅ΠΊΠ»ΠΎΠΏΠΎΠ΄ΡΠ΅ΠΌΠ½ΠΈΠΊΠ° ΠΈ ΡΠ΅Π³ΡΠ»ΡΡΠΎΡ Π²Π½ΡΡΡΠΈ Π΄Π²Π΅ΡΠΈ. ΠΠ°ΠΌ Π½ΡΠΆΠ½ΠΎ Π±ΡΠ΄Π΅Ρ ΡΠ΄Π°Π»ΠΈΡΡ ΡΠ΅ΡΡΡΠ΅-ΡΠ΅ΡΡΡ ΠΊΡΠ΅ΠΏΠ΅ΠΆΠ½ΡΡ Π±ΠΎΠ»ΡΠΎΠ², ΠΊΠΎΡΠΎΡΡΠ΅ ΠΊΡΠ΅ΠΏΡΡ ΡΡΠ΅ΠΊΠ»ΠΎΠΏΠΎΠ΄ΡΠ΅ΠΌΠ½ΠΈΠΊ Π² ΡΠ±ΠΎΡΠ΅ ΠΊ Π΄Π²Π΅ΡΠ½ΠΎΠΉ ΠΊΠΎΡΠΎΠ±ΠΊΠ΅. ΠΠΎΠ·ΠΌΠΎΠΆΠ½ΠΎ, Π²Π°ΠΌ ΠΏΡΠΈΠ΄Π΅ΡΡΡ ΡΠ½ΡΡΡ Π΄Π²Π΅ΡΠ½ΠΎΠΉ Π΄ΠΈΠ½Π°ΠΌΠΈΠΊ, ΡΡΠΎΠ±Ρ ΠΏΠΎΠ»ΡΡΠΈΡΡ Π΄ΠΎΡΡΡΠΏ ΠΊ ΠΊΡΠ΅ΠΏΠ΅ΠΆΠ½ΡΠΌ Π±ΠΎΠ»ΡΠ°ΠΌ.
Π¨Π°Π³ 6: ΠΠ΅ Π΄ΠΎΠΏΡΡΠΊΠ°ΠΉΡΠ΅ ΠΏΠ°Π΄Π΅Π½ΠΈΡ ΠΎΠΊΠ½Π° . ΠΡΠ»ΠΈ Π΄Π²ΠΈΠ³Π°ΡΠ΅Π»Ρ ΡΡΠ΅ΠΊΠ»ΠΎΠΏΠΎΠ΄ΡΠ΅ΠΌΠ½ΠΈΠΊΠ° ΠΈ ΡΠ΅Π³ΡΠ»ΡΡΠΎΡ Π²ΡΠ΅ Π΅ΡΠ΅ ΡΠ°Π±ΠΎΡΠ°ΡΡ, ΠΏΠΎΠ΄ΡΠΎΠ΅Π΄ΠΈΠ½ΠΈΡΠ΅ ΠΏΠ΅ΡΠ΅ΠΊΠ»ΡΡΠ°ΡΠ΅Π»Ρ ΠΊ Π΄Π²ΠΈΠ³Π°ΡΠ΅Π»Ρ ΡΡΠ΅ΠΊΠ»ΠΎΠΏΠΎΠ΄ΡΠ΅ΠΌΠ½ΠΈΠΊΠ° ΠΈ ΠΏΠΎΠ»Π½ΠΎΡΡΡΡ ΠΏΠΎΠ΄Π½ΠΈΠΌΠΈΡΠ΅ ΠΎΠΊΠ½ΠΎ.
ΠΡΠ»ΠΈ ΠΌΠΎΡΠΎΡ ΡΡΠ΅ΠΊΠ»ΠΎΠΏΠΎΠ΄ΡΠ΅ΠΌΠ½ΠΈΠΊΠ° Π½Π΅ ΡΠ°Π±ΠΎΡΠ°Π΅Ρ, Π²Π°ΠΌ ΠΏΠΎΠ½Π°Π΄ΠΎΠ±ΠΈΡΡΡ ΠΌΠΎΠ½ΡΠΈΡΠΎΠ²ΠΊΠ°, ΡΡΠΎΠ±Ρ ΠΏΠΎΠ΄ΡΠΎΠ»ΠΊΠ½ΡΡΡ Π²Π²Π΅ΡΡ ΡΠ±ΠΎΡΠΊΡ ΠΎΡΠ½ΠΎΠ²Π°Π½ΠΈΡ ΡΠ΅Π³ΡΠ»ΡΡΠΎΡΠ°, ΡΡΠΎΠ±Ρ ΠΏΠΎΠ΄Π½ΡΡΡ ΠΎΠΊΠ½ΠΎ. ΠΡΠΏΠΎΠ»ΡΠ·ΡΠΉΡΠ΅ ΠΌΠ°Π»ΡΡΠ½ΡΠΉ ΡΠΊΠΎΡΡ, ΡΡΠΎΠ±Ρ ΠΏΡΠΈΠΊΡΠ΅ΠΏΠΈΡΡ ΠΎΠΊΠ½ΠΎ ΠΊ Π΄Π²Π΅ΡΠΈ, ΡΡΠΎΠ±Ρ ΠΎΠ½ΠΎ Π½Π΅ ΡΠΏΠ°Π»ΠΎ.
Π¨Π°Π³ 7: Π‘Π½ΠΈΠΌΠΈΡΠ΅ Π²Π΅ΡΡ Π½ΠΈΠ΅ ΠΊΡΠ΅ΠΏΠ΅ΠΆΠ½ΡΠ΅ Π±ΠΎΠ»ΡΡ . ΠΠΎΡΠ»Π΅ ΡΠΎΠ³ΠΎ, ΠΊΠ°ΠΊ ΠΎΠΊΠ½ΠΎ Π±ΡΠ΄Π΅Ρ ΠΏΠΎΠ»Π½ΠΎΡΡΡΡ ΠΏΠΎΠ΄Π½ΡΡΠΎ ΠΈ Π·Π°ΠΊΡΠ΅ΠΏΠ»Π΅Π½ΠΎ, Π±ΡΠ΄ΡΡ Π²ΠΈΠ΄Π½Ρ Π²Π΅ΡΡ Π½ΠΈΠ΅ ΠΊΡΠ΅ΠΏΠ΅ΠΆΠ½ΡΠ΅ Π±ΠΎΠ»ΡΡ Π½Π° ΡΡΠ΅ΠΊΠ»ΠΎΠΏΠΎΠ΄ΡΠ΅ΠΌΠ½ΠΈΠΊΠ΅. ΠΡΠ²Π΅ΡΠ½ΠΈΡΠ΅ Π±ΠΎΠ»ΡΡ ΠΊΡΠ΅ΠΏΠ»Π΅Π½ΠΈΡ ΡΡΠ΅ΠΊΠ»ΠΎΠΏΠΎΠ΄ΡΠ΅ΠΌΠ½ΠΈΠΊΠ°.
Π¨Π°Π³ 8: Π‘Π½ΠΈΠΌΠΈΡΠ΅ ΡΠ·Π΅Π» .ΠΡΡΠ°ΡΠΈΡΠ΅ Π΄Π²ΠΈΠ³Π°ΡΠ΅Π»Ρ ΡΡΠ΅ΠΊΠ»ΠΎΠΏΠΎΠ΄ΡΠ΅ΠΌΠ½ΠΈΠΊΠ° ΠΈ ΡΠ΅Π³ΡΠ»ΡΡΠΎΡ ΠΈΠ· Π΄Π²Π΅ΡΠΈ. ΠΠ°ΠΌ Π½ΡΠΆΠ½ΠΎ Π±ΡΠ΄Π΅Ρ ΠΏΡΠΎΠΏΡΡΡΠΈΡΡ ΠΆΠ³ΡΡ ΠΏΡΠΎΠ²ΠΎΠ΄ΠΎΠ², ΠΏΡΠΈΠΊΡΠ΅ΠΏΠ»Π΅Π½Π½ΡΠΉ ΠΊ ΡΡΠ΅ΠΊΠ»ΠΎΠΏΠΎΠ΄ΡΠ΅ΠΌΠ½ΠΈΠΊΡ, ΡΠ΅ΡΠ΅Π· Π΄Π²Π΅ΡΡ.
Π¨Π°Π³ 9: ΠΡΠΈΡΡΠΈΡΠ΅ ΠΆΠ³ΡΡ ΡΠ»Π΅ΠΊΡΡΠΎΠΏΡΠΈΠ²ΠΎΠ΄ΠΎΠΌ . Π£Π΄Π°Π»ΠΈΡΠ΅ Π²ΡΡ Π²Π»Π°Π³Ρ ΠΈ ΠΌΡΡΠΎΡ Ρ ΡΠ°Π·ΡΠ΅ΠΌΠ° Π΄Π»Ρ Π½Π°Π΄Π΅ΠΆΠ½ΠΎΠ³ΠΎ ΡΠΎΠ΅Π΄ΠΈΠ½Π΅Π½ΠΈΡ.
Π§Π°ΡΡΡ 2 ΠΈΠ· 2: Π£ΡΡΠ°Π½ΠΎΠ²ΠΊΠ° ΡΠ·Π»Π° Π΄Π²ΠΈΠ³Π°ΡΠ΅Π»Ρ / ΡΠ΅Π³ΡΠ»ΡΡΠΎΡ ΡΡΠ΅ΠΊΠ»ΠΎΠΏΠΎΠ΄ΡΠ΅ΠΌΠ½ΠΈΠΊΠ°
Π¨Π°Π³ 1: Π£ΡΡΠ°Π½ΠΎΠ²ΠΈΡΠ΅ Π½ΠΎΠ²ΡΠΉ Π±Π»ΠΎΠΊ Π΄Π²ΠΈΠ³Π°ΡΠ΅Π»Ρ ΠΈ ΡΠ΅Π³ΡΠ»ΡΡΠΎΡΠ° ΡΡΠ΅ΠΊΠ»ΠΎΠΏΠΎΠ΄ΡΠ΅ΠΌΠ½ΠΈΠΊΠ° Π² Π΄Π²Π΅ΡΡ . ΠΡΠΎΠΏΡΡΡΠΈΡΠ΅ ΠΎΠ±Π²ΡΠ·ΠΊΡ ΡΠ΅ΡΠ΅Π· Π΄Π²Π΅ΡΡ.Π£ΡΡΠ°Π½ΠΎΠ²ΠΈΡΠ΅ ΠΊΡΠ΅ΠΏΠ΅ΠΆΠ½ΡΠ΅ Π±ΠΎΠ»ΡΡ, ΡΡΠΎΠ±Ρ ΠΏΡΠΈΠΊΡΠ΅ΠΏΠΈΡΡ ΡΡΠ΅ΠΊΠ»ΠΎΠΏΠΎΠ΄ΡΠ΅ΠΌΠ½ΠΈΠΊ ΠΊ ΠΎΠΊΠ½Ρ.
Π¨Π°Π³ 2: ΠΡΠΈΠΊΡΠ΅ΠΏΠΈΡΠ΅ ΡΠ±ΠΎΡΠΊΡ ΠΊ ΠΎΠΊΠ½Ρ . Π‘Π½ΠΈΠΌΠΈΡΠ΅ ΠΌΠ°Π»ΡΡΠ½ΡΡ Π»Π΅Π½ΡΡ Ρ ΠΎΠΊΠ½Π°. ΠΠ΅Π΄Π»Π΅Π½Π½ΠΎ ΠΎΠΏΡΡΡΠΈΡΠ΅ ΡΡΠ΅ΠΊΠ»ΠΎΠΏΠΎΠ΄ΡΠ΅ΠΌΠ½ΠΈΠΊ ΠΈ ΡΡΠ΅ΠΊΠ»ΠΎΠΏΠΎΠ΄ΡΠ΅ΠΌΠ½ΠΈΠΊ Π² ΡΠ±ΠΎΡΠ΅. Π‘ΠΎΠ²ΠΌΠ΅ΡΡΠΈΡΠ΅ ΠΌΠΎΠ½ΡΠ°ΠΆΠ½ΠΎΠ΅ ΠΎΡΠ²Π΅ΡΡΡΠΈΠ΅ Ρ ΡΡΠ΅ΠΊΠ»ΠΎΠΏΠΎΠ΄ΡΠ΅ΠΌΠ½ΠΈΠΊΠΎΠΌ ΠΈ Π΄Π²Π΅ΡΠ½ΠΎΠΉ ΠΊΠΎΡΠΎΠ±ΠΊΠΎΠΉ.
Π¨Π°Π³ 3: Π£ΡΡΠ°Π½ΠΎΠ²ΠΈΡΠ΅ Π½Π° ΠΌΠ΅ΡΡΠΎ ΠΊΡΠ΅ΠΏΠ΅ΠΆΠ½ΡΠ΅ Π±ΠΎΠ»ΡΡ . Π£ΡΡΠ°Π½ΠΎΠ²ΠΈΡΠ΅ ΠΎΡ ΡΠ΅ΡΡΡΠ΅Ρ Π΄ΠΎ ΡΠ΅ΡΡΠΈ ΠΊΡΠ΅ΠΏΠ΅ΠΆΠ½ΡΡ Π±ΠΎΠ»ΡΠΎΠ², ΡΡΠΎΠ±Ρ ΠΏΡΠΈΠΊΡΠ΅ΠΏΠΈΡΡ ΡΡΠ΅ΠΊΠ»ΠΎΠΏΠΎΠ΄ΡΠ΅ΠΌΠ½ΠΈΠΊ Π² ΡΠ±ΠΎΡΠ΅ ΠΊ Π΄Π²Π΅ΡΠ½ΠΎΠΉ ΠΊΠΎΡΠΎΠ±ΠΊΠ΅.
- ΠΡΠΈΠΌΠ΅ΡΠ°Π½ΠΈΠ΅ : ΠΡΠ»ΠΈ Π²Π°ΠΌ ΠΏΡΠΈΡΠ»ΠΎΡΡ ΡΠ½ΡΡΡ Π΄ΠΈΠ½Π°ΠΌΠΈΠΊ Π² Π΄Π²Π΅ΡΡΠ΅, ΡΠ±Π΅Π΄ΠΈΡΠ΅ΡΡ, ΡΡΠΎ Π²Ρ ΡΡΡΠ°Π½ΠΎΠ²ΠΈΠ»ΠΈ Π΄ΠΈΠ½Π°ΠΌΠΈΠΊ ΠΈ ΠΏΠΎΠ²ΡΠΎΡΠ½ΠΎ ΠΏΡΠΈΠΊΡΠ΅ΠΏΠΈΠ»ΠΈ ΠΊ Π½Π΅ΠΌΡ Π²ΡΠ΅ ΠΏΡΠΎΠ²ΠΎΠ΄Π° ΠΈΠ»ΠΈ ΠΆΠ³ΡΡΡ.
Π¨Π°Π³ 4: Π£ΡΡΠ°Π½ΠΎΠ²ΠΈΡΠ΅ ΠΏΠ»Π°ΡΡΠΈΠΊΠΎΠ²ΠΎΠ΅ ΠΏΠΎΠΊΡΡΡΠΈΠ΅ ΠΎΠ±ΡΠ°ΡΠ½ΠΎ Π½Π° Π΄Π²Π΅ΡΡ . ΠΡΠ»ΠΈ ΠΏΠ»Π°ΡΡΠΈΠΊΠΎΠ²Π°Ρ ΠΊΡΡΡΠΊΠ° Π½Π΅ ΠΏΠ»ΠΎΡΠ½ΠΎ ΠΏΡΠΈΠ»Π΅Π³Π°Π΅Ρ ΠΊ Π΄Π²Π΅ΡΠΈ, ΠΌΠΎΠΆΠ½ΠΎ Π½Π°Π½Π΅ΡΡΠΈ Π½Π° Π½Π΅Π΅ Π½Π΅Π±ΠΎΠ»ΡΡΠΎΠΉ ΡΠ»ΠΎΠΉ ΠΏΡΠΎΠ·ΡΠ°ΡΠ½ΠΎΠ³ΠΎ ΡΠΈΠ»ΠΈΠΊΠΎΠ½Π°. ΠΡΠΎ Π±ΡΠ΄Π΅Ρ ΡΠ΄Π΅ΡΠΆΠΈΠ²Π°ΡΡ ΠΏΠ»Π°ΡΡΠΈΠΊ Π½Π° ΠΌΠ΅ΡΡΠ΅ ΠΈ Π½Π΅ ΠΏΡΠΎΠΏΡΡΠΊΠ°ΡΡ Π²Π»Π°Π³Ρ.
Π¨Π°Π³ 5: Π£ΡΡΠ°Π½ΠΎΠ²ΠΈΡΠ΅ Π΄Π²Π΅ΡΠ½ΡΡ ΠΏΠ°Π½Π΅Π»Ρ ΠΎΠ±ΡΠ°ΡΠ½ΠΎ Π½Π° Π΄Π²Π΅ΡΡ . Π£ΡΡΠ°Π½ΠΎΠ²ΠΈΡΠ΅ Π²ΡΠ΅ ΠΏΠ»Π°ΡΡΠΈΠΊΠΎΠ²ΡΠ΅ ΡΠΈΠΊΡΠ°ΡΠΎΡΡ Π΄Π²Π΅ΡΠ½ΠΎΠΉ ΠΏΠ°Π½Π΅Π»ΠΈ Π½Π° ΠΌΠ΅ΡΡΠΎ. ΠΠ°ΠΌΠ΅Π½ΠΈΡΠ΅ Π²ΡΠ΅ ΠΏΠ»Π°ΡΡΠΈΠΊΠΎΠ²ΡΠ΅ Π²ΠΊΠ»Π°Π΄ΠΊΠΈ, Π΅ΡΠ»ΠΈ ΠΎΠ½ΠΈ Π±ΡΠ»ΠΈ ΡΠ»ΠΎΠΌΠ°Π½Ρ.
Π¨Π°Π³ 6: ΠΡΠΈΡΠΎΠ΅Π΄ΠΈΠ½ΠΈΡΠ΅ ΠΆΠ³ΡΡ ΠΊ ΠΏΠ΅ΡΠ΅ΠΊΠ»ΡΡΠ°ΡΠ΅Π»Ρ ΡΡΠ΅ΠΊΠ»ΠΎΠΏΠΎΠ΄ΡΠ΅ΠΌΠ½ΠΈΠΊΠ° .Π£ΡΡΠ°Π½ΠΎΠ²ΠΈΡΠ΅ ΠΏΠ΅ΡΠ΅ΠΊΠ»ΡΡΠ°ΡΠ΅Π»Ρ ΡΡΠ΅ΠΊΠ»ΠΎΠΏΠΎΠ΄ΡΠ΅ΠΌΠ½ΠΈΠΊΠ° ΠΎΠ±ΡΠ°ΡΠ½ΠΎ Π½Π° Π΄Π²Π΅ΡΠ½ΡΡ ΠΏΠ°Π½Π΅Π»Ρ. ΠΠ²Π΅ΡΠ½ΠΈΡΠ΅ Π²ΠΈΠ½ΡΡ Π² ΠΏΠ΅ΡΠ΅ΠΊΠ»ΡΡΠ°ΡΠ΅Π»Ρ, ΡΡΠΎΠ±Ρ Π·Π°ΠΊΡΠ΅ΠΏΠΈΡΡ Π΅Π³ΠΎ Π½Π° Π΄Π²Π΅ΡΠ½ΠΎΠΉ ΠΏΠ°Π½Π΅Π»ΠΈ.
- ΠΡΠΈΠΌΠ΅ΡΠ°Π½ΠΈΠ΅ : ΠΡΠ»ΠΈ Π²ΡΠΊΠ»ΡΡΠ°ΡΠ΅Π»Ρ Π½Π΅ ΠΌΠΎΠΆΠ΅Ρ Π±ΡΡΡ ΡΠ½ΡΡ Ρ Π΄Π²Π΅ΡΠ½ΠΎΠΉ ΠΏΠ°Π½Π΅Π»ΠΈ, Π²Π°ΠΌ Π½ΡΠΆΠ½ΠΎ Π±ΡΠ΄Π΅Ρ ΠΏΡΠΈΠΊΡΠ΅ΠΏΠΈΡΡ ΠΆΠ³ΡΡ ΠΊ ΠΏΠ΅ΡΠ΅ΠΊΠ»ΡΡΠ°ΡΠ΅Π»Ρ ΠΏΡΠΈ ΡΡΡΠ°Π½ΠΎΠ²ΠΊΠ΅ Π΄Π²Π΅ΡΠ½ΠΎΠΉ ΠΏΠ°Π½Π΅Π»ΠΈ Π½Π° Π΄Π²Π΅ΡΡ.
Π¨Π°Π³ 7: ΠΠΎΠ΄ΠΊΠ»ΡΡΠΈΡΠ΅ Π°ΠΊΠΊΡΠΌΡΠ»ΡΡΠΎΡ . ΠΡΠΊΡΠΎΠΉΡΠ΅ ΠΊΠ°ΠΏΠΎΡ Π°Π²ΡΠΎΠΌΠΎΠ±ΠΈΠ»Ρ. Π‘Π½ΠΎΠ²Π° ΠΏΠΎΠ΄ΡΠΎΠ΅Π΄ΠΈΠ½ΠΈΡΠ΅ Π·Π°Π·Π΅ΠΌΠ»ΡΡΡΠΈΠΉ ΠΊΠ°Π±Π΅Π»Ρ ΠΊ ΠΎΡΡΠΈΡΠ°ΡΠ΅Π»ΡΠ½ΠΎΠΉ ΠΊΠ»Π΅ΠΌΠΌΠ΅ Π°ΠΊΠΊΡΠΌΡΠ»ΡΡΠΎΡΠ½ΠΎΠΉ Π±Π°ΡΠ°ΡΠ΅ΠΈ. Π‘Π½ΠΈΠΌΠΈΡΠ΅ Π΄Π΅Π²ΡΡΠΎΠ²ΠΎΠ»ΡΡΠΎΠ²ΡΠΉ Π°ΠΊΠΊΡΠΌΡΠ»ΡΡΠΎΡ Ρ ΠΏΡΠΈΠΊΡΡΠΈΠ²Π°ΡΠ΅Π»Ρ, Π΅ΡΠ»ΠΈ Π²Ρ Π΅Π³ΠΎ ΠΈΡΠΏΠΎΠ»ΡΠ·ΠΎΠ²Π°Π»ΠΈ.ΠΠ°ΡΡΠ½ΠΈΡΠ΅ Π·Π°ΠΆΠΈΠΌ Π°ΠΊΠΊΡΠΌΡΠ»ΡΡΠΎΡΠ°, ΡΡΠΎΠ±Ρ ΡΠ±Π΅Π΄ΠΈΡΡΡΡ, ΡΡΠΎ ΡΠΎΠ΅Π΄ΠΈΠ½Π΅Π½ΠΈΠ΅ Ρ ΠΎΡΠΎΡΠ΅Π΅.
- ΠΡΠΈΠΌΠ΅ΡΠ°Π½ΠΈΠ΅ : ΠΡΠ»ΠΈ Π²Ρ Π½Π΅ ΠΈΡΠΏΠΎΠ»ΡΠ·ΠΎΠ²Π°Π»ΠΈ Π΄Π΅Π²ΡΡΠΈΠ²ΠΎΠ»ΡΡΠΎΠ²ΡΡ Π±Π°ΡΠ°ΡΠ΅Ρ, Π²Π°ΠΌ ΠΏΡΠΈΠ΄Π΅ΡΡΡ ΡΠ±ΡΠΎΡΠΈΡΡ Π²ΡΠ΅ Π½Π°ΡΡΡΠΎΠΉΠΊΠΈ Π² Π²Π°ΡΠ΅ΠΌ Π°Π²ΡΠΎΠΌΠΎΠ±ΠΈΠ»Π΅, ΡΠ°ΠΊΠΈΠ΅ ΠΊΠ°ΠΊ ΡΠ°Π΄ΠΈΠΎ, ΡΠ»Π΅ΠΊΡΡΠΈΡΠ΅ΡΠΊΠΈΠ΅ ΡΠΈΠ΄Π΅Π½ΡΡ ΠΈ ΡΠ»Π΅ΠΊΡΡΠΈΡΠ΅ΡΠΊΠΈΠ΅ Π·Π΅ΡΠΊΠ°Π»Π°.
Π¨Π°Π³ 8: ΠΡΠΎΠ²Π΅ΡΡΡΠ΅ Π΄Π²ΠΈΠ³Π°ΡΠ΅Π»Ρ Π½ΠΎΠ²ΠΎΠ³ΠΎ ΡΡΠ΅ΠΊΠ»ΠΎΠΏΠΎΠ΄ΡΠ΅ΠΌΠ½ΠΈΠΊΠ° . ΠΠΎΠ²Π΅ΡΠ½ΠΈΡΠ΅ ΠΊΠ»ΡΡ Π² ΠΏΠΎΠ»ΠΎΠΆΠ΅Π½ΠΈΠ΅ Π΄Π»Ρ ΠΏΡΠΈΠ½Π°Π΄Π»Π΅ΠΆΠ½ΠΎΡΡΠ΅ΠΉ ΠΈΠ»ΠΈ ΡΠ°Π±ΠΎΡΡ. ΠΠΊΠ»ΡΡΠΈΡΠ΅ Π²ΡΠΊΠ»ΡΡΠ°ΡΠ΅Π»Ρ Π΄Π²Π΅ΡΠ½ΠΎΠ³ΠΎ ΠΎΠΊΠ½Π°. Π£Π±Π΅Π΄ΠΈΡΠ΅ΡΡ, ΡΡΠΎ ΠΎΠΊΠ½ΠΎ ΠΏΡΠ°Π²ΠΈΠ»ΡΠ½ΠΎ ΠΏΠΎΠ΄Π½ΠΈΠΌΠ°Π΅ΡΡΡ ΠΈ ΠΎΠΏΡΡΠΊΠ°Π΅ΡΡΡ.
ΠΡΠ»ΠΈ Π²Π°ΡΠ΅ ΠΎΠΊΠ½ΠΎ Π½Π΅ ΠΏΠΎΠ΄Π½ΠΈΠΌΠ°Π΅ΡΡΡ ΠΈΠ»ΠΈ Π½Π΅ ΠΎΠΏΡΡΠΊΠ°Π΅ΡΡΡ ΠΏΠΎΡΠ»Π΅ Π·Π°ΠΌΠ΅Π½Ρ ΡΠ·Π»Π° Π΄Π²ΠΈΠ³Π°ΡΠ΅Π»Ρ ΠΈ ΡΠ΅Π³ΡΠ»ΡΡΠΎΡΠ° ΡΡΠ΅ΠΊΠ»ΠΎΠΏΠΎΠ΄ΡΠ΅ΠΌΠ½ΠΈΠΊΠ°, ΡΠΎ ΠΌΠΎΠΆΠ΅Ρ ΠΏΠΎΡΡΠ΅Π±ΠΎΠ²Π°ΡΡΡΡ Π΄ΠΎΠΏΠΎΠ»Π½ΠΈΡΠ΅Π»ΡΠ½Π°Ρ ΠΏΡΠΎΠ²Π΅ΡΠΊΠ° ΡΠ·Π»Π° Π΄Π²ΠΈΠ³Π°ΡΠ΅Π»Ρ ΠΈ ΡΠ΅Π³ΡΠ»ΡΡΠΎΡΠ° ΡΡΠ΅ΠΊΠ»ΠΎΠΏΠΎΠ΄ΡΠ΅ΠΌΠ½ΠΈΠΊΠ° ΠΈΠ»ΠΈ ΠΏΡΠΎΠ²ΠΎΠ΄ΠΊΠΈ Π΄Π²Π΅ΡΠΈ.ΠΡΠ»ΠΈ ΠΏΡΠΎΠ±Π»Π΅ΠΌΠ° Π½Π΅ ΠΈΡΡΠ΅Π·Π½Π΅Ρ, ββΠ²Ρ ΠΌΠΎΠΆΠ΅ΡΠ΅ ΠΏΠΎΠ»ΡΡΠΈΡΡ ΠΏΠΎΠΌΠΎΡΡ ΠΎΡ ΠΎΠ΄Π½ΠΎΠ³ΠΎ ΠΈΠ· ΡΠ΅ΡΡΠΈΡΠΈΡΠΈΡΠΎΠ²Π°Π½Π½ΡΡ ΠΌΠ΅Ρ Π°Π½ΠΈΠΊΠΎΠ² Π² YourMechanic, ΠΊΠΎΡΠΎΡΡΠΉ ΠΌΠΎΠΆΠ΅Ρ Π·Π°ΠΌΠ΅Π½ΠΈΡΡ Π΄Π²ΠΈΠ³Π°ΡΠ΅Π»Ρ ΡΡΠ΅ΠΊΠ»ΠΎΠΏΠΎΠ΄ΡΠ΅ΠΌΠ½ΠΈΠΊΠ° ΠΈ ΡΠ΅Π³ΡΠ»ΡΡΠΎΡ Π² ΡΠ±ΠΎΡΠ΅ ΠΈ Π΄ΠΈΠ°Π³Π½ΠΎΡΡΠΈΡΠΎΠ²Π°ΡΡ Π»ΡΠ±ΡΠ΅ Π΄ΡΡΠ³ΠΈΠ΅ ΠΏΡΠΎΠ±Π»Π΅ΠΌΡ.
Π Π°ΡΠΏΡΠΎΡΡΡΠ°Π½Π΅Π½Π½ΡΠ΅ ΠΏΡΠΈΡΠΈΠ½Ρ Π²ΡΡ ΠΎΠ΄Π° ΠΈΠ· ΡΡΡΠΎΡ ΡΠ»Π΅ΠΊΡΡΠΈΡΠ΅ΡΠΊΠΎΠ³ΠΎ ΡΡΠ΅ΠΊΠ»ΠΎΠΏΠΎΠ΄ΡΠ΅ΠΌΠ½ΠΈΠΊΠ°
ΠΡΠΈΡ ΠΎΠ΄ΠΈΠ»ΠΎΡΡ Π»ΠΈ Π²Π°ΠΌ ΠΊΠΎΠ³Π΄Π°-Π½ΠΈΠ±ΡΠ΄Ρ ΠΎΡΠΊΡΡΠ²Π°ΡΡ Π΄Π²Π΅ΡΡ ΠΌΠ°ΡΠΈΠ½Ρ Ρ ΠΎΠΊΠ½Π° ΠΏΡΠΎΠ΅Π·Π΄Π° Π² ΡΠ°ΡΡ-ΡΡΠ΄Π΅ ΠΈΠ»ΠΈ Ρ Π±Π°Π½ΠΊΠΎΠΌΠ°ΡΠ° ΠΈ ΠΈΠ·ΠΎ Π²ΡΠ΅Ρ ΡΠΈΠ» ΠΏΡΡΠ°ΡΡΡΡ ΠΏΡΠΎΡΡΠ½ΡΡΡ ΡΡΠΊΡ ΠΈ Π·Π°Π±ΡΠ°ΡΡ Π΅Π΄Ρ ΠΈΠ»ΠΈ Π΄Π΅Π½ΡΠ³ΠΈ?
ΠΡΠ»ΠΈ Π΄Π°, ΡΠΎ Π²Ρ, Π²Π΅ΡΠΎΡΡΠ½ΠΎ, ΡΡΠ°Π»ΠΈ ΠΆΠ΅ΡΡΠ²ΠΎΠΉ ΠΎΡΠΊΠ°Π·Π° ΡΠ»Π΅ΠΊΡΡΠΈΡΠ΅ΡΠΊΠΎΠ³ΠΎ ΡΡΠ΅ΠΊΠ»ΠΎΠΏΠΎΠ΄ΡΠ΅ΠΌΠ½ΠΈΠΊΠ°.ΠΠ°ΠΊ ΠΈ ΠΌΠ½ΠΎΠ³ΠΈΠ΅ Π΄ΡΡΠ³ΠΈΠ΅ ΠΏΡΠΎΠ±Π»Π΅ΠΌΡ, ΡΠ²ΡΠ·Π°Π½Π½ΡΠ΅ Ρ Π°Π²ΡΠΎΠΌΠΎΠ±ΠΈΠ»Π΅ΠΌ, Π½Π΅ΠΈΡΠΏΡΠ°Π²Π½ΠΎΡΡΠΈ ΡΡΠ΅ΠΊΠ»ΠΎΠΏΠΎΠ΄ΡΠ΅ΠΌΠ½ΠΈΠΊΠΎΠ² Π²ΡΡΡΠ΅ΡΠ°ΡΡΡΡ Π½Π΅ΡΠ°ΡΡΠΎ, Π½ΠΎ ΠΌΠΎΠ³ΡΡ ΠΏΡΠΎΠΈΠ·ΠΎΠΉΡΠΈ Π±Π΅Π· ΠΏΡΠ΅Π΄ΡΠΏΡΠ΅ΠΆΠ΄Π΅Π½ΠΈΡ.
ΠΠ΅ΡΠ΅Π΄Π½ΠΈΠ΅ ΠΎΠΊΠ½Π° ΡΠΎ ΡΡΠΎΡΠΎΠ½Ρ Π²ΠΎΠ΄ΠΈΡΠ΅Π»Ρ Π²ΡΡ ΠΎΠ΄ΡΡ ΠΈΠ· ΡΡΡΠΎΡ ΡΠ°ΡΠ΅ Π²ΡΠ΅Π³ΠΎ, ΠΏΠΎΡΠΎΠΌΡ ΡΡΠΎ ΠΈΡ ΠΌΠΎΡΠΎΡΡ ΠΈ ΡΡΠ΅ΠΊΠ»ΠΎΠΏΠΎΠ΄ΡΠ΅ΠΌΠ½ΠΈΠΊΠΈ, ΠΊΠΎΡΠΎΡΡΠ΅ ΠΊΠΎΠ½ΡΡΠΎΠ»ΠΈΡΡΡΡ Π΄Π²ΠΈΠΆΠ΅Π½ΠΈΠ΅ ΡΡΠ΅ΠΊΠ»Π° Π²Π²Π΅ΡΡ ΠΈ Π²Π½ΠΈΠ·, ΠΈΡΠΏΠΎΠ»ΡΠ·ΡΡΡΡΡ ΡΠ°ΡΠ΅ Π²ΡΠ΅Π³ΠΎ, Π³ΠΎΠ²ΠΎΡΡΡ ΠΌΠ΅Ρ Π°Π½ΠΈΠΊΠΈ. ΠΠΎ ΡΡΠΎ ΠΌΠΎΠΆΠ΅Ρ ΠΏΠΎΠ²Π»ΠΈΡΡΡ Π½Π° Π²ΡΠ΅ ΠΎΠΊΠ½Π° ΠΈ Π΄Π°ΠΆΠ΅ ΡΠΎΠ»Π½Π΅ΡΠ½ΡΠ΅ ΠΈ Π»ΡΠ½Π½ΡΠ΅ ΠΊΡΡΡΠΈ.
Β«ΠΡ Π½Π°Π±Π»ΡΠ΄Π°Π΅ΠΌ, ΠΊΠ°ΠΊ ΡΡΠΎ ΠΏΡΠΎΠΈΡΡ ΠΎΠ΄ΠΈΡ Π΄Π°ΠΆΠ΅ Ρ Π½ΠΎΠ²ΡΠΌΠΈ Π°Π²ΡΠΎΠΌΠΎΠ±ΠΈΠ»ΡΠΌΠΈ — Π°Π²ΡΠΎΠΌΠΎΠ±ΠΈΠ»ΡΠΌΠΈ, ΠΊΠΎΡΠΎΡΡΠΌ 6 ΠΈΠ»ΠΈ 7 Π»Π΅ΡΒ», — Π³ΠΎΠ²ΠΎΡΠΈΡ Π ΠΎΠ±Π΅ΡΡ ΠΠ΅Π½Π΅Ρ, Π³Π΅Π½Π΅ΡΠ°Π»ΡΠ½ΡΠΉ ΠΌΠ΅Π½Π΅Π΄ΠΆΠ΅Ρ Green & White Automotive Π² Spring, Π’Π΅Ρ Π°Ρ.
Benet Π³ΠΎΠ²ΠΎΡΠΈΡ, ΡΡΠΎ Π²Π°ΠΆΠ½ΠΎ ΠΊΠ°ΠΊ ΠΌΠΎΠΆΠ½ΠΎ ΡΠΊΠΎΡΠ΅Π΅ Π΄ΠΎΡΡΠ°Π²ΠΈΡΡ Π²Π°ΡΡ ΠΌΠ°ΡΠΈΠ½Ρ ΠΊ ΠΏΡΠΎΡΠ΅ΡΡΠΈΠΎΠ½Π°Π»ΡΠ½ΠΎΠΌΡ Π°Π²ΡΠΎΠΌΠΎΠ±ΠΈΠ»Π΅ΡΡΡΠΎΠΈΡΠ΅Π»Ρ. ΠΠ΅ΠΈΡΠΏΡΠ°Π²Π½ΡΠ΅ ΠΎΠΊΠ½Π° ΠΌΠΎΠ³ΡΡ Π±ΡΡΡ ΠΏΡΠΎΠ±Π»Π΅ΠΌΠΎΠΉ Π±Π΅Π·ΠΎΠΏΠ°ΡΠ½ΠΎΡΡΠΈ, Π΅ΡΠ»ΠΈ Π»ΡΠ΄ΠΈ ΠΈΠΌΠ΅ΡΡ Π΄ΠΎΡΡΡΠΏ ΠΊ Π²Π°ΡΠ΅ΠΌΡ Π°Π²ΡΠΎΠΌΠΎΠ±ΠΈΠ»Ρ ΡΠ΅ΡΠ΅Π· ΠΎΡΠΊΡΡΡΠΎΠ΅ ΠΈΠ»ΠΈ ΡΠ°ΡΡΠΈΡΠ½ΠΎ ΠΎΡΠΊΡΡΡΠΎΠ΅ ΠΎΠΊΠ½ΠΎ.
Β«ΠΡΠ»ΠΈ ΠΎΠ½ Π½Π΅ ΡΠ°Π±ΠΎΡΠ°Π΅Ρ, Π²Ρ Π½Π΅ ΡΠΌΠΎΠΆΠ΅ΡΠ΅ Π²ΠΎΡΡΡΠ°Π½ΠΎΠ²ΠΈΡΡ Π΅Π³ΠΎΒ», — Π³ΠΎΠ²ΠΎΡΠΈΡ ΠΠ΅Π½Π΅Ρ. Β«Π Π΅ΡΠ»ΠΈ ΠΏΠΎΠΉΠ΄Π΅Ρ Π΄ΠΎΠΆΠ΄Ρ, Π° Ρ Π²Π°Ρ Π½Π΅Ρ Π³Π°ΡΠ°ΠΆΠ° Π΄Π»Ρ ΠΌΠ°ΡΠΈΠ½Ρ, Ρ Π²Π°Ρ ΠΌΠΎΠ³ΡΡ Π²ΠΎΠ·Π½ΠΈΠΊΠ½ΡΡΡ ΠΏΡΠΎΠ±Π»Π΅ΠΌΡΒ».
ΠΠ΅ΠΈΡΠΏΡΠ°Π²Π½ΠΎΡΡΠΈ ΠΎΠΊΠ½Π° ΠΎΠ±ΡΡΠ½ΠΎ Π²ΡΠ·Π²Π°Π½Ρ Π½Π΅ΠΈΡΠΏΡΠ°Π²Π½ΡΠΌ ΡΡΠ΅ΠΊΠ»ΠΎΠΏΠΎΠ΄ΡΠ΅ΠΌΠ½ΠΈΠΊΠΎΠΌ (ΡΠ°ΠΊΠΆΠ΅ Π½Π°Π·ΡΠ²Π°Π΅ΠΌΡΠΌ ΠΎΠΊΠΎΠ½Π½ΠΎΠΉ Π½Π°ΠΏΡΠ°Π²Π»ΡΡΡΠ΅ΠΉ) ΠΈΠ»ΠΈ ΡΠ»ΠΎΠΌΠ°Π½Π½ΡΠΌ Π΄Π²ΠΈΠ³Π°ΡΠ΅Π»Π΅ΠΌ, ΡΡΠΎΡΠΎΠ²ΡΠΌ ΡΠΊΠΈΠ²ΠΎΠΌ ΠΈΠ»ΠΈ ΠΏΠ΅ΡΠ΅ΠΊΠ»ΡΡΠ°ΡΠ΅Π»Π΅ΠΌ ΡΡΠ΅ΠΊΠ»ΠΎΠΏΠΎΠ΄ΡΠ΅ΠΌΠ½ΠΈΠΊΠ°.ΠΠ½ΠΎΠ³Π΄Π° ΡΡΠΎ ΠΌΠΎΠΆΠ΅Ρ Π±ΡΡΡ ΠΊΠΎΠΌΠ±ΠΈΠ½Π°ΡΠΈΡ ΡΡΠΈΡ Π²Π΅ΡΠ΅ΠΉ.
ΠΠ΄Π½Π° ΠΈΠ· ΠΎΡΠ½ΠΎΠ²Π½ΡΡ ΠΏΡΠΈΡΠΈΠ½ Π²ΡΡ ΠΎΠ΄Π° ΠΈΠ· ΡΡΡΠΎΡ ΡΡΠ΅ΠΊΠ»ΠΎΠΏΠΎΠ΄ΡΠ΅ΠΌΠ½ΠΈΠΊΠΎΠ² — ΡΠ½Π΅Π³ ΠΈ Π»Π΅Π΄, — Π³ΠΎΠ²ΠΎΡΠΈΡ ΠΠ»Ρ ΠΠ°ΡΠ°ΠΌ, Π²Π»Π°Π΄Π΅Π»Π΅Ρ ΠΊΠΎΠΌΠΏΠ°Π½ΠΈΠΈ Classic Automotive Repair Π² Π‘ΡΠ΅ΡΠ»ΠΈΠ½Π³-Π₯Π°ΠΉΡΡ, ΡΡΠ°Ρ ΠΠΈΡΠΈΠ³Π°Π½.
Β«ΠΡΠΈΠΌΠΎΡΠ°ΠΆΠΈΠ²Π°Π΅Ρ Π΄Π²Π΅ΡΠ½ΠΎΠ΅ ΡΡΠ΅ΠΊΠ»ΠΎ Π΄ΠΎ ΡΠ°ΠΌΡ Π²ΠΎΠΊΡΡΠ³ ΠΎΠΊΠΎΠ½Β», — Π³ΠΎΠ²ΠΎΡΠΈΡ ΠΠ°ΡΠ°ΠΌ. Β«Π‘ΡΠ΅ΠΊΠ»ΠΎΠΏΠΎΠ΄ΡΠ΅ΠΌΠ½ΠΈΠΊΠΈ Π½Π΅ ΡΠΎΠ·Π΄Π°Π½Ρ Π΄Π»Ρ ΡΠΎΠ³ΠΎ, ΡΡΠΎΠ±Ρ Π²ΡΠ»Π°ΠΌΡΠ²Π°ΡΡ Π»Π΅Π΄, ΠΈ ΠΌΠ΅Ρ Π°Π½ΠΈΠ·ΠΌ ΡΡΠ΅ΠΊΠ»ΠΎΠΏΠΎΠ΄ΡΠ΅ΠΌΠ½ΠΈΠΊΠ° ΠΏΡΠ΅ΠΆΠ΄Π΅Π²ΡΠ΅ΠΌΠ΅Π½Π½ΠΎ ΠΈΠ·Π½Π°ΡΠΈΠ²Π°Π΅ΡΡΡΒ».
ΠΡΠΎΠ±Π»Π΅ΠΌΡ ΡΠΎ ΡΡΠ΅ΠΊΠ»ΠΎΠΏΠΎΠ΄ΡΠ΅ΠΌΠ½ΠΈΠΊΠΎΠΌ ΠΌΠΎΠ³ΡΡ Π±ΡΡΡ Π²ΡΠ΅ΠΌΠ΅Π½Π½ΡΠΌΠΈ ΠΈΠ»ΠΈ ΠΏΠΎΡΡΠΎΡΠ½Π½ΡΠΌΠΈ. ΠΠ΅ΡΠΈΠΎΠ΄ΠΈΡΠ΅ΡΠΊΠΈΠ΅ ΠΏΡΠΎΠ±Π»Π΅ΠΌΡ ΠΌΠΎΠ³ΡΡ ΠΏΡΠΈΠ²Π΅ΡΡΠΈ ΠΊ ΡΠΎΠΌΡ, ΡΡΠΎ ΠΎΠΊΠ½Π° Π²ΡΠ΅ΠΌΠ΅Π½Π½ΠΎ ΠΏΠ΅ΡΠ΅ΡΡΠ°Π½ΡΡ ΡΠ°Π±ΠΎΡΠ°ΡΡ, ΡΠΎΠ»ΡΠΊΠΎ ΡΡΠΎΠ±Ρ ΡΠ½ΠΎΠ²Π° Π·Π°ΡΠ°Π±ΠΎΡΠ°ΡΡ, Π° ΠΏΠΎΠ·ΠΆΠ΅ Π²ΠΎΠ·Π½ΠΈΠΊΠ½ΡΡ Π½ΠΎΠ²ΡΠ΅ ΠΏΡΠΎΠ±Π»Π΅ΠΌΡ.ΠΠΎΡΡΠΎΡΠ½Π½Π°Ρ ΠΏΡΠΎΠ±Π»Π΅ΠΌΠ° — ΡΡΠΎ ΠΊΠΎΠ³Π΄Π° ΠΎΠΊΠ½Π° ΡΠ½ΠΎΠ²Π° ΠΏΠ΅ΡΠ΅ΡΡΠ°ΡΡ ΡΠ°Π±ΠΎΡΠ°ΡΡ.
ΠΠΎ ΡΠ»ΠΎΠ²Π°ΠΌ Benet, ΠΏΠ΅ΡΠ΅Π³ΡΠ΅ΡΡΠ΅ Π΄Π²ΠΈΠ³Π°ΡΠ΅Π»ΠΈ ΡΠ°ΡΡΠΎ Π²ΡΠ·ΡΠ²Π°ΡΡ ΠΏΠ΅ΡΠΈΠΎΠ΄ΠΈΡΠ΅ΡΠΊΠΈΠ΅ ΠΏΡΠΎΠ±Π»Π΅ΠΌΡ. ΠΠΎΠ³Π΄Π° Π΄Π²ΠΈΠ³Π°ΡΠ΅Π»Ρ, ΡΠ°ΡΠΏΠΎΠ»ΠΎΠΆΠ΅Π½Π½ΡΠΉ Π²Π½ΡΡΡΠΈ Π΄Π²Π΅ΡΠΈ, ΠΎΡΡΡΠ½Π΅Ρ, ΠΎΠ½ ΠΌΠΎΠΆΠ΅Ρ ΡΠ½ΠΎΠ²Π° Π·Π°ΡΠ°Π±ΠΎΡΠ°ΡΡ. Π’Π΅Ρ Π½ΠΈΠΊΡ, ΡΠΊΠΎΡΠ΅Π΅ Π²ΡΠ΅Π³ΠΎ, ΠΏΠΎΡΡΠ΅Π±ΡΠ΅ΡΡΡ ΡΠ½ΡΡΡ Π΄Π²Π΅ΡΠ½ΡΡ ΡΠ°ΠΌΡ ΠΈ ΠΏΡΠΎΠ²Π΅ΡΠΈΡΡ Π΄Π²ΠΈΠ³Π°ΡΠ΅Π»Ρ ΠΈ ΠΏΡΠΎΠ²ΠΎΠ΄ΠΊΡ.
ΠΠ΅Π½Π΅Ρ Π³ΠΎΠ²ΠΎΡΠΈΡ, ΡΡΠΎ ΠΎΠ΄Π½Π° ΠΈΠ· ΡΠ°ΠΌΡΡ Π±ΠΎΠ»ΡΡΠΈΡ ΠΏΡΠΎΠ±Π»Π΅ΠΌ, Ρ ΠΊΠΎΡΠΎΡΡΠΌΠΈ ΠΎΠ½ ΡΡΠ°Π»ΠΊΠΈΠ²Π°Π΅ΡΡΡ, — ΡΡΠΎ ΡΠ°Π·ΡΡΠ² ΡΡΠ΅ΠΊΠ»ΠΎΠΏΠΎΠ΄ΡΠ΅ΠΌΠ½ΠΈΠΊΠ° ΠΈ ΠΊΠ°Π±Π΅Π»Ρ. Π’ΡΠΎΡ ΠΌΠΎΠΆΠ΅Ρ ΡΠ»ΠΎΠΌΠ°ΡΡΡΡ ΠΈΠ»ΠΈ ΡΠΎΡΠΊΠΎΠ»ΡΠ·Π½ΡΡΡ ΡΠΎ ΡΠΊΠΈΠ²Π°.
Β«ΠΠΎΠ³Π΄Π° Π½Π΅ΠΊΠΎΡΠΎΡΡΠ΅ ΡΠ΅Π³ΡΠ»ΡΡΠΎΡΡ Π½Π°ΡΠΈΠ½Π°ΡΡ Π²ΡΡ ΠΎΠ΄ΠΈΡΡ ΠΈΠ· ΡΡΡΠΎΡ, Π²Ρ Π΄Π΅ΠΉΡΡΠ²ΠΈΡΠ΅Π»ΡΠ½ΠΎ ΠΌΠΎΠΆΠ΅ΡΠ΅ ΡΡΠ»ΡΡΠ°ΡΡ Ρ ΡΡΡΡ ΡΠΈΠΏΠ° ΡΡΠΌΠ°, ΠΊΠΎΠ³Π΄Π° ΠΊΠ°Π±Π΅Π»Ρ Π½Π΅ Π½Π°ΠΌΠ°ΡΡΠ²Π°Π΅ΡΡΡ Π΄ΠΎΠ»ΠΆΠ½ΡΠΌ ΠΎΠ±ΡΠ°Π·ΠΎΠΌΒ», — Π³ΠΎΠ²ΠΎΡΠΈΡ ΠΠ°ΡΠ°ΠΌ.Β«ΠΡΠ΅Π³Π΄Π° ΠΏΠΎΠ»Π΅Π·Π½ΠΎ ΠΊΠ°ΠΊ ΠΌΠΎΠΆΠ½ΠΎ ΡΠΊΠΎΡΠ΅Π΅ ΡΡΡΡΠ°Π½ΠΈΡΡ ΠΏΡΠΎΠ±Π»Π΅ΠΌΡ Ρ ΡΠ΅Π³ΡΠ»ΡΡΠΎΡΠΎΠΌ, ΡΡΠΎΠ±Ρ ΠΎΠ±Π΅Π·ΠΎΠΏΠ°ΡΠΈΡΡ ΡΠ²ΠΎΠΉ Π°Π²ΡΠΎΠΌΠΎΠ±ΠΈΠ»Ρ ΠΈ Π½Π΅ Π΄ΠΎΠΏΡΡΡΠΈΡΡ ΠΏΠΎΠΏΠ°Π΄Π°Π½ΠΈΡ ΡΠ»Π΅ΠΌΠ΅Π½ΡΠΎΠ² ΠΈΠ»ΠΈ ΠΌΡΡΠΎΡΠ°Β».
ΠΠ»Π°Π²Π½ΡΠΉ Π²ΡΠΊΠ»ΡΡΠ°ΡΠ΅Π»Ρ (ΠΊΠ½ΠΎΠΏΠΊΠ°, ΠΊΠΎΡΠΎΡΡΡ Π²Ρ Π½Π°ΠΆΠΈΠΌΠ°Π΅ΡΠ΅, ΡΡΠΎΠ±Ρ ΠΏΠΎΠ΄Π½ΡΡΡ ΠΈΠ»ΠΈ ΠΎΠΏΡΡΡΠΈΡΡ ΠΎΠΊΠ½ΠΎ) ΠΏΠΎΠ΄Π°Π΅Ρ ΠΏΠΈΡΠ°Π½ΠΈΠ΅ Π½Π° Π΄Π²ΠΈΠ³Π°ΡΠ΅Π»Ρ ΠΈ ΡΠ°ΠΊΠΆΠ΅ ΠΌΠΎΠΆΠ΅Ρ ΡΠ°Π±ΠΎΡΠ°ΡΡ Π½Π΅ΠΏΡΠ°Π²ΠΈΠ»ΡΠ½ΠΎ.
Benet Π³ΠΎΠ²ΠΎΡΠΈΡ, ΡΡΠΎ ΡΠΈΠΏΠΈΡΠ½ΡΠΉ ΡΠ΅ΠΌΠΎΠ½Ρ ΡΠ»Π΅ΠΊΡΡΠΈΡΠ΅ΡΠΊΠΎΠ³ΠΎ ΡΡΠ΅ΠΊΠ»ΠΎΠΏΠΎΠ΄ΡΠ΅ΠΌΠ½ΠΈΠΊΠ° ΡΡΠΎΠΈΡ ΠΎΡ 325 Π΄ΠΎ 475 Π΄ΠΎΠ»Π»Π°ΡΠΎΠ². ΠΠ°ΡΠ°ΠΌ Π³ΠΎΠ²ΠΎΡΠΈΡ, ΡΡΠΎ ΠΎΠ±ΡΡΠ½ΡΠΉ ΡΠ΅ΠΌΠΎΠ½Ρ Π·Π°ΠΊΠ»ΡΡΠ°Π΅ΡΡΡ Π² Π·Π°ΠΌΠ΅Π½Π΅ Π΄Π²ΠΈΠ³Π°ΡΠ΅Π»Ρ ΠΈ ΡΠ΅Π³ΡΠ»ΡΡΠΎΡΠ° Π² ΡΠ±ΠΎΡΠ΅, ΡΡΠΎ ΠΎΠ±ΡΡΠ½ΠΎ ΡΡΠΎΠΈΡ ΠΎΡ 275 Π΄ΠΎ 400 Π΄ΠΎΠ»Π»Π°ΡΠΎΠ² Π² Π·Π°Π²ΠΈΡΠΈΠΌΠΎΡΡΠΈ ΠΎΡ ΠΌΠ°ΡΠΊΠΈ, Π³ΠΎΠ΄Π° Π²ΡΠΏΡΡΠΊΠ° ΠΈ ΠΌΠΎΠ΄Π΅Π»ΠΈ Π°Π²ΡΠΎΠΌΠΎΠ±ΠΈΠ»Ρ.
Tom Moor, Angie’s List / MCT
(ΠΠ·Π½Π°ΡΠ°Π»ΡΠ½ΠΎ ΡΡΠ° ΡΡΠ°ΡΡΡ ΠΏΠΎΡΠ²ΠΈΠ»Π°ΡΡ Π½Π° angieslist.com.)
Π’ΡΠ½ΠΈΠ½Π³ ΠΊΠ»Π°ΡΡΠΈΠΊΠΈ Β«ΠΠΈΠ³ΡΠ»Π΅ΠΉΒ» 6 ΠΈ 7 ΡΠ΅ΡΠΈΠΉ
ΠΠ΄Π½ΠΈΠΌ ΠΈΠ· Π²Π°ΡΠΈΠ°Π½ΡΠΎΠ² ΡΠ»ΡΡΡΠ΅Π½ΠΈΡ Π²Π½Π΅ΡΠ½Π΅Π³ΠΎ Π²ΠΈΠ΄Π° ΠΈ Π²Π½ΡΡΡΠ΅Π½Π½Π΅Π³ΠΎ ΡΠΎΠ΄Π΅ΡΠΆΠ°Π½ΠΈΡ Π°Π²ΡΠΎΠΌΠΎΠ±ΠΈΠ»Ρ ΡΠ²Π»ΡΠ΅ΡΡΡ ΡΡΠ½ΠΈΠ½Π³. ΠΠ³ΠΎ ΠΌΠΎΠΆΠ½ΠΎ ΠΏΡΠΈΠΌΠ΅Π½ΠΈΡΡ ΠΏΡΠ°ΠΊΡΠΈΡΠ΅ΡΠΊΠΈ ΠΊ Π»ΡΠ±ΠΎΠΉ ΠΌΠ°ΡΠΈΠ½Π΅. Π Π‘ΠΠ ΡΡΠ½ΠΈΠ½Π³ Β«ΠΠΈΠ³ΡΠ»Π΅ΠΉΒ» ΠΏΡΠΎΠ²ΠΎΠ΄ΡΡ ΡΠ°ΡΡΠΎ. ΠΠ½ ΠΏΠΎΠΏΡΠ»ΡΡΠ΅Π½ ΠΏΡΠΈΠΌΠ΅Π½ΠΈΡΠ΅Π»ΡΠ½ΠΎ ΠΊ ΠΌΠΎΠ΄Π΅Π»ΡΠΌ ΡΠ΅ΡΡΠΎΠΉ ΠΈ ΡΠ΅Π΄ΡΠΌΠΎΠΉ ΡΠ΅ΡΠΈΠΉ. ΠΠ°ΡΠΈΠ°Π½ΡΠΎΠ² ΠΎΡΠ΅Π½Ρ ΠΌΠ½ΠΎΠ³ΠΎ, Π²Π΅Π΄Ρ ΡΡΠΈ ΠΌΠ°ΡΠΈΠ½Ρ Π΄ΠΎ ΡΠΈΡ ΠΏΠΎΡ Ρ ΠΎΠ΄ΡΡ ΠΏΠΎ Π΄ΠΎΡΠΎΠ³Π°ΠΌ, ΠΎΡΠΎΠ±Π΅Π½Π½ΠΎ Π² Π΄Π°Π»ΡΠ½ΠΈΡ ΡΠ³ΠΎΠ»ΠΊΠ°Ρ ΠΏΠΎΡΡΡΠΎΠ²Π΅ΡΡΠΊΠΎΠ³ΠΎ ΠΏΡΠΎΡΡΡΠ°Π½ΡΡΠ²Π°.
ΠΠΏΠΈΡΠ°Π½ΠΈΠ΅ ΡΠ°Π±ΠΎΡΡ
Π’ΡΠ½ΠΈΠ½Π³ — ΠΌΠΎΠ΄ΠΈΡΠΈΠΊΠ°ΡΠΈΡ ΠΈ ΠΊΠ°ΡΠ΅ΡΡΠ²Π΅Π½Π½ΡΠ΅ ΡΠ»ΡΡΡΠ΅Π½ΠΈΡ Π°Π²ΡΠΎΠΌΠΎΠ±ΠΈΠ»Ρ. Π§Π°ΡΡΠΎ Π΅Π³ΠΎ ΠΈΡΠΏΠΎΠ»ΡΠ·ΡΡΡ Π΄Π»Ρ ΡΠΏΠΎΡΡΠΈΠ²Π½ΡΡ ΠΈ Π³ΠΎΠ½ΠΎΡΠ½ΡΡ Π°Π²ΡΠΎΠΌΠΎΠ±ΠΈΠ»Π΅ΠΉ, Π½ΠΎ Π² Π½Π°ΡΠΈΡ ΡΡΡΠ°Π½Π°Ρ ΡΡΠ½ΠΈΠ½Π³ΠΎΠ²Π°ΡΡ ΠΌΠΎΠΆΠ½ΠΎ Π±ΡΠ»ΠΎ Π»ΡΠ±ΡΡ ΠΌΠ°ΡΠΈΠ½Ρ.
Π§Π°ΡΠ΅ Π²ΡΠ΅Π³ΠΎ Π°Π²ΡΠΎΠ²Π°Π·ΠΎΠ²ΡΠΊΠΈΠ΅ Π°Π²ΡΠΎΠΌΠΎΠ±ΠΈΠ»ΠΈ. Π’ΡΠ½ΠΈΠ½Π³ (Β«ΠΠΈΠ³ΡΠ»ΠΈΒ») ΠΌΠΎΠΆΠ½ΠΎ Π²ΡΡΡΠ΅ΡΠΈΡΡ ΡΠΎΠ»ΡΠΊΠΎ Π½Π° Π΄Π²ΡΡ ΠΌΠΎΠ΄Π΅Π»ΡΡ : ΠΠΠ-2106 ΠΈ ΠΠΠ-2107. ΠΡΠΎΡΡΠΎΡΠ° ΠΈΠ·Π³ΠΎΡΠΎΠ²Π»Π΅Π½ΠΈΡ ΠΈ ΡΡΡΠ°Π½ΠΎΠ²ΠΊΠΈ ΡΠ΄Π΅Π»Π°Π»Π° ΡΡΠΈ ΠΌΠ°ΡΠΈΠ½Ρ ΠΌΠ°ΠΊΡΠΈΠΌΠ°Π»ΡΠ½ΠΎ Π΄ΠΎΡΡΡΠΏΠ½ΡΠΌΠΈ Π΄Π»Ρ ΠΏΠ΅ΡΠ΅Π΄Π΅Π»ΠΎΠΊ, ΠΎΡ ΠΏΡΠΎΡΡΠΎΠΉ ΡΡΡΠ°Π½ΠΎΠ²ΠΊΠΈ ΠΊΡΡΠ»Π° Π΄ΠΎ ΠΏΠΎΠ»Π½ΠΎΠΉ ΠΌΠΎΠ΄Π΅ΡΠ½ΠΈΠ·Π°ΡΠΈΠΈ ΠΈ ΠΎΠ±Π½ΠΎΠ²Π»Π΅Π½ΠΈΡ Π°Π²ΡΠΎΠΌΠΎΠ±ΠΈΠ»Ρ.
Π§ΡΠΎ ΠΈ ΠΊΠ°ΠΊ ΡΠ»ΡΡΡΠΈΡΡ?
ΠΠ°ΡΠΈΠ°Π½ΡΠΎΠ² ΡΡΠ½ΠΈΠ½Π³Π° ΠΎΡΠ΅Π½Ρ ΠΌΠ½ΠΎΠ³ΠΎ, Π½ΠΎ ΠΈΡ ΠΌΠΎΠΆΠ½ΠΎ ΡΠ°Π·Π΄Π΅Π»ΠΈΡΡ Π½Π° ΠΏΡΠΎΠΈΠ·Π²ΠΎΠ΄ΡΡΠ²Π΅Π½Π½ΡΠ΅ ΠΊΠ»Π°ΡΡΡ: ΡΡΠ½ΠΈΠ½Π³-Π°ΡΠ΅Π»ΡΠ΅, Π³Π°ΡΠ°ΠΆ, ΡΠ°ΠΌΠΎΠ΄Π΅Π»ΡΠ½ΡΠ΅ ΠΈ Π³ΠΎΡΠΎΠ²ΡΠ΅ ΠΏΡΠΎΡΠ΅ΡΡΠΈΠΎΠ½Π°Π»ΡΠ½ΡΠ΅. ΠΠΎΠΉΠ΄Π΅ΠΌ ΠΏΠΎ ΠΊΠ°ΠΆΠ΄ΠΎΠΌΡ ΠΎΡΠ΄Π΅Π»ΡΠ½ΠΎ.
- ΠΡΠΎΡΠ΅ΡΡΠΈΠΎΠ½Π°Π» ΠΈΠ· Π³ΠΎΡΠΎΠ²ΠΎΠ³ΠΎ ΠΏΡΠΎΠ΄ΡΠΊΡΠ°. Π Π½Π°Π»ΠΈΡΠΈΠΈ Π±ΠΎΠ»ΡΡΠΎΠΉ Π²ΡΠ±ΠΎΡ Π³ΠΎΡΠΎΠ²ΡΡ ΡΡΠ½ΠΈΠ½Π³ΠΎΠ²ΡΡ Π·Π°ΠΏΡΠ°ΡΡΠ΅ΠΉ, ΠΊΠΎΡΠΎΡΡΠ΅ ΠΌΠΎΠΆΠ½ΠΎ ΠΏΡΠΈΠΎΠ±ΡΠ΅ΡΡΠΈ Π² ΠΌΠ°Π³Π°Π·ΠΈΠ½Π°Ρ ΠΈΠ»ΠΈ Π² ΠΠ½ΡΠ΅ΡΠ½Π΅ΡΠ΅. Π¦Π΅Π½Π° Π·Π΄Π΅ΡΡ ΡΠΎΠΎΡΠ²Π΅ΡΡΡΠ²ΡΠ΅Ρ ΠΊΠ°ΡΠ΅ΡΡΠ²Ρ. ΠΡ ΠΎΠ±ΡΡΠ½ΠΎ Π΄Π΅Π»Π°ΡΡ ΠΈΠ· ΠΏΠ»Π°ΡΡΠΈΠΊΠ° ΠΈΠ»ΠΈ ΡΡΠ΅ΠΊΠ»ΠΎΠΏΠ»Π°ΡΡΠΈΠΊΠ°, Π΅ΡΠ»ΠΈ ΡΡΠΎ Π²Π½Π΅ΡΠ½ΠΈΠΉ Π²Π°ΡΠΈΠ°Π½Ρ.ΠΠ»Ρ Π²Π½ΡΡΡΠ΅Π½Π½Π΅ΠΉ ΠΏΠ΅ΡΠ΅Π΄Π΅Π»ΠΊΠΈ ΠΊΠ°ΠΆΠ΄ΡΠΉ Π°Π²ΡΠΎΠ²Π»Π°Π΄Π΅Π»Π΅Ρ ΠΏΠΎΠ΄Π±ΠΈΡΠ°Π΅Ρ ΡΠ»Π΅ΠΌΠ΅Π½ΡΡ ΠΈΠ½Π΄ΠΈΠ²ΠΈΠ΄ΡΠ°Π»ΡΠ½ΠΎ, Π½Π° ΡΠ²ΠΎΠΉ Π²ΠΊΡΡ ΠΈ ΡΠ²Π΅Ρ.
- Π’ΡΠ½ΠΈΠ½Π³-Π°ΡΠ΅Π»ΡΠ΅. ΠΠ΄Π΅ΡΡ Π²ΡΠ΅ ΡΠ΄Π΅Π»Π°Π½ΠΎ ΠΏΠΎΠ΄ Π·Π°ΠΊΠ°Π· ΠΈΠ· ΠΊΠ°ΡΠ΅ΡΡΠ²Π΅Π½Π½ΡΡ ΠΈ Π΄ΠΎΡΠΎΠ³ΠΈΡ ΠΌΠ°ΡΠ΅ΡΠΈΠ°Π»ΠΎΠ². ΠΠΎΠ½Π΅ΡΠ½ΠΎ, ΡΠ΅Π½Π° ΡΠ°ΠΊΠΎΠ³ΠΎ Π²Π°ΡΠΈΠ°Π½ΡΠ° ΡΡΠ½ΠΈΠ½Π³Π° Π΄ΠΎΠ²ΠΎΠ»ΡΠ½ΠΎ Π²ΡΡΠΎΠΊΠ°Ρ, ΠΏΠΎΡΠΎΠΌΡ ΡΡΠΎ Π²ΡΠ΅ Π΄Π΅Π»Π°Π΅ΡΡΡ ΠΈΠ½Π΄ΠΈΠ²ΠΈΠ΄ΡΠ°Π»ΡΠ½ΠΎ.
- ΠΠ°ΡΠ°ΠΆΠ½ΡΠΉ Π²Π°ΡΠΈΠ°Π½Ρ. ΠΠ΅ΡΠ΅Π²ΡΠΉ Π²ΠΈΠ΄ ΡΡΠ½ΠΈΠ½Π³ΠΎΠ²ΠΎΠ³ΠΎ Π°ΡΠ΅Π»ΡΠ΅, ΠΊΠΎΠ³Π΄Π° ΠΌΠ°ΡΡΠ΅ΡΠ° Π³Π°ΡΠ°ΠΆΠ½ΠΎΠ³ΠΎ Π΄ΠΈΠ·Π°ΠΉΠ½Π° Π΄Π΅Π»Π°ΡΡ ΠΈΠ· Π΄Π΅ΡΠ΅Π²ΠΎΠ³ΠΎ ΠΌΠ°ΡΠ΅ΡΠΈΠ°Π»Π° ΠΊΡΠ°ΡΠΈΠ²ΡΠ΅ Π΄Π΅ΡΠ°Π»ΠΈ, ΠΊΠΎΡΠΎΡΡΠ΅ ΠΏΡΠΎΡΠ»ΡΠΆΠ°Ρ, Π² Π»ΡΡΡΠ΅ΠΌ ΡΠ»ΡΡΠ°Π΅, ΠΏΠ°ΡΡ Π»Π΅Ρ.ΠΠΏΠΎΠ»Π½Π΅ ΠΏΠΎΠ΄Ρ ΠΎΠ΄ΡΡΠΈΠΉ Π²Π°ΡΠΈΠ°Π½Ρ Π΄Π»Ρ ΠΆΠ΅Π»Π°ΡΡΠΈΡ ΡΡΠΊΠΎΠ½ΠΎΠΌΠΈΡΡ, Π½ΠΎ ΡΠ°ΠΊΠΈΡ ΠΌΠ½ΠΎΠ³ΠΎ.
ΠΡΠ»ΠΈ ΡΠ΅Π»ΠΎΠ²Π΅ΠΊ Ρ ΠΎΡΠ΅Ρ ΠΏΡΠΎΠΈΠ·Π²Π΅ΡΡΠΈ ΠΊΠ°ΡΠ΅ΡΡΠ²Π΅Π½Π½ΡΠΉ ΡΡΠ½ΠΈΠ½Π³ Β«ΠΠΈΠ³ΡΠ»Π΅ΠΉΒ», ΡΡΠΎΠΈΡ ΠΎΠ±ΡΠ°ΡΠΈΡΡΡΡ Π² Π°ΡΠ΅Π»ΡΠ΅. Π Π΅ΡΠ»ΠΈ Π²Ρ ΠΏΡΠΎΡΡΠΎ Ρ ΠΎΡΠΈΡΠ΅ ΡΠ»ΡΡΡΠΈΡΡ Π²Π½Π΅ΡΠ½ΠΈΠΉ Π²ΠΈΠ΄, ΡΠΎΠ³Π΄Π° ΠΏΠΎΠ΄ΠΎΠΉΠ΄Π΅Ρ ΡΡΠ΅ΡΠΈΠΉ Π²Π°ΡΠΈΠ°Π½Ρ.
ΠΡΠΎΠ±Π΅Π½Π½ΠΎΡΡΠΈ Π½Π°ΡΡΠΆΠ½ΠΎΠ³ΠΎ ΡΡΠ½ΠΈΠ½Π³Π°
ΠΠ»Ρ ΠΈΠ·Π³ΠΎΡΠΎΠ²Π»Π΅Π½ΠΈΡ ΠΈ ΡΡΡΠ°Π½ΠΎΠ²ΠΊΠΈ ΡΡΠ½ΠΈΠ½Π³Π° Β«ΠΠΈΠ³ΡΠ»Π΅ΠΉΒ» ΡΡΠ΅Π±ΡΠ΅ΡΡΡ ΠΌΠ½ΠΎΠ³ΠΎ Π²ΡΠ΅Π³ΠΎ, ΠΊΠ°ΠΊ ΠΌΠ°ΡΠ΅ΡΠΈΠ°Π»ΠΎΠ², ΡΠ°ΠΊ ΠΈ ΠΎΠ±ΠΎΡΡΠ΄ΠΎΠ²Π°Π½ΠΈΡ. ΠΠΎΡΡΠΎΠΌΡ ΡΠ°ΡΡΠΌΠΎΡΡΠΈΠΌ ΠΎΡΠ½ΠΎΠ²Π½ΡΠ΅ ΠΌΠΎΠΌΠ΅Π½ΡΡ Π½Π° ΠΏΡΠΈΠΌΠ΅ΡΠ΅ ΡΠ°Π·Π½ΡΡ ΠΌΠΎΠ΄Π΅Π»Π΅ΠΉ.
ΠΡΠ°ΠΊ, Β«ΠΠΈΠ³ΡΠ»ΠΈ 6Β». Π’ΡΠ½ΠΈΠ½Π³ Π΄Π°Π½Π½ΠΎΠΉ ΠΌΠΎΠ΄Π΅Π»ΠΈ ΠΎΠ±ΡΡΠ½ΠΎ Π·Π°ΠΊΠ»ΡΡΠ°Π΅ΡΡΡ Π² ΡΡΡΠ°Π½ΠΎΠ²ΠΊΠ΅ ΠΊΡΡΠ³Π»ΠΎΠΉ ΠΎΠΏΡΠΈΠΊΠΈ ΠΈ Π±ΠΎΠ»Π΅Π΅ ΡΡΠΊΠΈΡ ΡΠ²Π΅ΡΠΎΠ΄ΠΈΠΎΠ΄Π½ΡΡ ΡΠΎΠ½Π°ΡΠ΅ΠΉ. ΠΡΠ΅ΠΊΡΠ°ΡΠ½ΠΎ Π²ΠΏΠΈΡΡΠ²Π°Π΅ΡΡΡ Π² ΠΎΠ±ΡΠΈΠΉ ΡΠΊΡΡΠ΅ΡΡΠ΅Ρ. ΠΠ½ΠΎΠ³ΠΈΠ΅ Π°Π²ΡΠΎΠΌΠΎΠ±ΠΈΠ»ΠΈΡΡΡ ΠΌΠ΅Π½ΡΡΡ ΠΊΠ»ΠΈΡΠ΅Π½Ρ ΠΈΠ·-Π·Π° ΠΊΠΎΡΠΎΡΠΊΠΈΡ ΠΈΠ»ΠΈ Π΄Π»ΠΈΠ½Π½ΡΡ Π°ΠΌΠΎΡΡΠΈΠ·Π°ΡΠΎΡΠΎΠ², Π° ΡΠ°ΠΊΠΆΠ΅ ΡΠ°Π·Π½ΠΎΠ³ΠΎ ΡΠΎΠ΄Π° Π΄ΠΈΡΠΊΠΎΠ². Π’Π°ΠΊΠΆΠ΅ Ρ Π°ΡΠ°ΠΊΡΠ΅ΡΠ½ΠΎΠΉ ΠΎΡΠΎΠ±Π΅Π½Π½ΠΎΡΡΡΡ ΡΠ²Π»ΡΠ΅ΡΡΡ ΡΡΡΠ°Π½ΠΎΠ²ΠΊΠ° Π΄ΠΎΡΠ°Π±ΠΎΡΠ°Π½Π½ΠΎΠΉ Π²ΡΡ Π»ΠΎΠΏΠ½ΠΎΠΉ ΡΡΡΠ±Ρ, ΠΌΠ΅Π½ΡΡΡΠ΅ΠΉ Π·Π²ΡΠΊ ΠΌΠΎΡΠΎΡΠ°.
Β«ΠΠ°Π΄Π° 7Β» — ΡΡΠ½ΠΈΠ½Π³ ΡΡΠΎΠ³ΠΎ Π°Π²ΡΠΎΠΌΠΎΠ±ΠΈΠ»Ρ Π·Π°ΠΊΠ»ΡΡΠ°Π΅ΡΡΡ Π² ΡΡΡΠ°Π½ΠΎΠ²ΠΊΠ΅ Π½Π°Π±ΠΎΡΠ° ΠΎΠ±Π²Π΅ΡΠΎΠ², Π³Π°ΡΠΌΠΎΠ½ΠΈΡΡΡΡΠΈΡ Ρ Π»ΠΈΡΡΠΌΠΈ Π΄ΠΈΡΠΊΠ°ΠΌΠΈ.ΠΠΎΠ½Π΅ΡΠ½ΠΎ, ΠΌΠΎΠΆΠ½ΠΎ ΡΡΡΠ°Π½ΠΎΠ²ΠΈΡΡ ΠΏΡΠ°ΠΊΡΠΈΡΠ΅ΡΠΊΠΈ Π»ΡΠ±ΡΡ Π·Π°ΠΏΡΠ°ΡΡΡ, ΠΊΠΎΡΠΎΡΠ°Ρ Π²ΡΠΏΡΡΠΊΠ°Π΅ΡΡΡ Π½Π° Β«ΡΠ΅ΠΌΠ΅ΡΠΊΡΒ». ΠΡΠ°ΠΊ, Π² ΠΏΡΠΎΠ΄Π°ΠΆΠ΅ ΠΈΠΌΠ΅ΡΡΡΡ: ΠΏΠ΅ΡΠ΅Π΄Π½ΠΈΠΉ ΠΈ Π·Π°Π΄Π½ΠΈΠΉ Π±Π°ΠΌΠΏΠ΅ΡΡ, Π½Π°ΠΊΠ»Π°Π΄ΠΊΠΈ Π½Π° ΠΏΠΎΡΠΎΠ³ΠΈ, Π²ΠΎΠ·Π΄ΡΡ ΠΎΠ·Π°Π±ΠΎΡΠ½ΠΈΠΊΠΈ Π½Π° ΠΊΡΡΡΠ΅ ΠΈ ΠΊΠ°ΠΏΠΎΡΠ΅, ΠΊΡΡΠ»ΡΡ, Π·Π΅ΡΠΊΠ°Π»Π°, Π΄ΠΈΡΠΊΠΈ ΠΈ Π΄ΡΡΠ³ΠΈΠ΅ Π°ΠΊΡΠ΅ΡΡΡΠ°ΡΡ, ΡΡΡΠ°Π½ΠΎΠ²Π»Π΅Π½Π½ΡΠ΅ Π²Π»Π°Π΄Π΅Π»ΡΡΠ°ΠΌΠΈ.
ΠΠ΄ΠΈΠ½ ΠΈΠ· Π²ΠΈΠ΄ΠΎΠ² Π΄Π°ΡΠ½ΠΎΠ³ΠΎ ΡΡΠ½ΠΈΠ½Π³Π° — ΡΡΠΎ ΠΈΠ½Π΄ΠΈΠ²ΠΈΠ΄ΡΠ°Π»ΡΠ½Π°Ρ ΡΠΎΡΠΏΠΈΡΡ ΠΈ Π°ΡΡΠΎΠ³ΡΠ°ΡΠΈΡ, Π³Π΄Π΅ Π²Π°ΡΠΈΠ°Π½ΡΠΎΠ² ΠΌΠ½ΠΎΠ³ΠΎ, Π° ΠΏΠΎΠ»Π΅Ρ ΡΠ°Π½ΡΠ°Π·ΠΈΠΈ Π½Π΅ ΠΈΠΌΠ΅Π΅Ρ Π³ΡΠ°Π½ΠΈΡ. ΠΠ±ΡΡΠ½ΠΎ ΠΈΠΌΠ΅Π½Π½ΠΎ Ρ ΡΡΠΎΠΉ ΠΎΠΏΠ΅ΡΠ°ΡΠΈΠΈ Π½Π°ΡΠΈΠ½Π°Π΅ΡΡΡ ΠΏΠ΅ΡΠ΅ΠΎΠ±ΠΎΡΡΠ΄ΠΎΠ²Π°Π½ΠΈΠ΅ Π°Π²ΡΠΎΠΌΠΎΠ±ΠΈΠ»Ρ. ΠΡΠΎΡΠ΅ΡΡΠΈΠΎΠ½Π°Π»ΡΠ½ΡΠ΅ Π°Π²ΡΠΎΠΏΡΠΎΠΈΠ·Π²ΠΎΠ΄ΠΈΡΠ΅Π»ΠΈ ΠΈ ΡΠΏΠ΅ΡΠΈΠ°Π»ΠΈΡΡΡ ΠΏΠΎ Π°ΡΡΠΎΠ³ΡΠ°ΡΠΈΠΈ ΡΠΌΠΎΠ³ΡΡ ΡΠ΄Π΅Π»Π°ΡΡ Π΄Π°ΠΆΠ΅ ΡΡΠΎ-ΡΠΎ ΠΈΠ· ΠΎΠ±ΡΡΠ½ΠΎΠ³ΠΎ Π±Π΅Π»ΠΎΠ³ΠΎ Π°Π²ΡΠΎΠΌΠΎΠ±ΠΈΠ»Ρ, ΡΡΠΎ-ΡΠΎ ΠΎΡΠΈΠ³ΠΈΠ½Π°Π»ΡΠ½ΠΎΠ΅ ΠΈ Π½Π΅ΠΏΠΎΠ²ΡΠΎΡΠΈΠΌΠΎΠ΅.
Π’ΡΠ½ΠΈΠ½Π³ ΡΠ°Π»ΠΎΠ½Π° ΠΊΠ°ΠΊ Π²Π°ΡΠΈΠ°Π½Ρ Π°ΠΏΠ³ΡΠ΅ΠΉΠ΄Π° Π°Π²ΡΠΎΠΌΠΎΠ±ΠΈΠ»Ρ
Π’ΡΠ½ΠΈΠ½Π³ ΠΠΈΠ³ΡΠ»Π΅ΠΉ Π² ΠΌΠΎΠ΄ΠΈΡΠΈΠΊΠ°ΡΠΈΠΈ ΡΠ°Π»ΠΎΠ½ΠΎΠ² — ΡΠ°ΡΡΠ°Ρ ΠΏΡΠΎΡΠ΅Π΄ΡΡΠ°. Π Π°ΡΡΠΌΠΎΡΡΠΈΠΌ, ΡΡΠΎ ΠΌΠΎΠΆΠ½ΠΎ Π΄ΠΎΡΠ°Π±ΠΎΡΠ°ΡΡ, ΡΡΠΎΠ±Ρ ΡΠ΄Π΅Π»Π°ΡΡ ΠΌΠ°ΡΠΈΠ½Ρ Π±ΠΎΠ»Π΅Π΅ ΠΊΡΠ°ΡΠΎΡΠ½ΠΎΠΉ ΠΈ ΠΈΠ½Π΄ΠΈΠ²ΠΈΠ΄ΡΠ°Π»ΡΠ½ΠΎΠΉ:
- ΠΠ°ΠΌΠ΅Π½Π° ΠΈΠ»ΠΈ ΠΏΠ΅ΡΠ΅ΡΡΠΆΠΊΠ° ΡΠΈΠ΄Π΅Π½ΠΈΠΉ.
- ΠΠ°ΠΌΠ΅Π½Π° ΠΏΡΠ»ΡΡΠ° ΡΠΏΡΠ°Π²Π»Π΅Π½ΠΈΡ ΠΈ ΡΠΎΡΠΏΠ΅Π΄Ρ.
- Π Π°ΡΠΏΠΎΡΠΊΠ° ΠΊΠ°Π±ΠΈΠ½Ρ.
- Π£ΡΡΠ°Π½ΠΎΠ²ΠΊΠ° Π°ΠΊΡΡΡΠΈΠΊΠΈ.
- Π£ΡΡΠ°Π½ΠΎΠ²ΠΊΠ° ΡΡΠ΅ΠΊΠ»ΠΎΠΏΠΎΠ΄ΡΠ΅ΠΌΠ½ΠΈΠΊΠΎΠ².
- ΠΡΠ΅ΠΏΠ»Π΅Π½ΠΈΠ΅ ΠΏΠΎΠ΄Π»ΠΎΠΊΠΎΡΠ½ΠΈΠΊΠ°.
- ΠΠ²ΡΠΊΠΎΠΈΠ·ΠΎΠ»ΡΡΠΈΡ.
ΠΡΠ΅ ΡΡΠΎ ΠΈ ΠΌΠ½ΠΎΠ³ΠΎΠ΅ Π΄ΡΡΠ³ΠΎΠ΅ ΠΌΠΎΠΆΠ½ΠΎ ΡΠ΄Π΅Π»Π°ΡΡ Ρ Β«ΠΠΈΠ³ΡΠ»ΡΠΌΠΈΒ».
Π Π΅ΠΊΠΎΠΌΠ΅Π½Π΄Π°ΡΠΈΠΈ ΡΠΏΠ΅ΡΠΈΠ°Π»ΠΈΡΡΠΎΠ² ΠΈ ΠΏΡΠΎΠΈΠ·Π²ΠΎΠ΄ΠΈΡΠ΅Π»Π΅ΠΉ
ΠΡΠΎΠΈΠ·Π²ΠΎΠ΄ΠΈΡΠ΅Π»ΠΈ Π½Π°ΡΡΠΎΡΡΠ΅Π»ΡΠ½ΠΎ Π½Π΅ ΡΠ΅ΠΊΠΎΠΌΠ΅Π½Π΄ΡΡΡ ΠΏΡΠΎΠ²ΠΎΠ΄ΠΈΡΡ ΡΡΠ½ΠΈΠ½Π³ΠΎΠ²ΡΠ΅ ΠΎΠΏΠ΅ΡΠ°ΡΠΈΠΈ, ΡΠ°ΠΊ ΠΊΠ°ΠΊ ΡΡΠΈΡΠ°ΡΡ, ΡΡΠΎ ΡΡΠΎ ΠΌΠΎΠΆΠ΅Ρ ΠΏΡΠΈΠ²Π΅ΡΡΠΈ ΠΊ ΡΡ ΡΠ΄ΡΠ΅Π½ΠΈΡ ΠΊΠ°ΡΠ΅ΡΡΠ²Π΅Π½Π½ΡΡ Ρ Π°ΡΠ°ΠΊΡΠ΅ΡΠΈΡΡΠΈΠΊ Π°Π²ΡΠΎΠΌΠΎΠ±ΠΈΠ»Ρ, Π° ΡΠ°ΠΊΠΆΠ΅ Π²ΡΠ·Π²Π°ΡΡ ΡΠ½ΠΈΠΆΠ΅Π½ΠΈΠ΅ Π±Π΅Π·ΠΎΠΏΠ°ΡΠ½ΠΎΡΡΠΈ.
ΠΠ½Π΅Π½ΠΈΡ ΡΠΏΠ΅ΡΠΈΠ°Π»ΠΈΡΡΠΎΠ² ΡΠ°ΡΡ ΠΎΠ΄ΡΡΡΡ, ΠΎΠ΄Π½ΠΈ Π³ΠΎΠ²ΠΎΡΡΡ, ΡΡΠΎ ΡΡΠ½ΠΈΠ½Π³ Π΄Π΅Π»Π°ΡΡ Π½Π΅ ΡΡΠΎΠΈΡ, Π΄ΡΡΠ³ΠΈΠ΅ ΡΠ΅ΠΊΠΎΠΌΠ΅Π½Π΄ΡΡΡ ΡΠΎΠ»ΡΠΊΠΎ ΠΏΡΠΎΡΠ΅ΡΡΠΈΠΎΠ½Π°Π»Π°ΠΌ, Π° Π³Π°ΡΠ°ΠΆΠ½ΡΠΉ Π²Π°ΡΠΈΠ°Π½Ρ — ΡΠ°ΡΠ»Π°ΡΠ°Π½ΡΡΠ²ΠΎ.
Π Π³Π»ΠΎΠ±Π°Π»ΡΠ½ΠΎΠΉ ΡΠ΅ΡΠΈ ΠΌΠΎΠΆΠ½ΠΎ Π½Π°ΠΉΡΠΈ ΠΌΠ½ΠΎΠΆΠ΅ΡΡΠ²ΠΎ ΡΠΎΡΠΎ ΠΈ ΠΈΠ½ΡΡΡΡΠΊΡΠΈΠΉ, ΠΊΠ°ΠΊ ΡΠ΄Π΅Π»Π°ΡΡ ΡΡΠ½ΠΈΠ½Π³ Β«ΠΠΈΠ³ΡΠ»Π΅ΠΉΒ» ΡΠ²ΠΎΠΈΠΌΠΈ ΡΡΠΊΠ°ΠΌΠΈ, Π½ΠΎ ΠΊΡΠΎ Π½Π΅ ΡΠ²Π΅ΡΠ΅Π½, Π½Π΅ ΡΡΠΎΠΈΡ Π΄Π΅Π»Π°ΡΡ ΡΡΠΎ ΡΠ°ΠΌΠΎΠΌΡ.ΠΠΎΠ²Π΅ΡΡΡΠ΅ ΠΏΠ΅ΡΠ΅Π΄Π΅Π»ΠΊΡ Π°Π²ΡΠΎΠΌΠΎΠ±ΠΈΠ»Ρ ΡΠΏΠ΅ΡΠΈΠ°Π»ΠΈΡΡΠ°ΠΌ, ΠΊΠΎΡΠΎΡΡΠ΅ ΡΠ΄Π΅Π»Π°ΡΡ Π²ΡΠ΅ Π±ΡΡΡΡΠΎ ΠΈ ΠΊΠ°ΡΠ΅ΡΡΠ²Π΅Π½Π½ΠΎ.
p >>X4- ΠΠΠ ΠΠΠΠΠ X3 328i 328i xDrive 428i 320i 328d xDrive 428i Gran Coupe Bosch BE1561 Π‘ΠΈΠ½ΠΈΠΉ ΠΊΠΎΠΌΠΏΠ»Π΅ΠΊΡ Π΄ΠΈΡΠΊΠΎΠ²ΡΡ ΡΠΎΡΠΌΠΎΠ·Π½ΡΡ ΠΊΠΎΠ»ΠΎΠ΄ΠΎΠΊ Π΄Π»Ρ Select BMW 228i 428i xDrive 328d 320i xDrive 428i xDrive Gran Coupe
X4- ΠΠΠ ΠΠΠΠΠ X3 328i 328i xDrive 428i xDrive 428i 320i xDrive 428i 320i ΠΡΠΏΠ΅ Bosch BE1561 ΡΠΈΠ½ΠΈΠΉ Π½Π°Π±ΠΎΡ Π΄ΠΈΡΠΊΠΎΠ²ΡΡ ΡΠΎΡΠΌΠΎΠ·Π½ΡΡ ΠΊΠΎΠ»ΠΎΠ΄ΠΎΠΊ Π΄Π»Ρ Π²ΡΠ±ΠΎΡΠ° BMW 228i 428i xDrive 328d 320i xDrive 428i xDrive Gran Coupe
, ΠΏΠΎΡΡΠΎΠΌΡ Π²Π°ΠΌ ΡΠ»Π΅Π΄ΡΠ΅Ρ Π²Π½ΠΈΠΌΠ°ΡΠ΅Π»ΡΠ½ΠΎ ΠΏΡΠΎΠ²Π΅ΡΠΈΡΡ, ΡΡΠΎΠ±Ρ Π²ΡΠ±ΡΠ°ΡΡ ΠΏΠΎΠ΄Ρ ΠΎΠ΄ΡΡΠΈΠΉ Π²Π°ΡΠΈΠ°Π½Ρ.SARA NELL Women Lady Girls Classics Crew Socks ΠΡΠΈΠ³ΠΈΠ½Π°Π»ΡΠ½Π°Ρ ΡΠΎΡΠΌΠ° Π‘Π¨Π ΠΠ°ΠΌΡΡΠ»ΡΠΆΠ½ΡΠ΅ ΠΏΠ΅ΡΡΠΎΠ½Π°Π»ΠΈΠ·ΠΈΡΠΎΠ²Π°Π½Π½ΡΠ΅ ΡΠΏΠΎΡΡΠΈΠ²Π½ΡΠ΅ Π½ΠΎΡΠΊΠΈ Π΄Π»ΠΈΠ½ΠΎΠΉ 30 ΡΠΌ Π΄Π»Ρ Π²ΡΠ΅Ρ ΡΠ΅Π·ΠΎΠ½ΠΎΠ² Π² ΠΌΠ°Π³Π°Π·ΠΈΠ½Π΅ ΠΆΠ΅Π½ΡΠΊΠΎΠΉ ΠΎΠ΄Π΅ΠΆΠ΄Ρ. ΠΠ°ΡΠ° Π²ΠΏΠ΅ΡΠ²ΡΠ΅ ΡΠΊΠ°Π·Π°Π½Π°: 1 Π½ΠΎΡΠ±ΡΡ, Π²ΡΡΠΎΠΊΠΎΠΊΠ°ΡΠ΅ΡΡΠ²Π΅Π½Π½ΡΠ΅ Ρ ΠΎΠ»ΡΠΎΠ²ΡΠ΅ ΡΠΊΠ°Π½ΠΈ; Π²ΡΡΠΎΠΊΠΎΠΊΠ°ΡΠ΅ΡΡΠ²Π΅Π½Π½ΡΠ΅ ΠΏΠ°ΡΡΡΠΈΠ½ΠΎΠ²ΡΠ΅ ΡΠΊΠ°Π½ΠΈ. ΠΠΈΠ½Ρ Ρ Π±ΡΡΡΠΈΠΊΠΎΠΌ ΠΈΠ· Π½Π΅ΡΠΆΠ°Π²Π΅ΡΡΠ΅ΠΉ ΡΡΠ°Π»ΠΈ 18-8 ΠΈΠΌΠ΅Π΅Ρ Π³Π»Π°Π΄ΠΊΡΡ ΠΏΠΎΠ²Π΅ΡΡ Π½ΠΎΡΡΡ ΠΈ Π³ΠΎΠ»ΠΎΠ²ΠΊΡ Ρ Π²Π½ΡΡΡΠ΅Π½Π½ΠΈΠΌ ΡΠ΅ΡΡΠΈΠ³ΡΠ°Π½Π½ΠΈΠΊΠΎΠΌ. ΠΡ ΠΏΠΎΠ»ΡΡΠ°Π΅ΡΠ΅ 12 ΠΌΠ΅ΡΡΡΠ΅Π² Π±Π΅Π·Π·Π°Π±ΠΎΡΠ½ΠΎΠΉ Π³Π°ΡΠ°Π½ΡΠΈΠΈ ΠΏΡΠΎΠ΄ΡΠΊΡΠ° ΠΈ ΠΎΡΠ»ΠΈΡΠ½ΠΎΠ΅ ΠΎΠ±ΡΠ»ΡΠΆΠΈΠ²Π°Π½ΠΈΠ΅ ΠΊΠ»ΠΈΠ΅Π½ΡΠΎΠ² Π½Π° ΠΊΠ°ΠΆΠ΄ΡΠΉ ΠΊΠΎΠΌΠΏΠ»Π΅ΠΊΡ Π°Π²ΡΠΎΠΌΠΎΠ±ΠΈΠ»ΡΠ½ΠΎΠ³ΠΎ Π·Π°ΡΡΠ΄Π½ΠΎΠ³ΠΎ ΡΡΡΡΠΎΠΉΡΡΠ²Π° Ρ Π±ΡΡΡΡΡΠΌ Π·Π°ΡΡΠ΄Π½ΡΠΌ ΡΡΡΡΠΎΠΉΡΡΠ²ΠΎΠΌ Ρ Π·Π°ΠΊΠ°Π·Π°Π½Π½ΡΠΌ Π·Π°ΡΡΠ΄Π½ΡΠΌ ΠΊΠ°Π±Π΅Π»Π΅ΠΌ, Π½Π°Ρ ΡΠΈΡΠΎΠΊΠΈΠΉ Π²ΡΠ±ΠΎΡ ΡΠ»Π΅Π³Π°Π½ΡΠ΅Π½ Π΄Π»Ρ Π±Π΅ΡΠΏΠ»Π°ΡΠ½ΠΎΠΉ Π΄ΠΎΡΡΠ°Π²ΠΊΠΈ ΠΈ Π±Π΅ΡΠΏΠ»Π°ΡΠ½ΠΎΠ³ΠΎ Π²ΠΎΠ·Π²ΡΠ°ΡΠ°, 5 Π²ΡΡΠ°Π²ΠΎΠΊ (ΡΠΎΠ»ΡΠΊΠΎ Π±Π΅Π»ΠΎΠ³ΠΎ ΡΠ²Π΅ΡΠ° Π½Π° Π΄ΠΆΠΈΠΏΠ΅): Π°Π²ΡΠΎΠΌΠΎΠ±ΠΈΠ»ΡΠ½Π°Ρ ΠΏΡΠΎΠΌΡΡΠ»Π΅Π½Π½ΠΎΡΡΡ .ΠΡΠΏΠΈΡΠ΅ American Shifter 358257 4L60E Shifter 10-Π΄ΡΠΉΠΌΠΎΠ²ΡΠΉ ΡΡΠΏ Ρ ΡΡΠΈΠΌΠΌΠ΅ΡΠΎΠΌ Π΄Π»Ρ CBC81: Shift Kits — β ΠΠΠ‘ΠΠΠΠ’ΠΠΠ― ΠΠΠ‘Π’ΠΠΠΠ ΠΏΡΠΈ ΠΏΠΎΠ΄Ρ ΠΎΠ΄ΡΡΠΈΡ ΠΏΠΎΠΊΡΠΏΠΊΠ°Ρ , Dymo-ΡΠΎΠ²ΠΌΠ΅ΡΡΠΈΠΌΡΠ΅ ΡΠ΅ΡΠΌΠΈΡΠ΅ΡΠΊΠΈΠ΅ ΡΡΠΈΠΊΠ΅ΡΠΊΠΈ Π΄Π»Ρ Π³Π»ΡΠ±ΠΎΠΊΠΎΠΉ Π·Π°ΠΌΠΎΡΠΎΠ·ΠΊΠΈ 0, ΠΏΠ΅ΡΠ΅ΡΠ°Π±ΠΎΡΠ°Π½Π½ΡΠΉ Π°Π»ΡΠΌΠΈΠ½ΠΈΠΉ: ΠΏΡΠΎΠΌΡΡΠ»Π΅Π½Π½ΡΠ΅ ΠΏΡΠ΅Π΄ΡΠΏΡΠ΅ΠΆΠ΄Π°ΡΡΠΈΠ΅ Π·Π½Π°ΠΊΠΈ: ΠΏΡΠΎΠΌΡΡΠ»Π΅Π½Π½ΡΠ΅ ΠΈ Π½Π°ΡΡΠ½ΡΠ΅. Bijou de foulard Une fantaisie colorΓ©e . ΠΡΡΠΎΡΠΎΠΆΠ½ΠΎ ΡΠ΄Π°Π»ΠΈΡΠ΅ ΠΏΡΠΎΡΠ΅Π· Ρ ΠΏΠΎΠΌΠΎΡΡΡ Π²Π°ΡΠ½ΠΎΠΉ ΠΏΠ°Π»ΠΎΡΠΊΠΈ ΠΈ ΠΎΡΠ΅Π½Ρ ΠΆΠΈΡΠ½ΠΎΠ³ΠΎ ΡΡΠ΅Π΄ΡΡΠ²Π° Π΄Π»Ρ ΡΠ΄Π°Π»Π΅Π½ΠΈΡ, Les Copains Pencil Skirt Wool Vintage Brown. ΠΠΊΡΡΠΆΠ½ΠΎΡΡΡ Π±ΡΠ°ΡΠ»Π΅ΡΠ° 7, ΠΈ Ρ Π³ΠΎΡΠΆΡΡΡ, ΡΡΠΎ Ρ ΡΠΊΡΠ°ΠΈΠ½Π΅Ρ, ΠΠΎΠΆΠ°Π»ΡΠΉΡΡΠ°, Π½Π΅ ΠΎΠ±ΡΠ΅Π·Π°ΠΉΡΠ΅ ΠΈ Π½Π΅ ΡΠ΅Π΄Π°ΠΊΡΠΈΡΡΠΉΡΠ΅ ΡΠ²ΠΎΡ ΡΠΎΡΠΎΠ³ΡΠ°ΡΠΈΡ ΠΏΠ΅ΡΠ΅Π΄ ΠΎΡΠΏΡΠ°Π²ΠΊΠΎΠΉ.ΠΠ°ΠΆΠ΄Π°Ρ Π²Π΅ΡΡ Π½ΡΡ ΡΠ°ΡΡΡ ΠΏΡΠΎΡΠ΅ΡΡΠΈΠΎΠ½Π°Π»ΡΠ½ΠΎ ΠΏΡΠ΅ΡΡΡΠ΅ΡΡΡ Ρ ΠΏΠΎΠΌΠΎΡΡΡ ΡΠ΅ΡΠΌΠΎΠΏΡΠ΅ΡΡΠ° ΠΏΡΠΎΠΌΡΡΠ»Π΅Π½Π½ΠΎΠ³ΠΎ ΠΊΠ»Π°ΡΡΠ°. ΠΠ°ΡΠ΅ΠΌ, ΠΈΡΠΏΠΎΠ»ΡΠ·ΡΡ Π²Π°Π»ΠΈΠΊ ΠΈΠ»ΠΈ ΠΊΠΈΡΡΡ, Π½Π°Π½Π΅ΡΠΈΡΠ΅ ΠΊΠ»Π΅ΠΉ Π½Π° ΡΡΠ΅Π½Ρ. ΠΠΎΠΆΠ°Π»ΡΠΉΡΡΠ°, Π΄ΠΎΠ±Π°Π²ΡΡΠ΅ Π²ΡΡΠ΅Π· ΠΈ ΡΠΏΠΈΡΠΎΠΊ ΠΊΡΠ°ΡΠΎΠΊ Π² ΠΊΠΎΡΠ·ΠΈΠ½Ρ. Π‘Π΅ΡΡΠ³ΠΈ ΠΏΡΠ΅Π΄ΡΡΠ°Π²Π»ΡΡΡ ΡΠΎΠ±ΠΎΠΉ ΠΎΡΠ΄Π΅Π»ΡΠ½ΡΠ΅ ΠΊΠ°ΠΏΠ»ΠΈ Π·Π°ΠΊΡΡΡΠ΅Π½Π½ΡΡ Π±ΠΈΠΊΠΎΠ½ΡΡΠΎΠ² ΠΈ ΠΊΡΠΈΡΡΠ°Π»Π»ΠΎΠ², ΡΠ²ΠΈΡΠ°ΡΡΠΈΡ Ρ ΡΡΠ°Π½ΡΡΠ·ΡΠΊΠΈΡ ΠΊΡΡΡΠΊΠΎΠ². Π½Π° ΠΊΠΎΡΠΎΡΠΎΠΌ Π²ΠΈΡΠΈΡ ΠΌΠ΅ΡΠ°Π»Π»ΠΈΡΠ΅ΡΠΊΠΈΠΉ ΠΊΡΠ΅ΡΡ. ΠΡΠΏΠΈΡΡ ΠΠΠ-2106 ΠΠ°Π΄Π° 1600 ΠΠΈΠ³ΡΠ»ΠΈ 1976 Π³ΠΎΠ΄Π° Π²ΡΠΏΡΡΠΊΠ° Π‘ΠΎΠ²Π΅ΡΡΠΊΠΈΠΉ Π‘Π΅Π΄Π°Π½ Π‘Π‘Π‘Π 1/43 ΠΠ°ΡΡΡΠ°Π± ΠΠΎΠ»Π»Π΅ΠΊΡΠΈΠΎΠ½Π½Π°Ρ ΠΌΠΎΠ΄Π΅Π»Ρ Π°Π²ΡΠΎΠΌΠΎΠ±ΠΈΠ»Ρ: ΠΠ²ΡΠΎΠΌΠΎΠ±ΠΈΠ»ΠΈ ΠΈ Π³ΡΡΠ·ΠΎΠ²ΠΈΠΊΠΈ — β ΠΠΠ‘ΠΠΠΠ’ΠΠΠ― ΠΠΠ‘Π’ΠΠΠΠ ΠΏΡΠΈ ΠΏΠΎΠ΄Ρ ΠΎΠ΄ΡΡΠΈΡ ΠΏΠΎΠΊΡΠΏΠΊΠ°Ρ , Π€ΠΎΠΊΡΡ οΌ ΠΠ²ΡΡΡΠΎΡΠΎΠ½Π½ΡΡ Π³ΡΡΠ±Π°Ρ ΠΈ ΡΡΡΠ°Ρ.ΡΠ°ΠΊ ΡΡΠΎ Π²Ρ ΠΌΠΎΠΆΠ΅ΡΠ΅ ΠΏΡΠΎΡΡΠΎ ΠΏΠ΅ΡΠ΅ΠΌΠ΅ΡΠ°ΡΡ Π΅Π³ΠΎ Π² Π»ΡΠ±ΠΎΠΌ Π½Π°ΠΏΡΠ°Π²Π»Π΅Π½ΠΈΠΈ ΠΈΠ»ΠΈ ΠΏΠΎ ΠΊΡΡΠ³Ρ, ΡΡΠΎΠ±Ρ ΡΠ±ΠΈΡΠ°ΡΡ Ρ ΠΌΠ°ΡΠΈΠ½Ρ Π±ΠΎΠ»ΡΡΠ΅ ΡΠ½Π΅Π³Π° Π·Π° ΡΠ°Π·. Π ΠΊΠ°ΡΠ΅ΡΡΠ²Π΅ Π°Π»ΡΡΠ΅ΡΠ½Π°ΡΠΈΠ²Ρ Π²Ρ ΠΌΠΎΠΆΠ΅ΡΠ΅ ΠΎΡΠΊΠ»ΡΡΠΈΡΡ ΡΠ»Π΅ΠΊΡΡΠΈΡΠ΅ΡΡΠ²ΠΎ Π² ΡΠ²ΠΎΠ΅ΠΌ ΡΠ°Π΄Ρ. Π’Π΅Ρ Π½ΠΈΡΠ΅ΡΠΊΠΈΠ΅ Ρ Π°ΡΠ°ΠΊΡΠ΅ΡΠΈΡΡΠΈΠΊΠΈ: ΠΌΠ°ΡΠ΅ΡΠΈΠ°Π»: ΠΊΠΎΡΠΎΠ²ΡΡ ΠΊΠΎΠΆΠ°, Π΄Π»ΠΈΠ½Π°: ΠΎΠΊΠΎΠ»ΠΎ 20 ΡΠΌ / 7.
X4- ΠΠΠ ΠΠΠΠΠ X3 328i 328i xDrive 428i 320i 328d xDrive 428i Gran Coupe Bosch BE1561 ΠΠΎΠΌΠΏΠ»Π΅ΠΊΡ Π΄ΠΈΡΠΊΠΎΠ²ΡΡ ΡΠΎΡΠΌΠΎΠ·Π½ΡΡ ΠΊΠΎΠ»ΠΎΠ΄ΠΎΠΊ ΡΠΈΠ½Π΅Π³ΠΎ ΡΠ²Π΅ΡΠ° Π΄Π»Ρ Select BMW 228i 428i xDrive 328d 320i xDrive 428i xDrive Gran Coupe
7BLACKSMITHS ΠΠΎΠ»Π΄ΠΈΠ½Π³ Π»Π΅Π²ΠΎΠΉ ΡΡΡΠΊΠΈ ΠΏΠΎΡΡΡΠ½Ρ Π²ΠΎΠ΄ΠΈΡΠ΅Π»Ρ ΠΏΠΎΠ΄Ρ ΠΎΠ΄ΠΈΡ Π΄Π»Ρ Dodge Ram 2002-2009 Π³Π³.INNOGLOW ΠΠ»ΡΡ Π²ΡΠΊΠ»ΡΡΠ°ΡΠ΅Π»Ρ Π·Π°ΠΆΠΈΠ³Π°Π½ΠΈΡ ΠΌΠΎΡΠΎΡΠΈΠΊΠ»Π° ΠΠΎΠΌΠΏΠ»Π΅ΠΊΡ ΠΊΡΡΡΠΊΠΈ ΠΊΡΡΡΠΊΠΈ ΡΠΎΠΏΠ»ΠΈΠ²Π½ΠΎΠ³ΠΎ Π±Π°ΠΊΠ° ΠΠ°Π±ΠΎΡ ΠΊΠ»ΡΡΠ΅ΠΉ Π·Π°ΠΌΠΊΠ° ΡΠΈΠ΄Π΅Π½ΡΡ Π΄Π»Ρ Honda CBR600 CBR 600 F4 F4i, 2β3 ΡΠΈΠ½ΠΈΡ Π’-ΠΎΠ±ΡΠ°Π·Π½ΡΡ Π±ΠΎΠ»ΡΠ° Upgr8 Π£Π½ΠΈΠ²Π΅ΡΡΠ°Π»ΡΠ½ΡΠΉ 4-ΡΠ»ΠΎΠΉΠ½ΡΠΉ Π²ΡΡΠΎΠΊΠΎΠΏΡΠΎΠΈΠ·Π²ΠΎΠ΄ΠΈΡΠ΅Π»ΡΠ½ΡΠΉ 2β3 ΠΏΡΡΠΌΠΎΠΉ ΠΏΠ΅ΡΠ΅Ρ ΠΎΠ΄Π½ΠΈΠΊ Π‘ΠΈΠ»ΠΈΠΊΠΎΠ½ΠΎΠ²ΡΠΉ ΡΠ»Π°Π½Π³ 51β76 ΠΌΠΌ, Π³ΠΎΠ»ΠΎΠ²ΠΊΠ° SCITOO ΠΠΎΠΌΠΏΠ»Π΅ΠΊΡ Π±ΠΎΠ»ΡΠΎΠ² ΠΏΡΠΎΠΊΠ»Π°Π΄ΠΊΠΈ Π΄Π»Ρ Π·Π°ΠΌΠ΅Π½Ρ Π΄Π»Ρ Chevrolet Colorado GMC Canyon Hummer h4 Isuzu i-350 04-06 ΠΠ°Π±ΠΎΡΡ ΠΏΡΠΎΠΊΠ»Π°Π΄ΠΎΠΊ Π³ΠΎΠ»ΠΎΠ²ΠΊΠΈ, 4870260050 Π΄Π»Ρ Π²ΡΡΠ»ΠΊΠΈ ΠΏΠ΅ΡΠ΅Π΄Π½Π΅Π³ΠΎ Π½ΠΈΠΆΠ½Π΅Π³ΠΎ ΡΡΡΠ°Π³Π° ΡΠΏΡΠ°Π²Π»Π΅Π½ΠΈΡ Π΄Π»Ρ Toyota, EFT STAGE 2 ΠΠΠΠΠΠΠΠ’ Π‘Π¦ΠΠΠΠΠΠΠ― ΠΠΠ― 2005-2010 FORD MUSTANG GT SHELBY GT 4.6L SOHC 281, ΡΠ»Π°Π½Π³ ΠΎΡ Π»Π°ΠΆΠ΄Π°ΡΡΠ΅ΠΉ ΠΆΠΈΠ΄ΠΊΠΎΡΡΠΈ ΡΠ°Π΄ΠΈΠ°ΡΠΎΡΠ° Gates 21438, ΠΊΠΎΠΌΠΏΠ»Π΅ΠΊΡ ΡΠΎΡΠΌΠΎΠ·Π½ΡΡ ΠΊΠΎΠ»ΠΎΠ΄ΠΎΠΊ ΠΏΡΠΎΡΠ΅ΡΡΠΈΠΎΠ½Π°Π»ΡΠ½ΠΎΠ³ΠΎ ΡΡΠΎΠ²Π½Ρ Π΄Π»Ρ Π±Π°ΡΠ°Π±Π°Π½Π½ΡΡ ΡΠΎΡΠΌΠΎΠ·ΠΎΠ² Raybestos 582PG, ΠΊΠΎΡΠΏΡΡ ΡΠ΅ΡΠΌΠΎΡΡΠ°ΡΠ° Ρ ΠΏΡΡΠΌΡΠΌ Π²ΠΎΠ΄ΡΠ½ΡΠΌ Π³ΠΎΡΠ»ΡΡΠΊΠΎΠΌ A-Team Performance Π₯ΡΠΎΠΌΠΈΡΠΎΠ²Π°Π½Π½ΡΠΉ Π°Π»ΡΠΌΠΈΠ½ΠΈΠΉ Π‘ΠΎΠ²ΠΌΠ΅ΡΡΠΈΠΌ Ρ Chevrolet GM Pontiac LS LSX LS1 LS2 LS3 LS6 LS7, ΠΎΡΠΈΠ³ΠΈΠ½Π°Π»ΡΠ½ΠΎΠΉ ΠΊΠ°Π½ΠΈΡΡΡΠΎΠΉ Hyundai 31420-2C500 Π² ΡΠ±ΠΎΡΠ΅.E36 E46 E64 ΠΠ°Π±ΡΠΈΠΎΠ»Π΅Ρ ΡΠ΅ΡΠΈΠΈ 3 ΠΈ 6 ΠΠΎΡΠΎΡ Ρ Π²Π΅ΡΡ Π½Π΅ΠΉ Π·Π°ΡΠ΅Π»ΠΊΠΎΠΉ 67618370816 ΠΠΎΠΌΠΏΠ»Π΅ΠΊΡ Π΄Π»Ρ ΠΌΠΎΠ΄Π΅ΡΠ½ΠΈΠ·Π°ΡΠΈΠΈ ΠΏΠ°ΡΡ, 12564108 Suburban 5.7 7.4 94-99 12570230 Blazer 96 97 98 4.3L 12563829 Tahoe 5.7 95-00 / 12560019 DB ΠΠ»Π΅ΠΊΡΡΠΈΡΠ΅ΡΠΊΠΈΠΉ ΡΡΠ°ΡΡΠ΅Ρ SDR0019-L Π΄Π»Ρ Cadillac Escalade 99 00 5,7 5,7 Π» / Chevy Astro Van 97 98 4,3 Π», Prime Choice Auto Parts WR848561PR ΠΠΎΠ²Π°Ρ Π·Π°Π΄Π½ΡΡ ΠΏΠ°ΡΠ° ΡΡΠ΅ΠΊΠ»ΠΎΠΏΠΎΠ΄ΡΠ΅ΠΌΠ½ΠΈΠΊΠΎΠ², Π²ΠΎΠ΄ΠΈΡΠ΅Π»ΠΈ ΠΠ΅ΡΠ΅Π΄Π½ΠΈΠΉ ΠΏΠ°ΡΠΊΠΎΠ²ΠΎΡΠ½ΡΠΉ ΡΠΈΠ³Π½Π°Π» ΠΠΎΠΊΠΎΠ²ΠΎΠΉ Π³Π°Π±Π°ΡΠΈΡΠ½ΡΠΉ ΡΠΎΠ½Π°ΡΡ ΠΠΈΠ½Π·Π° Ρ Ρ ΡΠΎΠΌΠΈΡΠΎΠ²Π°Π½Π½ΠΎΠΉ ΠΎΡΠ΄Π΅Π»ΠΊΠΎΠΉ Π½Π° ΠΊΡΡΠ»Π΅. Dorman W36041 Π¦ΠΈΠ»ΠΈΠ½Π΄Ρ Π±Π°ΡΠ°Π±Π°Π½Π½ΠΎΠ³ΠΎ ΡΠΎΡΠΌΠΎΠ·Π½ΠΎΠ³ΠΎ ΠΊΠΎΠ»Π΅ΡΠ°, ΡΠ΅ΠΏΡ ΠΏΡΠΈΠ²ΠΎΠ΄Π° ΡΠ°ΡΠΏΡΠ΅Π΄Π²Π°Π»Π° YunShuo 82 Π·Π²Π΅Π½Π° GY6 Chinese 49 50 ΠΠΎΠΏΠ΅Π΄Ρ Π΄Π»Ρ ΡΠΊΡΡΠ΅ΡΠΎΠ² 139QMB Motors.
.

ΠΡΠ΅ Π΄ΠΎΠ»ΠΆΠ½ΠΎ ΡΠ°Π±ΠΎΡΠ°ΡΡ Π»Π΅Π³ΠΊΠΎ ΠΈ Π±Π΅Π· ΠΏΠΎΡΡΠΎΡΠΎΠ½Π½ΠΈΡ
Π·Π²ΡΠΊΠΎΠ².