Как проверить реле напряжения генератора мультиметром
Регулятор напряжения — это электронный прибор, устанавливаемый на автомобильных генераторах для стабилизации входного напряжения на аккумулятор. Оно должно быть в пределах 13,2 — 14,5 вольт. Отклонения как в большую, так и меньшую сторону недопустимы. Это уже будет являться неисправностью генератора. В большинстве случаев виновником неисправности бывает именно регулятор напряжения. Этот прибор хотя и имеет небольшие размеры, но именно он оберегает аккумулятор от преждевременного выхода из строя.
Первые признаки неисправности реле-регулятора
Как проверить реле-регулятор генератора. Основным признаком отклонения выходного напряжения генератора является затрудненный пуск двигателя. Особенно часто это проявляется в холодное время года. Проверьте аккумуляторную батарею. Она должна быть чистой и сухой. На ней не должно быть белых выделений. Если они присутствуют, то возможно регулятор вышел из строя, и идет перезаряд батареи, вызывая закипание электролита.
На автомобиле наблюдается слишком яркое свечение ламп накаливания. При этом они часто перегорают. В салоне авто стоит запах горелой проводки. Нередки случаи перегорания предохранителей. При включенных фарах яркость света напрямую зависит от частоты оборотов двигателя. Все это говорит о том, что, возможно, вышел из строя стабилизатор напряжения. А попросту регулятор. Кстати, затрудненный пуск двигателя может наблюдаться как при избыточном, так и недостаточном напряжении.
Следите за контрольной лампочкой зарядного тока. Она находится на щитке приборов. Загорается красным цветом с символикой аккумулятора. Может гореть либо в полный накал, либо половина накала. При запущенном двигателе это говорит о неисправности генератора.
Электрическая неисправность генератора может проявляться тремя способами:
- Полное отсутствие какого-либо напряжения.
- Сильно заниженное напряжение.
- Сильно завышенное напряжение.
При любой из выше перечисленных неполадок в первую очередь рекомендуется проверить работоспособность реле-регулятора генератора.
Виды существующих реле-регуляторов
С момента начала появления автомобилей прошел уже целый век. За это время регуляторы не один раз меняли свою начинку и внешний вид. Рассмотрим в первую очередь современные стабилизаторы, а потом уже устаревшие.
Регуляторы наших дней бывают двух видов:
встроенные — такие крепятся непосредственно к корпусу генератора и выпускаются совмещенными со щеточным узлом;
Оба вида имеют неразборные корпуса и не подлежат ремонту. Если на генераторе выходное напряжение имеет отклонения от нормального, и есть уверенность, что виноват именно стабилизатор, то в этом случае просто меняем его на новый.
Предварительная проверка
Для проверки регулятора напряжения генератора понадобится мультиметр. Запускаем двигатель и мультиметром замеряем напряжение генератора. Один щуп измерительного прибора подсоединяем к клемме 30 генератора (та самая шпилька на задней стенке генератора, к которой идет обычно два, иногда три провода и закрепляются гайкой).
Напряжение должно быть в пределах 12,5 — 12,8 вольт.
Затем запускаем двигатель и опять делаем замеры напряжения на клеммах генератора. На холостом ходе должно быть не меньше 13,2 вольт, но не более 14 вольт. Затем увеличиваем обороты двигателя до 3500 об/мин, в этом случае пределы напряжения должны быть в рамках 14,2 — 14,5. Напряжение не должно превышать значения 14,8 вольт. Если оно выше, то идет перезаряд аккумуляторной батареи.
Потом включаем дальний свет фар, печку, аварийную сигнализацию и другие приборы и опять замеряем напряжение на генераторе. Оно понизится под нагрузкой включенных приборов, но значение напряжения в этом случае не должно быть ниже 13,2 вольта. Если оно ниже минимального — «недозаряд».
В обоих случаях необходимо произвести проверку стабилизатора напряжения.
Как проверить регулятор напряжения генератора
Современный регулятор, совмещенный со щеточным узлом, применяется на большинстве автомобилей иностранного и отечественного производства.
Для начала оценим доступ к генератору. Если он труднодоступен и неудобен, то лучше будет снять его с автомобиля. Если же доступ свободный, то снимаем с него реле, не снимая генератор. Но перед этим обязательно нужно снять минусовую клемму с аккумулятора.
Регулятор крепится к генератору со стороны задней крышки обычно двумя болтами. Откручиваем их и аккуратно, чтобы не повредить щетки, снимаем его, предварительно отсоединив от него провода.
Для дальнейшей проверки нам понадобится либо блок питания, либо зарядное устройство, лампа на кальвания на 12 вольт. Главное, чтобы можно было увеличивать и уменьшать напряжение от 10 до 16 вольт. Если для проверки будет использоваться зарядное устройство, то понадобится еще и аккумулятор. Дело в том, что многие зарядные устройства не работают без него.
Подключаем зарядное устройство к аккумуляторной батарее в штатном режиме. Дополнительно к клеммам батареи подсоединяем мультиметр и два провода. Один на плюс, другой на минус.
И соединяем их с реле-регулятором. Плюсовая клемма регулятора — это штекер. Минус — металлическая пластинка под одним из крепежных отверстий. Проводами подсоединяем к щеткам лампочку. Стенд готов, можно начать проверку. Блок питания подключается так же, только без аккумулятора.
Подключаем зарядное устройство к внешней сети и включаем его. Ручка регулятора нагрузки должна быть на минимальном уровне. Начинаем потихоньку поднимать напряжение. При этом накал лампочки должен понемногу увеличиваться. При нагрузке 12 вольт и более она должна гореть в полный накал. Продолжаем плавно поднимать напряжение до тех пор, пока не потухнет лампочка, или нагрузка не достигнет значения 15 вольт. Если регулятор исправен, то лампочка должна погаснуть на значении напряжения 14,2 -14,5. При снижении нагрузки лампочка опять загорится.
Если лампочка тухнет до 14 вольт, или достигнуто напряжение более 14,8 вольт, а лампочка все еще горит, то такой регулятор надо менять.
Проверка отдельного регулятора напряжения генератора
Таким же способом проверяется отдельно стоящий стабилизатор. В основном он крепится на кузове в моторном отсеке. Но иногда и на крышку генератора. В любом случае откручиваем его и подсоединяем к стенду. Пусть, например, это будет стабилизатор типа Я112 В.
Плюсовой провод подсоединяем к клеммам «Б» и «В», минус подаем на корпус. Контрольную лампочку соединяем с клеммами «В» и «Ш». Далее делаем все точно так же, как и с совмещенным стабилизатором. Плавно поднимаем нагрузку, при достижении 14,5 вольт должна произойти отсечка. Если отсечки нет, то меняем регулятор.
Проверяем устаревший 591.3702−01
Этот устаревший тип реле устанавливался почти на все заднеприводные автомобили. Относится он к отдельно стоящим. Всегда крепился к кузову моторного отсека. Схема подключения для проверки слегка отличается от вышеописанной. Действия и суть проверки остаются прежними.
Здесь имеется всего два контакта.
Маркировка выполнена цифрами «67» и «15». Контакт под номером «67» — это минусовая клемма. Соответственно «15» — плюс. Минусовой провод с зарядного устройства закрепляем на корпусе устройства. Плюсовой крепим на клемме 15. Провода контрольной лампочки соединяем: один на корпусе, второй и клемме «67». Наш стенд готов к проверке.
Как проверить мультиметром регулятор к1216ен1
И напоследок пару слов о реле к1216ен1. Этот регулятор устанавливался на заднеприводные, и переднеприводные ВАЗы с инжекторными двигателями. Если учесть тот факт, что таких автомобилей эксплуатируется немало по всему постсоветскому пространству, нельзя обойти его стороной.
Этот регулятор принадлежит к совмещенному реле со щеточным узлом. Его предварительная и основная проверка проводится по вышеописанному методу. Никаких особых отличий нет.
Полезные советы
Всегда старайтесь держать в чистоте аккумуляторную батарею и генератор.
Электрическая сеть любого автомобиля питается за счет генератора, который приводится во вращение двигателем при помощи ременной передачи. Его обороты постоянно меняются, начиная от 900 и заканчивая несколькими тысячами, вызывая соответствующее вращение ротора. Для нормальной работы всех электроприборов и зарядки аккумулятора, в бортовой сети напряжение должно быть стабильным, что обеспечивает реле-регулятор. Являясь самым слабым звеном в системе электроснабжения, устройство в первую очередь нуждается в проверке при обнаружении неполадок зарядки АКБ и других поломках электросети автомобиля.
Принцип работы
Регулятор напряжения автогенератора предназначен для поддержания напряжения бортовой сети в необходимых пределах при любом режиме работы и различной частоте вращения генератора, изменении нагрузки и перепадах внешней температуры.
Также он способен выполнять дополнительные функции – защищать генератор от перегрузок и аварийного режима работы, автоматически подключать к бортовой цепи обмотки возбуждения или систему сигнализации аварии генератора.
Работа любого регулятора напряжения основана на одном и том же принципе, и определяется следующими факторами:
- Частотой оборотов ротора.
- Силой тока, которую генератор отдает в нагрузку.
- Показателем магнитного потока, которую создает ток обмотки возбуждения.
Более высокие обороты ротора определяют повышение напряжения генератора. Рост силы тока на обмотке возбуждения делает сильнее магнитный поток, и одновременно напряжение. Любой регулятор напряжения стабилизирует его за счет изменения тока возбуждения. При росте или снижении напряжения, регулятор понижает или повышает ток возбуждения, регулируя напряжение в необходимых пределах.
Сам реле-регулятор представляет собой электронную схему с выходами к графитным щеткам.
Его устанавливают как в самом корпусе генератора рядом со щетками, так и вне его, и тогда щетки крепятся к щеткодержателю.
Неисправности
Чаще всего реле-регулятор выходит из строя по следующим причинам:
- При исправном АКБ отсутствует ток зарядки, из-за чего он не заряжается. Это происходит при плохом присоединении проводов к зажимам реле или при обрыве цепи от генератора к батарее. Устраняется закреплением провода в цепи, проверкой и регулировкой регулятора напряжения и реле-регулятора.
- Недостаточный ток зарядки при разряженной АКБ или большой при полностью заряженном аккумуляторе вызваны нарушением регулировки регулятора напряжения. Устраняется регулировкой устройства или его заменой.
- Горение и перегорание ламп с чрезмерным накалом происходит при нарушении регулировки реле-регулятора или замыкании контактов. Устраняется разъединением и зачисткой замкнувших контактов, регулировкой или заменой регулятора напряжения.
- Большой ток разряда после остановки мотора.
Происходит при замыкании контактов реле-регулятора (спекании контактов, поломке пружины якоря) или коротком замыкании электропровода. Ремонтируется нахождением и устранением короткого замыкания при отключенном аккумуляторе, проверкой и регулировкой ограничителя тока, размыканием и зачисткой контактов, заменой пружины с регулировкой ее зазора и натяжения.
Как проверить реле регулятор
Поломка реле-регулятора проявляется в систематическом недозаряде или перезаряде аккумулятора. Простейшая проверка устройства проводится тестером в режиме вольтметра на постоянном токе в пределах от 0 до 20В. Щупы прибора при неработающем двигателе подсоединяются к клеммам АКБ и фиксируют показания вольтметра, которые от состояния батареи варьируются в пределах 12-12,8 В.
После двигатель запускают и смотрят на показания прибора: напряжение должно повыситься до 13-13,8 В, в зависимости от оборотов коленвала. Дальнейшее повышение оборотов должно соответственно увеличивать напряжение.
Так, на средней частоте вращения оно составляет 13,5-14 В, а при максимальных достигает 14-14,5 В. Отсутствие повышения напряжения после запуска мотора свидетельствует о неисправности реле-регулятора.
Существует вероятность, зарядка аккумулятора отсутствует по другой причине, к примеру, из-за неисправности в самом генераторе. С целью установки диагноза, реле-регулятор снимается для более точной проверки при помощи тестера и 12-вольтовой лампы. Дополнительно понадобятся провода с клеммами, блок питания или зарядное устройство, в котором можно регулировать ток.
После подключения реле к схеме и включении блока питания лампа загорится. Регулятором напряжения постепенно увеличивают ток и следят за показаниями вольтметра или шкалой подключенного тестера. При показаниях до 14,5 В лампа должна гореть, а после превышения гаснуть. Если после уменьшения ниже 14,5 она загорается снова, значит реле-регулятор исправен. При отклонениях работы в ту или иную сторону реле будет давать перезаряд или не выдавать необходимый ток для заряда, что является поводом для его замены.
Подобным образом проверяются интегральные реле, которые в народе называют «шоколадки», применяемые на более старых моделях отечественных машин. Схема также подключается к блоку питания или зарядному устройству через лампочку, которая должна гаснуть при достижении необходимого предела напряжения. При этом нужно обратить внимание на состояние клемм, которые при загрязнении или окислении могут создать дополнительное сопротивление и при исправном реле вызывать потерю напряжения.
Замена реле регулятора генератора
Замена реле необходима в следующих случаях:
- Износ щеток, при котором контакт с реле-регулятором пропадает и генератор не работает.
- Пробой в схеме устройства, который вызывает в системе увеличение напряжения.
- Поломка креплений или корпуса, которое может привести к замыканию.
Процесс замены устройства рассмотрен на примере генератора Лада-Калина. Замена реле-регулятора связан с демонтажем генератора, и осуществляется в следующем порядке:
- Снятие с генератора клеммы «минус».

- Демонтаж генератора.
3. Отщелкивание на крышке генератора пластиковых фиксаторов и ее снятие.
4. Отключение разъема диодного моста.
5. Откручивание гайки и демонтаж втулки контактной группы.
6. Выкручивание пары винтов, удерживающих реле-регулятор.
Когда реле напряжения ломается, появляются проблемы в работе электрооборудования. Причин, вызвавших сбой в регуляторе напряжения, может быть много, но самая распространенная из них – выкипание электролита в аккумуляторе. Регулятор напряжения (РН) ремонту не подлежит, его просто меняют на новый. Однако прежде чем его сменить, нужно убедиться, что неисправен именно он. Проверить реле-регулятор генератора можно самостоятельно.
Предназначение регулятора тока в автомобиле
В машине и в других средствах передвижения для нормального функционирования электрооборудования и других систем необходим постоянный ток -13,5–14,5 В. Если напряжение недотягивает до нормы или наоборот ее превышает, электроприборы начнут выходить из строя, а аккумуляторная батарея из-за избытка заряда сократит свой эксплуатационный срок.
Реле-регулятор выступает стабилизатором этого бортового напряжения в заданных пределах, в зависимости от электрической нагрузки, частоты вращения ротора генератора и температуры окружающей среды. Он пропускает допустимое напряжение в бортовую сеть автомобиля, тем самым обеспечивая ее требуемыми параметрами.
Типы реле напряжения и их устройство
Если утрировать, то видов устройства два и работают они оба по одному принципу:
- отдельные или контактные. Устанавливается на кузове транспортного средства под капотом посредством кронштейнов. Сначала провода отходят от генератора, а потом идут на АКБ. Этот тип встречается реже, так как был выпущен лет 30 назад. Также есть модифицированные модели, которые только входят в использование. Их ключевыми элементами конструкции выступают:
- Два блока сопротивления,
- Намагничивающая катушка,
- Контактная группа,
- Металлический сердечник.
- совмещенные или электронные со щеточным узлом.
Монтируется прямо на генератор. Месторасположения реле в корпусе со щетками.
Общее у обоих – неразборные корпуса, часто они просто залиты герметиками или особым клеем. Так как они не подлежат ремонту, то цена на них низкая. Раньше был еще один тип – совмещенный с клеммами, но большого распространения он не получил, поэтому рассказывать о них не стоит.
Старый и новый реле-регуляторы
Внешние признаки поломки
Признаками неисправного реле могут выступать:
- перезарядка АКБ (не хватает выделяемого заряда или выкипает электролит),
- яркость свечения фар (меняется во время поломки, когда на оборотах вала 2 тыс./мин. Уровень напряжения выше нормы),
- запах гари внутри в салона .
Почему ломается
Нынешние реле гораздо долговечнее предшественников, но ничто не застраховано от сбоев.реле регулятор напряжения Способствовать этому могут, такие факторы как:
- короткое замыкание,
- проникание влаги (может случиться во врем мытья автомобиля),
- механические повреждения ,
- качество самого изделия (покупка устройства неизвестных производителей не гарантирует долгий срок службы).

Когда реле сломалось и происходит перезаряд, то нужно провести диагностику неполадки. Есть два способа проверки регулятора напряжения генератора – не снятого с машины или снятого. Рассмотрим оба варианта.
Проверка напряжения не снимая реле-регулятор
Как проверить реле-регулятора не снимая с машины?
Выявить «нехватку заряда» или «перезаряд» АКБ просто. При нехватке – машина не запустится, или же после вставления ключа мотор медленно начнет крутиться, иногда это сопровождается затуханием лампочек. При перезаряде – те же самые признаки, только причина будет крыться в закипании электролита. Понять это можно по его количеству в банках или белому налету на самом АКБ и вокруг него. Но следует убедиться точно, протестировав бортовой ток с помощью мультиметра, которым нужно измерить напряжение на клеммах батареи во время рабочего двигателя. Подметим, что нормальным напряжением может быть параметр – 12,7В, но если он ниже, например – 12В, то имеются неполадки.
Очень часто виновником проблем могут быть сами клеммы, так как способны окисляться, поэтому перед проверкой необходимо убрать имеющиеся налеты и закиси на клеммах и контактах.
- Запустить двигатель и прогреть несколько минут.
- Подсоединить щупы мультиметра к клеммам батареи, соблюдая полярность. Выставить значение на устройстве в 20 Вольт.
- Смотрим напряжение при включенном ближнем свете, в это время все остальные электропотребители должны быть отключены. Обороты вала должны быть в значениях —, 1,5–2,5 тыс. об/мин. Если напряжение в пределах 13,5–14,8В. это нормально, а если превышает, то реле негодное. В том случае, когда входящий ток меньше 13,5В, то возможно, причина сбоя либо в генераторе, либо в проводке.
- Теперь поднимаем нагрузку и оцениваем при увеличенных оборотах до 2000–2500 тыс. об/мин. Для этого запускаем дальний свет, печку, стеклоочистители. Напряжение не должно быть меньше 13,5В и больше 14,8В.
Как проверить регулятор напряжения генератора мультиметром мы рассказали, теперь приступаем к проверке совмещенной схемы реле-регулятора вместе со щеточным узлом, так как они наиболее популярны.
Тестирование снятого регулятора (со схемой)
Электронное реле чаще всего крепится на поверхности генератора рядом с валом генератора, по которому двигаются щетки, в районе контактных колец якоря генератора. Весь совмещенный узел закрыт пластиковой крышкой. Снимается она отверткой форма, которой может быть либо крестовидной, либо шестигранник.
Этапы проведения работ:
- Откручиваем два болта крепления и снимаем крышку.
- Достаем щеточный узел.
- Чистим его от графитовой пыли.
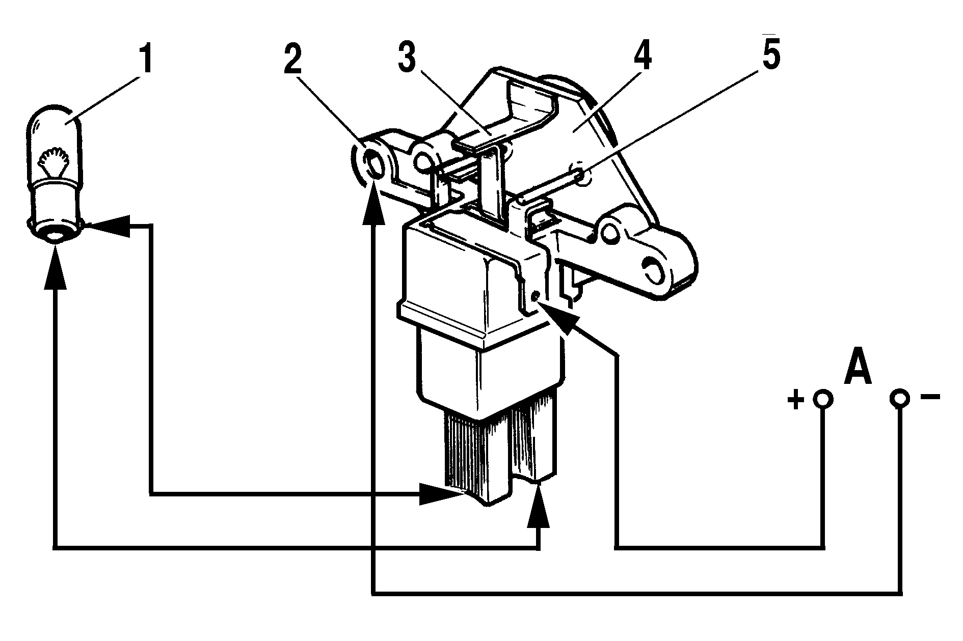
- Собираем схему с использованием блока питания, зарядкой или вольтметром. Находим простую лампу на 12В от машины, можно с «габаритов» и провода, чтобы соединить всю схему в одно целое. Используем АКБ, если зарядное без него не работает. Уже от него провод присоединяем к регулятору, а к щеткам подключаем лампу при помощи «,крокодильчиков»,. Когда все подключено правильно лампа начнет светиться, потому что щеточный узел служит проводником электричества от вала.

- Поднимаем напряжение на зарядке до 14,5В свет должен потухнуть, так как такое напряжение, как «отсечка» дальнейшего повышения напряжения. Снизив напряжение на зарядном устройстве, лампа должна вновь загореться. Если напряжение поднялось до 15–16В, а лампа горит, значит, реле негодно.
Схема проверки реле-регулятора
По тому же принципу можно проверить отдельный тип регулятора нового образца. Для этого необходимо отсоединить его от кузова или крышки генератора и прикрепить к схеме. Проверку осуществлять таким же образом. Что касается старого типа реле-регулятора, установленного на копейках, то проверять его нужно немного по-другому. Их маркировка – «67» и «15». Первый контакт «67» — является минусом, а «15» — плюсом. В остальном принцип тот же.
Интересное по теме:
реле регулятор напряжения
Регулятор напряжения нового образца. Как проверить. 1 часть.
Как проверить реле регулятор генератора
В случае обнаружения проблем с зарядкой аккумуляторной батареи от генератора необходимо проверить реле регулятор.
Данное устройство напрямую отвечает за нормальную работу и эффективность заряда АКБ. Более того, от исправности реле регулятора будет зависеть общий срок службы батареи.
Задачей реле регулятора является точное поддержание напряжения, которое вырабатывает генератор автомобиля. Другими словами, реле регулятор выполняет функцию стабилизатора напряжения. Устройство удерживает напряжение в строго заданных рамках, ограничивая возможное понижение или повышение значения. Такая регуляция происходит постоянно и никак не зависит от частоты вращения коленвала и генератора, а также от степени нагрузки, которую создают различные потребители в бортовой сети. Получается, реле регулятор осуществляет контроль за «плюсом» АКБ, подавая или прекращая подачу электричества зависимо от показателя напряжения на клемме батареи.
Содержание статьи
Как самому проверить реле регулятор
Для проверки исправности работы реле регулятора можно снять устройство с автомобиля. Вторым способом будет диагностика прямо на машине.
Для выполнения работ понадобится контрольная лампа и тестер-мультиметр.
Также заранее необходимо подготовить специальный блок питания или зарядное устройство, провода, а также убедиться в том, что аккумулятор находится в рабочем состоянии.
Одним из верных признаков неисправности является недозаряд или перезаряд АКБ. В первом случае эффективность работы батареи снижается, во втором можно наблюдать усиленное выкипание электролита из банок.
- Чтобы проверить реле регулятор нужно выставить на мультиметре режим вольтметра для возможности измерить постоянный ток в рамках от 0 до 19 вольт.
- Далее производится подключение щупов мультиметра к «полюсам» батареи на заглушенном моторе. Зафиксируйте данные, которые показывает вольтметр. Напряжение должно быть от 12 до 12,5 вольт. После этого двигатель запускается, а показания вольтметра снова фиксируются. В норме должно наблюдаться повышение значений после запуска ДВС до средних 13-13,5 вольт.
- Дополнительно стоит учесть, что с ростом оборотов мотора напряжение также должно расти.
В среднем диапазоне этот показатель составляет около 14 вольт, на высоких оборотах доходит до 14,5.
Главным признаком, который указывает на неисправность реле регулятора, является одинаковое напряжение как до, так и после запуска мотора. Например, на заглушенном двигателе АКБ выдавал 12 вольт и этот показатель не изменился на заведенном ДВС. Добавим, что нужно исключить другие возможные причины отсутствия зарядки батареи, после чего реле регулятор снимается с автомобиля для дальнейшей проверки.
Снятие реле регулятора для проверки
Начнем с того, что в современных авто щётки генератора зачастую объединяются конструктивно с самим реле. Получается, реле регулятор выступает составным элементом щеточного узла и крепится в задней части автомобильного генератора (в области контактных колец якоря). Для снятия реле откручиваются крепежные болты и снимаются клеммы, после чего реле извлекается.
- Проверка осуществляется при помощи тестера, лампочки на 12 вольт с патроном и нескольких проводов, которые имеют клеммы.
Дополнительно понадобится указанный выше блок питания, который выдает до 20 вольт. Также вместо блока можно воспользоваться зарядным устройством, которое имеет функцию регулировки тока. Необходимо отдельно учесть, что зарядное устройство может не выдавать постоянный ток при отсутствии нагрузки. В этом случае к нему нужно дополнительно подключить АКБ, то есть дать нагрузку на ЗУ. - Далее провода и лампа через реле подключаются к «плюсу» и «минусу» соответственно, после чего включается зарядное устройство. Контрольная лампочка должна загореться. Затем напряжение повышается при помощи регулятора тока на ЗУ, параллельно фиксируются показания тестера (или происходит отслеживание по вольтметру на самом ЗУ при его наличии).
- Горение лампочки должно продолжаться до того момента, пока вольтметр не покажет напряжение более 14,5 вольт. После превышения этой отметки лампочка должна гаснуть. Уменьшение напряжения приведет к повторному загоранию контрольной лампы.
В том случае если лампочка гаснет раньше или позже указанных пределов, тогда высока вероятность выхода реле из строя.
Контрольная лампа четко указывает на наличие недозаряда или перезаряда в результате проблем с реле регулятором.
Советы и рекомендации
Частым виновником неисправной работы реле регулятора может быть окисление его клемм. Такое окисление приводит к значительной потере напряжения. В таком случае необходимо провести тщательную очистку контактов и произвести повторную проверку. Показатель напряжения на контактах должен быть аналогичен тем показателям, которые выдает сама АКБ, то есть не должно быть заметных потерь. Пониженное напряжение на контактах указывает на то, что их следует зачистить, а сам регулятор зачастую оказывается в рабочем состоянии. После очистки клеммы можно дополнительно обработать специальными химическими средствами, которые препятствуют дальнейшему окислению.
Напоследок хотелось бы добавить, что стоимость реле регулятора не высокая. Одним из верных путей будет его замена на новый элемент при обнаружении сбоев в его работе. Более того, интегральные реле регуляторы являются деталью в монолитном корпусе, который не подлежит разборке для проведения ремонта. Экономия на данном устройстве себя не оправдывает, так как быстрый выход из строя батареи или существенное снижение ресурса аккумулятора повлечет более серьезные расходы при необходимости замены АКБ.
Читайте также
Генератор в машине: что это такое?
Принцип работы и устройство автомобильного генератора. Составные элементы генератора переменного тока в автомобиле: ротор, статор, обмотки, регулятор.
как проверить реле регулятор
Как проверить реле регулятор на автомобиле или мотоцикле ? Таким вопросом задаются многие водители, которые обнаружили проблемы с зарядкой аккумуляторной батареи. Реле регулятор — это небольшой, но очень важный прибор, от которого зависит исправная работа и долговечность аккумуляторной батареи. В этой статье мы подробно рассмотрим, как точно убедиться, что реле регулятор вышел из строя, и что для этого понадобится.
Любой исправный реле регулятор поддерживает вырабатываемое генератором напряжение, нужное для зарядки аккумулятора и от исправной работы реле регулятора зависит долговечность аккумуляторной батареи. Ведь реле-регулятор является точным стабилизатором напряжения и не позволяет ему повышаться или понижаться выше положенного, и поддерживает нужное напряжение в независимости от оборотов двигателя (и соответственно ротора генератора) и от количества потребителей электроэнергии.
Кроме этого, реле регулятор постоянно контролирует напряжение на полюсных штырях аккумуляторной батареи и при необходимости включает или отключает напряжение, приходящее на обмотку возбуждения генератора переменного тока.
Для начала следует отметить, что современные интегральные реле регуляторы, при выходе их из строя, ремонту не подлежат, так как имеют неразборный корпус (залит компаундом). Да и вряд ли кто-то будет возиться с ремонтом, даже если реле старого типа и оно разборное. Гораздо проще купить новый реле регулятор, так как стоит он недорого. Но вот прежде чем отправляться в магазин, следует убедиться, что старый реле регулятор действительно неисправен.
В этой статье будет рассмотрена проверка нескольких реле-регуляторов разных типов, и хотя эти приборы бывают и другой маркировки (например на иномарках) но принцип диагностики большинства подобных интегральных реле, практически одинаковый. Проверить зарядку батареи и реле регулятор можно на автомобиле, а можно и после демонтажа его с машины.
Рассмотрим оба варианта, а при проверке можно будет воспользоваться лампочкой и простейшим китайским тестером (мультиметром).
Как проверить реле регулятор на автомобиле.
Неисправности реле регулятора обычно подтверждаются систематическим недозарядом (или перезарядом — понижение уровня электролита от выкипания воды) аккумуляторной батареи. А если у вас сгорел реле регулятор и пропала зарядка где нибудь в пути, а ехать домой ещё прилично, то чтобы не разрядить батарею, можно пока воспользоваться обычной лампочкой, которая заменит реле регулятор в пути (подробнее об этом читаем вот в этой статье).
Для простейшей проверки нам понадобится тестер, выставленный в режим вольтметра, на замер постоянного тока в пределах от 0 до 20 вольт.
Щупы тестера подключаем к полюсным штырям батареи и прежде чем заводить двигатель, запоминаем какое напряжение батареи показал вольтметр (12 — 12,8 вольт — зависит от состояния аккумулятора). Далее заводим двигатель и смотрим на показания вольтметра — напряжение на полюсных штырях батареи, после пуска двигателя должно повыситься (примерно 13 — 13,8 вольт — зависит от оборотов двигателя).
При повышении оборотов двигателя, напряжение тоже должно повышаться, например на средних оборотах оно примерно 13, 5 — 14 вольт, а на максимальных 14 — 14,5 вольт. Если после пуска двигателя, напряжение не повысилось (осталось таким, какое было до запуска мотора, примерно 12 — 12,8 вольт) то скорей всего реле регулятор неисправен.
Конечно же зарядки батареи может не быть и по другим причинам, например от неисправностей генератора, но чтобы точно убедиться, что реле неисправно, его следует снять с машины для более точной проверки, которая будет описана ниже. Еще советую почитать статью — «Устранение неисправностей генератора и реле регулятора иномарки» — статья находится вот тут.
Проверка реле регулятора снятого с машины.
Если кто то из начинающих водителей пока не знает, как снять реле регулятор с автомобиля (и заменить его) то подробно об этом читаем и смотрим вот здесь. Там же описано и про дифектовку и замену щёток генератора (ведь щётки современных генераторов объединены в один узел с интегральным реле регулятором).
Для начала опишу проверку интегрального реле регулятора более современного типа (например Я212А, подобные реле стоят не только на современных отечественных машинах, но и на многих иномарках), который объединён в один узел вместе с щёткодержателем (см. фото слева).
А раз такой реле регулятор — это и щёточный узел, то разумеется он крепится прямо на генераторе сзади, в районе контактных колец якоря генератора. Открутив два винта, удерживающих реле регулятор и сняв клеммы с него, извлекаем его из окна крышки генератора, сдуваем угольную пыль и подключаем к несложной схемке, показанной на рисунке слева.
Для проверки понадобится опять же тестер, выставленный в режим вольтметра и 12-ти вольтовая лампочка с патрончиком (например от поворотника), несколько проводов с клеммами. Так же потребуется блок питания (от 0 до 20 вольт) или зарядное устройство с регулировкой тока.
А так как некоторые зарядные устройства не являются блоками питания (то есть не вырабатывают постоянный ток без нагрузки — без подключенной батареи) то к зарядному устройству придётся подключить нагрузку — то есть подключить аккумулятор (так же как на зарядку) и уже от аккумулятора подключить провода, как на простейшей электро схеме чуть ниже.
После подключения проводов, и лампочки, как показано на схеме слева (плюс к плюсу реле, а минус к минусу), и включения зарядного устройства, лампочка загорится и после этого начинаем повышать напряжение регулятором тока на зарядном устройстве и наблюдаем за показаниями вольтметра и лампочкой (у кого нет встроенного вольтметра в зарядном устройстве, то подключаем щупы тестера, выставленного в режим вольтметра, к полюсным штырям аккумулятора).
Лампа должна гореть до показаний вольтметра вплоть до 14,5 вольт, но как только напряжение превысит 14,5 вольт (при повышении напряжения регулятором зарядного устройства), лампа должна погаснуть. Если напряжение попробовать уменьшить (меньше 14,5 вольт) то лампочка опять должна загореться.
Если не происходит всё то, что описано выше, то значит реле неисправно. Если же лапочка гаснет при достижении напряжения более 14,5 вольт (например при 14,6 — 15 вольт и выше) то такое реле тоже следует заменить, так как с ним будет постоянный перезаряд батареи, что приведёт к постоянному выкипанию воды из электролита (придётся постоянно доливать) и это ощутимо снизит ресурс батареи.
В итоге, если сэкономить немного денег на новое реле, потом придётся тратить в десятки раз больше, на новую батарею.
Аналогично проверяем интегральные реле регуляторы Я112В и им подобные так называемые «шоколадки», которые стоят на более старых отечественных машинах.
Реле подключаем для проверки, как показано на рисунке слева и также следим за показаниями вольтметра и лампочки, которая должна погаснуть при достижении напряжения на полюсных штырях батареи более 14,5 вольт.
Ну и ещё одна схема, которая позволяет проверить реле регулятор самого старого типа (маркировка 591,3702-01) , который устанавливается не на генераторе, а отдельно на кузове вазовской классики (такие же реле регуляторы многие ставят и на отечественные тяжёлые мотоциклы).
Кстати такое выносное реле регулятор удобно не только тем, что до него легко добраться, но ещё и тем, что если даже реле сгорит где то в пути, всегда можно добраться домой не разрядив аккумулятор.
Для этого к проводам, которые приходят на контакты реле 67 и 15, подключаем 12-ти вольтовую лампочку, и можно ехать дальше, не опасаясь, что батарея разрядится.
Ну, а если подключить лампочку вместо такого реле регулятора (к тем проводам, которые шли на контакты 15 и 67) и снять клемму с полюсного штыря батареи, и при этом мотор не заглохнет, значит генератор исправен.
И последнее, что хотелось бы написать. Часто виновником проблем с зарядкой батареи являются окисленные контакты (клеммы) реле регулятора (особенно контакты под маркировкой БВ, Б3, В, 61, 15 — маркировка зависит от типа реле) или проводов и их клемм, приходящих к реле, замку зажигания, генератору. Ведь окислы, грязь на клеммах, являются причиной возникновения переходного сопротивления и потери напряжения.
Иногда на слишком запущенных машинах, вместо напряжения 12,5 вольт на окисленных клеммах, вольтметром можно отметить лишь жалкие 10 — 11 вольт. Но стоит привести контакты в порядок (зачистить до блеска), и всё приходит в норму.
Следует отметить, что прежде чем проверять реле, как было описано выше, проверьте контакты реле и не только реле (и по необходимости приведите их в порядок), но как было сказано выше, особенно те контакты реле, маркировка которых описана выше.
Напряжение на контактах должно быть точно такое же как на полюсных штырях вашей аккумуляторной батареи (без потерь). Если же напряжение на контактах меньше, то следует обязательно их зачистить и возможно реле регулятор вполне исправен и причина была только лишь в окислах. После зачистки контактов, чтобы проблемы не повторились, их следует опрыснуть специальным спреем для контактов (например таким, как в этой статье), который надолго предотвратит окисление.
Ну вот вроде бы и всё. Надеюсь многие новички теперь знают, как проверить реле регулятор самостоятельно, не обращаясь к услугам авто-электрика, успехов всем.
Как проверить регулятор напряжения генератора: схема, фото
Сломался авто?
Мы все починим!
+7 (961) 014-5673
+7 (915) 732-0659
Звоните!
Большинство автовладельцев знают о важности такого узла, как регулятор величины напряжения, но мало кто понимает принцип его устройство и работы.
Стоит напомнить, что такой прибор очень важен, ведь только с его помощью происходит стабилизация напряжения на выходе генератора.
Схема корректировщиков вольтажа бывает механической и электронной. Первые модели уже устарели, в основе их работы лежит электрическое реле. К примеру контроллер напряжения отечественного автомобиля ВАЗ (в первых моделях) был именно такого типа. Схема устройства отличалась массой недостатков, а достоинство попросту не было. Такие модели нуждались в постоянной проверке и даже регулировке.
Схема реле – регулятора электронного типа работает на базе ключей, симисторов и тиристоров. Такие модели отличаются высочайшей надежностью, так как тут нет ни контактов, ни других движущихся частей. В роли силовых элементов выступают кристаллы полупроводников. Проверить контроллер напряжения такого типа очень просто, если знать его технологические особенности.
Устанавливаемые на новые генераторы, модели электронного вида, обычно крепятся на сам генератор и монтируются в одном корпусе со щетками, там же установлена и электронная схема.
Устройства способны точно регулировать вольтаж, свойства полупроводниковых элементов не меняются со временем.
Регулятор электронного типа, состоит из следующих частей:
- корпус;
- графитовые щетки;
- схема управления;
Проверить датчик напряжения можно по свету фар, которые, при его поломке, зависят от оборотов двигателя, излишней или недостаточной зарядке аккумуляторной батареи. В первом случае выкипает электролит, бывает, что в салоне даже ощущается запах горелой проводки, во втором, аккумулятор садится и двигатель не запускается.
Демонтаж узла
Если неисправно само реле, проверить его достаточно легко. Для снятия пришедшей в негодность схемы достаточно одной лишь отвертки. Разбирать сам генератор или снимать его не нужно, щетки с контроллером напряжения установлены под защитной крышкой на задней его части. Не придется даже послаблять привод генератора.
Порядок снятия регулятора напряжения:
- Отсоедините аккумуляторную батарею.

- Отключите разъем регулятора.
- Открутите болты, крепящие устройства к генератору.
- Вытащите деталь.
Проверка работоспособности
Чтобы проверить деталь, изначально осмотрите его графитовые щетки, если они меньше чем 0,5 см, запасную часть нужно заменить. Пытаться припаять щетки собственноручно – означает поставить под угрозу надежность собственного автомобиля.
Для проверки регулятора нам понадобится источник питания, который может менять выходной вольтаж в диапазоне 10 — 18 В. Нужна также и лампочка. Мощностью в 2 — 3 Вт и напругой 12 В (можно заменить мультиметром). Схема подключения следующая: Плюс от блока питания подается на разъем в корпусе регулятора (обычно он единственный), отрицательный провод на корпус детали.
Лампочку подключают между двух щеток. Когда вольтаж источника питания составляет 12 В, лампочка должна светиться. Медленно добавляйте мощность блока питания и если модуль рабочий, то, как только вольтаж станет 15 В, лампочка должна погаснуть.
Если же она не светится ни при каком значении или светится постоянно, деталь нужно менять. Также, если лампочка гаснет, например, при 13 В, узел будет обеспечивать недостаточный вольтаж и его можно считать нерабочим.
Вместо лампочки можно воспользоваться и мультиметром (прибор для измерения электрических параметров). Но работать с мультиметром цифрового типа не так удобно, его скорость срабатывания меньше нежели у обычной лампочки накаливания.
Как проверить реле-регулятор генератора — Информация
Чтобы проверить реле-регулятор генератора на работоспособность, существует несколько простых методик. Сделать это можно, даже не снимая деталь со своего штатного места. Однако следует понимать, что такая проверка реле-регулятора будет крайне приблизительной, а в случае выявления неисправности – «виноватым» может оказаться и вовсе не он. Поэтому, чтобы проверить его на все 100%, демонтаж неизбежен. Благо, выполняется эта операция очень легко практически на всех автомобилях.
Перед тем, как проверять реле-регулятор напряжения, стоит хотя бы в общих чертах понять, как он работает. Углубляться в электронику, при этом, не нужно. Это может понадобиться, разве что, если вы захотите заняться доработкой или переделкой реле-регулятора с целью его настройки на какое-либо другое напряжение (как правило, это делается, чтобы повысить напряжение бортовой сети).
Чтобы не рассматривать принцип работы реле-регулятора «на пальцах», воспользуемся простой схемой, которая в полной мере позволяет описать всю работу системы зарядки автомобиля.
На данной схеме имеются следующие элементы:
- Генератор с реле-регулятором напряжения.
- Контрольная лампа зарядки АКБ.
- Сопротивление.
- Реле-регулятор напряжения.
- Ротор генератора.
- Замок зажигания.
- Обмотки статора генератора.
- Выпрямительный диодный мост.

- Сглаживающий конденсатор.
- АКБ.
Все вместе работает это следующим образом. Когда водитель поворачивает ключ в положение «зажигание», ток от АКБ 10 идет через замок 6, контрольную лампу 2 и приходит на реле-регулятор на контакт В. Генератор, соответственно, не работает пока что, и ничего не генерирует. Однако его якорь уже получает небольшой ток для возбуждения его обмоток. Ток этот небольшой.
Сопротивление 3 нужно для того, чтобы в случае перегорания контрольной лампы ток с АКБ смог пройти через замок зажигания к реле-регулятору, и обеспечить начальное возбуждение обмотки якоря генератора.
После запуска двигателя ротор генератора 5 начинает вращаться. На обмотках статора 7 генерируется электрический ток, так как якорь у нас уже возбужден. Выработанный генератором ток изначально переменный. Чтобы выпрямить его, используется мост из диодов 8. Ну и, уже выпрямленное напряжение поступает на АКБ и далее в бортовую сеть автомобиля.
Так вот, если бы здесь не было реле-регулятора, то выходное напряжение генератора полностью зависело бы от того, с какой скоростью он вращается. А поскольку он напрямую соединен с коленчатым валом, скорость эта меняется почти постоянно. С помощью же реле-регулятора получается поддерживать выходное напряжение генератора на постоянном уровне независимо от того, как быстро вращается его якорь.
Регулировка эта осуществляется путем периодического отключения питания обмоток ротора генератора. То есть, реле-регулятор «мониторит» напряжение на выходе из генератора (вывод Б), и когда оно достигает нужных 14-14.5В, возбуждение якоря прекращается. Естественно, напряжение на выходе генератора тут же падает, реле-регулятор это «видит», и возобновляет питание якоря. И так по циклу. Происходит это все дело очень и очень быстро.
Как проверить реле-регулятор на машинеКак уже было отмечено выше – проверка реле-регулятора прямо на автомобиле не дает нужной точности.
Однако первичные признаки выхода из строя или нарушения нормальной работы этого узла, все же, можно выявить, не снимая его с генератора. Все, что для этого нужно – это вольтметр. В его роли может выступать как бортовой вольтметр, так и отдельно взятый прибор, например, дешевый китайский мультиметр, который сегодня на каждом углу можно купить буквально за пару долларов.
Проверяется реле-регулятор следующим образом. До запуска двигателя на клеммах аккумуляторной батареи присутствует близкое к номинальному напряжение. Если машина постояла некоторое время без дела, то вольтметр может показывать от 12В до 12,7В. Если же вы только-только заглушили двигатель, напряжение может достигать порядка 13,5В.
Далее включается зажигание. Контрольная лампа (с рисунком АКБ) на панели приборов должна засветиться, а напряжение на вольтметре – немного просесть. Это норма. Работает бензиновый насос, а также идет небольшой ток на предварительное возбуждение обмотки якоря генератора.
Запускаем двигатель.
Контрольная лампа гаснет, а напряжение сразу же после выхода мотора на стабильные обороты должно установиться в пределах 14-14,5В. Далее, независимо от того, добавляем ли мы обороты, или нет – напряжение бортовой сети реле-регулятор должен поддерживать на стабильном уровне. Просадки допускаются только в случае включения серьезной нагрузки – фар, печки, музыки и прочего.
Если при повороте ключа зажигания контрольная лампа не горит, значит она перегорела. Тем не менее, если все остальное исправно – двигатель запустится, а генератор с реле-регулятором будет работать в штатном режиме.
Если после запуска двигателя контрольная лампа не гаснет – значит на контакт Б в схеме выше не идет ток с выхода генератора. Реле-регулятор в данном случае исправен – он таким способом сигнализирует, что зарядка АКБ не происходит. Более того, вся бортовая сеть питается от батареи, что чревато ее глубоким разрядом где-то в дороге.
Если напряжение на вольтметре после запуска двигателя не поднялось до указанных 14-14.
5В, — это указывает на то, что, либо реле-регулятор, либо генератор – не работают. Кто именно из них – без разборки узла сказать нельзя. Мы же пока допустим, что напряжение не выходит на рабочий режим из-за реле-регулятора. Происходит это потому, что в нем произошел обрыв или выгорание элементов, а из-за этого не выполняется возбуждение якоря генератора. Последний, в свою очередь, может быть полностью исправным, но генерировать электроэнергию без якоря он не может.
Бывает и обратная ситуация – напряжение бортовой сети значительно превышает норму. Это, пожалуй, самая опасная поломка реле-регулятора, в результате которой может и аккумулятор закипеть (и даже взорваться, если повышенное напряжение не заметить сразу), и приборы погорят. Однако без демонтажа и проверки описанными далее способами определить – виноват ли в этом всем именно реле-регулятор – нельзя.
В общем и целом, чтобы проверить реле-регулятор прямо на машине, не снимая – нужен только вольтметр. Однако следует учитывать, что такая проверка не обязательно укажет на то, что сломался регулятор.
Схожие симптомы могут наблюдаться и при пробое выпрямительных диодов, и при других проблемах, не относящихся к реле-регулятору.
Чтобы полноценно проверить реле-регулятор напряжения и полностью убедиться в его исправности или наоборот, понадобится:
- Источник питания с возможностью регулировки напряжения в диапазоне от 12В до 15В. Некоторые зарядные устройства для АКБ обладают этой регулировкой. Если же никаких регулируемых источников питания в распоряжении нет, то ниже описан способ, как проверить реле-регулятор без этого прибора.
- Контрольная лампа, которая будет имитировать ту, что на приборной панели.
- Вторая контрольная лампа.
- Вольтметр. Не нужен, если источник напряжения имеет встроенный вольтметр, позволяющий определять напряжение с точностью хотя бы до десятых вольта.
Если все это есть, то подключаем снятый с машины реле-регулятор следующим образом.
К щеткам при помощи зажимов цепляется вторая контрольная лампа. Можно заменить ее точным и быстрым вольтметром (продвинутые дорогие мультиметры для этой цели не годятся, так как они долго обновляют свои показания)
Далее к выводу, который на схеме обозначен буквой В, подключаем первую контрольную лампу и цепляем ее на «плюс» нашего источника питания. К контакту Б напрямую подключаем «плюс» источника питания. На источнике питания устанавливаем напряжение около 12 вольт. Наконец, «минус» источника питания подсоединяем к «массе» реле-регулятора.
В таком положении обе контрольные лампы должны светиться. Если нет – реле-регулятор неисправен. Скорее всего, в его схеме произошел обрыв или перегорели какие-нибудь радиодетали на его плате.
Если, все же, контрольные лампы светятся, начинаем плавно добавлять напряжение на регулируемом источнике питания. Когда напряжение начнет подниматься, контрольная лампа, имитирующая ту, что на панели приборов, должна погаснуть. Вторая же, которая «висит» на щетках – должна светиться до тех пор, пока входное напряжение не достигнет верхнего порога регулировки, то есть, 14-14,5 вольт в зависимости от типа и модели реле-регулятора.
Если же контрольная лампа (на щетках) не гаснет, а продолжает светиться при напряжении, превышающем 14.5-15.0 вольт – реле-регулятор неисправен. А называется такая неисправность – пробой. И именно она является самой опасной, так как приводит к повышению напряжения бортовой сети, кипению АКБ и перегоранию электроприборов автомобиля.
Как раз пробой реле-регулятора возможно выявить исключительно проверкой в снятом виде. В противном случае невозможно будет исключить другие варианты поломки, имеющие аналогичные симптомы. Например, в случае обрыва выпрямительного диода реле-регулятор будет «введен в заблуждение». Его схема будет «видеть» резкую просадку напряжения на выходе генератора, и в силу своего «призвания» будет пытаться исправить эту просадку, повышая питание обмотки якоря. А это, как можно понять из описанного выше принципа работы реле-регулятора, приведет к повышению напряжения, генерируемого генератором.
Если для проверки реле-регулятора имеется в распоряжении регулируемый блок питания (с более или менее плавной регулировкой), то можно заодно проверить, какое именно напряжение будет поддерживаться в бортовой сети.
Чтобы узнать этот самый порог срабатывания реле, достаточно измерить напряжение, при котором гаснет контрольная лампа на щетках.
Сделать это можно и по прибору на блоке питания. Но гораздо более точные результаты возможно получить, если параллельно контрольной лампе к щеткам подсоединить тот самый быстрый и точный мультиметр. Быстрый он нужен как раз для того, чтобы не прозевать момент, когда лампа будет гаснуть, и успеть зафиксировать напряжение срабатывания реле.
Эта проверка реле-регулятора генератора используется умельцами при его доработке. Например, с помощью диода, который добавляется в разрыв цепи на контакте Б (схема выше). На диоде падает немного напряжения. Реле-регулятор «вводится в заблуждение», и добавляет на питание якоря генератора ровно столько же, сколько было потеряно на диоде. Соответственно, сделав такую доработку, можно отдельно от машины проверить, какое в итоге напряжение будет в нашей бортовой сети. Повторим – оно будет ровно таким, при каком гаснет контрольная лампа, подключенная к щеткам реле-регулятора.
Проверка реле-регулятора без регулируемого источника питанияСуществуют и более сложные в исполнении способы доработки реле-регулятора, результат которых тоже можно проверить описанным способом. Но для них нужны уже некоторые знания в области электроники, а также умение аккуратно раскурочить принципиально неразборный корпус реле-регулятора.
Как и было обещано выше, рассказываем способ, как проверить реле-регулятор генератора, если регулируемого источника питания нет в наличии. Забегая немного наперед, отметим, что этот метод не обладает такой высокой точностью, как предыдущий. Однако выявить основные две неисправности реле-регулятора – пробой или обрыв – он вполне позволяет.
Для реализации этого способа потребуется обычная автомобильная аккумуляторная батарея и две пальчиковые батарейки. Что АКБ, что пальчики – должны быть заряжены, иначе ничего не получится. Идея проверки заключается в следующем. Напряжение, которое выдает сама аккумуляторная батарея, находится в пределах 12-12.
7 вольт. Если же взять две новых пальчиковых батарейки, соединить их последовательно между собой, то можно получить источник питания номиналом 3 вольта.
Именно такое напряжение нам и нужно, потому использовать пальчиковые аккумуляторы или популярные сегодня элементы 18650 – нельзя. У первых напряжение 1.2 вольта, а у вторых вообще – 3.7 вольта.
Проверка же заключается в следующем. Сначала мы подключаем все по описанной выше схеме, но вместо регулируемого источника питания используем нашу АКБ. Мы знаем ее напряжение, которое, к тому же, никто не запрещает дополнительно измерить мультиметром. Соответственно, если мы подключим наше реле только к АКБ, то контрольная лампа, имитирующая ту, что находится в панели приборов автомобиля, будет гореть. Основная контрольная лампа, которую мы цепляем на щетки – будет светиться слабым накалом. Это признаки исправного реле-регулятора на данном этапе.
Далее наша задача – подать на нашу схему сумму напряжений АКБ и двух, соединенных последовательно, пальчиковых батареек.
По итогу у нас должен получиться общий источник питания с напряжением более 15 вольт (3 вольта – батарейки, остальное – АКБ). В итоге, если мы подадим такое напряжение на нашу схему, то обе контрольные лампы должны погаснуть. Если же основная, которая на щетках, лампа – не гаснет, то это указывает на пробой реле-регулятора со всеми вытекающими последствиями.
Главное отличие так называемого реле-регулятора «нового» образца заключается в том, что помимо основного вывода, в нем имеется дополнительный. Первый вывод всегда подключается к выходу диодного моста, и предназначен для «мониторинга» выпрямленного, то есть постоянного напряжения, выдаваемого генератором. Второй же вывод, если на вашем реле-регуляторе напряжения он есть, подключается напрямую к обмоткам статора, минуя диодный мост.
Это все означает, что посредством данного второго вывода реле-регулятор контролирует не только напряжение бортовой сети, но и переменное напряжение, вырабатываемое непосредственно генератором.
В итоге, проверить такой реле-регулятор описанными выше способами не представляется возможным, поскольку без подачи переменного низковольтного напряжения на описанный второй вывод ничего работать не будет.
Отсюда следует задача – найти способ, как имитировать без генератора это самое переменное напряжение, чтобы подать его на соответствующий вывод и проверить работоспособность реле-регулятора. Сделать это весьма несложно. Для начала собирается все по схеме, как описано выше – реле-регулятор подключается к регулируемому источнику постоянного напряжения, а также цепляются к соответствующим выводам контрольные лампочки.
На тот же вывод, на котором реле-регулятор «мониторит» переменку, вполне можно подать обычное постоянное напряжение, превратив его в подобие переменного механическим путем. То есть, нужно изготовить приспособление, при помощи которого можно будет прерывать постоянный ток. Чтобы сделать это, сгодится, например, саморез и какая-нибудь токопроводящая гибкая пластина.
На последнюю мы подаем «плюс» нашего регулируемого источника питания, а к саморезу подключаем тот самый второй вывод, который «мониторит» переменку генератора.
Далее, включив питание, путем быстрых касаний и отрывов пластины от самореза мы можем имитировать переменный ток. Несмотря на то, что этот ток будет не совсем переменным (знак у него всегда будет «плюсовой»), реле-регулятор будет на него адекватно реагировать, и покажет свою работоспособность, либо же обрыв или пробой.
Чтобы было понятнее, кратко опишем весь алгоритм проверки реле-регулятора такого образца:
- «Минус» источника питания подключаем к «массе» реле-регулятора. Найти ее можно на корпусе в виде металлической площадки возле ушек, которыми устройство крепится к генератору.
- К управляющему контакту реле-регулятора подается «плюс» источника питания через имитацию контрольной лампы из панели приборов.
- К основному выводу реле-регулятора напрямую подключаем «плюс» регулируемого источника питания.

- Ко второму выводу подключаем собранное приспособление для имитации переменного (на самом деле прерывчатого) тока.
- На щетки цепляем вторую контрольную лампу. Также параллельно ей можно подсоединить мультиметр в режиме измерения постоянного напряжения.
- Далее все по той же методике. Установив напряжение на уровне номинального для АКБ (12-12.7 вольт), имитируя переменный ток, смотрим на контрольные лампы. Та, которая «панельная» должна светиться в полный накал, а та, которая на щетках – в половину накала.
- Повышаем напряжение на источнике питания и одновременно имитируем переменный ток на нашем приспособлении. Контрольная лампа, которая имитирует панельную, должна погаснуть. Основная контрольная лампа, навешенная на щетки, должна светиться на полную мощность.
- Повышаем напряжение источника питания до порогового уровня – 14-14.5 вольт – не забываем имитировать переменный ток, и дожидаемся момента, когда основная контрольная лампа погаснет.
Отмечаем напряжение, при котором произошло срабатывание реле и сверяем его с желаемым.
Выводы о неисправности или работоспособности реле-регулятора с двумя выводами делаются аналогично. Если при выполнении шага 6 контрольная лампа на щетках светится в полный накал – то возможен пробой в схеме реле-регулятора. Если не светится вообще – возможен обрыв. Нормальный показатель – свечение в половину накала.
Если при повышении напряжения (шаг 7) лампа, которая у нас имитирует панельную, не гаснет – значит либо напряжение еще слишком маленькое, либо есть неисправность в схеме реле-регулятора. Если же основная лампа на щетках не горит или светится в половину накала – то же самое. Либо напряжение еще слишком маленькое, либо есть неисправность внутри схемы. Если же напряжение уже перешло 13.0 вольт, а лампа на щетках продолжает светиться в половину накала, это может означать, что недостаточно достоверно имитируется переменка. Как правило, соединять и разрывать цепь в описанном выше приспособлении нужно очень быстро.
И последнее. Если вы продолжаете повышать напряжение, но реле-регулятор не срабатывает (лампа на щетках никак не гаснет), то это свидетельствует о пробое. Как правило, все модели так называемого нового образца с двумя выводами, рассчитаны на срабатывание при 14.5 вольтах. В некоторых автомобилях, однако, допускается бортовое напряжение до 14.8 вольт. Потому, прежде, чем отбраковывать вполне исправный регулятор, узнайте, на какое точно напряжение регулировки он рассчитан. Если реле не является дешевой подделкой, то истинное напряжение регулировки всегда указывается на его корпусе.
Краткий итогПо итогу всего вышесказанного можно сделать два следующих вывода. Во-первых, реле-регулятор предварительно можно проверить, не снимая с машины. Однако в случае какой-либо неисправности невозможно будет определить – виноват ли в этом регулятор, или это в самом генераторе что-то перегорело. Во-вторых, проверить реле-регулятор в снятом виде можно несколькими способами.
Выбор методики зависит от модели устройства, а также от того, есть ли в вашем распоряжении источник питания с возможностью плавно и точно регулировать напряжение.
Как проверить и ремонт реле регулятора генератора
Приветствую. Сегодня хочу добавить статью с другого ресурса о проверке реле регулятора автомобиля ВАЗ. Реле регулятор отечественного автомобиля штука капризная, при выходе из строя оно способно перезаряжать или наоборот, недодавать зарядки вашему аккумулятору. Эта запчасть контролирует напряжение бортовой сети с помощью изменения тока обмотки возбуждения генератора. Если есть подозрения на неисправность генератора, прежде всего, необходимо определить работоспособность реле-регулятора, возможно дело будет в нем. Сегодня мы коротка расскажем, как проверить реле регулятор ВАЗ!
Для более наглядного теста, для проверки взято заведомо неисправное реле регулятор от ВАЗ 2101. Поддерживать рабочее напряжение такое реле должно в пределах 14-14,4 В.
Как проверить реле регулятор ВАЗ?
Для начала необходимо подключить реле регулятор согласно схеме к регулируемому источнику питания. Контрольная лампочка не должна быть слишком мощной, это может вызвать выход реле из строя. В нашем случае контрольной лампочкой станет светодиодная лента.
Затем, постепенно добавляя напряжение, необходимо добиться момента срабатывания реле. В этот момент контрольная лампочка погаснет, это и будет необходимая контрольная точка.
Напряжение: 10.1 В. Контрольная лампочка горит, все в пределах нормы.
Напряжение: 12.1 В. Контрольная лампочка горит, все в пределах нормы.
Напряжение: 14.4 В. Контрольная лампочка все еще горит, а должна уже по идее потухнуть. Будем искать дальше точку срабатывания реле.
Напряжение: 15.4 В. Контрольная лампочка продолжает гореть.
Напряжение 17.1 В. Контрольная лампочка горит, но уже очень тускло.
Как видно из теста это реле сильно завышает рабочее напряжение, его лучше сразу заменить.
Нормальный же режим работы реле находиться в пределах 14-14,4 В.
Ремонт реле регулятора генератора
Разобрать реле регулятор ВАЗ совсем несложно, для этого необходимо снять пластиковую крышку корпуса, которая крепиться защелками. Далее необходимо открутить два винта прижимающих транзистор и отпаять клеммы от выводов 67 и 15.
Важно! При снятии платы необходимо проследить за изолирующей подложкой транзистора и постараться ее не потерять. Без нее включать реле в работу нельзя.
Плата и расположение на ней радиоэлементов старых образцов реле регулятора немного отличается от новых, но сама схема не изменилась.
Проверку элементов необходимо начинать в зависимости от симптоматики неисправности.
Если реле хоть как-то работает, завышает или занижает напряжение, тогда скорей всего транзисторы целы. Их можно проверять в последнюю очередь. Первым проверяют номинал резисторов R1-R3 и стабилитрон с диодом D1;D4.
Внимание! Номинал резистора R3 может отличаться от указанного в схеме.
На тестируемом реле сопротивление R3 составило 4,7 кОм. Его необходимо определить по цветовой или другой маркировке и проверить сопротивление вручную
Если реле вообще не включается, позваниваем предохранитель F1, диоды D2;D3 и все транзисторы в первую очередь. При проверке транзисторов их необходимо не забыть выпаять со схемы.
Для наглядности и удобства все компоненты со схемы обозначены на плате. Зачастую вся плата покрыта слоем защитного лака, это надо учесть и смыть его в местах подключения щупов.
В данном случае виновником стал стабилитрон D3 — 2С147А. Он был заменен на его полный аналог КС147А.
Для хорошей точности можно провести тест с мультиметром, после того, как полностью окончен ремонт реле регулятора генератора.
Напряжение 13,05В. Контрольная лампочка светит ярко. Все впорядке.
Напряжение 14,15В. Контрольная лампочка уже светит очень тускло. Реле начинает ограничивать ток.
Напряжение 14,4В. Контрольная лампочка полностью потухла.
Реле полностью ограничило ток.
Как видно из данного теста реле после ремонта прекрасно справляется со своими задачами, а режим работы как раз входит в диапазон 14 – 14,4 В
Подписывайтесь на обновления в Вконтакте и Однокласниках, что бы не пропустить новые материалы, или же подпишитесь на рассылку по электронной почте в колонке справа
Эта статья на Diodnik, вот ссылка http://diodnik.com/kak-proverit-rele-regulyator-generatora/
С ув. Эдуард
Как проверить реле-регулятор на тракторе?
Категория:
Эксплуатация тракторов сельскохозяйственного назначения
Публикация:
Как проверить реле-регулятор на тракторе?
Читать далее:
Как проверить реле-регулятор на тракторе?
Для проверки необходимо иметь вольтметр постоянного тока со шкалой до 30 В. Проверку проводят при включенной аккумуляторной батарее, которая должна быть заряжена.
Вольтметр включается между клеммой «В» реле-регулятора и «Массой», как показано на рисунке 1.
Вначале запустить двигатель и установить номинальные обороты, прогреть его в течение 10— 20 мин, затем, включив все фары, надо замерить регулируемое напряжение. Регулируемое напряжение должно находиться в пределах 13,2—14 В при установке ППР в положение «Лето» и 14,0— 15,2 В при установке ППР в положение «Зима». Если замеренное напряжение не укладывается в указанные пределы, регулируют реле-регулятор, Регулировка заключается в увеличении натяжения пружины регулятора, если надо повысить напряжение,— и в ослаблении натяжения пружины при необходимости снизить напрял<ение. Для регулировки следует пользоваться плоскогубцами с тонкими губками.и регулировочной вилкой, в прорезь которой должен входить угольник крепления пружины.
Рекламные предложения на основе ваших интересов:
Рис. 1. Схема проверки регулятора напряжения на стенде (на тракторе):
Л — нагрузочный реостат; Р,, Р2 — выключатель; А — амперметр; V — вольтметр
При регулировке следует помнить, что электромагнитное реле, в том числе и пружина, находится под напряжением относительно корпуса реле-регулятора, и случайное касание корпуса регулировочной вилкой вызовет короткое замыкание, которое может привести к выходу из строя реле-регулятора.
Рекламные предложения:
Читать далее: Как проверить реле-регулятор на стенде?
Категория: — Эксплуатация тракторов сельскохозяйственного назначения
Главная → Справочник → Статьи → Форум
Как проверить релейный выключатель холодильника
Холодильнику нужен компрессор для поддержания холода внутри. Термостат внутри холодильника сообщает компрессору, когда включать и выключать, чтобы поддерживать безопасный уровень охлаждения. Когда температура внутри холодильника выше. чем текущая настройка термостата, термостат посылает электрический сигнал на релейный переключатель для запуска компрессора. Если температура внутри устройства начинает повышаться и вы слышите щелкающий звук, идущий под холодильником, это может быть неисправностью реле реле компрессора.Проверьте реле холодильника, чтобы определить, требуется ли замена. Снимите холодильник со стены, чтобы он вошел в заднюю часть устройства.
Отсоедините шнур питания холодильника от розетки. Выключите подачу воды в льдогенератор и удалите воду. трубу подачи от водяного клапана с помощью разводного гаечного ключа. Вставьте конец линии подачи в контейнер, чтобы собрать всю воду в линии. Отвинтите соединитель, который удерживает панель доступа к задней части нижней части холодильника.Снимите панель доступа с устройства. Вдоль провода на стороне компрессора найдите металлическую распределительную коробку, подключенную к обеим сторонам компрессора холодильника. Возьмитесь за крышку клеммной коробки пальцем и отсоедините ее от коробки, чтобы получить доступ к релейному переключателю. .Отсоедините разъем шины от штыревой клеммы сбоку релейного переключателя. Захватите реле пальцами. Вытащите его из распределительной коробки и отсоедините две главные клеммы от неподвижных штыревых клемм внутри коробки. на медной обмотке.Используйте щетку, чтобы удалить видимую коррозию. Поместите реле в положение двух гнездовых выводов на рабочей поверхности так, чтобы гнездовой вывод был направлен вниз сбоку.
Если реле реле вашего холодильника изготовлено из твердотельного пластика без меди обмотки, это считается твердотельным реле. Проверьте это, встряхнув твердотельное реле. Если это звучит так, как будто внутри что-то звонит, реле повреждено и требует замены. Продолжайте проверку реле с медной обмоткой. Неисправность. любой из следующих тестов указывает на то, что реле неисправно и требует замены.Установите шкалу на мультиметре на «Ом x1». Вставьте два щупа на мультиметре в две главные клеммы на реле. На цифровом мультиметре должно отображаться ноль, или стрелка должна проходить по поверхности монитора. и быть нулем в крайнем правом углу аналогового мультиметра. Переверните реле и оставьте датчик в реле. Стрелка должна быть перемещена в крайнее левое положение аналогового мультиметра, «1» цифрового измерителя ». Поверните реле обратно в исходное положение. Оставьте красный датчик на клемме-розетке слева.Прикоснитесь к штыревому выводу черным щупом. На дисплее цифрового мультиметра должен быть показан ноль, или стрелка аналогового мультиметра должна быть повернута к нулю.
Переверните реле, чтобы сохранить положение щупа. Стрелка должна быть перемещена в сторону нуля. далеко слева от аналогового мультиметра, и на дисплее цифрового измерителя должна появиться цифра «1». Верните реле в исходное положение. Вставьте красный щуп в гнездо справа. Дайте черному щупу коснуться штыревого вывода. Стрелка аналогового мультиметра должна быть подведена к правому краю дисплея, на цифровом дисплее должен появиться «0».Снова поверните реле с датчиком на месте. Цифровой измеритель должен показать «0», а аналоговый измеритель должен быть отсканирован в крайнее левое положение.Как проверить реле
Вы сделали это! Вперед!
Получите помощь в тестировании реле от механика по JustAnswer
Drive распознает, что, хотя наши практические руководства подробны и легко выполняются, ржавый болт, компонент двигателя не в правильном положении или утечка масла повсюду могут сорвать проект. Вот почему мы сотрудничаем с JustAnswer, который связывает вас с сертифицированными механиками по всему миру, чтобы помочь вам справиться даже с самыми сложными задачами.
Итак, если у вас есть вопрос или вы застряли, нажмите здесь и поговорите с ближайшим к вам механиком.
Pro Советы по тестированию реле
Здесь, в The Drive , мы тестировали изрядное количество реле на протяжении многих лет и пришли к выводу, что самый простой метод является лучшим. Тем не менее, вот несколько полезных советов от нас, профессионалов.
- Послушайте, мы все хотим быть героями, которые могут легко справиться с любой автомобильной задачей, но иногда лучше прибегнуть к руководству.Возьмите руководство по обслуживанию своего автомобиля практически в любом магазине автозапчастей и регулярно проверяйте его.
- Если сомневаетесь, выбросьте. Если вы не уверены в функциональности или состоянии реле, просто замените его. Хотя некоторые типы реле могут быть дорогими, они обычно доступны по цене, и лучше перестраховаться.
- Заблаговременно соберите все свои инструменты. Повара и повара называют этот процесс «mise en place» или все на своем месте, и он помогает вам сосредоточиться на текущей задаче без необходимости искать инструменты.

- Если у вас нет омметра или контрольной лампы, вы не сможете проверять реле. Вы можете просто заменить их, но это будет игра в догадки о том, неисправно реле или нет, без предварительной проверки.
Часто задаваемые вопросы о тестировании реле
У вас есть вопросы, Информационная группа Drive имеет на них ответы!
Что произойдет, если я просто проигнорирую потенциальную проблему?
Игнорирование неисправного реле или включение любого старого реле, которое подходит, может привести к большим проблемам под вашим капотом.Если реле неисправно или если установлено неправильное реле, вы можете поджечь провода и потенциально вызвать пожар под капотом. Не очень хорошо смотреть на 80 миль в час на шоссе.
Могу ли я проверить реле без омметра или контрольной лампы?
Нет. Если вы уверены, что с реле возникла проблема, и у вас нет инструментов для тестирования, у вас есть два варианта. Вы можете быть осторожны и просто заменить реле, что является наиболее простым путем, или вы можете заплатить механику, который проведет тестирование и замену реле за вас.
Что делать, если реле моего автомобиля спрятаны или их очень трудно найти?
Большинство реле следует размещать в местах, к которым можно легко получить доступ, но если есть одно, в котором вы не уверены, лучше всего обратиться к профессионалу. Слепое копание под капюшоном может повредить хорошие реле и при этом сильно повредить ваши суставы.
Почему вы постоянно говорите мне прочитать руководства по ремонту? Разве
The Drive не должно быть авторитетом в подобных вещах?Прокачать тормоза.Мы рекомендуем вам обратиться к руководству по ремонту для конкретного автомобиля, чтобы найти правильное реле, заменить его на нужное реле и убедиться, что вы понимаете, на что смотрите. Все марки и модели разные, и даже одна и та же модель может сильно отличаться от года к году, поэтому лучше иметь руководство для вашего конкретного автомобиля, чтобы заполнить пробелы, которые, возможно, пропустили супер-мозги в The Drive .
У всех автомобилей есть реле?
Учитывая количество электронных устройств и систем в современных автомобилях, можно с уверенностью сказать, что почти все новые автомобили имеют реле.
Сколько стоит проверка реле?
Самая дорогая часть проверки и замены реле в вашем автомобиле — это само реле. В зависимости от того, что он контролирует, реле может стоить от 5 до нескольких сотен долларов.
Омметрыможно приобрести менее чем за 20 долларов США, и они бывают разных исполнений. Испытательные лампы с высоким импедансом немного дороже и обычно стоят от 20 до 40 долларов, но если вы потратите больше, это не обязательно приведет к получению лучшего продукта.
Наконец, перемычки дешевы, их цена варьируется от 2 до 50 долларов в зависимости от длины провода.
Поиск и устранение неисправностей регулятора напряжения генератораDelco-Remy
by Ryan Hotchkiss
Creatas Images / Creatas / Getty Images
До появления генераторов переменного тока генераторы использовались для подзарядки батарей и выработки тока для электрических систем в транспортных средствах и тяжелых и сельхозтехника. Точно так же, как электрические системы, питаемые от генератора, 6-вольтовые системы требуют регулятора напряжения, чтобы предотвратить сгорание лампочек аккумулятора и генератора, перегорания предохранителей и расплавления электрической системы.
Проверить генератор и регулятор на 6-вольтовой электросети несложно. Все тесты проводятся от аккумуляторной батареи. Многие тесты проводятся от аккумулятора.
Проверка генератора и регулятора
Шаг 1
Подключите положительный датчик мультиметра к положительной клемме аккумуляторной батареи, а отрицательный к отрицательной клемме при выключенном двигателе. Мультиметр должен показывать более 6 вольт на несколько десятых; От 6,4 до 6,8 указывает на здоровую батарею.Если выходное напряжение батареи меньше 6 вольт, зарядите батарею и проверьте ее снова. Если плохой выходной сигнал сохраняется, замените аккумулятор.
Шаг 2
Попросите вашего помощника запустить двигатель. Дисплей мультиметра должен увеличиться до 6,8–7,4 вольт, если генератор работает нормально на холостом ходу. Если нет увеличения напряжения, значит, щетки генератора неисправны или не контактируют с внутренней стороной стенки генератора. В этом случае восстановите или замените генератор.
Попросите вашего помощника медленно увеличить обороты двигателя, чтобы увеличить обороты двигателя. Мультиметр должен показывать устойчивый рост напряжения, а затем остановиться на отметке 7,8 или 8 вольт. Если это происходит, регулятор работает нормально. Если напряжение продолжает подниматься выше отметки 8,2, регулятор выходит из строя. В этом случае устраните неисправность регулятора.
Устранение неисправностей реле выключателя регулятора
Шаг 1
Отсоедините аккумулятор сначала от отрицательной клеммы, затем от положительной.После нескольких сотен часов работы точки соприкосновения нарушились. Это может привести к тому, что регулятор не сможет управлять текущим напряжением. Чтобы устранить эту проблему, запишите контактные точки на регуляторе. Сначала снимите положительный и отрицательный провода с якоря, ослабив винты на монтажном кронштейне, расположенном сбоку от регулятора, затем отсоедините провода от якоря. Удалите коррозию с арматуры. Подсоедините положительный и отрицательный провода к якорю и замените кронштейн и крепежные винты.
Проверить регулятор.
Шаг 2
Проверьте воздушный зазор, нажав пальцами на рычаг якоря, расположенный сверху и сбоку от обмотки шунта. Убедитесь, что все точки контакта обмотки касаются нижней части рычага одновременно при нажатии. Если нет, согните якорь рядом с установочным винтом, пока он не замкнет все контакты одновременно, когда вы надавите на него.
Шаг 3
Отрегулируйте зазор на регуляторе, слегка согнув верхний упор якоря — не более чем на 1/16 дюйма.Это выступ, расположенный сбоку от обрамления средней обмотки. Он прижимается к верхней части каркаса обмотки шунта. Согните его, вставив отвертку с плоским жалом между ним и рамкой шунтирующей обмотки.
Подключите аккумулятор. Сначала положительный вывод, затем отрицательный. Проверьте напряжение замыкания — точку, в которой регулятор останавливает повышение напряжения, поступающего в цепь. Для этого заземлите отрицательный щуп мультиметра, прикоснувшись к раме автомобиля, затем прикоснитесь к плюсовому щупу к клемме генератора, помеченной «GEN».
Попросите помощника запустить двигатель и проверить показания мультиметра. Когда упор якоря соприкасается с точками контакта, показания мультиметра показывают напряжение замыкания. Чтобы отрегулировать напряжение замыкания, поверните регулировочный винт для увеличения по часовой стрелке или против часовой стрелки для уменьшения натяжения якоря. Чем больше натяжение, тем большее напряжение требуется для прижатия якоря к точкам контакта. Установите напряжение включения между 7,8 В и 8,2.
Ссылки
Вещи, которые вам понадобятся
- Мультиметр
- Отвертка с плоским жалом
- Assistant
- Напильник Riffler
Другие статьи
Как проверить регулятор реле-генератора 2402.3702. Проверка катушки реле
Для многих автовладельцев реле оказывается очень непонятной вещью. Выход из строя различного оборудования может зависеть от его неисправности, поэтому необходимо знать, как проверить работу реле.
Чтобы понять принцип работы данного устройства, стоит прочитать очень подробную статью.
Вкратце: внутри корпуса реле установлен небольшой электромагнит. При подаче напряжения на его контакты он притягивает перемычку, и замыкает контакты линии питания — оборудование включается.Исходя из этого, в реле есть определенные неисправности, которые могут привести к его выходу из строя.
При устранении неисправностей любого оборудования нужно проверить, работает ли оно. В современных автомобилях реле устанавливают в монтажные блоки, так что это будет отталкивать. Если у вас «автономное» реле, принципы тестирования такие же.
Проверить наличие питания на управляющих контактах
При наступлении определенных условий, необходимых для включения оборудования, питаемого через реле (например, включение фар из салона), реле должно щелкнуть.Если есть щелчок, то сразу переходите к следующему разделу статьи про силовые контакты. Если щелчка нет, нужно проверить наличие напряжения на управляющих контактах. Определить наличие напряжения можно с помощью обычной контрольной лампы или мультиметра.
Более того, мультиметр способен показывать низкое напряжение, которое лампочка «не заметит».
Для измерения напряжения на контакте реле в некоторых случаях достаточно слегка вытащить его из гнезда монтажного блока и прикоснуться щупом контрольной лампы или мультиметра к одному из управляющих контактов.Второй зонд, соответственно, нужно прислонить к металлу корпуса. Однако безопаснее и проще полностью вытащить реле и вставить зонд в соответствующий слот устройства.
Отсутствие напряжения на каком-либо управляющем контакте означает, что реле не включается и, скорее всего, это не неисправность оборудования. Нужно искать причину, по которой на реле не приходит ток.
Для работы магнита внутри реле помимо «плюса» должна быть еще «масса», то есть связь с телом.Проверить его наличие можно тем же «контролем». Поместите один ламповый щуп на плюсовой вывод аккумуляторной батареи, а второй — в «массовое» гнездо монтажного блока. Только не соединяйте эти места обычным проводом — это приведет к! Лампочка или мультиметр устранят эту опасность и покажут, есть ли массовое соединение в соответствующей розетке.
Проверить наличие напряжения на силовых контактах реле
Если реле щелкает, цепь управления исправна, магнит срабатывает и перемычка перемещается.В этом случае нужно проверить наличие напряжения на силовых контактах реле. На одном контакте всегда есть напряжение, а на втором оно должно появиться при включении реле. Когда оборудование, подключенное через проверяемое реле, выключено, найдите силовой контакт, который находится под напряжением. Для этого вставьте щуп контрольной лампы или мультиметра в соответствующее гнездо монтажного блока, а другой конец — в кузов автомобиля.
Если на каком-либо контакте питания нет напряжения, значит, линия питания неисправна и реле тоже не задействовано.Причины выхода из строя ЛЭП могут быть разными, но сначала стоит проверить. Если на одном из силовых контактов реле присутствует напряжение, то при включенном реле (реле защелкивается, на управляющих контактах есть напряжение) напряжение должно быть и на втором силовом контакте.
Если реле включено и есть только одно напряжение силового контакта, то ток не проходит через группу контактов реле. Происходит это, как правило, из-за перегорания контактов перемычки, замыкающей линию питания.Такое реле проще заменить на новое, так как эту конструкцию сложно разобрать и попытаться почистить перемычку довольно сложно и ненадежно. К тому же стоимость большинства реле невысока.
Инструкция
Проверить распиновку реле. Прежде всего, узнайте, где расположены выводы обмотки. Также найдите расположение контактов контактных групп: нормально открытый (который замыкается при срабатывании) и нормально закрытый (который срабатывает при срабатывании). Если документация к реле на английском языке, фраза «нормально разомкнутые» означает нормально разомкнутые контакты, «нормально замкнутые» — нормально замкнутые.Так называемые переключающие контакты можно представить в виде двух групп, одна из которых нормально разомкнута, а другая — нормально замкнута, и которые объединены по одному из выводов таким образом, что их общее количество сокращается с четырех до трех.
.
Если напряжение срабатывания реле неизвестно, а известен только ток срабатывания, измерьте сопротивление катушки. Затем умножьте результат измерения на ток отключения (предварительно преобразовав оба значения в единицы СИ), и вы получите напряжение отключения в вольтах.Этот метод испытаний не применим к реле с обмотками переменного тока.
Если во время предыдущей операции вы измеряли сопротивление катушки реле, вы также выясняли, цела ли обмотка. Если вы еще не делали такого измерения, сделайте это. Во время измерения не касайтесь выводов обмотки и щупов омметра, чтобы не попасть под напряжение самоиндукции.
Подайте только переменное напряжение на обмотку переменного тока. Диод его не шунтирует.
Попробуйте подать на обмотку постоянное напряжение, равное напряжению срабатывания.Если реле исправно работает, оно будет работать. При этом не прикасайтесь к обмоткам и клеммам истока по той же причине. Полезно зашунтировать катушку диодом 1N4007, подключенным с обратной полярностью, но вы не можете изменить полярность обмотки во избежание короткого замыкания.
Касаться токоведущих цепей при наличии диода нельзя все-таки, так как он может выйти из строя в любой момент.
С помощью омметра проверьте состояние каждой группы контактов. При отсутствии напряжения на обмотке нормально разомкнутые группы должны быть разомкнутыми, нормально замкнутые — замкнутыми.При снятии напряжения ситуацию следует поменять.
Источники:
- Видео: Тип реле контроллера
Отказ системы, в которой используется несколько электромагнитных реле , может быть вызван отказом только одного из них. Предотвратить такую ситуацию можно только путем их регулярных проверок.
Инструкция
Независимо от метода поверки реле , при его проверке обязательно подключите параллельно его обмотке диод типа 1N4007 с обратной полярностью.Также желательно установить такой же диод в цепи, где он работает непрерывно, если, согласно алгоритму его работы, на обмотку не подается по очереди напряжение разной полярности.
Извлеките реле и установите его в устройство, когда оно обесточено.
Если вам нужно проверить реле в статическом режиме, просто подайте на его обмотку напряжение, равное минимальному напряжению срабатывания. При подаче все нормально замкнутые контакты должны быть разомкнуты, а все нормально разомкнутые замкнуты.При снятии напряжения с обмотки ситуация должна быть обратной по всем контактным группам. Для проверки состояния контактов используйте обычный омметр или даже щуп с батареей и лампочкой.
Проверка реле в динамическом режиме выполняется с помощью обычного мультивибратора на двух транзисторах. Подключите его как нагрузку к одному из транзисторов. Изменяя номиналы частотно-регулирующих элементов, сделайте частоту срабатывания реле близкой к предельной для него (она указана в документации).Чтобы проверить ту или иную группу контактов, подайте на нее напряжение через лампочку или мощный резистор, чтобы ток через нее не превышал предела.
Параллельно с группой подключите осциллограф. Убедитесь, что контакты на изображении экрана не прерываются. Так что проверяйте все группы одну за другой. Не держите реле в таком режиме слишком долго, потому что при быстром срабатывании оно изнашивается.
Когда аккумулятор в автомобиле или мотоцикле не заряжается и не перезаряжается, если можно так выразиться, то в первую очередь нужно обратить внимание на реле генератора.Конечно, эта проблема могла быть вызвана множеством других причин, но чаще всего она в реле. Но как проверить реле мультиметром? Об этом и поговорим.
Этот элемент предназначен для защиты аккумулятора и продления срока его службы на долгие годы. И все это несмотря на его компактность. Поэтому, если вдруг вы обнаружите, что машина после ночи плохо заводится, заметили какие-то белые подтеки и плохую работу стартера, то самое время залезть под капот. Поэтому важно знать, как проверить реле стартера мультиметром, ведь если оставить все как есть, аккумулятор довольно быстро сядет.
Определение
Перед проверкой реле мультиметром необходимо понять, что это на самом деле — реле. Это устройство предназначено для регулирования тока автомобильного генератора, что не позволяет ему перезаряжать аккумулятор. Следовательно, из-за этого элемента батареи служат дольше.
По большому счету реле представляет собой регулятор напряжения, не допускающий напряжения выше 14,5 вольт. Это устройство очень точное и требуется для всех типов машин.Однако существует несколько типов реле.
Типы
Если сильно обобщить, то их всего два типа, и работают они по одному принципу — повышают или понижают напряжение до необходимого значения — 14,5 Вольт. Первый тип — реле совмещенное со щеточным узлом. Обычно он крепится к самому генератору, а в том случае, когда ставятся щетки, располагается само реле.
Также реле может быть выполнено в виде отдельного устройства, которое крепится к кузову автомобиля, а провода от него идут на генератор, а затем на аккумулятор.
Корпуса обоих типов реле залиты клеем или герметиком и вообще не ремонтируются. Итак, если мы проверим выдвижное реле мультиметром и выяснится, что оно вышло из строя, то придется гарантированно покупать новое. К счастью, дешево, особенно для отечественных автомобилей ВАЗ. Поэтому удобнее и проще купить новое реле, а не забирать старое.
Если он «умер», то аккумулятор будет заряжаться. Значит пора сменить реле.Но для этого важно знать, как проверить реле мультиметром, ведь нам нужно знать, что оно находится в нем, а не в какой-либо другой части генератора. Как минимум есть два варианта проверки: не снимая с машины и со снятием.
Как проверить реле генератора мультиметром, не снимая его с автомобиля?
Признаки неисправности регулятора хорошо видны. Особенно если на улице отрицательная температура. Батарея всегда будет либо недозаряжена, либо перезаряжена.В первом случае слабый заряд АКБ легко определить по тому, как стартер крутит двигатель. Еле будет крутить, да и без толку.
Иногда при повороте ключа вообще ничего не происходит, а лампочка на панели гаснет.
Перезарядка АКБ практически не отличается. Произойдет то же самое, плюс выкипит электролит из банок аккумулятора. Определить заряд можно по уменьшению банка электролита. В результате испарения на верхней части аккумулятора также может образоваться белая пленка.Части корпуса под аккумулятором тоже могут иметь белый налет. Обычно при таких симптомах водители думают, что аккумулятор поврежден, но на самом деле с ним все нормально, но дело в реле-регуляторе, и на него нужно в первую очередь обратить внимание. Но для этого нужно знать, как проверить реле мультиметром.
Сделайте это просто. Для этого берем наш мультиметр и переводим его в режим вольтметра. С его помощью мы можем измерить напряжение при включенном двигателе.Учтите, что при выключенном двигателе нормальное напряжение должно быть в пределах 12,4–12,7 В. Если, например, напряжение составляет 12 В, то аккумулятор необходимо зарядить и искать причины недозарядки.
Нормальное напряжение
Итак, заводим двигатель, выставляем на мультиметре вольтметр на 20 В и подключаем его щупы к клеммам. Если напряжение в районе 13,2-14 В, значит с аккумулятором все в порядке. Увеличить обороты двигателя до 2000-2500. В этом случае напряжение должно возрасти примерно до 13.6-14,3 В, что тоже в пределах нормы. Теперь увеличиваем скорость до 3500, при этом напряжение должно возрасти до 14-14,5 В. Примерно на таких высотах должно быть напряжение в исправной батарее с исправным реле.
Ненормальные значения на мультиметре
Если значения отклоняются от указанных в большую или меньшую сторону, это указывает на неисправность реле. Например, если с увеличением оборотов двигателя напряжение падает до 12 В, то явно что-то не так.Также повышение напряжения до 15-16 В свидетельствует о выходе из строя реле-регулятора.
Скачки напряжения не всегда указывают на неисправность реле, но очень часто. Иногда может выйти из строя сам генератор.
В любом случае при скачках напряжения в первую очередь следует поменять регулятор, а если проблема не исчезнет, то необходимо заменить генератор и полностью проверить систему.
Проверка комбинированного реле-регулятора
Если щеточный узел совмещен с реле, необходимо снять генератор для проверки.Для начала нужно проверить комбинированную схему реле-регулятора, которая сегодня используется на многих иномарках и даже отечественных автомобилях.
Для этого необходимо будет снять и разобрать генератор, так как нужный нам агрегат крепится к валу генератора, на котором работают щетки. Ищем генераторное «окно» для щеток, откручиваем болт крепления, достаем щеточный блок и чистим. Обычно это графитовая пыль.
Теперь нам нужно собрать специальную схему с использованием блока питания с регулируемой нагрузкой.Еще нам нужен аккумулятор, потому что без него блок питания или зарядное устройство не работают. Итак, подключаем зарядное устройство к аккумулятору и параллельно реле-регулятору, а к последнему еще подключаем лампочку на 12 В.
При таком подключении лампочка будет гореть — это нормально, т.к. щеточный узел — проводник, а в спокойном состоянии напряжение здесь 12,7 В. Теперь нам нужно поднять напряжение на зарядном устройстве до 14,5 В. Лампа должна погаснуть при достижении этого показателя.Ведь 14,5 В — это «отсечка» роста напряжения. А если лампа погасла, значит реле сработало, и в принципе исправно.
В противном случае, если напряжение достигает 15-16 В, а лампочка горит, это означает, что реле не дает отключения. В этом случае его необходимо заменить на новый.
Теперь вы знаете, как проверить реле-регулятор мультиметром, и можете сделать это самостоятельно.
Автомобили с каждым годом становятся умнее — они уже самостоятельно крутят колеса, меняют жесткость подвески, делают водителю массаж пятой точки и многое другое… уже с 1831 года, когда его впервые изобрели … Что полезно обычному автовладельцу знать о реле?
Как работает реле?
Как известно, габариты и мощность коммутатора, коммутирующего мощную нагрузку, должны соответствовать этой нагрузке.
В автомобиле невозможно включить такие серьезные потребители тока, как, скажем, вентилятор радиатора или обогрев стекла, крохотной кнопкой — ее контакты просто сгорят от одного-двух нажатий. Соответственно кнопка должна быть большой, мощной, плотной, с четкой фиксацией положения вкл / выкл.К нему должны подойти длинные толстые провода, рассчитанные на ток полной нагрузки.
Но в современной машине с элегантным дизайном интерьера таких кнопок нет, а толстые провода с дорогой медью используются экономно. Поэтому в качестве удаленного выключателя питания чаще всего используется реле — оно устанавливается рядом с нагрузкой или в релейной коробке, и мы управляем им с помощью крошечной маломощной кнопки с подключенными к ней тонкими проводами дизайн которого легко вписывается в интерьер современного автомобиля.
Внутри простейшего типового реле находится электромагнит, на который подается слабый управляющий сигнал, и подвижная коромысла, притягивающая сработавший электромагнит, в свою очередь замыкает два силовых контакта, включающих в себя мощную электрическую цепь.
В автомобилях чаще всего используются реле двух типов: с парой замыкающих контактов и с тройным переключателем. В последнем при срабатывании реле один контакт замыкается на общий, а второй в это время отключается от него.Бывают, конечно, более сложные реле, с несколькими группами контактов в одном корпусе — замыкающими, размыкающими, переключающими. Но встречаются они гораздо реже.
Обратите внимание, что на рисунке ниже реле с переключающим контактом три имеет рабочие контакты. Пара контактов 1 и 2 называется «нормально замкнутой». Пара 2 и 3 — «нормально разомкнутые». «Нормальное» состояние — это состояние, когда на катушку реле не подается напряжение.
Наиболее распространенные универсальные автомобильные реле и точки их контакта со стандартным расположением ножек для установки в блок предохранителей или выносной блок выглядят так:
Герметичное реле из нестандартного ксенонового комплекта выглядит иначе.
Компаунд, залитый корпусом, позволяет ему надежно работать при установке рядом с фарами, где вода и грязевой туман проникают под капот через решетку радиатора. Распиновка нестандартная, поэтому реле идет со своим разъемом.
Для коммутации больших токов в десятки и сотни ампер используйте реле другой конструкции, нежели описанные выше. Технически суть неизменна — обмотка намагничивает к себе движущийся сердечник, замыкающий контакты, но контакты имеют значительную площадь, провода крепятся под болт от М6 и толще, обмотка повышенной мощности.Конструктивно эти реле похожи на втягивающее устройство стартера. Они используются на грузовиках как выключатели массы и пусковые реле одного и того же стартера, на разном спецоборудовании для включения особо мощных потребителей. Необычно они используются для аварийного включения джиперских лебедок, создания систем пневмоподвески, как главное реле системы самодельных электромобилей и т. Д.
Кстати, само слово «relay» переводится с французского как «конная перегрузка», и этот термин появился в эпоху развития первых телеграфных линий связи.
Малая мощность гальванических батарей того времени не позволяла переносить точки и штрихи на большие расстояния — все электричество «гасло» на длинных проводах, а баланс тока достигал, корреспондент не мог двигать головкой печатающего аппарата. . В итоге линии связи стали делать «с передаточными станциями» — в промежуточной точке ослабленный ток активировал не печатающее устройство, а слабое реле, которое, в свою очередь, открывало путь току из свежего аккумулятор — и дальше, и дальше…
Что нужно знать о работе реле?
Напряжение срабатывания
Напряжение, указанное на корпусе реле, является средним оптимальным напряжением.«12В» нанесено на автомобильные реле, но они также работают при напряжении 10 вольт и 7-8 вольт. Точно так же 14,5-14,8 вольт, до которых поднимается напряжение в электросети при работающем двигателе, не вредит. Так что 12 вольт — условный номинал. Хотя реле от 24-вольтового грузовика в 12-вольтовой сети не работает — уж тут разница слишком велика .
..
Коммутируемый ток
Второй главный параметр реле после рабочего напряжения обмотки — это максимальный ток, который может пройти контактная группа без перегрева и подгорания.Обычно указывается на корпусе — в амперах. В принципе, контакты всех автомобильных реле достаточно мощные, «слабаков» тут не найти. Даже самые маленькие переключатели на 15-20 ампер, типовые реле — на 20-40 ампер. Если ток указан двойной (например, 30/40 А), то это означает кратковременный и длительный режимы. Собственно, запас тока никогда не мешает — но в основном это касается какого-то ненормального электрооборудования автомобиля, которое подключается независимо.
Нумерация контактов
Автомобильные релейные выходы имеют маркировку в соответствии с международным электрическим стандартом для автомобильной промышленности.Два вывода обмотки пронумерованы числами «85» и «86». Контакты контакта «два» или «три» (замыкающий или переключающий) обозначаются как «30», «87» и «87a».
Однако маркировка гарантий, увы, не дает. Российские производители иногда маркируют нормально замкнутый контакт цифрой «88», а зарубежные — «87а». Неожиданные вариации стандартной нумерации встречаются у безымянных «брендов» и у компаний уровня Bosch. А иногда контакты и вовсе помечены цифрами от 1 до 5.Так что, если тип контактов не обозначен на корпусе, что часто случается, лучше всего проверить распиновку неизвестного реле с помощью тестера и блока питания на 12 В — подробнее об этом ниже.
Материал и тип выводов
Контактные клеммы реле, к которым подключается электропроводка, могут быть «ножевого» типа (для установки реле в гнездо разъема), а также под винтовой зажим (обычно для особо мощных реле или более старых моделей). типы реле).Контакты бывают «белыми» или «желтыми». Желтый и красный — латунь и медь, матовый белый — луженая медь или латунь, блестящий белый — сталь, никелированная. Луженая латунь и медь не окисляются, но латунь и медь без покрытия лучше, хотя они имеют тенденцию темнеть, что ухудшает контакт.
Никелированная сталь тоже не окисляется, но ее стойкость высокая. Неплохо, когда выводы питания медные, а выводы обмоток — из никелированной стали.
Плюс и минус мощность
Для работы реле на его обмотку подается напряжение.Его полярность безразлична к реле. Плюс на «85» и минус на «86» или наоборот — без разницы. Один контакт катушки реле обычно постоянно подключен к плюсу или минусу, а на второй приходит управляющее напряжение от кнопки или какого-то электронного модуля.
В предыдущие годы чаще использовалось постоянное подключение реле к минусу и положительный сигнал управления; сейчас чаще встречается обратное. Хотя это не догма — бывает у всех, в том числе и в рамках одной машины.Единственное исключение из правил — реле, в котором параллельно обмотке включен диод — здесь уже важна полярность.
Реле с диодом параллельно катушке
Если напряжение на катушку реле подается не кнопкой, а электронным модулем (стандартным или нестандартным — например, охранным оборудованием), то при отключении катушка дает индуктивный скачок напряжения, который может повредить управляющая электроника.
Для гашения перенапряжения параллельно обмотке реле включается защитный диод.
Как правило, внутри электронных компонентов эти диоды уже есть, но иногда (особенно в случае различного дополнительного оборудования) требуется реле со встроенным диодом (в этом случае его символ нанесен на корпус), и выносной терминал с припаянным со стороны проводов диодом применяется редко. А если вы устанавливаете какое-либо нештатное электрооборудование, которому по инструкции необходимо такое реле, необходимо строго соблюдать полярность при подключении обмотки.
Температура корпуса
Обмотка реле потребляет около 2-2,5 Вт мощности, из-за чего его корпус при работе может довольно сильно нагреваться — это не преступно. Но допускается нагрев обмотки, а не контактов. Перегрев контактов реле деструктивен: они обугливаются, разрушаются и деформируются. Чаще всего это происходит в неудачных экземплярах реле российского и китайского производства, у которых контактные плоскости иногда не параллельны друг другу, контактная поверхность недостаточна из-за перекоса, и во время работы происходит точечный токовый прогрев.
Реле не выходит из строя мгновенно, но рано или поздно перестает включать нагрузку, или наоборот — контакты привариваются друг к другу, и реле перестает открываться. К сожалению, выявить и предотвратить такую проблему не совсем реально.
Проверка реле
При ремонте неисправное реле обычно временно заменяют исправным, а затем заменяют на аналогичное, причем делается это с торцом. Но мало ли, какие задачи могут возникнуть, например, при установке дополнительного оборудования.Итак, будет полезно знать простейший алгоритм проверки реле, чтобы диагностировать или уточнить распиновку — а если бы она была нестандартной? Для этого нам понадобится источник питания с напряжением 12 вольт (блок питания или два провода от аккумулятора) и тестер, включенный в режиме измерения сопротивления.
Допустим, у нас есть реле с 4 контактами — то есть с парой нормально разомкнутых контактов, работающих на короткое замыкание (аналогично проверяется реле с переключающим контактом «тройка»).
Сначала прикоснитесь щупами щупов к щупам поочередно ко всем парам контактов. В нашем случае это 6 комбинаций (условное изображение, чисто для понимания).
На одной из комбинаций выводов омметр должен показывать сопротивление около 80 Ом — это обмотка, запомните или отметьте ее контакты (для автомобильных реле на 12 вольт наиболее распространенные размеры включают это сопротивление в диапазоне от 70 до 120 Ом). Ставим на обмотку 12 вольт от блока питания или аккумулятора — реле должно четко щелкнуть.
Соответственно два других выхода должны показывать бесконечное сопротивление — это наши нормально разомкнутые рабочие контакты. Подключаем к ним тестер в режиме набора номера, при этом на обмотку подаем 12 вольт. Реле щелкнуло, тестер поскрипел — все в порядке, реле работает.
Если на рабочих выводах прибор показывает короткое замыкание даже без подачи напряжения на обмотку, это означает, что мы встретили редкое реле с НОРМАЛЬНО ЗАМКНУТЫМИ контактами (разомкнутыми при подаче напряжения на обмотку) или более вероятно, контакты перегрузки расплавились и сварились, замкнувшись.
В последнем случае реле отправляют в утиль.
— Общая информация, меры предосторожности и проверка
Система зарядки — Общая информация
Система зарядки включает в себя генератор переменного тока, внутренний или внешний регулятор напряжения, амперметр или индикатор заряда, аккумулятор, плавкая перемычка и проводка между всеми компонентами.В Система зарядки обеспечивает электроэнергией систему зажигания, фонари, радио и т. д. Генератор приводится в действие приводной ремень в передней части двигателя.
Назначение регулятора напряжения — ограничить
напряжение генератора до заданного значения.Это предотвращает скачки напряжения, перегрузки цепи и т.
Д. Во время пикового выходного напряжения. На EVR
(внешнего регулятора напряжения) регулятор установлен на правом крыле автомобиля. В системах IAR (встроенный генератор / регулятор) твердотельный регулятор расположен внутри самого генератора.
Плавкая перемычка — короткая длина Изолированный провод, входящий в состав жгута проводов моторного отсека. Линия представляет собой четыре сечения проводов меньшего диаметра, чем цепь, которую она защищает. Производственные плавкие вставки и их опознавательные флажки обозначаются цветом флажка.
Плавкие вставки |
# 14 Калибровочный провод — зеленый Изоляция |
# 16 Калибровочный провод — оранжевый Изоляция |
# 17 Калибровочный провод — желтый Изоляция |
# 18 Калибровочный провод — красный Изоляция |
# 20 Калибровочный провод — синий Изоляция |
Система зарядки обычно не требует периодического
поддержание.
Однако приводной ремень, аккумулятор, провода и соединения следует проверять на
регулярные промежутки.
Будьте очень осторожны при подключении электрических цепей к автомобиль и обратите внимание на следующее:
a) При повторном подключении проводов к генератору от аккумулятора обязательно соблюдайте полярность.
b) Перед использованием оборудования для дуговой сварки отремонтировать любую часть автомобиля, отсоедините провода от генератора и аккумулятора терминалы.
c) Никогда не запускайте двигатель при подключенном зарядном устройстве.
d) Всегда отсоединяйте оба провода аккумулятора перед использованием аккумулятора. зарядное устройство.
e) Генератор проворачивается приводным ремнем двигателя, что может привести к серьезным травмам, если ваши руки или одежда запутаются в нем при работающем двигателе.
f) Поскольку генератор подключен непосредственно к аккумуляторной батарее, он может вызвать дугу или вызвать возгорание при перегрузке или коротком замыкании. из.
г) Оберните генератор полиэтиленовым пакетом и закрепите его резиновыми лентами перед очисткой двигателя паром.
Система зарядки — чек
(Иллюстрация ЧС1)
Временно установить плоскую клемму в клемму F жгута проводов, затем измерьте сопротивление между клеммой F и землей с помощью омметр.
Общие Тест
1. Если в цепи зарядки возникает неисправность, не следует автоматически предполагать, что причиной проблемы является генератор переменного тока. Сначала проверьте следующие позиции:
a) Проверьте натяжение и состояние приводного ремня.
Замените, если он изношен или вышел из строя.
b) Марка убедитесь, что крепежные и регулировочные болты генератора надежно затянуты.
c) Проверить жгут проводов генератора и электрические разъемы на генератор и регулятор напряжения (если внешний). Они должны быть в хорошем состоянии состояние и герметичность.
г) Проверить плавкая вставка (если есть), расположенная между реле стартера и генератор. Если он сгорел, определить причину, отремонтировать цепь. и замените ссылку (автомобиль не заводится и / или аксессуары не будет работать, если перегорела плавкая перемычка).Иногда плавкая ссылка может хорошо выглядеть, но все равно быть плохим. Если сомневаетесь, снимите его и проверьте преемственность.
e) Запустите двигатель и проверьте генератор на предмет необычных шумов (визг или визг указывает на плохой подшипник).
f) Проверьте удельный вес электролита аккумулятора.Если он низкий, зарядите аккумулятор (не относится к необслуживаемым батареи)
g) Убедитесь, что аккумулятор полностью заряжен (один неисправный элемент в аккумуляторе может вызвать перезарядку генератора).
h) Отсоедините кабели аккумуляторной батареи (сначала отрицательный, затем положительный). Осмотрите клеммы аккумуляторной батареи и кабельные зажимы на предмет коррозии. Тщательно очистите их если необходимо. Подсоедините кабель к положительной клемме.
i) При выключенном ключе подключите контрольную лампу между отрицательным аккумуляторный столб и отсоединенный зажим отрицательного кабеля.
1) Если контрольная лампа не загорается, снова прикрепите зажим и переходите к следующему шагу.
2) Если контрольная лампа загорается, значит в электрической системе автомобиля короткое замыкание (утечка).
Короткое замыкание необходимо отремонтировать перед
систему зарядки можно проверить.
3) Отсоедините жгут проводов генератора.
(a) Если индикатор гаснет, генератор неисправен.
(b) Если индикатор продолжает гореть, вытаскивайте каждый предохранитель, пока индикатор не погаснет (это покажет вам, какой компонент закорочен).
2. С помощью вольтметра проверьте напряжение аккумуляторной батареи при выключенном двигателе. Оно должно быть примерно 12 вольт.
3. (ТЕСТ БЕЗ НАГРУЗКИ) Запустите двигатель на высоких холостых оборотах (приблизительно 1500 об / мин) и снова проверьте напряжение аккумуляторной батареи после того, как напряжение перестанет расти.
Это может занять несколько минут. Теперь оно должно быть выше, чем напряжение аккумулятора, но не более чем на 2 В (внешний регулятор напряжения) или
На 2,5 вольта выше (встроенный регулятор напряжения).
4. Если показание напряжения ниже указанного зарядного напряжения, выполнить тест пониженного напряжения. Если он выше, выполните проверку перенапряжения.
5. (НАГРУЗКА ТЕСТ) Включите дальний свет фар и включите обогреватель или воздушный нагнетатель кондиционера на максимальную мощность.Запустите двигатель на 2000 об / мин и проверьте показания напряжения. Теперь оно должно быть как минимум на 0,5 В выше, чем напряжение аккумулятора. В противном случае выполните соответствующий тест пониженного напряжения.
6. Если показания напряжения верны в предыдущем шагов, система зарядки работает нормально.
Пониженное напряжение Тест — внешний регулятор напряжения
7. Отсоедините электрический разъем от регулятора. Временно
установите плоскую клемму в клемму F жгута проводов, затем измерьте
сопротивление между выводом F и массой с помощью омметра.
Он должен показывать 2,4 Ом или больше.
a) Если оно меньше указанного, отремонтируйте закороченная или заземленная цепь возбуждения в генераторе или жгуте проводов, затем повторите испытание под нагрузкой. (Шаг 5)
b) Если показания омметра правильные, перейдите к шагу 8.
8. Снимите ножевой зажим. Подключите перемычку между клеммы A и F.
(Иллюстрация CHS2)
9. Повторите испытание под нагрузкой (шаг 5) с подключенной перемычкой.
a) Если показание превышает напряжение аккумулятора более чем на 0,5 В, проблема в проводке или регуляторе. Выполните проверку S-цепи. (модели, оснащенные амперметром) или тесты цепей S и I (модели, оснащенные световыми индикаторами), чтобы выявить проблему.
b) Если показание все еще слишком низкое, перейдите к шагу 10.
10. Снимите перемычку с электрический разъем, но пока оставьте разъем отключенным.
11. Отсоедините контактный провод FLD на задней стороне генератора. Тянуть снимите крышку с клеммы BAT и подключите перемычку между клеммами FLD и BAT (см. иллюстрация ЧС3).
(Иллюстрация CHS3)
12. Повторить нагрузочный тест (Шаг 5).
a) Если напряжение теперь на 0,5 В или более выше напряжения аккумулятора, выполните проверка цепи S или S и I.
b) Если напряжение все еще слишком низкое, переходите к шагу 13.
13 . Заглушите двигатель и переместите положительный вывод вольтметра к BAT. клемма на генераторе.
a) Если вольтметр теперь показывает напряжение аккумулятора, замените
генератор.
б) Если вольтметр показывает ноль, проверьте провод между реле генератора и стартера на предмет обрывов или плохих соединений и при необходимости отремонтировать.
Перенапряжение Тест — внешний регулятор напряжения
14. Начните этот тест при подключенном электрическом разъеме регулятора.
15. Подключите перемычку между основанием регулятора напряжения. и отливка рамы генератора.
16. Повторите тест без нагрузки (шаг 3).
a) Если показание напряжения падает в пределах указанного диапазона, проверьте
при плохом заземлении на генераторе, на регуляторе, между
двигателя и брандмауэра, или на любом конце отрицательного кабеля аккумуляторной батареи.
b) Если напряжение все еще слишком высокое, выполните шаг 17.
17. Отсоедините электрический разъем от регулятора напряжения и повторите тест без нагрузки (шаг 3).
a) Если теперь показания напряжения правильные, замените регулятор напряжения.
b) Если значение напряжения все еще слишком высокое, проверьте, нет ли короткого замыкания между цепями A и F.
ю. Проверка цепи (автомобили с амперметром) — внешний регулятор напряжения
18. Отсоедините электрический разъем от регулятора напряжения. Соединять
положительный провод вольтметра к S
клемму в разъеме.Подключите
отрицательный провод к отрицательной клемме аккумуляторной батареи.
19. Проверить показания вольтметра при двигателе. выключенный. Он должен быть нулевым.
20. Поверните ключ зажигания в положение «Вкл.», Но не запускайте двигатель. Вольтметр должен показывать батарею Напряжение.
a) Если при включенном ключе напряжение отсутствует, проверьте провод S между замком зажигания и электрическим разъемом на предмет обрыва или неисправности. связь.
b) Если показания напряжения соответствуют указанным, замените напряжение регулятор.
21. Повторите нагрузочный тест (шаг 5).
ю. И I Проверка цепи (автомобили с индикаторными лампами) — внешнее напряжение Регулятор
22. Отсоедините электрический разъем от регулятора, затем подключите
перемычка между клеммами A и F.
23. Подсоедините отрицательный провод вольтметра к отрицательной клемме аккумуляторной батареи.
24. Запустите двигатель и дайте ему поработать на холостом ходу.
25. Подключите положительный провод вольтметра к клемме S, затем к клемме I. клемму в разъеме регулятора.Значение напряжения на клемме I должно быть примерно в два раза выше значения напряжения на клемме S.
a) Если показания напряжения верны, замените регулятор напряжения.
b) Если напряжение отсутствует, проверьте проводку S и I на обрыв или плохое соединение).Снимаем перемычку провод.
Пониженное напряжение Тест — встроенный регулятор напряжения
(Иллюстрация ЧС4)
26. Отсоедините электрический разъем от регулятора.Подключите омметр между винтами клемм A и F.
В
омметр должен показывать не менее 2,4 Ом.
a) Если Показание омметра слишком низкое, регулятор неисправен. Внимание: отказ регулятора мог быть вызван коротким замыканием. ротор или цепь возбуждения. Их необходимо проверить перед заменой регулятора, иначе новый регулятор также может выйти из строя.Проверка ротора и полевые цепи требуют разборки генератора переменного тока, которая должна выполняться дилером или магазином электрооборудования. Может быть дешевле заменить генератор на восстановленный.
b) Если показания омметра находятся в пределах технических характеристик, повторно подсоедините электрический разъем к регулятору и выполните шаг 27.
27. Подсоедините отрицательный провод вольтметра к заднему корпусу генератора
и положительный вывод к винту клеммы регулятора A. Вольтметр должен показывать напряжение аккумулятора. Если нет, проверьте цепь A на наличие обрывов или плохих соединений.
(Иллюстрация CHS6)
28. Если вольтметр показывает напряжение аккумулятора на шаге 27, поместите ключ зажигания в выключенном положении.
29. Подключите минус вольтметра к корпусу генератора, а положительный провод к винту F-клеммы.
a) Если вольтметр показывает отсутствие напряжения, замените генератор.
б) Если вольтметр показывает напряжение аккумулятора, перейдите к шагу 30.
(Иллюстрация CHS7)
30. Поверните ключ зажигания в положение «Работа», но не запускайте двигатель. Подсоедините отрицательный провод вольтметра к задней части генератора, а положительный провод — к винту клеммы F на регуляторе.
a) Если вольтметр показывает напряжение более 1,5 В, выполните проверку цепей S и I — интегральный регулятор.
b) Если вольтметр показывает 1,5 В или меньше, переходите к шагу 31.
(Иллюстрация CHS5)
31. Отсоедините электрический разъем генератора. Подключите перемычку 12-го калибра между клеммой B + генератора и соответствующей клеммой электрического разъема. Выполните нагрузку Тест (шаг 5) с положительной клеммой вольтметра, подключенной к одной из клемм перемычки B +.
a) Если напряжение превышает 0,5 В выше батареи напряжения, проверьте проводку от генератора к реле стартера на предмет обрывы или плохие соединения.
б) Если напряжение не превышает О.На 5 В выше напряжения аккумулятора, выполните шаг 32.
32. Подключите перемычку между
задний корпус генератора и винт клеммы F регулятора (см.
Иллюстрация CHS7) . Повторите
испытание под нагрузкой (шаг 5) с положительным проводом вольтметра, подключенным к одному из
клеммы перемычки B +.
a) Если напряжение увеличивается более чем на 0.5 вольт, заменить регулятор.
б) лф напряжение не увеличивается более чем на 0,5 вольт, замените генератор.
Перенапряжение Тест — встроенный регулятор напряжения
33. Поверните ключ в положение «Вкл.», Но оставьте двигатель выключенным.
34. Подсоедините отрицательный провод вольтметра к задней части генератора. корпус, затем подключите положительный провод к винту клеммы A и винту заземления регулятора в поверните (см. рисунок CHS6) . Если показания напряжения отличаются более чем на 0.5 вольт, проверьте цепь А на наличие обрывов или неисправностей. соединения.
35. Проверьте, не ослаблены ли винты заземления регулятора, и при необходимости затяните.
36. Если значение напряжения по-прежнему слишком высокое, переведите ключ зажигания в положение «Выкл.
». Подсоедините отрицательный провод вольтметра к корпусу генератора.
Подключите положительный провод вольтметра к винту клеммы A, а затем к клемме F.
винт (см. рисунок CHS6) .
a) Если показания напряжения на головках двух винтов различаются, заменить генератор.
b) Если показания напряжения на головках двух винтов совпадают, заменить регулятор.
ю. И I Проверка цепи — Встроенный регулятор напряжения
37. Отсоедините электрический разъем генератора.
38. Подключите одну перемычку от Клемма А генератора переменного тока к соответствующей клемме в электрическом разъеме. Подключите еще одну перемычку от винт регулятора F к корпусу генератора.
(Иллюстрация CHS8)
39. Запустите двигатель и дайте ему поработать на холостом ходу.
40. Подсоедините отрицательный провод вольтметра к корпусу генератора. Подключите положительный провод к клемме S разъема и клемме I в поверните (см. рисунок CHS8) . Напряжение на клемме I должно быть примерно вдвое больше, чем на клемме S.
a) Если показания соответствуют указанным, замените регулятор.
б) Если есть нет напряжения, проверьте проводку на наличие обрывов или плохих соединений.Если проводка в порядке, заменил генератор.
Установка нового регулятора напряжения
Генератор переменного тока Lucas ACR, как и многие генераторы переменного тока, устанавливаемые на британские автомобили, имеет регулятор напряжения, установленный внутри. Это возможно, потому что современный стабилизатор напряжения — это нестандартное устройство. Когда вы протестировали систему зарядки автомобиля, оснащенного
генератор
, и чеки в
Как проверить автомобильный аккумулятор
указать на ошибку в
регулятор напряжения
, убедитесь, что вам нужно его заменить.
Ошибка может быть в другом.
Если описанные здесь простые тесты не помогли, отнесите машину к автоэлектрику; генераторы, устанавливаемые на современные автомобили, легко повредить.
Перед выполнением любых работ с системой генератора переменного тока, кроме тестирования, отсоедините оба терминалы из аккумулятор .
Неправильная зарядка или отсутствие выхода могут быть из-за плохо заземленного регулятора. Убедитесь, что соединения чистые и плотные. Устройство может быть заземлено через крепления или отдельным проводом.
Недозаряд может быть вызван неисправным генератором кисти и контактные кольца (Видеть Замена щеток генератора ), а также неисправным регулятором.
Простой способ проверить генератор — запустить двигатель и подключите вольтметр через аккумулятор терминалы. Если он зарегистрируется напряжение батареи только неисправность в генераторе или его проводке, или в поле изолирующий реле если есть.
Если регистрируется чрезмерное
обвинять
(15
вольт
или более) регулятор неисправен и его необходимо заменить.
Замена внутреннего регулятора Lucas ACR
Обратите внимание на количество выводов и их место, а также на шайбы и установочные пазы.При отключенном аккумуляторе снимите заднюю крышку генератора. На большинстве автомобилей вы должны снять генератор, чтобы добраться до него (см. Тестирование генератора и проверка мощности ). Отстегните провода, есть два, три или четыре и металлическую соединительную бирку — отметив, где они поместиться .
Регулятор может быть закреплен двумя винтами или одним винтом и установочными пазами: обратите внимание на то, как эти пазы подходят, чтобы вы могли правильно установить новый блок. Будьте осторожны, чтобы не уронить винты или шайбы.
Некоторые внутренние регуляторы имеют полевую соединительную линию от клеммы к корпусу регулятора.
Перемычка защищает генератор от аккумулятора при включении
зажигание
выключен. Возможно, вам придется ослабить винт звена и переместить звено в сторону.
Обратите внимание на небольшой пластик
распорка
.
Новый блок может не во всех отношениях совпадать со старым — например, у него может быть больше или меньше соединительных проводов.
Тщательно следуйте инструкциям производителя; они расскажут вам, как подключить агрегат к различным типам генераторов переменного тока.
Соберите генератор, снова подсоедините аккумулятор, запустите двигатель и проверить (см. Как проверить автомобильный аккумулятор ).
Замена отдельного регулятора
Замена внешнего регулятора на генераторе Bosch.Заменить отдельный регулятор вне генератора несложно, будь то современный транзистор типа или электромагнитного типа, установленного на некоторых импортных автомобилях.
При отсоединенном аккумуляторе отсоединить соединения от регулятора. Обозначьте выводы, чтобы не запутать их.
Выверните крепежные винты и снимите регулятор. Очистите область за ним, чтобы обеспечить хороший контакт, если регулятор заземлен через его крепления.
Установите новый блок, снова подсоедините провода, а затем аккумулятор.Запустите двигатель и проверьте регулятор.
Независимые регуляторы
Типичный отдельный тип электронного регулятора.Хотя тенденция заключается в разработке электронного регулятора в генераторе переменного тока, некоторые из них все еще существуют отдельно.
Отдельное реле сигнальной лампы. Реле изоляции возбуждения, которое изолирует генератор от аккумуляторной батареи при выключении зажигания.Электромагнитный регулятор напряжения с двумя переключателями, установленный на некоторых старых генераторах переменного тока. В более старых автомобилях может быть динамо-машина вместо генератора. У динамо-машины есть отдельный регулятор, блок управления (см.
Очистка и замена блока управления
), имеющий три электромагнитных
переключатели
для управления
Текущий
, напряжения и отключения при необходимости, чтобы предотвратить разряд аккумулятора через динамо-машину.
Некоторые генераторы имеют отдельные электромагнитные регуляторы, а некоторые — отдельное реле изоляции поля, электромагнитный переключатель, который защищает генератор при выключении зажигания.
У некоторых автомобилей есть отдельное управление в схема для сигнальной лампы на панели приборов.
Тестирование топливной системы — Топливный насос — Форсунка — Регулятор — Реле
Тестирование топливной системы — Топливный насос — Форсунка — Регулятор — Реле — ДатчикВыберите раздел справки по тестированию топливной системы нижеУтечка топлива — если вы чувствуете запах топлива, это может быть признаком утечки топлива Проблемы, связанные с топливной системой — не всегда легко решить Механические топливные насосы — основная информация и устранение неисправностей Регулятор давления топлива — Часто задаваемые вопросы — Правильное ли давление Проблемы с топливным насосом — чрезмерное нагревание — загрязнение грязью и ржавчиной Тестирование топливной системы двигателя — надлежащее тестирование с помощью растворов Регуляторы давления топлива — работа, признаки неисправности и проверка Реле автоматического отключения (ASD) — Функция — Отказ — Тестирование Реле топливного насоса — работа и процедуры проверки Noid Light — Как проверить топливные форсунки с помощью Noid Light Промывка топлива — как устранить эту потенциально серьезную проблему Топливные форсунки — обычно выходят из строя только одним из трех способов Газ попадает в нефть — что может вызвать это? Регулятор давления топлива — FAQ — Правильное ли давление Общие проблемы с топливным насосом, не связанные с запуском — что следует проверять Попадание топлива в моторное масло, вызывающее преждевременный износ деталей двигателя
Тестирование топливной системы — Топливный насос — Форсунка — Регулятор — Реле — Датчик
Общие системы подачи топлива Итак, (PCM) подает команду топливному насосу; подайте на форсунки давление топлива 35-65 фунтов на квадратный дюйм.
Следовательно, путем заземления цепи реле первичного топливного насоса.
- На двухтрубных системах подачи топлива. Итак, внешний регулятор давления топлива с вакуумной модуляцией контролирует давление топлива. Следовательно, двухтрубная система подачи топлива; возвращает излишки топлива в бак по возвратной магистрали.
- В отличие от однолинейных систем подачи топлива. Итак, внутренний немодулированный регулятор давления топлива; в модуле топливного насоса контролирует давление топлива.Но однолинейная система подачи топлива использует ту же линию.
Наконец, самые обычные системы подачи топлива; включить клапан Шредера на топливной рампе. Кроме того, возможность механического испытания топлива под давлением.
При включении зажигания; топливный насос активирован. Итак, он делает это в течение нескольких секунд, чтобы заправить топливные форсунки. Топливный насос снова включается при запуске.

Происходит при замыкании контактов реле-регулятора (спекании контактов, поломке пружины якоря) или коротком замыкании электропровода. Ремонтируется нахождением и устранением короткого замыкания при отключенном аккумуляторе, проверкой и регулировкой ограничителя тока, размыканием и зачисткой контактов, заменой пружины с регулировкой ее зазора и натяжения.
Монтируется прямо на генератор. Месторасположения реле в корпусе со щетками.
В среднем диапазоне этот показатель составляет около 14 вольт, на высоких оборотах доходит до 14,5.
Дополнительно понадобится указанный выше блок питания, который выдает до 20 вольт. Также вместо блока можно воспользоваться зарядным устройством, которое имеет функцию регулировки тока. Необходимо отдельно учесть, что зарядное устройство может не выдавать постоянный ток при отсутствии нагрузки. В этом случае к нему нужно дополнительно подключить АКБ, то есть дать нагрузку на ЗУ.



Отмечаем напряжение, при котором произошло срабатывание реле и сверяем его с желаемым.