Тепловой зазор поршневого кольца и расход масла · Technipedia · Motorservice
Установки
Назад к поиску
Информация о продукте
Ошибочные оценки тепловых зазоров поршневых колец
Большой тепловой зазор поршневого кольца и высокий расход масла: действительно ли в порядке тепловой зазор или продукт имеет дефект?
Мы поможем вам при решении этой проблемы.
Ситуация:
Тепловые зазоры некоторых новых компрессионных поршневых колец становятся предметом рекламации. В отличие от обычных размеров в диапазоне от ок. 0,3 до 0,6 мм размеры тепловых зазоров этих поршневых колец составляют от 1 до 2 мм и поэтому считаются слишком большими.
Особенно это касается второго компрессионного поршневого кольца, в отношении которого часто предполагается ошибочная поставка или производственный дефект.
Техническая причина:
До 90% общего усилия прижима компрессионных поршневых колец создается во время такта расширения за счет давления сгорания (рис. 1). Отработавшие газы проникают в кольцевые канавки и таким образом попадают на обратные стороны поршневых колец. Там под действием давления сгорания увеличивается усилие прижатия поршневых колец к стенке цилиндра, что оказывает влияние на первое компрессионное поршневое кольцо и в меньшей степени на второе компрессионное поршневое кольцо.
Недостаток:
На холостом ходу и в режиме частичной нагрузки давление сгорания ниже, чем в режиме полной нагрузки. Из-за этого компрессионные поршневые кольца с меньшей силой прижимаются к стенке
цилиндра, что отражается в первую очередь на функции съема масла второго компрессионного поршневого кольца. У определенных двигателей это приводит к повышению расхода масла.
Мера по устранению:
По указанным выше причинам изготовители двигателей выполняют конструктивную подгонку (увеличение) тепловых зазоров поршневых колец. Благодаря увеличенному зазору газы под давле-
нием сгорания быстрее проникают в кольцевую канавку и тем самым на обратную сторону поршневого кольца. За счет этой меры улучшаются маслосъемная и герметизирующая функции, а вместе с этим уменьшается расход масла при работе на холостом ходу и в режиме частичной нагрузки.
Указание:
Все поставляемые компанией Motorservice поршневые кольца соответствуют спецификациям изготовителей двигателей. Благодаря этому обеспечивается полное соблюдение всех функциональных параметров.
Дополнительная информация:
Широко распространено мнение, что большие тепловые зазоры поршневых колец служат причиной повышенного расхода масла. Однако это предположение ошибочно. Увеличенные тепловые зазоры поршневых колец вызывают незначительное увеличение прорыва газов, но не повышенный расход масла.
Правильно следующее: по мере износа поршневых колец увеличиваются их тепловые зазоры. Функциональные параметры поршневого кольца с уменьшенным сечением ухудшаются, в результате чего он больше не обеспечивает надлежащей герметизации. Увеличенный тепловой зазор и повышенный расход масла являются последствиями радиального износа поршневого кольца.
Ключевые слова :
поршеньГруппы продуктов :
Поршни и компонентывидео
Монтаж поршневых колец — Motorservice Group
Группы продуктов на ms-motorservice.
comЭто вас тоже могло бы заинтересовать
Информация о пользовании
Монтаж поршней
Только для специалистов. Мы сохраняем за собой право на изменения и несоответствие рисунков. Информацию об идентификации и замене см. в соответствующих каталогах или в системах, основанных на TecAlliance.
Использование куки и защита данных
Группа Motorservice использует на Вашем устройстве файлы куки с целью оптимального оформления и постоянного улучшения своих веб-страниц, а также в статистических целях. Здесь Вы найдете дополнительную информацию об использовании куки, наши Выходные данные и Указания по защите персональных данных.
Нажатием кнопки «OK» Вы подтверждаете, что Вы приняли к сведению информацию о файлах куки, заявление о защите данных и выходные данные.
Ваши настройки в отношении файлов куки для данного веб-сайта Вы можете изменитьв любое время [ссылка]
Установки приватности
Мы придаем большое значение прозрачности в вопросе защиты персональных данных. На наших страницах Вы получите точную информацию о том, какие настройки Вы можете выбрать и какие функции они выполняют. Выбранную Вами настройку Вы можете изменить в любое время. Независимо от выбранной Вами настройки, мы не будем определять Вашу личность (за исключением тех случаев, когда Вы однозначно ввели свои данные, например, в контактных формах). Информацию об удалении файлов куки Вы найдете в справке Вашего браузера. Дополнительная информация приводится вЗаявлении о защите данных.
Измените свои настройки приватности путем нажатия на соответствующие кнопки
- Необходимость
Комфорт- Статистика
Необходимость
Файлы куки, необходимые для работы веб-сайта, обеспечивают его надлежащее функционирование.
При отсутствии файлов куки возможно появление ошибок и сообщенийоб ошибках.
Данный веб-сайт будет выполнять следующее:
- сохранять файлы куки, необходимые для работы веб-сайта.
- сохранять настройки, выполненные Вами на данном сайте.
При этой настройке данный веб-сайт ни в коем случае не будет выполнять следующее:
- сохранять Ваши настройки, например, выбор языка или баннер куки, чтобы Вы не выполняли их заново.
- анонимно анализировать посещаемость нашего веб-сайта и использовать эту информацию для его оптимизации.
- определять Вашу личность (за исключением тех случаев, когда Вы однозначно ввели свои данные, например, в контактных формах).
Комфорт
Файлы куки делают посещение Вами веб-сайта более удобным и комфортным, сохраняя, например, определенные настройки, чтобы Вам не приходилось заново выполнятьих каждый раз при посещении сайта.
Данный веб-сайт будет выполнять следующее:
- сохранять файлы куки, необходимые для работы веб-сайта.
- сохранять Ваши настройки, например, выбор языка или баннер куки, чтобы Вы не выполняли их заново.
При этой настройке данный веб-сайт ни в коем случае не будет выполнять следующее:
- анонимно анализировать посещаемость нашего веб-сайта и использовать эту информацию для его оптимизации.
- определять Вашу личность (за исключением тех случаев, когда Вы однозначно ввели свои данные, например, в контактных формах).
Разумеется, что мы всегда согласны с настройкой Do Not Track (DNT) Вашего браузера. В этом случае не устанавливаются отслеживающие файлы куки и не загружаются функции отслеживания.
Тепловой зазор поршневых колец
Двигатель внутреннего сгорания фактически является тепловой машиной. В процессе работы такого двигателя целый ряд нагруженных деталей в конструкции ЦПГ и ГРМ подвергается температурному расширению в результате значительного нагрева.
По этой причине для нормальной работы ДВС в отдельных конструкциях предусмотрена самостоятельная регулировка теплового зазора клапанов (при отсутствии гидрокомпенсаторов).
Рекомендуем также прочитать статью о том, что такое гидрокомпенсатор. Из этой статьи вы узнаете о назначении, устройстве и особенностях работы гидротолкателей.
Регулировать тепловые зазоры клапанов необходимо каждые 30-40 тыс. км. пробега, а также в случае появления стука клапанов на холодном или горячем двигателе. Отдельного внимания также требует тепловой зазор между поршнем и цилиндром, а точнее тепловой зазор поршневых колец.
Содержание статьи
- Какой зазор должен быть на поршневых кольцах
- Как влияет тепловой зазор поршневых колец на расход масла
- Подведем итоги
Какой зазор должен быть на поршневых кольцах
На поршень устанавливается два типа поршневых колец:
- компрессионные кольца;
- маслосъемные кольца;
Также компрессионные кольца делятся на верхнее компрессионное и нижнее компрессионное кольцо.
Задачей данных колец является герметизация камеры сгорания и предотвращение прорыва значительной части отработавших газов в картер двигателя. Маслосъемные кольца осуществляют снятие излишков моторного масла со стенок цилиндра, благодаря чему масло не попадает в камеру сгорания в избыточном количестве.
Тепловой зазор в замке поршневых колец является важным параметром, который необходимо в обязательном порядке учитывать при подборе колец в процессе их замены или комплексного ремонта ЦПГ.
Такой ремонт обычно предполагает расточку блока цилиндров, установку ремонтных поршней и колец. Указанный тепловой зазор является допуском, который учитывает расширение детали с нагревом, то есть когда происходит изменение определенных параметров. Допустимый зазор между поршнем и цилиндром является таким зазором, при котором наблюдается нормальная работоспособность всех элементов. Детали весьма плотно подогнаны друг к другу, но при этом не происходит их повреждения и заклинивания.
Другими словами, допустимый зазор поршневых колец позволяет после теплового расширения добиться такого теплового пространства (зазор между поршнем и цилиндром), при котором плотно прижатые к стенкам цилиндров поршневые кольца создают надежное уплотнение.
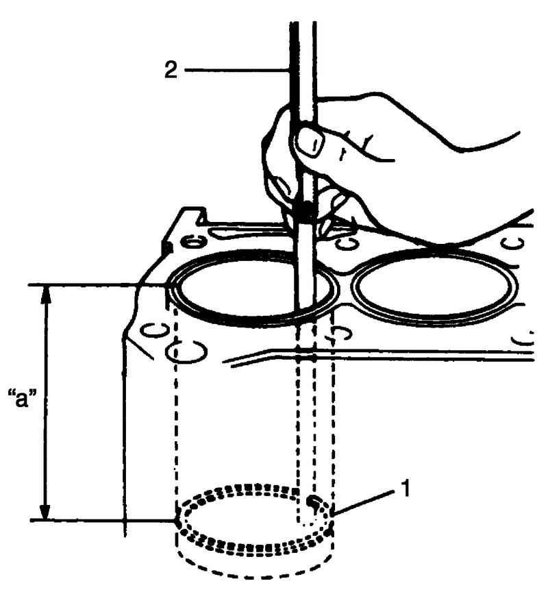
Поршневое кольцо не является цельным, так как имеет разрез (замок). Благодаря указанному разрезу удается избежать заклинивания при нагреве и достичь упругости кольца для плотного прижатия к стенкам цилиндра. После установки кольца на поршень и помещения поршня в цилиндр образуется зазор в замке поршневых колец. Такой зазор составляет 0.3- 0.6 миллиметра.
Рекомендуем также прочитать статью о том, как правильно менять поршневые кольца. Из этой статьи вы узнаете об особенностях замены поршневых колец своими руками.
Замок поршневого кольца может быть выполнен в виде прямого или косого среза. Замок с прямым разрезом менее предпочтителен, так как в области краев среза создается сильное давление на стенки цилиндра.
Данная особенность конструкции замка вызывает ускоренный износ зеркала цилиндров, после чего происходит утечка газов и повышается расход масла на угар. Увеличение зазора поршневого кольца от допустимых параметров ухудшает уплотнение. Уменьшение зазора колец может привести к их разрушению, заклиниванию или образованию задиров на стенках цилиндров.Как влияет тепловой зазор поршневых колец на расход масла
В последнее время среди производителей наблюдается тенденция к увеличению тепловых зазоров компрессионных поршневых колец. Зазоры на таких кольцах находятся в диапазоне от 1 до 2 мм. Обычно такой увеличенный зазор актуален для второго компрессионного кольца.
Дело в том, что прижим поршневых колец (как первого верхнего, так и второго компрессионного) практически полностью зависит не от степени упругости самого кольца, а от давления, которое возникает во время сгорания заряда топливно-воздушной смеси в рабочей камере. Отработавшие газы попадают в канавки на поршне, после чего оказываются на обратной стороне колец.
В результате происходит увеличение прижимного усилия колец к стенке цилиндра. Наиболее сильно газы воздействуют на первое (верхнее) компрессионное кольцо, а также влияют на прижим второго компрессионного поршневого кольца.
С учетом вышесказанного необходимо отметить, что в режиме работы двигателя на холостом ходу и малых нагрузках давление газов заметно слабее по сравнению с режимом средних и максимальных нагрузок. По этой причине компрессионные поршневые кольца не так сильно прижаты к стенке цилиндра на таких режимах работы ДВС.
Следует добавить, что второе компрессионное кольцо также частично снимает масло. Получается, недостаточное давление и слабое прилегание вызывает повышение расхода моторного масла на холостых оборотах и при минимальных нагрузках на мотор.
Для уменьшения расхода масла производители выполняют увеличение тепловых зазоров поршневых колец. Через увеличенные зазоры газы даже под относительно небольшим давлением намного активнее проникают в кольцевую канавку, после чего попадают на обратную сторону кольца.
Прижим колец улучшается, герметизация камеры сгорания остается на приемлемом уровне, при этом расход масла удается снизить. Единственным недостатком увеличенного зазора колец можно считать большее количество газов, которые попадают в картер через увеличенные зазоры.
Подведем итоги
От правильно подобранного теплового зазора поршневых колец зависит как ресурс самих колец, так и исправность работы всей ЦПГ. Естественный радиальный износ колец приводит к увеличению тепловых зазоров, после чего герметизация камеры сгорания ухудшается.
Одной из важнейших функций колец параллельно уплотнению и удалению масла является терморегуляция. Через кольца реализован отвод тепла от поршня. При увеличении теплового зазора, а также при его уменьшении данная функция выполняется менее эффективно.
знать типы зазоров поршневых колец
У нас есть три типа зазоров для поршневых колец.
- Зазор встык.
- Осевой зазор.
- Задний зазор или радиальный зазор.
1. Зазор встык :
- Также известен как зазор торца кольца или зазор зазора.
- Расстояние между соединительными поверхностями поршневого кольца. (или зазор между торцом кольца внутри вкладыша.)
- Этот зазор должен находиться в пределах, указанных производителем двигателя.
- Кольцо расширяется при горячем двигателе. Если зазор меньше минимального предела, концы соприкасаются из-за этого теплового расширения.
- Кольцо расширяется относительно вкладыша. Это увеличивает трение, что приводит к поломке кольца и заклиниванию поршня.
- Если зазор больше максимального предела, продукты сгорания продуваются кольцами и выхлопные газы попадают в картер.
- Это приводит к потере давления сжатия в цилиндре.

- Для измерения стыкового зазора вставьте кольца в нижнюю часть гильзы и убедитесь, что они находятся на одной линии с осью гильзы.
- Измерьте зазор между поверхностями поршневого кольца с помощью щупа.
- Запишите два набора показаний, вперед-назад и левый-направо.
2. Осевой зазор
- Зазор от вершины кольца до вершины кольцевой канавки.
- Выхлопные газы создают давление за поршневыми кольцами и толкаются к гильзе для надлежащего уплотнения.
- Если зазор меньше минимального предела, дымовые газы не могут проходить за кольца.
- Для измерения осевого зазора установите кольцо в соответствующую канавку так, чтобы оно упиралось в нижнюю поверхность канавки.
- Измерьте зазор между поршневым кольцом и верхней поверхностью канавки с помощью щупа.
- Запишите два набора показаний, вперед-назад и левый-правый борт.

3. Задний зазор
- Зазор от внутреннего диаметра поршневого кольца до внутреннего диаметра канавки.
- Толщина кольца должна быть меньше глубины канавки, чтобы внешняя поверхность кольца находилась внутри кольцевой канавки.
- При отсутствии заднего зазора кольца воспринимают боковую нагрузку. Это приводит к высокому трению и возможному заклиниванию поршня.
- Для измерения заднего зазора измерьте глубину канавки поршневого кольца с помощью глубиномера.
- Проведите оба этих измерения как минимум в 6 различных положениях по окружности канавки.
- Разница между двумя показаниями даст задний зазор.
* Задний зазор = глубина кольцевой канавки — толщина кольца.
Подписаться на: Опубликовать комментарии ( Атом )
Научное объяснение поршневых колец и канавок
| Практические советы — двигатель и трансмиссия
В канавке
Канавки для поршневых колец служат более важной цели, чем просто поддержка колец.
Они влияют на герметичность сгорания, контроль масла, трение и многие другие характеристики двигателя.
Wiseco является мировым лидером в области поршневых технологий, поскольку она уделяет особое внимание мельчайшим деталям науки об уплотнении цилиндров. Среди этих деталей тип поршневых колец, используемых в гоночных и высокопроизводительных двигателях, всегда является горячей темой. Но кольцевые канавки в поршнях также играют важную роль в герметизации давления сгорания и контроле масла и картерных газов.
Это одна из областей, где Wiseco прилагает дополнительные инженерные усилия, чтобы обеспечить максимальную производительность своих поршней. В то время как различные типы поршневых колец больше подходят для конкретных применений, сами кольцевые канавки часто упускают из виду в поисках оптимального уплотнения цилиндра.
Многие производители двигателей прилагают большие усилия для точного напильника торцевых зазоров, но зазор кольца в канавке часто не контролируется, а качество уплотняющей поверхности кольцевой канавки редко принимается во внимание.
Часто предполагаются зазор и качество кольцевых канавок. Wiseco делает все возможное, чтобы убедиться, что это правильно, даже если вы не проверяете это.
Десятилетия назад такие гонщики, как Билл «Ворчун» Дженкинс, покупали необработанные поршни и нарезали собственные кольцевые канавки именно там, где они хотели, и с желаемой отделкой и допуском. Сегодня в этом больше нет необходимости, поскольку производители уделяют большое внимание дизайну кольцевых канавок.
Граница между поверхностью кольца и стенкой цилиндра до сих пор широко обсуждается среди гонщиков и производителей двигателей, но не менее важным является уплотнение сгорания в кольцевой канавке. Для достижения наилучших результатов кольцевая канавка должна обеспечивать идеальный зазор и свободу перемещения кольца, а также должна обеспечивать твердую плоскую уплотняющую поверхность, на которую кольцо может опираться при высоком давлении в цилиндре.
Самый прочный поршень в мире становится бесполезным без кольцевых канавок, предназначенных для конкретного применения.
Номенклатура кольцевой канавки
Осевой зазор: Вертикальный зазор, остающийся в канавке поршневого кольца после установки кольца. В зависимости от применения вертикальный зазор обычно составляет 0,001–0,003 дюйма. С сегодняшними тонкими кольцами некоторые гонщики обеспечивают осевой зазор до 0,0004-0,0005 дюйма, используя газовые порты для увеличения давления в кольце.
Осевой зазор — это вертикальный зазор, остающийся в канавке над кольцом после его установки.
Радиальный задний зазор: Пространство кольцевой канавки за кольцом, когда поверхность кольца находится на одном уровне с кромкой поршневого кольца. Задний зазор 0,008-0,012 дюйма типичен для гоночных и высокопроизводительных поршней.
Радиальная толщина стенки: Размер кольца от передней поверхности, касающейся стенки цилиндра, до задней или внутренней поверхности кольца.
«D-стенка» — это стандартная автомобильная толщина (стандарт SAE), которая рассчитывается путем деления диаметра отверстия на 22. Например: диаметр отверстия 4,125 дюйма, разделенный на 22, равен 0,187 дюйма радиальной толщины стенки.
Осевая высота
Размер от одной боковой поверхности до другой или толщина кольца, обычно выражаемая в дробных размерах, таких как 1/16 дюйма, десятичных размерах, таких как 0,043 дюйма, или метрических размерах, таких как 1,5 мм. Меньшая толщина кольца означает меньшую массу и меньшую инерцию, которую необходимо преодолеть, когда кольцо меняет направление в ВМТ и НМТ. Более тонкое кольцо также создает меньшее трение, но существует взаимосвязь между размерами кольца, уплотнением и контролем масла.
Измерение зазоров кольцевых канавок
Осевой зазор обычно проверяют, вставив щуп между кольцом и верхней частью кольцевой канавки. Небольшое сопротивление укажет на правильный зазор.
Начните с минимального значения 0,001 дюйма и увеличивайте его. Не измеряйте между кольцом и дном кольцевой канавки, так как вы можете повредить поверхность уплотнения. Некоторые строители измеряют саму канавку стопкой щупов, а затем сравнивают это с измерением толщины кольца микрометром. Первый метод предпочтительнее, и рекомендуется проверить его в нескольких местах по периметру поршня.
Задний зазор проверяют, вставив край кольца в канавку и прижав его до упора к задней части канавки, чтобы убедиться, что он не выступает за поверхность кольцевой кромки. Вы можете определить задний зазор, измерив глубину кольцевой канавки с помощью шкалы глубины на наборе штангенциркулей, а затем сравнив ее с измеренной радиальной толщиной. Если кольцевая канавка слишком тонкая, чтобы ее можно было измерить с помощью штангенциркуля, можно использовать шкалу слесаря. Другой способ — использовать пластилин или мягкий воск; вдавите его в канавку, затем снимите и измерьте штангенциркулем.
В большинстве поршней используются просверленные отверстия для сброса масла в задней части канавки маслосъемного кольца. Некоторые из них имеют прорези, которые открываются при вырезании канавки. Они одинаково эффективны, но некоторые дизайнеры считают, что они позволяют больше гибкости на ринге.
Качество кольцевой канавки
Кольцевые канавки должны быть идеально перпендикулярны стенке цилиндра, чтобы давление в цилиндре могло прижать кольцо к поверхности и наружу к стенке цилиндра для оптимального уплотнения. Во время процесса сгорания давление в цилиндре движется вниз по объему щели и в кольцевую канавку над кольцом. Затем он заполняет зазор между кольцами и прижимает кольцо к стенке цилиндра. Осевой зазор в кольцевой канавке обеспечивает путь наполнения к задней части компрессионного кольца, поэтому кольцо прижимается к стенке цилиндра и дну кольцевой канавки.
Размер заднего пространства имеет решающее значение, поскольку он определяет время отклика кольца.
Слишком большой задний интервал замедляет реакцию кольца, но должен быть некоторый зазор, чтобы кольцо могло двигаться и соответствовать во всех динамических условиях. Основная цель осевого зазора — позволить кольцу вращаться. Штриховка в стенках цилиндра вызывает вращение колец. Вертикальные и горизонтальные газовые порты в поршнях также являются общепринятым способом направления давления в цилиндре на заднюю часть кольца.
Микросварка
Одной из наиболее серьезных проблем, связанных с тяжелыми гоночными и высокопроизводительными поршнями, является возможность «микросварки». Микросварка повреждает поверхность уплотнения поршневого кольца или кольцевой канавки, когда локальная сварка трением вызывает перенос материала с кромки кольца на сторону кольца, чаще всего на сторону нижнего кольца.
Основными причинами являются высокая температура и чрезмерное движение. Это часто сопровождает высокотемпературную износостойкость и/или работу с наддувом, когда расположение колец слишком высоко на поршне и слишком близко к повышенным температурам сгорания, или при длительной эксплуатации в тяжелых условиях.
Микросварка ухудшает качество уплотнения кольца и может даже заклинить кольцо в канавке. Следует отметить, что кольцевые канавки (особенно верхняя канавка) расширяются неравномерно, поскольку толщина материала неодинакова из-за профилей купола, тарельчатых профилей и клапанных клапанов.
Микросварка – это аномальный перенос или сварка материала контактной поверхности кольца на поршневое кольцо из-за чрезмерного нагрева. Это мешает кольцу двигаться должным образом и, если сильно, может заклинить кольцо в канавке.
Размещение кольцевой канавки
В течение многих лет тенденция тяготела к более плотным и высоким пакетам колец в двигателях без наддува. Он способствует стабильности за счет распределения точек контакта между кольцами и юбкой и уменьшает объем щели, что препятствует детонации и способствует более равномерному горению, делая цилиндр более активным. Гонщики в классах Super Stock всегда располагают верхнее кольцо как можно выше, чтобы обеспечить стабильность пакета колец и способствовать более активному и полному сгоранию.
Это также позволяет им использовать более короткие и легкие поршни.
Применения с принудительной индукцией и закисью азота, которые подвергаются экстремальным тепловым и ударным нагрузкам, обычно требуют перемещения верхнего кольца вниз от верхней части поршня примерно на 0,300 дюйма. Во многих случаях это также диктуется размером и расположением клапана, требованиями к гнезду клапана, радиальной шириной верхнего кольца и расположением поршневого пальца.
Иногда пакет колец перемещают вниз более чем на 0,400 дюйма, чтобы учесть эти проблемы. Характеристики кармана впускного клапана обычно определяют положение верхнего кольца, потому что впускной клапан всегда больше и находится ближе к краю днища поршня. Более тонкие кольца и кольцевые канавки меньшего размера обеспечивают больше возможностей для оптимального размещения колец, поскольку для них требуется меньше места, но они подвержены риску в тяжелых условиях эксплуатации.
Умеренные закиси азота в диапазоне 250 л.
с. будут работать с пакетом колец примерно на 0,250 дюйма вниз. Более того, чем больше, тем лучше, поскольку соотношение азота и топлива всегда хаотично и непредсказуемо. В этом случае 0,450 дюйма или более не является необоснованным.
Расположение пакета колец зависит от области применения и определяется компрессионной высотой поршня, размером и глубиной прорезей клапана, а также размерами пакета колец. Многие поршни OEM имеют верхнее кольцо на 0,300-0,400 дюйма ниже верхней части поршня. В приложениях на выносливость верхнее кольцо помещается на 0,125–0,150 дюйма вниз. В сильно модифицированных гоночных двигателях без наддува расположение верхнего кольца может варьироваться от 0,060 до 0,100 дюйма вниз от короны.
В поршнях для форсированных двигателей (справа) весь пакет колец смещен вниз по поршню, чтобы уберечь его от более высоких температур. Кольца расположены выше на безнаддувных поршнях с максимальным усилием (слева), чтобы свести к минимуму объем щели, приспособить более длинные штоки и расширить точки контакта, чтобы стабилизировать поршень на скале.
Это часто делается на Super Stock и модифицированных поршнях для дрэг-рейсинга.
Газовые порты и кольцевой флаттер
Ультратонким кольцам с низким напряжением требуется давление сгорания, обеспечиваемое газовым портом, для достижения оптимального уплотнения. В овальных поршнях для трековых и шоссейных гонок используются горизонтальные газовые порты в верхней части кольцевой канавки, чтобы противостоять накоплению углерода, в то время как в двигателях дрэг-рейсинга с меньшим сроком службы используются более эффективные вертикальные газовые порты.
Газовые порты создают прямое давление в цилиндре за кольцом, чтобы герметизировать кольцо относительно нижней поверхности кольцевой кромки и прижимать его наружу к стенке цилиндра. Диаметр и количество газовых портов во многом зависят от области применения и диаметра поршня. Давление газа должно прикладываться к кольцу равномерно, чтобы обеспечить хорошее уплотнение и предотвратить вредное колебание кольца.
Давление сгорания способствует герметизации кольца к стенке цилиндра. Давление в цилиндре поступает в кольцевую канавку из объема щели, проходит через верхнюю часть кольца и вниз за ним, чтобы вытолкнуть его к стенке цилиндра. Давление над кольцом прижимает его к дну канавки.
Горизонтальные отверстия для газа вокруг верхней части кольцевой канавки обеспечивают дополнительный путь для давления сгорания, достигающего задней части кольцевой канавки. Они используются в приложениях для выносливости, потому что они не науглероживают так сильно, как вертикальные порты.
Вертикальные газовые порты пересекают самую заднюю часть кольцевой канавки, оказывая прямое давление на заднюю часть кольца. Они используются в дрэг-рейсинге, где накопление углерода не является фактором из-за частых перестроек.
Канавки для уменьшения контакта
Эти канавки нарезаны в верхней кромке кольца над верхним кольцом для минимизации контактного сопротивления, когда поршень качается при реверсировании.
Они добавляют минимальный объем к объему щели, а также помогают противостоять детонации, нарушая распространение пламени в объем щели, где скачки давления могут сбросить кольцо.
Канавки для уменьшения контакта уменьшают трение за счет минимизации контакта материала поршня со стенкой цилиндра над верхним кольцом. Они также разрушают скачки давления, вызванные детонацией.
Канавка аккумулятора
Канавка аккумулятора выточена в поршне между верхним (компрессионным) кольцом и вторым (скребковым) кольцом. Его цель состоит в том, чтобы обеспечить дополнительное пространство для сброса давления, сбрасываемого за верхнее кольцо, и накапливаться до того, как оно попытается пройти через второе кольцо. Он поддерживает уплотнение верхнего кольца, сбрасывая давление, и помогает уменьшить вибрацию кольца из-за изменений давления. Аккумуляторные канавки оказались наиболее эффективными, и они являются общей чертой многих, если не большинства, высокопроизводительных и гоночных поршней.
Аккумуляторная канавка обеспечивает дополнительный объем под верхним кольцом, поэтому давление не увеличивается и не пытается сдвинуть верхнее кольцо.
Качество и расположение кольцевых канавок на ваших поршнях так же важно, как и характеристики вашего кулачка. Правильное размещение кольцевой канавки и высочайшее качество уплотнения являются ключом к большей мощности и долговечности в любых тяжелых условиях эксплуатации. Следовательно, важно, чтобы вы использовали кольца, указанные производителем вашего поршня, или были готовы поделиться информацией о своем пакете колец, если вы предоставляете свои собственные кольца. ТЭЦ
Фото Эвана Перкинса. 023 Ford Escape AWD Первая поездка: в поисках фокуса Джонни Ханкинс| Hyundai Может построить Radical N Vision 74 Coupe в образе пони нового века0268
Истории, рекомендованные MotorTrend
Познакомьтесь с подростками-злобными гонщиками из команды Алабамы 256


