Привод выключения сцепления гидравлический | Сцепление
На автомобиле применяется гидравлический привод выключения сцепления с педалью подвесной конструкции (ось качания педали расположена выше ее площадки). Такой тип привода получает все большее распространение на современных легковых автомобилях. Его преимущества по сравнению с механическим приводом сводятся в основном к следующему:
- Сцепление включается более плавно, что уменьшает динамические нагрузки в трансмиссии, особенно при трогании автомобиля с места, и повышает комфортабельность езды.
- Значительно улучшается герметизация пассажирского помещения кузова от проникновения в него пыли, грязи и влаги, поскольку (при педали тормоза также «подвесной» конструкции) в наклонном полу кузова отсутствуют люки для прохода рычагов педалей сцепления и тормоза.
- Не забрасываются грязью и хорошо защищены от пыли главные цилиндры гидроприводов выключения сцепления и ножного тормоза, расположенные достаточно высоко па идете кузова, и элементы механической части приводов, что облегчает техническое обслуживание этих узлов и повышает их долговечность.
- Нет точек смазки в приводе сцепления, что упрощает обслуживание автомобиля.
- Появляются значительные компоновочные возможности, так как «подвесные» педали сцепления и тормоза вместе с их главными цилиндрами можно разместить на щите передка кузова в соответствии с особенностями компоновки автомобиля.
Устройство привода выключения сцепления
Штампованная педаль сцепления 21 установлена на сварном кронштейне 12, укрепленном на кузове болтами 11 и шпильками 8 с гайками 7. Педаль сцепления качается на оси 16, которая неподвижно закреплена в кронштейне 12. Педаль фиксируется от проворачивания лыской, входящей в фигурное отверстие в одной из щек кронштейна педали.
Аксиальное перемещение оси ограничено шплинтом 13 и уступом лыски. В ступицу педали вставлены две вращающиеся на оси полиамидные втулки 17, имеющие буртики на одном из торцов.
Втулки имеют высокую износостойкость и не требуют смазки в процессе эксплуатации. На площадку педали надета резиновая накладка 31. Педаль удерживается в исходном (крайнем заднем) положении усилием оттяжной пружины 15. При этом нерегулируемый толкатель 14, шарнирно соединенный с педалью пальцем 19, упирается в ограничительную шайбу 5, зафиксированную в осевом направлении стопорным кольцом.
В исходном положении педали поршень 12 главного цилиндра сцепления под действием пружины 8 упирается торцом в шайбу 14. Между толкателем 14 и поршнем 4 предусмотрен постоянный зазор а = 0,2 — 1,0 мм, который обеспечивается в указанных пределах выбранными размерами этих деталей и ограничительной шайбы 5.
Указанный зазор обеспечивает поршню главного цилиндра возможность занять исходное положение (при включенном сцеплении), гарантирующее сообщение полости а цилиндра с наполнительным бачком 3 через компенсационное отверстие б.
В приводах сцепления и управления ножными тормозами оси педалей, полиамидные втулки, толкатели, накладки педалей и крепежные детали взаимозаменяемы. Главный цилиндр сцепления предназначен для создания давления в системе гидравлического привода сцепления. Цилиндр имеет чугунный корпус 9 внутреннего диаметра 22 мм с фигурным фланцем; во фланец ввернуты две шпильки 18, с помощью которых цилиндр и кронштейн 12 педали крепятся к щиту передней части кузова. Между фланцем корпуса цилиндра и щитом передней части кузова при сборке устанавливают до четырех (по потребности) регулировочных прокладок 6, изготовленных из листовой стали толщиной 0,5 мм каждая. Эти прокладки помогают установить исходное положение педали сцепления, которое должно обеспечивать полный ее ход L до упора в резиновый коврик пола, равный 150—155 мм.
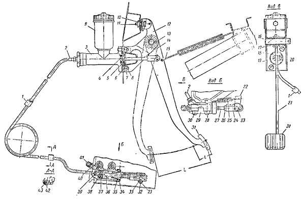
Рис. Привод выключения сцепления:
1 — кронштейн крепления соединительной трубки; 2 — соединительная трубка; 3 — главный цилиндр сцепления в сборе; 4 — поршень главного цилиндра сцепления; 5 — ограничительная шайба; 6 — регулировочная прокладка; 7 и 28 — гайки; 8 — шпилька крепления главного цилиндра; 9 — питательный бачок главного цилиндра сцепления; 10 — гайкодержатель; 11 — болт крепления кронштейна педали сцеплении; 12 — кронштейн педали сцепления: 13 — шплинт оси педали сцепления; 14 — толкатель поршня главного цилиндра сцепления; 15 — оттяжная пружина педали сцепления; 16 — ось педалей сцепления и тормоза; 17 — втулка оси педалей сцепления и тормоза; 18 и 33 — шайбы; 19 и 23 — пальцы; 20 и 32 — шплинты; 21 — педаль сцеплении; 22 — вилка выключения сцепления; 24 — наконечник толкателя; 26 — оттяжная пружина вилки выключения сцепления; 26 — контргайка; 27 — толкатель вилки; 29 — рабочий цилиндр привода включения сцепления; 30 — шпилька крепления рабочего цилиндра; 31 — накладка педали; 34 — защитный колпак; 35 — стопорное кольцо; 36 — поршень рабочего цилиндра; 37 — уплотнительная манжета; 38 — распорный грибок; 39 — пружина; 40 — клапан выпуска воздуха; 41 — защитный колпачок клапана; 42 — скоба крепления трубки; 43 — прокладка
На верху корпуса главного цилиндра расположен бачок 3, изготовленный из полупрозрачной пластмассы. В бачке содержится определенный запас тормозной жидкости, необходимый для нормальной работы гидравлического привода сцепления. Бачок закрыт пластмассовой резьбовой крышкой 1, в которой имеется отверстие для сообщения внутренней полости бачка с атмосферой, и укреплена отражательная пластина, предупреждающая выплескивание тормозной жидкости через указанное отверстие. На торец питательного бачка опирается фланец сетчатого фильтра 2, выполняющего одновременно функции успокоителя находящейся в бачке тормозной жидкости.
Питательный бачок 3 крепится к корпусу 9 главного цилиндра резьбовым штуцером 4, имеющим на торце шлиц под отвертку. Уплотнительная прокладка 5 после затяжки штуцера гарантирует герметичность соединения бачка с корпусом цилиндра. Через отверстие в штуцере 4 тормозная жидкость из бачка 3 самотеком поступает в корпус 9 главного цилиндра.
На находящийся внутри цилиндра поршень 12 надета резиновая уплотнительная манжета 13, препятствующая вытеканию жидкости из цилиндра. Поршень отлит из цинкового сплава. В головке поршня сделано шесть сквозных отверстий г, прикрытых тонким стальным кольцом-клапаном 11 и внутренней рабочей резиновой манжетой 10. На наружной поверхности манжеты имеются одна кольцевая и шесть продольных канавок. Пружина 8 прижимает манжету к поршню 12, а поршень — к упорной шайбе 14. Другим своим концом пружина упирается в резьбовой штуцер 7, закрывающий внутреннюю полость корпуса цилиндра.
Резиновый защитный колпак 16 предохраняет внутреннюю полость цилиндра от попадания пыли. Колпак плотно надет на проточку в корпусе цилиндра и стержень толкателя 17.
Рабочий цилиндр 29 сцепления укреплен с помощью двух шпилек 30 и гаек 28 с левой стороны картера сцепления. Внутренний диаметр рабочего цилиндра равен 22 мм.
Главный и рабочий цилиндры соединены между собой гнутой медной (6×1 мм) или двухслойной стальной трубкой 2 с омедненной внутренней и наружной поверхностями (6×0,7 мм). Спираль, расположенная в средней части трубки, компенсирует изменение расстояния между концами трубки, неизбежное при изменении положения силового агрегата, подвешенного на резиновых подушках, относительно кузова. Кроме закрепления по концам, трубка имеет две промежуточные точки крепления: на левом брызговике кузова с помощью кронштейна 1 и на картере двигателя с помощью скобы 42. Между крепежной деталью и трубкой проложены резиновые прокладки 43. Концы трубки имеют двойную коническую развальцовку, форма и размеры которой показаны на рисунке. До развальцовки концов на трубку надевают соединительные гайки, которыми она присоединяется затем к главному и рабочему цилиндрам.
Рис. Главный цилиндр привода сцепления:
1 — крышка бачка; 2 — сетчатый фильтр; 3 — бачок; 4 — штуцер бачка; 5 — прокладка штуцера бачка; 6 — прокладка штуцера главного цилиндра; 7 — штуцер главного цилиндра; 8 — пружина; 9 — корпус главного цилиндра; 10 — уплотнительная манжета главного цилиндра; 11 — клапан поршня; 12 — поршень; 13 — уплотнительная манжета поршня; 14 — упорная шайба; 15 — стопорное кольцо; 16 — защитный колпак; 17 — толкатель поршня; 18 — шпилька крепления главного цилиндра
Корпус 3 рабочего цилиндра представляет собой отливку из серого чугуна, имеющую с одной стороны открытую цилиндрическую полость, в которую вставлены литой алюминиевый поршень 7 с уплотнительной резиновой манжетой б, распорным грибком 5 и пружиной 4. Пружина постоянно прижимает сферическую поверхность грибка к уплотнительной кромке манжеты и через нее кромку к зеркалу цилиндра, что значительно улучшает уплотнение рабочего цилиндра, особенно при отсутствии давления в системе (сцепление включено).
Рис. Развальцовка концов соединительной трубки (размеры сечения трубок: стальной — 6 X 0,7; медной 6 X 1,0)
Рис. Рабочий цилиндр привода сцепления:
1 — защитный колпачок клапана; 2 — клапан выпуска воздуха; 3 — корпус цилиндра; 4 — пружина; 5 — распорный грибок; 6 — уплотнительная манжета; 7 — поршень; 6 — защитный чехол; 7 — стопорное кольцо
Ввернутый в корпус 3 цилиндра конический клапан 2 служит для удаления воздуха из системы гидропривода. Резиновый колпачок 1 надет на головку клапана и предохраняет внутренний канал клапана от засорения.
В сферическое углубление поршня 36 вставлен толкатель 27, который регулируется по длине. Толкатель регулируют ввертыванием или вывертыванием его из вильчатого наконечника 24. Положение наконечника фиксирует контргайка 26. Пружина 25 вилки 22 выключения сцепления постоянно прижимает толкатель к сферической поверхности поршня и, при отсутствии давления в системе гидропривода сцепления, перемещает поршень в крайнее переднее положение. Поскольку поршень 36 в цилиндре 29 может перемещаться в направлении, соответствующем выключению сцепления (на рисунке вправо), только под действием давления рабочей жидкости, исключается образование разрежения, а следовательно, и проникновение в цилиндр через неплотности поршня воздуха. Поэтому нет необходимости поддерживать в соединительной трубке 2 и перед поршнем 36 избыточное давление, которое обычно обеспечивается установкой в главном цилиндре двойного клапана, как это делается в гидроприводе тормозов (см. ниже). Все детали главного цилиндра сцепления, за исключением корпуса 9 и штуцера 7 взаимозаменяемы с соответствующими деталями главного цилиндра тормоза. Так как в главном цилиндре сцепления отсутствует двойной клапан, корпус и штуцер этого цилиндра отличаются от корпуса и штуцера главного цилиндра тормоза. Чтобы было легче отличить главные цилиндры сцепления и тормоза, их крепежные фланцы повернуты относительно друг друга на 60°. Защитный резиновый чехол 8 предохраняет внутреннюю полость рабочего цилиндра от грязи.
Работа главного цилиндра сцепления
Главный цилиндр сцепления работает следующим образом. При нажатии на педаль 21 толкатель 14 перемещает поршень 4, сжимая пружину 8.
Как только манжета 10 перекроет перепускное отверстие б, внутри цилиндра в полости а создается давление, и жидкость через отверстие в штуцере 7 и по соединительной трубке 2 проходит в рабочий цилиндр 29, вызывая перемещение поршня 36, толкателя 27 и связанной с ним через наконечник 24 и палец 23 вилки 22 выключения сцепления. Сцепление выключается. При том растягивается оттяжная пружина 25 вилки и сжимаются нажимные пружины 14.
При отпускании педали сцепления последняя возвращается в исходное положение пружиной 75, а поршень 12 главного цилиндра под действием возвратной пружины 8 перемещается вслед за толкателем 17 до упора в шайбу 14. При этом давление в системе падает, и нажимной диск сцепления, переменяясь под действием нажимных пружин, вновь прижимает ведомый диск к маховику. Сцепление включается. Перемещение нажимного диска до его упора в ведомый диск вызывает перемещение связанной с ним через отжимные рычажки пяты и упертого в нее подпятника.
Далее подпятник и связанная с ним вилка выключения сцепления перемещаются под действием оттяжной пружины 25, которая постоянно прижимает шток толкателя 27 к поршню 36 и передвигает последний в крайнее переднее положение. При этом поршень вытесняет жидкость из внутренней полости рабочего цилиндра 29. Жидкость по трубке 2 возвращается в полость а главного цилиндра.
При резком отпускании педали сцепления жидкость, возвращающаяся из рабочего цилиндра в главный, не успевает заполнить пространство, освобождаемое поршнем 12, и в полости а создается разрежение.
Под действием этого разрежения жидкость из полости д (куда она поступает через отверстие в) перетекает в полость а через отверстия г в головке поршня, отодвигая клапан 11 и края манжеты 10. Канавки на поверхности манжеты 10 облегчают проход жидкости из полости д в полость а. В дальнейшем избыточная жидкость но мере поступления ее из трубопровода вытесняется из полости а через компенсационное отверстие б в бачок 3. Перетекание жидкости из соединительной трубки в главный цилиндр сцепления прекращается, как только поршень рабочего цилиндра под действием нажимных пружин и оттяжной пружины вилки выключения сцепления возвратится в крайнее переднее положение.
ustroistvo-avtomobilya.ru
Главный цилиндр сцепления
Главный цилиндр сцепления (изредка встречается аббревиатура ГЦС) — это одна из трех основных деталей гидропривода сцепления. Гидропривод — это контур, котором циркулирует тормозная жидкость. Примечательно, что на одних автомобилях у сцепления есть отдельный контур, а на других он объединен с тормозным.

Задача гидропривода, как нетрудно догадаться — это передача усилия от педали на сам механизм сцепления, а если конкретнее — на рычаг его выключения. Главный цилиндр сцепления — это деталь, которая напрямую связана с педалью. Соответственно, располагается наш цилиндр аккурат за перегородкой, отделяющей педальный узел от моторного отсека – найти его нетрудно.
Когда водитель нажимает на педаль сцепления, он толкает шток с поршнем, который нагнетает давление жидкости в главном цилиндре. Как мы знаем из школьного курса физики, жидкость — штука несжимаемая, поэтому единственно возможный вид ее реакции на давление поршня — это вытечь из главного цилиндра.

Если система герметична, то тормозная жидкость вытекает через соединительные трубки и направляется прямиком в рабочий цилиндр сцепления. Но здесь, как говорится, возможны варианты. Износившийся со временем главный цилиндр может дать течь или начать перепускать тормозную жидкость, то есть не создавать необходимого давления. Причем самые уязвимые элементы здесь – это резиновые манжеты.
Прямое следствие неисправности — рабочий цилиндр будет не до конца оттягивать диск сцепления. В результате переключать передачи будет тяжело, и всё это в конечном счете чревато ремонтом КПП. В особо тяжелых случаях рабочий цилиндр вообще перестает качать жидкость, и педаль беспомощно проваливается в пол.
К счастью владельцев автомобилей с гидроприводом сцепления, рабочий цилиндр — деталь относительно недорогая, и легко заменяемая. Более того – в продаже обычно есть ремкомплекты, которые еще значительнее удешевляют процесс.
При первых симптомах неисправности (трудности с переключением передач, большой свободный ход педали сцепления) проверяйте уровень тормозной жидкости в системе и осматривайте цилиндр на предмет течи. Впрочем, иногда из строя может выйти не главный, а рабочий цилиндр сцепления.
Также встречается такая проблема как большой свободный ход педали. Это не смертельно для трансмиссии, но зато неудобно для водителя. Свободный ход можно отрегулировать, выставив зазор между педалью и поршнем. Обычно для этого в автомобилях есть специальная регулировочная гайка.
knowcar.ru
Для чего нужно сцепление в автомобиле и зачем левая педаль?
Как вы думаете, для чего нужно сцепление в автомобиле с механической коробкой? Для тренировки левой ноги, особенно в пробках или чтобы просто не она без дела не болталась? Шутка)))
Оказывается сцепление есть не только в автомобилях с механической трансмиссией, есть оно и в автоматических коробках передач.
Сейчас вот мы кратко и пробежимся по такому понятию как сцепление, и выясним принцип работы сцепления, для чего оно нужно в автомобиле, как устроено и какие разновидности имеет.
Любая конструкция трансмиссии автомобиля имеет узел, который разрывает связь между двигателем и остальными механизмами, участвующими в движении автомобиля.
Для чего нужно сцепление в автомобиле

Принцип работы сцепления состоит в следующем — для временного разъединения двигателя от трансмиссии. Для их плавного соединения при начале движения и легкого переключении передач, для предохранения деталей трансмиссии от избыточных нагрузок и сглаживания вибраций.
Сцепление расположено между мотором и коробкой передач.
Конструктивные особенности сцепления
По типам сцепления они могут быть гидравлическое, фрикционное, электромагнитное.
- в гидравлическом варианте связь достигается благодаря потоку жидкости;
- во фрикционном ‒ крутящий момент транслируется за счет использования сил трения;
- в электромагнитном – процессом управляет магнитное поле.
Самое распространенное, это как правило, у автомобилей с механическими коробками передач ‒ фрикционное.
На современных легковых авто устанавливают, однодисковое сухое сцепление, которое вместе с маховиком состоит из: нажимного и ведомого дисков, диафрагменной пружины, подшипника (нажимного) выключения, муфты и вилки.
Диск — ведомый

Задача ведомого диска – мягкое соединение двигателя с валом коробки передач. Он расположен между нажимным диском (НД) и маховиком.
Для плавности включения в предусмотрены демпферные пружины, которые гасят крутильные колебания.
С обеих его сторон диска установлены фрикционные накладки из стеклянных волокон и латунной проволоки, запрессованных в состав из каучука и смолы.
Этот материал выдерживает температуру до плюс 400°С.
На спортивных авто применяют керамический вариант, с накладками из углеродного волокна, кевлара и керамики. Существуют и еще более прочные накладки – металлокерамические, они выдерживают температуру до 600°С.
Диск нажимной

При помощи нажимного диска ведомый прижимается к маховику, а при необходимости освобождается от давления.
Нажимной присоединен к корпусу тангенциальными пластинчатыми пружинами. Они, при выключении сцепления, работают как возвратные.
Полученное таким образом плавное переключение передач, продлевает срок службы деталей коробки передач.
На нажимной диск давит диафрагменная пружина, она создает требуемое усилие сжатия для обеспечения передачи крутящего момента.
Наружным диаметром диафрагменная пружина упирается в края НД. Ее внутренний диаметр составляют упругие лепестки, на которые воздействует нажимной (или выжимной, разницы нет) подшипник.
Диафрагменная пружина, нажимной диск и корпус составляют один блок, который принято называть корзиной.
Выжимной подшипник

Подшипник выключения, он же выжимной подшипник – расположен на оси вращения и давит при работе на лепестки диафрагменной пружины.
Перемещается он с помощью вилки, связанной с педалью в салоне приводом сцепления.
Классификация
Классифицируют устройство сцепление по нескольким признакам.
- по связи ведущих и ведомых узлов таких как: гидравлические, фрикционные и электромагнитные;
- по состоянию поверхности трения — сухое и мокрое. В первом случае используют сухое трение дисков. Во втором – процесс происходит в жидкости;
- по нажимному усилию могут быть следующие варианты: центробежные, полуцентробежные, с центральной пружиной, с периферийными пружинами;
- по количеству ведомых валов встречаются одно-, двух- и многодисковые системы;
- по типу привода – с механическим или гидравлическим приводом.
Все перечисленные варианты (кроме центробежных) – замкнутые, то есть они постоянно выключены или включены водителем для переключения скоростей, во время остановки и торможения автомобиля.
Вот так, пока в общих чертах, для чего нужно сцепление в автомобиле.
В следующих статьях мы более подробно поговорим о наиболее распространенных вариантах конструкций: двойное сцепление, саморегулирующее сцепление. электронное сцепление.
До новых встреч, друзья, и не забудьте поделиться приобретенными знаниями с друзьями в соц.сетях.
auto-ru.ru
Устройство сцепления принцип работы и основные неисправности
Всем доброго времени суток! Рад продолжить диалог на автомобильную и около автомобильную тематику. Недавно мы говорили о нюансах работы двухтактных двигателей, о разновидностях систем регулирования фаз газораспределения. На очереди у нас сцепление, которое является неотъемлемым атрибутом автомобиля независимо от типа трансмиссии. Хочу обсудить в этом выпуске устройство сцепления — для многих может быть интересно узнать, как оно работает и как правильно эксплуатировать его, чтобы добиться безотказной службы.
Принцип функционирования
Прежде всего, взаимодействие между двигателем, сцеплением и коробкой передач необходимо для того, чтобы автомобиль мог беспрепятственно двигаться и останавливаться в требуемой точке. Впервые прообраз сцепления стал применяться создателями Мерседеса. Это позволило значительно упростить управление транспортным средством, поэтому сегодня работа автомобиля немыслима без этого важнейшего узла.
Итак, главный принцип работы устройства заключается в соединении первичного трансмиссионного вала и маховика силового агрегата. Благодаря такой схеме удается достичь плавности хода и переключения скоростей в коробке. Без сцепления затруднительно было бы трогаться с места. Оно устанавливается между коробкой передач и силовым агрегатом и дает возможность передавать крутящий момент от движка на колеса и, при необходимости, разрывать эту связь.
Однодисковое сцепление, как и другие его разновидности, подвержено серьезным нагрузкам в процессе эксплуатации. Многие из его составляющих требуют профилактики и своевременной замены. Неумелые и неопытные водители зачастую «палят» сцепление, и это выражение имеет под собой не только переносный смысл, поскольку в салоне автомобиля начинает ощущаться характерный запах гари.
Что входит в комплект
Поскольку назначение сцепления мы в основном затронули, пришло время посмотреть, из каких конкретно узлов оно состоит. В процессе развития автомобилестроения было известно множество различных конструкций, но лучше всех проявила себя следующая компоновка:
- диск сцепления, обладающий характерной круглой формой, включающий несколько основных элементов;

- диск нажимной (корзина) — его основание включает в себя пружины, совмещенные с прижимной платформой и компактно размещенные. В основании этого узла действует выжимной подшипник;

- подшипник выжимной, отвечает за механический привод в действие вилки, и размещается на первичном валу коробки передач;

- маховик.

Передача крутящего момента
Посмотрим теперь, как работает сцепление автомобиля в сборе. Ведомый диск постоянно зафиксирован вместе с маховиком при помощи диска нажимного. Чтобы автомобиль тронулся, ведомый диск должен соприкоснуться с маховиком, который вращается. Происходит это так: водитель выжимает педаль сцепления, что позволяет ему включить 1-ю скорость. Как только педаль отпускается, пружины диска нажимного соединяют ведомый диск с маховиком. Вследствие этого касания машина начинает постепенно двигаться. Скорость вращения диска и маховика постепенно выравнивается, чем и достигается движение транспортного средства.
Полностью крутящий момент передается тогда, когда выравниваются скорости вращения ведомого диска, диска сцепления и маховика. Если отпустить педаль слишком резко, машина может попросту заглохнуть — этим часто грешат начинающие водители. При переключении любой передачи, необходимо добиваться плавного хода педали, что позволит продлить срок эксплуатации этого узла, да и трансмиссии тоже.
Функционал исполнительного и главного цилиндров и неисправности
Важнейшим узлом сцепления является его привод, в который входит главный цилиндр, сама педаль, рабочий цилиндр, нажимной подшипник, систему трубопроводов, вилка включения. Размещается исполнительный (рабочий) цилиндр на картере сцепления. В разных моделях и марках авто его устройство не имеет принципиально разных конструктивных отличий. В его корпусе размещены поршень с толкателем, штуцер, уплотнитель под кольцо, пружина для выхода воздуха. Любой из этих элементов при выходе из строя подвергает риску неработоспособности сразу всю систему.
Функции рабочего цилиндра во многом совпадают с теми же, что выполняет главный. Они толкают рабочую жидкость по системе трубопроводов. Первый и наиболее часто встречающийся признак появления неисправностей в работе этого узла — провал педали либо чересчур мягкий ход. Он может означать то, что исполнительный цилиндр износился и начал подтекать. Вместе с демонтажом рабочего часто требует замены и главный цилиндр.
Если по Вашим ощущениям усилие при нажатии на педаль изменилось, первым делом нужно проверить уровень тормозной жидкости в системе, а также состояние, в котором находится гидравлический привод и шланги. Рабочую жидкость специалисты рекомендуют заменять спустя каждые 50 тысяч пройденных километров. При ее замене обязательно следует стравливать из системы весь воздух.
Современное сцепление характеризуется следующими основными неисправностями:
- провал педали или посторонние шумы;
- неполное включение или выключение передачи;
- затрудненное или резкое включение.
Зачастую к появлению проблем приводит неправильная эксплуатация со стороны самого водителя. Это может потребовать высокозатратного ремонта, поэтому куда экономнее будет научиться пользоваться сцеплением правильно. В ходе эксплуатации нужно постоянно контролировать уровень рабочей жидкости. При его недостаточном уровне нужно срочно устанавливать места вероятного подтекания и менять вышедшие из строя элементы.
Надеюсь, уважаемые читатели, что Вам была полезной представленная сегодня в блоге статья и схема работы узла. Мы немного больше стали знать об устройстве сцепления и принципах его взаимодействия в комплексе с двигателем и коробкой передач. А пока рекомендую прочитать три части моего обзора автомобиля Ford Focus 2, владельцем которого я был на протяжении 6 лет, в тексте найдете много полезной информации, а также советы тем, кто рассматривает его для покупки. Читайте новые публикации в самые ближайшие дни! На сегодня пока!
С уважением, автор блога Андрей Кульпанов

Место для контестной рекламы
Автор:Андрей
avto-kul.ru
Сцепление автомобиля. Принцип работы сцепления автомобиля
Сцепление автомобиля – это один из главных компонентов трансмиссии. Именно оно принимает на себя весь основной удар при переключении передач, защищает машину от перегрузок и гасит колебания. Как работает сцепление на автомобиле, как оно устроено, какие функции выполняет? Ответы на все эти вопросы – далее в нашей статье.
Характеристика
Сцепление автомобиля – это узел, предназначенный для кратковременного отсоединения двигателя от коробки передач и плавного их соединения при переключении скоростей.
На большинстве современных автомобилей данный элемент размещается между коробкой передач и двигателем внутреннего сгорания.Устройство сцепления автомобиля
По своей конструкции данная деталь представляет собой целую систему, состоящую из следующих элементов:
- Маховик. На него вырабатывается весь крутящий момент мотора. К маховику подсоединяется корзина. Это одна из наиболее стойких к нагрузкам деталь.
- Нажимной и ведомый диск сцепления. Данные детали тесно взаимосвязаны между собой. Нажимной диск сцепления может как соприкасаться, так и отпускаться от ведомого в зависимости от конкретного положения педали в салоне автомобиля.
- Вилка выключения. Данная деталь при нажатии педали разжимает диски.

- Первичный вал КПП. Это элемент, на который передается крутящий момент через сцепление автомобиля от ДВС.
Для чего нужен данный узел?
Как известно, двигатель вращается постоянно, а вот колеса – нет. И чтобы при каждой новой остановке автомобиля не приходилось глушить мотор, на коробке следует выключать ту или иную передачу, то есть путем нажатия на педаль сцепления активировать «нейтралку». При последующем движении данный узел способен снова совместить вращающийся двигатель и неподвижную КПП, плавно соединяя валы между собой. Благодаря этому происходит мягкое трогание автомобиля с места.
«Сухое» сцепление
Схема сцепления автомобиля практически всегда одна и та же (картер сцепления; подшипник выключения сцепления; втулка опорная вала вилки выключения сцепления; вилка выключения сцепления; нажимная пружина; ведомый диск; маховик; нажимной диск; кожух сцепления; первичный вал коробки передач; трос; педаль сцепления; муфта подшипника выключения сцепления; пластина, соединяющая кожух сцепления с нажимным диском; пружина демпфера; ступица ведомого диска). Однако этот узел имеет свои особенности. Некоторые производители оснащают машины разными типами узлов. Один из самых популярных на данный момент вариантов – фрикционный. При таком типе сцепления процесс передачи усилий крутящего момента осуществляются благодаря силам трения. Последние воздействуют на поверхностях соприкосновения ведомой и ведущей части. То есть передача усилий происходит напрямую между диском ДВС и КПП машины. Также данный тип сцепления называется «сухим». Особенно часто он устанавливается на полноприводные джипы.
«Мокрый» тип
Существует и так называемый мокрый тип сцепления. Чем он отличается от первого варианта? В нем имеется гидротрасформаторное масло между двумя дисками. Также на «мокром» узле нет такого жесткого сцепления между ведомым и ведущим диском.
По сравнению со своими аналогами он имеет целый ряд преимуществ. Среди них необходимо отметить хорошую защиту автомобиля от перегревов, а также высокую надежность работы механизмов. Однако есть у «мокрого» элемента и свои недостатки. Главный его минус – высокая стоимость, поэтому на большинстве бюджетных автомобилей такая система не используется.
Предназначение
Какие функции выполняет сцепление автомобиля? Прежде всего, данный узел необходим для плавного трогания автомобиля с места, о чем мы сказали в начале статьи. Если мотор с коробкой соединены жестко, то после включения передачи машина резко дергается вперед, так как на коробку передается сразу вся мощность от двигателя. Неправильное использование сцепления вызывает механическое повреждение деталей, а также приводит к частой остановке двигателя при трогании с места.

Благодаря работе сцепления, а именно скольжению ведущего и ведомого дисков, крутящий момент увеличивается постепенно. Движущие усилия возрастают не сразу, а потому машина трогается очень плавно и мягко.
Также коробка сцепления необходима для легкого переключения передач во время движения транспортного средства. Когда автомобиль едет с определенной скоростью, которая стабильно растет или уменьшается, возникает необходимость в переходе на повышенную или пониженную передачу, чему способствует своевременное разъединение валов узла между трансмиссией и двигателем. В противном случае для переключения передачи требовались бы более высокие усилия, что в дальнейшем спровоцировало бы быстрый износ КПП и других его механизмов. В частности, при принудительном переводе скорости повышается нагрузка на зубья шестерен. Таким образом, сцепление также выполняет функцию уменьшения нагрузки, которая действует на поверхность деталей КПП, что облегчает переход с одной передачи на другую. При этом коробка передач (фото данного механизма представлено ниже) терпит минимальные нагрузки от двигателя. А это значительно повышает срок службы деталей КПП, цена которых порой слишком велика.

Кроме того, работа сцепления направлена на уменьшение уровня нагрузок, действующих на КПП во время экстренного торможения автомобиля. Когда машина резко снижает скорость, момент вращения ее колес значительно уменьшается. Но поскольку трансмиссия в это время соединена с мотором, она обладает инерцией вращения и сохраняет прежнюю частоту оборотов. Это может привести к значительному повреждению ее деталей. Сама защита от перегрузок осуществляется проскальзыванием ведомых и ведущих дисков. В таком случае момент вращения стабилизируется максимально.
Как оно функционирует?
Принцип работы сцепления автомобиля заключается в трении нескольких дисков. Действие данного узла заключается в плотном сжатии рабочих поверхностей маховика и прижимной поверхности корзины. Ниже мы рассмотрим этот момент более подробно.

Когда узел находится в рабочем состоянии, под действием выжимной пружины диск корзины плотно прилегает к сцеплению и прижимает его к маховику. При этом первичный вал заходит в шлицевую муфту. Далее производится передача крутящих усилий на него от диска сцепления. Когда водитель нажимает на педаль, он задействует работу выжимного подшипника. Последний нажимает на пружину. Таким образом, поверхность корзины отходит от диска сцепления. После этого первичный вал КПП прекращает свое движение.
Особенности работы на автоматических коробках
В обычных АКПП такой элемент трансмиссии, как сцепление, попросту отсутствует. Зато на роботизированных и кулачковых «автоматах» она предусмотрена. Кстати, на последнем типе трансмиссий сцепление работает только при старте. В процессе движения данный элемент не функционирует.
На большинстве автоматических коробок используется многодисковое сцепление влажного типа. Однако выжим здесь происходит не путем нажатия определенной педали (которой попросту здесь нет), а сервоприводом (другими словами, актуатором). На данный момент принято различать несколько типов данных устройств:
- Электрический. Подобный сервопривод представляет собой шаговый двигатель. Он управляется при помощи ЭБУ (электронного блока управления).
- Гидравлический. Такой актуатор выполняется в виде гидроцилиндра. Он приводится в действие специальным гидравлическим распределителем.

На КПП типа «робот» используются два типа сцеплений. Они функционируют переменно. При выжиме первого для автоматического переключения определенной передачи второе ожидает команды для выжима следующей.
Продлеваем срок службы
Сцепление – это, пожалуй, один из самых износостойких элементов в конструкции автомобиля. Качественный узел может прослужить 200 и более тысяч километров. Однако чтобы ваша коробка не потребовала ремонта уже на первых неделях езды, нужно знать определенные правила эксплуатации.
При вождении автомобиля с механической трансмиссией, прежде всего, научитесь правильно нажимать на педаль. В то время когда вы приотпускаете ее, происходит включение сцепления. В этот момент пружина нажимного диска подводит ведомый механизм к маховику. Происходит плавное притирание элементов. За счет этого диск немного проскальзывает относительно маховика, последний также начинает вращаться.

На следующем этапе необходимо дать небольшое время узлу для того, чтобы обороты максимально сравнялись. Для этого следует удерживать педаль в средней позиции примерно 2-3 секунды. После этого количество оборотов маховика приблизится к скорости вращения диска. Итак, автомобиль потихоньку набирает ход.
Что же делать далее? Когда маховик с ведомым и нажимным диском стал самостоятельно вращаться с одинаковой скоростью и без проскальзываний, происходит максимально высокая передача крутящего момента. В таком случае необходимость в повторном разъединении КПП и двигателя отсутствует (разве что при экстренном торможении). Как только машина тронулась, а на спидометре уже больше 10 километров в час, педальку можно смело отпускать. Дальше аналогичным путем переключаемся на повышенную передачу вплоть до 5-й (если это позволяют ПДД).

Обратите внимание, что если при трогании с места внезапно сбросить педаль сцепления, машина будет ехать рывками, а через 3-4 секунды заглохнет. Это происходит из-за того, что при резкой притирке дисков мотор передает всю мощь на коробку, тем самым попросту рвет ее. Нагрузка на шестерни увеличивается, соответственно, ресурс механизмов трансмиссии уменьшается. Резко отпускать педаль при трогании не следует, так как это очень вредит вашему автомобилю. Лишь когда машина набирает достаточно большую скорость (это уже 3-5 передача), при переключении на повышенную можно «бросать» педаль сходу.
Как не сжечь этот узел?
Не стоит думать, что если долго давить на данную педаль, работа сцепления автомобиля будет стабильной, а машина от этого не пострадает. К примеру, на перекрестках и при остановке «на красный» следует сразу переключаться на «нейтралку». Если все это время (порядка 20-40 секунд) ваша нога будет находиться на педали сцепления, вы попросту его сожжете через 1-2 дня. Цена на него в зависимости от модели автомобиля колеблется в пределах от 200 до 1000 долларов и выше. Согласитесь, это довольно большая сумма.
Как показывает практика, при правильном использовании сцепления можно не менять корзину и диск на протяжении 100-200 тысяч километров (касается импортных марок машин). Главное – чувствовать, когда следует нажимать на педаль, а когда – нет. Если ваша остановка длится более 5-6 секунд, смело включайте «нейтралку». Сделать это можно и раньше, например если на расстоянии в 300 метров вы увидели красный сигнал светофора. В таком случае машина будет двигаться по собственной инерции. Кстати, используя «накат», можно значительно уменьшить расход топлива автомобиля.

Таким образом, не следует резко отпускать педаль сцепления, но и не нужно очень долго его держать. И в том и в другом случае вы рискуете ухудшить техническое состояние автомобиля.
Регулировка узла
Периодически автомобилю требуется регулировка сцепления. Со временем ход педали увеличивается, вследствие чего механизмы отключаются не полностью. То есть при максимальном нажатии на педаль валы не отключаются, а остаются «в притирке» с двигателем. А это, как мы уже сказали ранее, значительно увеличивает уровень нагрузки на зубья. В результате изнашиваются все компоненты узла.
Как это определить?
Понять, требуется ли вашему автомобилю регулировка сцепления, очень просто. Для этого нужно взять строительную рулетку и замерить расстояние от пола до резиновой накладки педали. На большинстве легковых автомобилей данное значение составляет порядка шестнадцати сантиметров. А выставляется ход педали при помощи специальной контргайки, которая находится на окончании троса под капотом. При этом механизм следует трижды нажать до упора (в пол).
Заключение
Итак, мы подробным образом рассмотрели особенности работы системы сцепления автомобиля. Как видите, данная деталь представляет огромную важность для двигателя и коробки передач. Поэтому не следует пренебрегать правилами ее эксплуатации и впустую жечь корзину при отсутствии особой надобности. Берегите свой автомобиль и эксплуатируйте сцепление бережно!
www.syl.ru
Устройство автомобиля: сцепление
Сцепление
Сцепление – это одна из составляющих трансмиссии. Трансмиссия передает крутящий момент от двигателя на ведущие колеса и изменяет величину крутящего момента, в том числе и его направления. В зависимости от трансмиссии ведущими могут являться, как задние, так и передние колеса. На рисунке 9.1 представлен пример трансмиссии заднеприводного автомобиля. Рис. 9.1. Схема трансмиссии заднеприводного автомобиля I — Двигатель; II — Сцепление; III — Коробка передач; IV — Карданная передача: 1 — эластичная муфта; 2 — шлицевое соединение; 3 — передний карданный вал; 4 — подвесной подшипник; 5 — передний карданный шарнир; 6 — задний карданный вал; 7 — задний карданный шарнир; V — Задний мост с главной передачей и дифференциалом: 8 — полуоси; 9 — ведущие (задние) колеса
Рассмотрим первую составляющую трансмиссии – сцепление. Сцепление передает крутящий момент от маховика коленчатого вала двигателя к первичному валу коробки передач.
Составляющими сцепления являются привод и самого механизма сцепления.
Привод выключения сцепления. Каждый механизм в автомобиле начинает свою работу при помощи привода. Так и сцепление. Привод выключения сцепления относится к приводу гидравлического типа. Схема привода сцепления представлена на рисунке 9.2.
Рис. 9.2. Схема гидравлического привода выключения сцепления и механизма сцепления
1 — коленчатый вал; 2 — маховик; 3 — ведомый диск; 4 — нажимной диск; 5 — кожух сцепления; 6 — нажимные пружины; 7 — отжимные рычаги; 8 — нажимной подшипник;
9 — вилка выключения сцепления; 10 — рабочий цилиндр; 11 — трубопровод;
12 — главный цилиндр; 13 — педаль сцепления; 14 — картер сцепления; 15 — шестерня первичного вала; 16 — картер коробки передач; 17 — первичный вал коробки передач
- Привод выключения сцепления состоит из следующих механизмов:
- педаль,
- главный цилиндр,
- рабочий цилиндр,
- вилка выключения сцепления,
- нажимной подшипник,
- трубопроводы.
Когда водитель нажимает на педаль сцепления давление его ноги через шток и поршень передается жидкости, а жидкость передает давление от поршня главного цилиндра на поршень рабочего. При помощи штока рабочего цилиндра перемещается вилка выключения и нажимной подшипник. Подшипник передает усилие механизму сцепления. После того как водитель отпустит педаль, возвратные пружины вернут все детали в исходное положение.
Механизм сцепления.
За счет силы трения, в этом устройстве осуществляется передача крутящего момента на ведущие колеса. При помощи этого механизма двигатель и коробка передач разъединяются на короткое время, а затем вновь соединяются.- Составляющие механизма сцепления:
- картер и кожух,
- ведущий диск (которым является маховик коленчатого вала двигателя),
- нажимной диск с пружинами,
- ведомый диск со специальными износостойкими накладками.
Итак, для того, чтобы машина поехала, водитель должен включить сцепление. Это происходит в три этапа:
1. Отпуская немного педаль, водитель предоставляет возможность пружинам нажимного диска подвести ведомый диск к маховику до их соприкосновения. За счет возникших сил трения ведомый диск начинает вращаться. Автомобиль начинает трогаться.
2. Удерживая педаль, мы тем самым удерживаем ведомый диск. Это нужно для того, чтобы скорость вращения маховика и ведомого диска сравнялась. На этом этапе автомобиль начинает увеличивать скорость.
3. На этом этапе диск и маховик вращаются с одинаковой скоростью, передавая крутящий момент коробке передач, а затем на ведущие колеса. Сцепление полностью включено, и машина едет (рисунок 9.3).
Для выключения сцепления необходимо нажать на его педаль. При этом нажимной диск отходит от маховика, ведомый диск освобождается, прерывая передачу крутящего момента от двигателя к коробке передач (рисунок 9.4) Рис. 9.3. Сцепление включено Рис. 9.4. Сцепление выключено
Основные неисправности сцепления.
Сцепление выключается не полностью. Причина: большой свободный ход педали сцепления, перекос нажимного подшипника, повреждение ведомого диска, поломка пружин. Способ устранения: регулировка свободного хода педали, выпуск воздуха из гидропривода, замена неисправных дисков и пружин.
Сцепление включается не полностью. Причина: малый свободный ход педали, замасливание (износ) фрикционных накладок ведомого диска, поломка пружин. Способ устранения: регулировка свободного хода, чистка или замена дисков, пружин.
Сцепление включается резко. Причина: заедание в механизме привода, задира на рабочих поверхностях дисков или маховика, разрушение фрикционных накладок ведомого диска. Способ устранения: замена неисправных узлов привода, устранение задиры на поверхностях дисков, замена ведомого диска.
Течь тормозной жидкости в приводе выключения сцепления. Причина: течь из главного или рабочего цилиндров, из соединительных трубок. Способ устранения: замена неисправных узлов, прокачка всего гидропривода (удаление воздуха).
www.prava.uz
🚘 Ремонтируем главный циллиндр сцепления ВАЗ 2101 — 2107
Сцепление — одно из самых важных частей автомобиля, при выходе из строя сцепления пользоваться автомобилем становится практически невозможно.

Главный цилиндр сцепления ВАЗ 2106
Несколько общих моментов: на всех классических моделях ВАЗ сцепление гидравлическое, то есть состоит из двух цилиндров, главного и рабочего. Главный цилиндр установлен сверху, он посредством действия на него педали сцепления создает избыточное давление, которое и заставляет двигаться рабочий цилиндр. Рабочий цилиндр — это цилиндр в системе сцепления, который двигает непосредственно вилку сцепления, устанавливается снизу и в нем содержится штуцер для прокачки сцепления.
Также важно знать, что с 2101 по 2107 все части сцепления идентичны и взаимозаменяются. Рабочей жидкостью в системе сцепления является обычная тормозная жидкость.
Установка ремкомплекта главного цилиндра сцепления
Определить когда необходимо ремонтировать главный цилиндр не сложно, основными признаками его неисправности являются:
- Недостаточное выключение сцепления (сцепление ведет)
- Любой вид подтекания, что из-под гаек крепления шланга и трубок, что из торца из-под резиновых уплотнителей
- Заклинивание главного цилиндра в нажатом положении
В моей же ситуации главный потек из-за износившегося уплотнительного кольца, иными словами жидкость потекла по педали сцепления в салон.
Ремонт я начал с демонтажа шланга бачка, открутил хомут на главном цилиндре и быстро его сняв с главного повернул вверх и защемил за крышкой бачка чтобы жидкость не вытекала из бачка. Далее я открутил трубку, которая идет к рабочему цилиндру, делал это я специальным ключом, жаль нет фотографии но приобрести такой можно без проблем в любом автомагазине. Осталось только открутить сам главный, он крепится двумя гайками на 13 и извлечь его из-под капота.

Главный извлечен

Снят пыльник, заметно, что жидкость текла отсюда
Подковырнув отверткой пыльник, я увидел откуда именно текла жидкость, предположение было абсолютно правильным.
Далее необходимо протереть цилиндр, удалить грязь и ржавчину.
Внимание!!! Нельзя использовать для мойки бензин или аналогичные жидкости, так как они очень быстро испортят новые резинки. Для промывки элементов сцепления и тормозов используют чистую тормозную жидкость.
После очистки от грязи, можно приступить к разбору. Для этого понадобится шило или аналогичный предмет.

Штопорное кольцо

Штопорное кольцо

Вытаскиваем кольцо
Далее нужно аккуратно извлечь внутренности, имея ввиду что поршень находится под действием пружины.

Вот так это выглядит
Далее необходимо очистить корпус главного цилиндра, нельзя скрести детали отверткой наждачкой и тп, это так на всякий случай, я использую тряпку с тормозной жидкостью. В мануалах по ремонту я часто встречал такие выражения, что если на деталях появились рыски, царапины и прочее то он не годен. Но вопреки всему этому практика показывает, что не смотря на все риски, при условии установки качественного ремкомплекта главный цилиндр работает без замечаний. Я использовал вот такой комплект:

Ремкомплект главного цилиндра сцепления ВАЗ
Снимаем старые кольца, чистим все канавки, отверстия. Там не должно быть не пыли ни мусора.

Кольцо снято, очищаем поршень, ставим новое
Спасибо за подписку!


Чистые «Внутренности»
А вот и кстати причина течи цилиндра сцепления:

Кольцо износилось не равномерно
После очистки и замены колец, можно собирать цилиндр, ниже фотография что и как должно стоять:

Здесь фото не очищенного, я его добавил сюда чтобы показать правильность сборки

Собрав цилиндр устанавливаем штопорное кольцо
Прокачка сцепления на ВАЗ 2106
После того как произвели ремонт, необходимо прокачать сцепление. Во всех руководствах по ремонту можно найти стандартную инструкцию по прокачке сцепления, но она может помочь не всегда.
- Первый вариант прокачки стандартный, он состоит в том, что необходимо заполнить бачок жидкостью, открутить штуцер для прокачки, одеть на штуцер шланг, а второй конец опустить в посудину с чистой жидкостью. Затем нажимая на педаль следим за тем когда перестанет выделятся воздух, также не забываем контролировать уровень в бачке.
- Второй способ состоит в задействовании помощника — один человек нажимает на педаль 4-6 раз и держит нажатой ее в пол. Второй откручивает штуцер для прокачки, со штуцера должны выходить пузырьки воздуха, как только они перестанут выходить необходимо завинтить штуцер, а после этого отпустить педаль. И так до восстановления нормальной работы педали и пока не перестанут выходить пузырьки воздуха.
- Есть еще самый простой способ прокачки, но который не всегда срабатывает — для его осуществления необходимо просто налить жидкость в бачек и отвинтить штуцер на рабочем цилиндре. Жидкость самотеком пройдет через всю систему и когда начнет стабильно вытекать из штуцера его можно завернуть и прокачку считать оконченной.
olade.ru





