Как правильно установить поршневые кольца на поршень
Износ двигателя – это еще не приговор для вашего агрегата. Не нужно впадать в панику, если при езде на вашем автомобиле наблюдаются следующие явления:
- резко ухудшилась динамика;
- значительно увеличился расход топлива и моторного масла;
- появились проблемы с запуском двигателя в холодное время года, хотя раньше их не было.
На эти признаки непременно стоит обращать внимание. Так как при длительной езде с изношенными деталями агрегата можно «попасть» на более серьезный ремонт, нежели обычная замена его комплектующих. Скорее всего, причина неполадок заключается в износе поршневых колец, который, в свою очередь, влечет за собой резкое падение компрессии двигателя.
Самостоятельная их замена имеет свои плюсы:
- экономятся финансы на оплате труда механика;
- вы точно будете уверены в том, что детали действительно стоят новые, так как не все механики добросовестно относятся к своим задачам, и иногда просто делают вид, что поменяли деталь;
- вы самостоятельно выберете их в магазине, что будет гарантией их качества и продолжительного функционирования.

Но если вы собрались произвести данную процедуру своими руками, нужно знать, как поменять поршневые кольца правильно. Именно об этом мы и постараемся рассказать в данной статье.
Что нам понадобится
Как и при любой другой процедуре, для начала нужно подготовить все необходимые инструменты:
- гаечные ключи;
- головки с трещоткой;
- динамический ключ;
- приспособление под названием съемник поршневых колец;
- сами кольца, купленные в магазине.
Приспособление для установки поршневых колец
Данный инструмент используется как для демонтажа, так и для установки деталей. Оно имеет достаточно простую конструкцию, а стоит относительно недорого. Если данного инструмента нет у вас в наличии, следует попросить его на время у кого-то из знакомых автомехаников. Если такой возможности нет, то придется покупать.
Стоит отметить, что его наличие является обязательным. В противном случае, при демонтаже и монтаже деталей можно повредить как поршень, так и кольца.

Как выбирать поршневые кольца
Можно долго рассуждать о важности данных деталей для нормальной работы двигателя. Но в конкретном случае речь пойдет именно об их замене. И здесь важно поставить на поршни качественные кольца без каких-либо дефектов или изъянов. От этого будет непосредственно зависеть то, насколько хорошо агрегат будет работать в будущем, и как долго прослужат установленные детали. Понятно, что часто их менять никому не хочется.
- Для начала, нужно обратить внимание на ценовую категорию. Дешевые детали точно долго не прослужат.
- Смотрим на внешний вид упаковки и самих колец. На упаковке должна обозначаться информация об изготовителе, материал и т.д.
На них должна быть нанесена маркировка, обозначающая верхнюю сторону.- Внутри упаковки или на ней должна иметься подробная инструкция по установке деталей.
- Сами детали не должны иметь каких-либо даже самых мелких дефектов. И не слушайте продавца, который, возможно, будет утверждать, что неровности на металле со временем притрутся.

Подготавливаемся замене
Правильная установка поршневых колец требует профессионального подхода даже в том случае, если вы собираетесь провести эту процедуру впервые в жизни. А для этого следует выполнить все подготовительные работы.
- Отключаем аккумуляторную батарею.
- Сливаем охладительную жидкость и моторное масло.
- Снимаем головку цилиндров и оцениваем состояние гильз.
Инструкция по замене деталей
Если соблюдать правильный порядок установки, данный процесс не займет много времени. В результате двигатель будет радовать хорошей динамикой и низким расходом топлива.
- Демонтируем поддон картера. Заодно можно снять и топливный насос для того, чтобы проверить насколько сильно тот изношен
- Откручиваем крышки шатунов, выталкиваем сами шатуны. Их лучше прочно зафиксировать при помощи зажима.

- При помощи специального приспособления снимаем поршневые кольца.
- С канавок убираем нагар, так как он помешает поставить новые кольца. Делаем это при помощи обломка старого кольца. Нагар нужно будет удалить и с днища поршней.
- Устанавливаем кольца в следующем порядке: сначала маслосъемное кольцо, затем – второе и первое компрессионное.
- Второе компрессионное и маслосъемные поршневые кольца устанавливать следует особенно осторожно, так как они сделаны из достаточно хрупкого металла. Важно не разжать их слишком сильно.
- Следим за правильным расположением замков поршневых колец. Они должны размещаться приблизительно под углом 120 градусов к каждому предыдущему замку.
- Устанавливаем поршни обратно в цилиндры. Для этого потребуется еще одно нехитрое приспособление – оправка для поршневых колец. Его наличие значительно упрощает вход поршней с установленными на них новыми кольцами. Но можно использовать и обычный кусок жестяной банки. Предварительно цилиндр нужно смазать моторным маслом.

- Собираем двигатель и устанавливаем на место поддон картера.
Проверка работы двигателя
После того как на поршни установлены новые кольца, следует убедиться в нормальной работоспособности агрегата. Для этого заводим мотор и даем ему немного поработать на холостых оборотах. Хорошим признаком является устойчивая работа агрегата. Первые две-три тысячи километров двигатель нужно будет эксплуатировать достаточно аккуратно. Его нельзя перегружать, следует избегать полной загрузки автомобиля, затяжных подъемов, воздерживаться от повышения оборотов более трех тысяч, а перед началом движения мотор обязательно нужно будет прогревать.
На видео показано как уставить поршневые кольца:
Как самому заменить поршневые кольца в двигателе
Снижение работоспособности автомобиля может быть из-за многих факторов. Поэтому и «лечение» такой болезни необходимо подбирать правильно. Существенным фактором является уровень компрессии в камерах сгорания блока цилиндров. Для такого диагноза подойдет замена поршневых колец.
Дополнительными признаками послужат угар моторного масла и снижение экономичности при расходе топлива автомобиля. Более точную картину даст замер компрессии с помощью специальных приборов.
Проведение замера компрессии в цилиндрах
Рассмотрим пример работы на классических моделях ВАЗ. Замерять компрессию необходимо на теплом двигателе. Показания холодного мотора могут исказить картину. Для замеров потребуется специальный манометр, оснащенный резьбовым наконечником. Его можно купить в любом автомагазине.

Внешний вид компрессометра
Начинается проверка с выкручивания всех свечей из своих гнезд. Затем отключается центральный кабель с катушки зажигания. Устанавливаем нейтральную передачу и поворачиваем дроссельную заслонку максимально на открытие. После этого компрессометр ввинчиваем в одно из свечных отверстий. В это время помощник должен проворачивать ручку стартера. Два-три качка будет вполне достаточно.
Уровень от 10 до 12 также допускается. Но если цифры оказались ниже 10 кг/см 2 , то это свидетельствует о низкой компрессии. Если же компрессия все-таки достигает удовлетворительного уровня, но немного с запозданием, то в этом случае ответственность может быть на клапанах.
Для уточнения можно в спорную камеру залить около 20 мл масла и снова прокрутить стартер, сделав замер. При установлении нормальной компрессии в 12 кг/см 2 , причина кроется в кольцах. Решить ее сможет правильная установка поршневых колец. Если же давление осталось низким, то причиной понижения служат клапаны.

Установка с помощью оправки
Разборка двигателя для замены колец
Перед заменой необходимо выполнить ряд подготовительных работ:
- необходимо слить отработанное моторное масло, ведь после установки новых колец нужно залить свежую рабочую жидкость;
- проводим ослабление приемной трубы глушителя;
- надо снять крышку клапанного механизма и выставить мотор по меткам;
- демонтируем звезду распредвала, а у переднеприводных ВАЗов снимаем болт крепления шкива ременной передачи, а затем и сам ремень ГРМ со шкивом;
- в классике ослабляем натяжитель, а затем также демонтируем цепь и звезду, установленную на распредвавле;
- потом демонтируем рокера с пружинами, раскладывая все в правильном порядке, чтобы собрать детали на свои места;
- снимаем головку блока, до этого нужно отсоединить коллектор;
- раскручиваем и избавляемся от поддона и маслонасоса;
- убираем крышки шатунов, а затем проталкиваем шатуны вверх, чтобы можно было вытащить их вместе с поршнем.
Проверка колец и поршней
Каждое кольцо с поршней снимается и проверяется в своем цилиндре. Чтобы не перепутывать их между собой, необходимо сразу раскладывать детали в определенном порядке. При поверке старых колец, наружный диаметр их не должен создавать зазор со стенками цилиндра больше, чем на 1 мм. Для сравнения можно вставить в тот же цилиндр новое кольцо.

Проверка теплового зазора в кольцах
Замеры обычно будут точнее в верхней части отверстия блока, так как том износ минимален.
Зазор можно проверить и в специальных калибрах. Нужно обратить внимание на тепловой зазор в поршневых кольцах, который должен быть в пределах от 0,25 до 0,45 мм. Его можно проверить щупом. Если параметр меньше, то допускается увеличение зазора с помощью подпиливания торцевой плоскости алмазным надфилем.
Диаметр поршней проверяется по нижней части (юбке). Делается это микрометром.
Необходимо сравнить этот показатель с таблицей допустимых значений. Дополнительно надо проверить зазор между канавкой поршня и кольцом. В случае превышения поршни надо менять. Предельное значение допуска составляет 0,15 мм. Поршни также проверяются визуально на наличие трещин и целостность перемычек под кольца. После промывки удовлетворительные поршни можно использовать дальше.
Процедура установки
Фирменные изделия проверенных производителей имеют удобную маркировку, благодаря которой понятно, как правильно установить поршневые кольца. На одной из сторон написано «TOP», что на английском означает «верх».

Обозначение на сторонах колец
Если никакой надписи не обнаружилось, то должна быть проточка по всему диаметру. Такой ступенькой надо обращать кольцо вниз.
Обычно используют два метода установки. Один из них более безопасный, а второй чаще применяют или большие профессионалы или абсолютные новички. Оба подойдут для самостоятельного применения во время ремонта.
Установка с помощью металлических пластин
В первом случае понадобится нарезать несколько плоских кусочков жестянки, толщиной примерно от 0,3 до 0,5 мм. Три или четыре таких листа располагают по диаметру поршня. На них надеваются кольца. И опускаются до уровня прорези. Потом оправка для поршневых колец из пластин вынимается, и колечко садится в нужный паз. Способ прекрасно подходит для любого мастера.

Монтаж поршневого кольца
Второй вариант требует определенного опыта и умения. Он заключается в том, что нужно пальцами развести зазор, увеличивая внутренний диаметр кольца до той степени, чтобы пропустить через него поршень и установить в нужный паз. Минусы заключаются в том, что часто неопытные слесари ломают много колец, применив большее усилие, чем нужно.
Необходимые действия после установки колец
Когда каждое кольцо заняло свое место в пазу, то нужно установить прорези примерно на 120 градусов друг от друга. Таким образом снижается вероятность прорыва газов из топливной камеры в полость картера.

Неправильная установка поршневых колец
Есть данные, что первое кольцо удерживает около 75 % всей компрессии, а второе – около 20%.
Если термозазоры разведены, то при прорыве некоторого количества газа через первое кольцо, он не успеет попасть дальше, в отличие от более близкого положения второго зазора.
Ошибки при установке поршневых колец
Установка новых колец в цилиндры, имеющие износ, является абсолютно не эффективной. Это связано с тем, что изношенное отверстие имеет форму эллипса. Ожидаемой качественной притирки не может произойти.

Комплект поршневых колец
Также на больших оборотах второе кольцо, состоящее из чугуна, может банально лопнуть.
При эксплуатации кольца в канавках набивают выработку. Такие зазоры расгерметизируют камеру сгорания и из нее газы поступают в картер. А в обратном направлении заходит масло. Проработать такая конструкция может несколько тысяч километров, а потом снова надо проводить ремонт.
Также грубой ошибкой будет сознательная установка зазоров напротив друг друга. Газы перегревают один бок поршня, и получается деформированная деталь. Происходит выгорание металла и дополнительная деформация всех элементов.
Как правильно поставить поршневые кольца?
Когда из выхлопной трубы автомобиля начинают вырываться клубы сизого дыма то, похоже, что наступил неизбежный этап в жизни машины — ремонт мотора. Признаки изношенности поршневой группы — повышенный расход бензина, высокий расход масла, выхлопные газы сизого оттенка, компрессия двигателя снижается ниже 10 кгс/см2 . Иногда удается обойтись просто заменой поршневых колец, даже не снимая двигатель с автомобиля. При этом потребуются только новые прокладки под головку и поддон блока. Остальные негодные детали определятся при разборке. О том, как правильно поставить поршневые кольца, мы и расскажем Вам в нашей статье.
Технические проблемы при изготовлении поршневых колец.
Для качественного изготовления поршневых колец требуется точное дорогостоящее оборудование. Должен соблюдаться тщательный контроль качества буквально на каждой операции. А их может набраться около сотни. Производители автомобилей за рубежом самостоятельно не изготавливают кольца. Они предпочитают заказывать их специализированным фирмам. Такие фирмы производят огромное количество колец и стандартных, и ремонтных размеров.
Проверка поршневых колец.
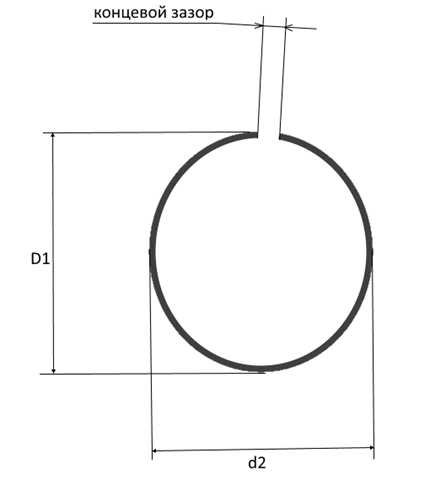
Случается, что производители поставляют поршни без наличия поршневых колец. Некоторые двигатели имеют огромное количество модификаций. Приобретая поршневые кольца, проверяйте высоту и радиальную их ширину на соответствие канавкам поршней. Между торцами кольца и канавкой зазор проще определить, если установить кольцо в канавку и воспользоваться набором щупов. При этом торцевой зазор должен быть в пределах 0,05-0,1 мм. Если же он окажется больше 0,12 мм, то это говорит о том, что у кольца или канавки поршня недопустимые отклонения размеров. Также необходимо проверять зазор в замках колец. Для этого кольца нужно поочередно установить в верхнюю часть цилиндра. С помощью набора щупов замеряют зазор в замке. Он должен составлять приблизительно 0,4-0,6 мм.
Установка колец на поршень.
Операция эта очень ответственная. Если работу выполнить неаккуратно, то может произойти поломка самого кольца. Чаще всего это случается со средним кольцом. А если нарушить ориентировку колец, то расхода масла у отремонтированного двигателя может увеличиться. На верхних кольцах обычно стоит слово ТОР (вершина). Этой стороной кольцо должно быть обращено к днищу поршня. Если средние кольца скребкового типа, то монтируют их скребком вниз. У колец, имеющих фаски на внутренней поверхности, чаще всего фаска должна быть обращена вверх. Когда устанавливаете кольца, то особое внимание обратите на наборные маслосъемные кольца, имеющие двухфункциональный пружинный расширитель. При монтаже дисков кольца звенья расширителя у стыка не должны вставать внахлест. Только после монтажа маслосъемного кольца на поршень устанавливают среднее и верхнее кольца. При установке нужно пользоваться специальными клещами. После того, как установите кольца, не забывайте проверять легкость вращения их в канавках.
Последовательность установки поршневых колец на двигатель.
1. Подготовьте поршневые кольца к установке. Для этого удалите консистентное средство. Для этого просто промойте их либо в бензине, либо в керосине, либо в уайт-спирите. После протрите и дайте просохнуть. Не допускайте попадания на поверхность кольца агрессивных веществ и даже воды.
2. Перед тем, как будете устанавливать поршневые кольца, смажьте и поршень, и поршневые кольца тонким слоем моторного масла.
3. Первым устанавливают маслосъемное нижнее кольцо. Перед тем, как будете устанавливать маслосъемное кольцо нужно проверить правильность расположения стыка пружинного расширителя. Он должен располагаться со стороны, противоположной замку кольца. На большинстве моделей маслосъемное кольцо состоит из трех отдельных секций. Посадив в нижнюю канавку поршня все три компонента маслосъемного кольца, нужно проверить свободу скольжения в канавке верхней и нижней рабочих секций.
4. Затем устанавливают нижнее компрессионное кольцо. Нижнее компрессионное поршневое кольцо нужно установить таким образом, чтобы маркировка была повернута к днищу поршня. Следуйте инструкции изготовителя колец. Используйте специальный посадочный инструмент. Старайтесь, чтобы замок кольца не был разведен больше чем это необходимо. Не перепутайте второе компрессионное кольцо с первым, верхним, компрессионным кольцом. Они имеют различное поперечное сечение.
5. И напоследок устанавливают верхнее компрессионное кольцо.
Типичные ошибки в ремонтной практике при работе с поршневыми кольцами.
1.Некоторые механики считают, что зазоры в замках колец должны быть минимальными. Но иногда это может привести к задирам колец и цилиндров. При нагревании кольца зазор в замке будет уменьшаться. А если он и так минимальный, то кольцо врежется в стенку цилиндра. Помните, что замена колец на поршнях, которые имеют разношенные канавки, или при большом износе цилиндров обычно неэффективна. Такая замена может привести к увеличению расхода масла.
2.Не устанавливайте в цилиндр стандартного размера кольца ремонтной размерности. Из-за деформации эпюры давления кольца на стенку появляется просвет.
3. При замене колец с поршнями нужно обратить внимание на износ цилиндра. Если не будет восстановлен изношенный цилиндр, то верхнее кольцо может упереться в канавку, образованную в результате износа. Дело в том, что новые поршни зачастую имеют некоторые отклонения в размерах. В таких условиях новые детали быстро сломаются.
Читайте также:
Все мы понимаем, что для правильной и грамотной покраски автомобиля, необходимо запастись хотя бы минимальным набором необходимых инструментов и материалов. В этой статье, рассмотрим этот самый минимальный перечень инструментов, без которого ну никак не обойтись, если вы действительно хотите, покрасить автомобиль.
Итак, для ремонта, прежде всего, необходимо снять коробку передач. О том, как это сделать правильно.
Как правильно поставить поршневые кольца?

Когда из выхлопной трубы автомобиля начинают вырываться клубы сизого дыма то, похоже, что наступил неизбежный этап в жизни машины — ремонт мотора. Признаки изношенности поршневой группы — повышенный расход бензина, высокий расход масла, выхлопные газы сизого оттенка, компрессия двигателя снижается ниже 10 кгс/см2. Иногда удается обойтись просто заменой поршневых колец, даже не снимая двигатель с автомобиля. При этом потребуются только новые прокладки под головку и поддон блока. Остальные негодные детали определятся при разборке. О том, как правильно поставить поршневые кольца, мы и расскажем Вам в нашей статье.
Технические проблемы при изготовлении поршневых колец.
Для качественного изготовления поршневых колец требуется точное дорогостоящее оборудование. Должен соблюдаться тщательный контроль качества буквально на каждой операции. А их может набраться около сотни. Производители автомобилей за рубежом самостоятельно не изготавливают кольца. Они предпочитают заказывать их специализированным фирмам. Такие фирмы производят огромное количество колец и стандартных, и ремонтных размеров.
Проверка поршневых колец.
Случается, что производители поставляют поршни без наличия поршневых колец. Некоторые двигатели имеют огромное количество модификаций. Приобретая поршневые кольца, проверяйте высоту и радиальную их ширину на соответствие канавкам поршней. Между торцами кольца и канавкой зазор проще определить, если установить кольцо в канавку и воспользоваться набором щупов. При этом торцевой зазор должен быть в пределах 0,05-0,1 мм. Если же он окажется больше 0,12 мм, то это говорит о том, что у кольца или канавки поршня недопустимые отклонения размеров. Также необходимо проверять зазор в замках колец. Для этого кольца нужно поочередно установить в верхнюю часть цилиндра. С помощью набора щупов замеряют зазор в замке. Он должен составлять приблизительно 0,4-0,6 мм.
Установка колец на поршень.
Операция эта очень ответственная. Если работу выполнить неаккуратно, то может произойти поломка самого кольца. Чаще всего это случается со средним кольцом. А если нарушить ориентировку колец, то расхода масла у отремонтированного двигателя может увеличиться. На верхних кольцах обычно стоит слово ТОР (вершина). Этой стороной кольцо должно быть обращено к днищу поршня. Если средние кольца скребкового типа, то монтируют их скребком вниз. У колец, имеющих фаски на внутренней поверхности, чаще всего фаска должна быть обращена вверх. Когда устанавливаете кольца, то особое внимание обратите на наборные маслосъемные кольца, имеющие двухфункциональный пружинный расширитель. При монтаже дисков кольца звенья расширителя у стыка не должны вставать внахлест. Только после монтажа маслосъемного кольца на поршень устанавливают среднее и верхнее кольца. При установке нужно пользоваться специальными клещами. После того, как установите кольца, не забывайте проверять легкость вращения их в канавках.
Последовательность установки поршневых колец на двигатель.
1. Подготовьте поршневые кольца к установке. Для этого удалите консистентное средство. Для этого просто промойте их либо в бензине, либо в керосине, либо в уайт-спирите. После протрите и дайте просохнуть. Не допускайте попадания на поверхность кольца агрессивных веществ и даже воды.
2. Перед тем, как будете устанавливать поршневые кольца, смажьте и поршень, и поршневые кольца тонким слоем моторного масла.
3. Первым устанавливают маслосъемное нижнее кольцо. Перед тем, как будете устанавливать маслосъемное кольцо нужно проверить правильность расположения стыка пружинного расширителя. Он должен располагаться со стороны, противоположной замку кольца. На большинстве моделей маслосъемное кольцо состоит из трех отдельных секций. Посадив в нижнюю канавку поршня все три компонента маслосъемного кольца, нужно проверить свободу скольжения в канавке верхней и нижней рабочих секций.
4. Затем устанавливают нижнее компрессионное кольцо. Нижнее компрессионное поршневое кольцо нужно установить таким образом, чтобы маркировка была повернута к днищу поршня. Следуйте инструкции изготовителя колец. Используйте специальный посадочный инструмент. Старайтесь, чтобы замок кольца не был разведен больше чем это необходимо. Не перепутайте второе компрессионное кольцо с первым, верхним, компрессионным кольцом. Они имеют различное поперечное сечение.
5. И напоследок устанавливают верхнее компрессионное кольцо.
Типичные ошибки в ремонтной практике при работе с поршневыми кольцами.
1.Некоторые механики считают, что зазоры в замках колец должны быть минимальными. Но иногда это может привести к задирам колец и цилиндров. При нагревании кольца зазор в замке будет уменьшаться. А если он и так минимальный, то кольцо врежется в стенку цилиндра. Помните, что замена колец на поршнях, которые имеют разношенные канавки, или при большом износе цилиндров обычно неэффективна. Такая замена может привести к увеличению расхода масла.
2.Не устанавливайте в цилиндр стандартного размера кольца ремонтной размерности. Из-за деформации эпюры давления кольца на стенку появляется просвет.
3. При замене колец с поршнями нужно обратить внимание на износ цилиндра. Если не будет восстановлен изношенный цилиндр, то верхнее кольцо может упереться в канавку, образованную в результате износа. Дело в том, что новые поршни зачастую имеют некоторые отклонения в размерах. В таких условиях новые детали быстро сломаются.
Порядок выполнения установки поршневых колец
Предназначение поршневых колец
Поршневые кольца, установка которых будет описана ниже, предназначены для исключения возможности газовой утечки через специальный тепловой зазор, который обязательно должен находится между поршнем и самим цилиндром, чтобы достигнуть свободного хода.
Зачастую кольцо изготавливают из чугуна, но они не теряют своей упругости. Такие элементы между двумя вышеупомянутыми деталями двигателя называют компрессионными. Что же касается иных разновидностей, то нижнее кольцо (оно шире компрессионных) отличается специальными прорезями, так как его функцией является съем чрезмерного количества масла, которое собирается на стенках цилиндра. Именно поэтому оно называется маслосъемным.
Общие рекомендации по замене
Когда выхлопная труба начинает «плеваться» сизым дымом, то ремонт мотора неизбежен. Фактически всегда, признаками износа деталей поршневой группы также является повышенный расход, как масла, так и бензина. В таком случае снижается и компрессия мотора отчего незащищен даже дизель. Из этого следует то, что правильно выбрать новые поршневые элементы — первоочередное дело любого владельца автомобильного транспорта и в лучшем случае ремонт обойдется только ими. Для этого нужно также установить всего-то парочку новых прокладок и поддон для блока. Прочие испорченные детали уже будут выявлены во время разборки мотора.
Покупая поршень, следует внимательно осмотреть его комплектацию, так как кольцо может не входить в комплект. Такое практикуют много производителей. Все из-за того, что есть не один мотор, который имеет уйму модификаций, поэтому при покупке товаров поршневой группы, необходимо заранее сопоставить их ширину и высоту с соответственными характеристиками канавок поршней.
Зазор, находящийся между канавкой и торцами намного легче определить, если поместить кольцо в эту же канавку и применить набор щупов. Он должен быть не больше одной десятой миллиметра и не менее 0,05 мм. В ином случае это будет означать, что-либо кольцо, либо канавка, не подходят по размерам. Зазор их замков также следует обязательно проверить. Чтобы это сделать, такие детали поршневой группы следует по очереди припасовать к цилиндру в верхней его части, а потом, при помощи щупов, замерять сам зазор, который не должен превышать 0,6 мм, но и не должен быть меньше 0,4 мм.
Замена
Если вы решили, что установка поршневых колец это именно то, что вам нужно для полноценного ремонта двигателя, то следующим шагом является их покупка. Обычно, качественный товар упаковывают соответственно и со вкусом. При выборе следует обращать внимание на внешний вид товара, на качество его окраски. Также обязательно должна быть маркировка.
Чтобы правильно начать ремонт, нужно вскрыть гбц. После этого нужно тщательно проанализировать состояние деталей и решить, нужно ли делать расточку самих цилиндров или притирку клапанов. Как подготовить поршневые кольца, как установить их без особых трудностей и прочее – все это будет описано ниже.
Подготовка
Само приспособление для установки поршневых колец продается в соответственных магазинах, и оно представляет собой щипцы. Если же нет возможности их приобрести, то подойдет небольшая плоская отвертка, но при ее использовании следует быть максимально внимательным и аккуратным. Старые детали поршневой группы можно либо сломать, либо снять.
Тем не менее поршневые кольца установка которых предельно проста, требуют максимально возможного соответствия канавок своим размерам. Поэтому хотя бы одну старую компрессионную деталь можно сломать, так как под ней во время работы образуется нагар, из-за которого установка новой будет очень затруднительна. Часть такой старой сломанной детали отлично подойдет для того, чтобы навести порядок на его прошлом рабочем месте.
Установка на поршень
Вот именно тот момент, когда приспособление для установки поршневых колец является незаменимым, так как ремонтные работы такого типа являются крайне ответственным делом и допущение ошибок просто неприемлемо. Элементы поршневой группы сами по себе хрупкие, поэтому нужно быть аккуратным и внимательным. Самым хрупким считается среднее. Когда идет его установка, есть большой риск поломки.

Очень важно соблюдать нужную ориентировку, так как, в противном случае вы добьетесь увеличенного расхода масла. Каждое кольцо имеет свою маркировку с пометками, так что особых проблем с правильностью размещения не должно быть.
Верхние поршневые кольца установка которых начинается первой, имеют маркировку «TOP» и этой стороной маркировки оно и должно быть направлено в сторону днища поршня.
Что же касается такой детали скребкового типа, то ее устанавливают скребком вниз. Установка деталей с фасками должна проводится так, чтобы эти самые фаски «смотрели» вверх.
Если же вы имеете дело с наборными маслосъемными элементами, имеющими специальный двухфункциональный расширитель пружинного типа, то сперва должна проводится установка верхних и средних. После того как данная ремонтная схема будет завершена, необходимо проверить легкость их вращения в самих канавках.
Установка поршней в цилиндр
Во время серьезных ремонтных работ устарелый цилиндр растачивают или подвергают хонингованию. Также применяют новенькие поршни ремонтного размера и кольцевые элементы того же типа, но с большим диаметром, с последующим их сжатием. Их следует смазывать маслом перед установкой, чтобы они легко «садились» на свое место. Посадка также не должна быть чересчур плотной, так как тепловое расширения из-за нагревания станет причиной заклинивания самого поршня.
Видео «Как поставить кольца на поршень»
Посмотрев запись, Вы узнаете, как в домашних условиях определить верх кольца и разобраться какое именно кольцо должно стоять в определенном месте на поршне.
»
Отличная статья 0
smotri-dtp.ru
Как правильно ставить поршневые кольца
Как поставить поршневые кольца на скутер
Ухудшение тяги, падение максимальной скорости, синий дым с глушителя и слабая динамика скутера – верный признак изношенных поршневых колец, либо изношенной цилиндро-поршневой группы. Чаще всего изнашиваются именно поршневые кольца, т.к. диаметр поршневой группы у скутеров небольшой, рабочая площадь колец очень маленькая и поэтому они не так долго ходят.
Итак, если Вы столкнулись с необходимостью замены поршневых колец на скутере, причем помимо основной проблемы то, что их нужно менять, существует и другая – это как правильно поставить кольца на поршень. Нельзя просто взять любое кольцо и поставить в любую из канавок» на поршне. Нужно понимать какое кольцо является верхним компрессионным, какое нижним компрессионным, а также как правильно поставить маслосъемное кольцо.
Установка поршневых колец на 4-х тактном китайском скутере.
На фото ниже отмечено, где какое поршневое кольцо.

Как Вы успели заметить, что в комплект поршневых колец состоит из двух компрессионных колец (верхнего и нижнего), а также из маслосъемного которое состоит из двух обычных (тонких) колец и центрального экспандера.
Второе компрессионное кольцо имеет темно-черный цвет, а также уникальную (скошенную) геометрию.

У разных производителей цвет колец может различаться, например на фирмы CMR — нижнее компрессионное кольцо имеет рыжий цвет.

На следующей схеме показано правильное расположение колец.

На компрессионных кольцах можно увидеть надписи, они могут быть разными в зависимости от фирмы колец, но суть их одна – установка колец должна производиться надписями ВВЕРХ ! Т.е. надписи должны быть направлены к головке цилиндра.

На маслосъемных (двух тонких) кольцах надписи, как правило нет, поэтому ставить их можно любой стороной, главное чтобы между ними был установлен так называемый экспандер, как показано ниже на фото.

Сам процесс установки колец на поршень мы опустим, т.к. сложного там ничего нет. Следует соблюдать только осторожность при заведении колец в пазы, т.к. кольца изготовлены из высокопрочного чугуна и сильное воздействие на растяжение может привести к поломке колец. Если Вы все сделали правильно, то в итоге кольца на поршне должны быть установлены, как показано на следующем фото.

Далее перед тем как устанавливать поршень в цилиндр, необходимо развести замки колец на правильное расстояние.

На этом все особенности установки поршневых колец на четырехтактный скутер озвучены, теперь можно ставить поршень в цилиндр, заранее смазав кольца и цилиндр маслом.
Установка поршневых колец на 2-х тактном скутере.
Итак, допустим Вы приобрели новый поршень с кольцами и хотите установить его на скутер. В комплекте с поршнем на двухтактный скутер идет только два компрессионных кольца.

В некоторых случаях, в зависимости от модели скутера в комплекте с кольцами может быть еще так называемый экспандер или как его еще называют – расширитель. Устанавливается такой экспандер под второе (нижнее) кольцо.

Перед тем как преступить к установке колец на поршень, необходимо понять, где верхнее компрессионное кольцо, а где нижнее. Т.к. кольца очень различаются в геометрии, неправильная установка одного из колец приведет к его поломке. Обратите внимание, что верхнее кольцо имеет внутренний скос, перед установкой тщательно осмотрите каждое кольцо. Ниже приведена схема установки, где наглядно показано, где какое кольцо должно стоять, а также где устанавливается экспандер, если таковой присутствует в комплекте.

Важно обратить внимание, что кольца имеют надпись на поверхности, которая должна быть ВВЕРХУ ! Т.е. надписи должны быть направлены к головке цилиндра.

Процесс установки колец очень простой, поэтому детально разбирать его нет смысла. Главное соблюдать аккуратность, т.к. кольца очень хрупкие. Постарайтесь аккуратно заводить кольца в пазы, без сильного воздействие на растяжение.
В завершении хотелось бы отметить, что на двухтактных поршнях присутствуют штифты, которые не позволяют кольцам провернуться.

Поэтому устанавливая кольца в пазы, обратите внимание на замки колец – они должны сходиться на штифтах, как показано на фото ниже.

Теперь, когда кольца стоят на своих местах, можно приступать к установке поршня в цилиндр, заранее смазав кольца и цилиндр маслом.
Монтаж поршней и поршневых колец
Самые большие проблемы поршневых колец и их повреждения возникают в результате неправильного обращения с ними при надевании на поршень. Здесь поршневое кольцо вообще подвергается самой большой механической нагрузке. Неумелое надевание колец невыгодно отражается на созданном в процессе производства контуре и распределении радиального давления кольца. В результате желаемый эффект уплотнения проявляется или лишь частично, или его нет вообще.
Поршневое кольцо можно растягивать до тех пор, пока внутренний диаметр не будет равен наружному диаметру поршня. Дальнейшее растягивание ведёт к деформации кольца, особенно на его спинке (рис. 1), что в установленном состоянии приводит к значительным проблемам с герметизацией.
Разрывы, отслаивание покрытия (прежде всего у колец, наполненных молибденом), меньшее усилие прижатия на спинке кольца и возникающие серповидные зазоры (рис. 2) являются проблемами, которые затрудняют работу кольца или вовсе выводят его из строя.
Поршневые кольца с целью повышения упругости никогда не разгибать! При растягивании стыковых концов кольцо деформируется только на одном месте — в его спинке. Упругость кольца из-за этого не повышается. Наоборот, при усиленном разгибании кольцо теряет свою круглую форму и не может больше никогда правильно уплотнять,

Рис. 2
Монтаж и демонтаж поршневых колец
Проведите тщательную очистку бывшего в употреблении поршня от прилипшей грязи. Обращайте внимание особенно на то, чтобы кольцевые канавки были свободны от масляного нагара и грязи. Прочистите при необходимости отверстия для обратного стока масла с помощью сверла или другого подходящего для этого инструмента.
Обращайте внимание на то, чтобы не повредить боковые поверхности канавки при удалении из них масляного нагара. У нижней боковой поверхности канавки речь идёт об уплотняющей поверхности. При эксплуатации повреждения из-за царапин могут повлечь за собой чрезмерный расход масла или усиленный прорыв газов из камеры сгорания в картер двигателя.
Для монтажа и демонтажа поршневых колец непременно используйте специальные щипцы для ихустановки. Другие вспомогательные средства, как, напр., петли из провода или отвёртки повреждают и поршневое кольцо и поршень.
Никогда не натягивайте кольца рукой (исключение: маслосъёмные поршневые кольца со стальными пластинками). Существует не только опасность излома кольца, его деформации и растяжения, но и риск получить ранение от острых краев кольца, если оно разломается.
Быстрое надевание поршневого кольца рукой без того, чтобы его сломать, доказывает, правда, ловкость механика, повреждает, тем не менее, поршневое кольцо в большинстве случаев уже при монтаже.

Рис. 3

Монтажный набор для поршневых колец
Никогда не натягивайте кольца на поршень показанным способом (рис. 1). Если кольцо деформируется и больше не лежит ровно в канавке, то оно больше не вращается в этой канавке, изнашивается только с одной стороны или не совсем достаточно уплотняет. Тем не менее, дело обстоитхуже, если с колец с молибденовым покрытием слой молибдена сходит или надламывается. Если потеря скользящего слоя не происходит уже при монтаже, то это случается самое позднее при обкаткедвигателя. Скользящий слой отделяется и повреждает поршень и поверхность цилиндра. Поршень заедает в диаметре цилиндра, потому что горячие отработавшие газы продуваются между поршнем и стенкой цилиндра. Оторвавшиеся частички повреждают поршень и рабочие поверхности цилиндра.
Избегайте излишнего снятия и надевания поршневых колец. При каждом монтаже кольца немного деформируются. Не снимайте кольца с уже ранее собранных поршней снова, чтобы, например, ихзаново измерить. Соблюдайте последовательность монтажа колец. Сначала монтируется маслосъёмное поршневое кольцо, затем второе, после него — первое компрессионные поршневые кольца. Обращайте внимание при монтаже на маркировку. «Тор» означает, что эта сторона должна указывать наверх, к камере сгорания. Если Вы не уверены, или нет маркировки «Тор», тогда вставляйте кольцо с надписью наверх. «Тор» не значит, что речь идёт о первом компрессионном поршневом кольце.

Рис. 2
Проверьте, могут ли кольца свободно прокручиваться (вращаться) в кольцевых канавках.

Проверьте, исчезаетли полностью кольцо по всей длине окружности в кольцевой канавке, т.е., рабочая поверхность кольца не должна выходить за пределы юбки поршня. Это важно, так как при недостаточном зазоре на дне канавки(неправильное кольцо или нагар на дне канавки) работа кольца не гарантирована.

При монтаже маслосъёмных поршневых колец, состоящих из двух частей, всегда обращайте внимание на положение спирального витого пружинного расширителя (рис. 6). Концы расширителя всегда должны быть расположены напротив стыка поршневого кольца.

Рис. 6
У состоящих из трёх частей колец правильное положение пружины-расширителя является обязательным для выполнения функции удаления масляной плёнки (рис. 1 и 2). В любом случае перед монтажом проверьте также у поршня с уже вставленными кольцами положение пружины-расширителя. Во время транспортировки концы пружины находятся в ненатянутом состоянии и могут находить друг на друга. Обе цветных маркировки на концах пружины должны быть видны (рис. 3). Если они не видны, то концы пружины перекрываются внахлёстку и кольцо не функционирует. Все стыки маслосъёмного поршневого кольца, состоящего из трёх частей (обе стальные пластины и пружина-расширитель), должны вставляться смещёнными на 120° по отношению друг к другу.
Сместите стыки поршневого кольца готового для монтажа поршня таким образом, чтобы они лежали примерно 120° по отношению друг к другу. Они помогают поршню и, соответственно, кольцам при первом запуске двигателя. Причина: при первом запуске двигателя сжатие несколько ниже, так как поршневые кольца ещё не приработались. При помощи смещения стыковых концов по отношению друг к другу можно помешать тому, чтобы при первом пуске двигателя слишком много газов просачивалось из камеры сгорания в картер двигателя и, вследствие этого, двигатель плохо заводился.

Вставка поршня во внутренний диаметр цилиндра
Если при ремонте уплотнительная поверхность блока цилиндров не подвергалась чистовой обработке, то основательно очистите её от остатков прокладки. Тщательно очистите все резьбовые отверстия от грязи, масла и охлаждающей жидкости, которая возможно ещё там есть. Проведите всю работу по очистке, прежде чем вставлять поршни в диаметры цилиндров. Смочите свежим моторным маслом все поверхности в поршне. Не забудьте поршневой палец и шатунный подшипник! При монтаже обращайте внимание на направление поршня (маркировка для монтажа на днище поршня, клапанных карманах). Очистите внутреннее отверстие цилиндра ещё раз ветошью и смочите его также моторным маслом. Проверьте Вашу натяжную ленту поршневого кольца на наличие повреждений и вмятин, устраните их и при необходимости поменяйте инструмент. При монтаже поршня обращайте внимание на то, чтобы натяжная лента или коническая монтажная втулка ровно лежала на уплотнительной поверхности головки блока цилиндров,

При монтаже поршня не должно быть сильного давления. Если поршень не хочет скользить внутри цилиндра, непременно проверьте натяжную ленту поршневого кольца. Не перекручивайте место открытия ленты таким образом, чтобы оно находилось на том же месте, где и стыковые концы колец.
Не устанавливайте поршни в двигатель без монтажного инструмента (риск получения травмы, опасность повреждения кольца). Если для монтажа используется рукоятка молотка, то на днище поршня может действовать только вес самого молотка. Никогда не используйте молоток для того, чтобы силой вогнать поршень в диаметр цилиндра! Если поршневые кольца не ломаются уже при монтаже, они всё-таки могут погнуться, и из-за этого не достаточнохорошо выполнять своё задание.
Монтаж с применением силы вредит не только кольцам, но также может повредить поршень. Это важно особенно для поршней бензиновых двигателей. У нихжаровые или рабочие пояса очень тонкие, и при ударе кольца легко надламываюся или совсем разламываются. Результат: потеря мощности и скорый (и дорогой) ремонт.
Избегайте того, чтобы грязь и песок попадали в диаметр цилиндра, после того, как поршни уже встроены. Положите при необходимости чистую ткань на/в отверстия, чтобы предотвратить загрязнение. Особенно тогда, когда работы проходят в пыльной обстановке и/или вне помещения.
Кольца компрессионные, маслосъемные, установка
Поршневые кольца
Поршневые кольца формируют уплотнение между стенкой цилиндра и поршнем. Должны обеспечивать хорошее уплотнение по всей плоскости цилиндра в широком диапазоне температур. В четырех тактных двигателях чаще применяется три кольца, из них два компрессионных и нижнее маслосъемное.
- Компрессионные кольца обеспечивают надежное уплотнение между цилиндром и поршнем для герметизации камеры сгорания.
- Отвод тепла от поршня к стенкам цилиндра.
- Маслосъемные кольца удаляют излишки масла со стенок цилиндра предотвращая его попадания в камеру сгорания. Однако удаляют не полностью, а регулируют, оставляя необходимое количество масла для компрессионных колец.
Первое компрессионное кольцо
Предназначено исключительно для предотвращения прорыва расширяющихся газов в камере сгорания. Во время цикла «рабочий ход» нарастающее давление в камере сгорания прижимает первое компрессионное кольцо ко дну канавки поршня и сильнее прижимает к стенкам цилиндра, тем самым обеспечивая достаточную изоляцию камеры сгорания. Давление в канавке кольца сохраняется на последующих тактах не
успевая снизиться. Зазор между кольцом и канавкой составляет 0.04-0.08 мм

Защищает второе кольцо от высокой температуры сгорания и уменьшает нагрузку. Имеет наибольший теплоотвод от поршня к цилиндру, примерно 50-60% отводимого тепла от поршня к цилиндру приходится на компрессионные кольца. Некоторая часть газов прорывается, второе кольцо приступает к выполнению своих функций, об этом чуть позже.
Компрессионные кольца производятся не совсем круглыми, а имеют сложную форму дуги в свободном состоянии и достаточно большой концевой зазор. Когда кольцо займет свое место в поршне и будет вставлено в цилиндр, оно будет обеспечивать равномерную прижимную силу в любой точке окружности.

Второе компрессионное кольцо
Работает в более благоприятных условиях и выполняет функцию дополнительного уплотнения так же из-за специальной формы помогает маслосъемному снять излишки масла, оставляя только масленую пленку на поверхности цилиндра. Средняя температура кольца 150 — 170 °C в режиме работы. Зазор между кольцом и канавкой поршня немного ниже чем у первого 0.03-0.06 мм. Разнообразие форм колец обуславливает выполнение определенных функций. Таких как распределение нагрузки в канавке, уменьшение трения юбки поршня методом аквопланирования по маслу, удаление излишек масла.

Фаска на внутренней стороне кольца определяет в какую сторону будет изгибаться кольцо. Если фаска снизу, то кольцо после нагрева будет выворачиваться наружной поверхностью вниз, как показано на картинке. И соответственно если фаска сверху, то и выворачиваться рабочая поверхность кольца будет вверх.
Маслосъемное кольцо
Под компрессионными кольцами располагается маслосъемное кольцо, выполняющее функцию удаления излишек масла со стенок цилиндра.
Большое количество масла, проникающее через компрессионные кольца в камеру сгорания, плохо сказывается на работе двигателя. В процессе работы сгорающее масло откладывается на стенках клапанов, камере сгорания, свечах, дне поршня. Большой нагар сильно разогревается, повышается вероятность детонации. Выпускные клапана подвергаются увеличенной температурной нагрузке.
Тонкий слой масленой пленки, оставляемый маслосъемными кольцами, снижает силу трения компрессионных колец, увеличивая их долговечность. В отличии от компрессионных маслосъемные не прижимаются рабочим давлением газа к плоскости канавки в поршне и стенкам цилиндра, поэтому имеют специальные осевые и радиальные расширители.
По конструкции можно выделить два типа колец: коробчатые и наборные те и другие могут иметь различные расширители.

При движении поршня вниз маслосъемные кольца соскребают со стенок цилиндра излишки масла направляя их по дренажным отверстиям в поршне обратно в картер. Масляный клин перед кольцом помогает эффективно смазывать скользящую юбку поршня. Стенки цилиндра имеют шероховатость, так называемый хон, который позволяет задерживать тончайший слой масла, для компрессионных колец.


Большее распространение получили наборные кольца, состоящие из двух тонких стальных пластин, (часто имеющих различные покрытия для снижения терния) и тангенциального расширителя, выполняющего одновременно осевое и радиальное расширение. Используются в современных двигателях.
Особенности установки маслосъемных колец
Хочу обратить ваше внимание на установку именно маслосъемных колец. С компрессионными не должно возникнуть проблем если соблюдать простые правила, устанавливать надписями вверх (надписи, точка) и пользоваться специальным инструментом.

При установки маслосъемных могут возникнуть трудности при отсутствии надписей, или правильность установки замка расширителя. Разберемся в этом подробнее. Если надписи отсутствуют, то не имеет значения какой стороной вы поставите кольцо и какое из них будет сверху, а какое снизу (наборные).
Часто ошибки возникают при установке поршня в цилиндр, даже если используется специальных хомут для стяжки колец на поршне. Особенность состоит в следующем. При сборке маслосъемного кольца стоит обратить внимание на замок расширителя и правильность его стыковки. Для наглядности смотрим изображение ниже.

Во время сжатия колец на поршне замок расширителя маслосъемного кольца может соскочить с правильного положения и лечь в нахлест собираясь по спирали, таким образом пластины проваливаются через расширитель и это приведет к задиру стенок цилиндра, и канавок поршня. Чтобы этого избежать стягивающий хомут следует располагать таким образок как показано на изображении.
Соблюдая простые правила, вы правильно установите кольца в цилиндре.
Правильная установка поршневых колец
Рано или поздно ваш мотор износится и потребует либо смены поршневых колец, либо поршневой в целом.
Вроде поменять поршневые кольца – это рядовая задача, доступная каждому, кто мало-мальски знаком с устройством и принципом работы примитивного четырехтактного мотора. Но, к сожалению, люди страшатся потратить 15 минут своего невероятно драгоценного времени на прочтение литературы и запихивают все в мотор по принципу (а так и стояло. наверное, работать будет). Ну, флаг вам в руки и скорейшего обращения в сервис.
Ну, а для тех, кому не все равно, как их мотор будет работать после переборки, следует прочитать данную статью.
Итак, берем поршень и видим 3 проточки под установку поршневых колец. Никаких ограничительных стопоров на 4-тактных моторах нет, как на 2-тактных двигателях, например.
На 4-тактных моторах есть два вида поршневых колец. Первые два, которые устанавливаются в две верхние проточки, являются компрессионными. Исходя даже из названия понятно, что они отвечают за наличие компрессии в вашем моторе и должный удерживать собой газы, образовывающиеся в момент вспышки за счет горения топлива в камере сгорания.
Следующие три кольца являются маслосъемными. Тут тоже сразу ясно их предназначение. Они отвечают за снятие масла, которое покрывает стенки цилиндра в тот момент, когда поршень возвращается вниз. Если эти кольца будут пропускать, то масло будет оставаться на стенках цилиндра, а это чревато тем, что мотор начнет поджирать масло, и, естественно, появится дым.
Как устанавливать первично? Да, в принципе, как и стояли с завода, в том же порядке, но во избежание ошибок показываем еще раз.
Первоначально ставим главное маслосъемное кольцо: то, которое имеет волнообразную структуру. Установить его проще некуда, так как оно самое эластичное из всех.
Дальше ставим верхнее и нижнее ТОНКИЕ маслосъемные кольца. Они немного тверже, но с их установкой тоже не должно возникнуть проблем.
Теперь ставим поршневые компрессионные кольца: те, которые более толстые и «твердые». Первоначально устанавливаем нижнее, затем верхнее. Поставить их немного сложнее, так как они менее эластичны и более твердые. Сломать вам их вряд ли удастся, но вот при совершенно кривых руках погнуть их проще некуда.
Думаете, на этом все? Нет!
Дело в том, что кольца еще нужно правильно расположить на поршне, чтобы замки колец (место пропила) не попадали друг на друга. Проще говоря, нужно, чтобы пропил нижнего кольца не был расположен прямо над пропилом верхнего кольца.
Начинаем с верхних поршневых колец.
Замок нижнего кольца располагаем посередине над полостью клапана, например, впускного (можно и выпускного, тут разницы нет).
Замок же верхнего кольца располагаем строго в противоположной стороне от нижнего кольца. Соответственно, если замок нижнего кольца над полостью под впускной клапан, то замок верхнего над полостью под выпускной клапан.
Теперь переходим к маслосъемным кольцам. Эти кольца точно так же нужно расположить, чтобы ни один замок не совпал. Поэтому верхнее кольцо располагаем над отверстием под поршневой палец, с правой стороны.
Второе же (то, которое нижнее) располагаем с противоположной стороны, также примерно посередине отверстия под поршневой палец.
Последнее же волнообразное маслосъемное кольцо ставим в любую из четырех получившихся секций между отверстием под палец и полостью под клапан.
А теперь к вашему вопросу: что за ерунду нам тут втирает автор? И зачем так кропотливо выставлять положение всех 5 колец?
Объясняем. Все это мы делали, чтобы не получилось так, что когда один замок располагался над другим, через эти замки не проходят газы (в случае с поршневыми кольцами) и не оставалось на стенках масло (в случае с маслосъемными кольцами).
Если брать во внимание поршневые кольца, то это потеря компрессии и пропуск раскаленных рабочих газов до маслосъемных колец, которые не рассчитаны на такие внезапно появившиеся высокие рабочие температуры. Как итог, кольца после определенного времени могут сгореть.
Если же обратиться к маслосъемным кольцам и совпадению замков на них, то у нас не будет полностью сниматься масло: оно будет доходить до поршневых колец, что приведет к закоксовыванию канавок колец, и как итог они залягут, а потом сгорят.
Как результат, вы получите сгоревшие кольца и износ поршневой.
Итог: выставить замки колец перед установкой – это дело 2 минут, а срок службы мотора данная операция может продлить на десятки часов.
arttrener › Блог › Как правильно устанавливать комплект с наборными маслосъемными кольцами на поршень
Столкнулся с тем, что нет нормального мануала по установке комплекта с наборными маслосъемными кольцами. Решил поделиться и заодно сохранить у себя в блоге частично информацию из этой записи . Свои фотографии не делал, т.к. и здесь все подробно описано, да и кольца у меня такого же производителя.
И так, приступим к копированию контекста)))
«…Далее нужно одеть кольца.
Кольца взял типа SM, сейчас они называются NPREurope. Маслосъемные кольца у них наборные.


Проверяем зазор в замках внутри цилиндров.

Зазор в замках нормальный. Около 0,45мм компрессионные, и 0,35мм наборные маслосъемные. В предыдущей записи я писал что зазор в маслосъемных очень маленький и их нужно подпилить, но это не так =). Расжав кольцо к гильзе зазор стал около 0,35. В сборе это делает сепаратор. Так что все ок.
Теперь непосредственно одеваем на поршня. Начинать нужно с сепаратора, а затем тонкие маслосъемные. И уже потом второе компрессионное и затем первое компрессионное.
Но прежде нужно сделать следующее.
Очень важный момент! Который почему то почти ни где не описывают. Не в мануалах, не с инструкцией к кольцам.
Что бы масло мотор не расходовал с наборными кольцами, необходимо что бы кольца правильно работали их нужно правильно сориентировать на поршнях.
Постараюсь объяснить доступно =)
Нужно взять в руки «лапшу» и сжать, состыковав замок. Вот так.

Далее, нужно пометить одну из сторон, например маркером. Я помечал выпуклую сторону на всех маслосъхемных кольцах.
Относительно поршня кольца должно быть сориентированы таким образом

Вот схематично накидал картинку для наглядности.

После того как кольца наборные установлены, устанавливаются вторые компрессионные кольца. Они чугунные, очень хрупкие, сильно разжимать нельзя — лопнут. Оно работает как компрессионное и частично как маслосъемное. Для этого у них бывает либо выточка, либо срез торца под углом. Так же обязательно присутствует надпись «ВВЕРХ» или «ТОР». Ее нужно ориентировать к днищу поршня, в сторону к камере сгорания. Для проверки можно еще ориентироваться на выточки. Если выточка внутренняя (по внутреннему диаметру кольца), то такой выточкой кольцо должно смотреть в сторону камеры сгорания, если выточка по наружному диаметру — то такой стороной ориентируем в сторону картера.
Верхнее кольцо стальное, я ставлю надписями вверх (обычно пишут че нить на кольцах), хотя разницы особой нет.
После того как кольца одеты, их нужно развернуть относительно друг друга на 180 градусов. Но не как попало.
Маслосъеные наборные относительно замков друг друга на 180гр, а относительно замка сепаратора на 90гр.
Замки всех колец нельзя ориентировать в сторону холодильника ( в сторону пальца).
Поэтому ориентируем в сторону юбок.




Приношу пользователю SkyRider огромную благодарность за столь подробное описание правильной установки поршневых колец с наборными маслосъемными кольцами.
Комментарии 119
А вот еще вопрос товарищи, в сипараторе маслосъемного кольца находится кусочек проволоки типа как направляющая чтоли, на тех что снял, такой направляющей нет, при установке может стоит снять эту проволоку, как быть?
Ничего снимать не надо! С кольцами обычно идет мануал. Читаем его и ставим как написано 🙂
Спасибо за пояснение и Вам и автору! У меня так же стояли заводские, специально сравнивал ))) (первый фокус, duratec 1.6 8v)
Непонятно конечно почему 180 градусов, разные производители — разные рекомендации. Колбеншмидт указывает 120 градусов для всех колец.
www.ms-motorservice.com/r…edija/post/montazh-kolec/
Наборные кольца сами по себе полнейшее гуамно. Проверено не на одном двигателе))))
Они гнуться в обе стороны, можете их помечать, можете по колдовать, к бабке сходить это ничего не изменит:)) я в шоке:)) во первых если бы эта чушь про «гнутость» наборных колец имела хоть как-то то роль, то кольца имели маркировку по установке от производителя! Все кольца где имеет значение сторона установки имеют МАРКИРОВКУ верх низ (у мало мальски приличных производителей, другими и смысла пользоваться нет). Но наши «Кулибины» умнее всех:)
Молодец, все правильно сделал (маслосъемные кольца установили правильно), один домик смотрит вверх а второй в низ. Если поставить оба домика вверх то жор масла обеспечен 100%. Проверено на многих двигателях.
По скребкам маслосъемного не понял: взял в одну руку — выгибается в одну сторону, взял в другую — и выгнулось в другую.
Потому что всё это полная бредятина)))))
Вроде хрень насчет наборных маслосъемных колец, на руках сейчас кольца npr зажимаешь его смотрит вниз беру другое тоже взниз .
Небольшие перекосы при зажатии все равно могут быть, но это не критично. Свободно это как — проваливаться или идти с натягом?
Разводишь кольца по 120 градусов, наборное маслосьемное так же замки разводишь что бы не стояли друг против друга, на отверстие в поршне вообще не смотри, пофиг оно до колец
У меня вопрос, как потом покупной оправкой аккуратно зажать поршень, что бы наборное кольцо не перекосило? И как проверить после в цилиндре, что оно все нормально село? Поршень должен свободно от руки ходить ?
Спасибо, на днях хочу этим заняться. Вижу костромское покрытие юбок не только у меня поцарапалось от примерки в цилиндры.
»
Отличная статья 0
smotri-dtp.ru
Правильная установка поршневых колец
Капитальный ремонт двигателя предусматривает замену многих деталей и узлов на новые. Установка поршневых колец на моторе – это процедура, которая позволяет восстановить начальную мощность и экономичность двигателя.

Инструменты и приспособления для работы
Перед установкой колец приготовьте такие инструменты и материалы:
- Динамометрический ключ.
- Набор головок для динамометрического ключа.
- Специальное обжимное устройство.
- Приспособление для облегчения переворачивания двигателя (если есть).
- Молоток (желательно с прорезиненной ручкой).
- Свежее моторное масло.
- Ветошь или бумагу для протирки от старой смазки.
Инструкция по правильной установке поршневых колец на поршень
Чтобы удобнее было контролировать процесс установки колец на поршень, его нужно надежно закрепить в тисках, так проще работать, и не понадобится посторонняя помощь. Надежно закрепив поршень в тисках, приступаем к установке. Берем комплект поршневых колец, и выбираем маслосъемное. Оно одевается первым, так как стоит ниже остальных. Сначала устанавливается пружина маслосъемного кольца, потом само кольцо осторожно устанавливается на поршень. Сильно разжимать маслосъемное кольцо не рекомендуется, чтобы оно не лопнуло.

Пружина маслосъемного кольца
После этого начинаем поочередно устанавливать компрессионные кольца. Чтобы правильно соблюсти очередность, следует внимательно смотреть на специальные метки на кольцах, там указано, где у него верхняя сторона.
Замки колец разводите в стороны на 120° С по отношению друг к другу (так рекомендуется в инструкциях по установке поршневых колец). Как и в случае с маслосъемным кольцом, компрессионные кольца не разжимайте сильно, чтоб они не лопнули.
Чтобы кольца без труда вошли в цилиндр, применяем специальное обжимное устройство (самодельное).
На устройстве вначале отпускается гайка, потом оно одевается на кольца и гайка зажимается. Вследствие этого кольца утапливаются в канавках поршня и легко заходят в цилиндр двигателя. Перед этой процедурой обжимное устройство изнутри рекомендуется смазать машинным маслом, чтобы процесс прохождения колец в цилиндр прошел легко.
Зажимать гайку обжимного устройства следует в меру, чтобы оно проворачивалось вокруг поршня от небольшого усилия. Затем с помощью молотка легким постукиванием осаживаем обжимное устройство, чтобы оно было заподлицо с поршнем.
После этого поршень можно «освободить» из тисков, перевернуть бугелем вверх, и снять его (бугель).
Берем шатунные вкладыши, протираем от масла, в котором они законсервированы, и устанавливаем на шатун, соблюдая при этом правильность совпадения специальных меток (выпуклостей). Вкладыши с шатуном должны быть заподлицо и не выпирать по краям.
Тщательно протерев вкладыши от старой смазки, в которой они хранились, их снова смазываем свежим моторным маслом. Это облегчит потом пуск двигателя, пока давление системы смазки не придет в норму. После этой процедуры поршень с кольцами готов к установке на свое законное место.
Для более правильной и легкой установки поршня на место, коленчатый вал установите в такое положение, при котором поршень должен быть в нижней точке.
На поршне сверху есть специальная метка, которую нужно повернуть в сторону «передка» двигателя.
Важно! Передняя часть мотора — это не всегда перёд автомобиля. Двигатель в некоторых машинах расположен поперечно моторного отсека.

Метка на поршне
Устанавливать поршень нужно ровно, ориентируясь на соседние поршни, которые установлены ранее (или еще не сняты).
Ещё кое-что полезное для Вас:
С помощью молоточка легкими постукиваниями добейтесь равномерного прилегания обжимного устройства к гильзе моторного блока. Когда «обжимка» плотно и равномерно прилегла к краю гильзы, нужно торцевой стороной молотка (чем он мягче, тем лучше), несильными, но уверенными постукиваниями осаживаем поршень в гильзу.
По смазанной маслом «обжимке» поршень с кольцами легко и уверенно «проскакивают» в цилиндр, затем несильными ударами торца молотка «проталкиваем» поршень в его нижнюю точку до упора.
После того как поршень встал на место и мастер убедился в правильности установки, принимайтесь за окончательное крепление шатуна на коленчатом валу.
Перевернув двигатель (а делать это лучше на специальном приспособлении), начинаем процесс крепления шатуна. Убедившись, что шатун и вкладыш сидят на своем месте (на шейке коленвала), приступаем к окончательному процессу крепления.
Для этого берем бугель (крышку шатуна), вкладыш и масло. Предварительно вытерев вкладыш от старой смазки, смазываем свежим моторным маслом. Устанавливаем вкладыш в бугель, совместив метки на обеих деталях. При установке бугеля на шатун замки на них должны совпасть. Остается только затянуть гайки крепления бугеля.

Чтобы правильно затянуть болты шатуна, нужно сначала наживить и накрутить болты крепления от руки, пальцами слегка затянуть (насколько хватит «здоровья»). Дальше, если придерживаться правил, воспользуйтесь динамометрическим ключом, который позволит вам затянуть болты надежно, но без «фанатизма», который потом может отразиться на работе двигателя.
Момент затяжки гаек должен соответствовать 50-ти ньютон метрам, соответствующая шкала имеется на каждом таком ключе, а в современных вариантах динамометрических ключей она бывает даже электронной. Затяжку гаек проводите постепенно и равномерно, сначала немного, одну гайку, потом вторую, и так до момента в 50 Нм.
В итоге установленный на шатун бугель должен выглядеть вот так.
После этих процедур ОБЯЗАТЕЛЬНО! возьмите гаечный ключ и проверните коленчатый вал, чтобы проверить, не закусил ли вкладыш шейку вала.
Вал должен крутиться легко и свободно, больших усилий, чтобы его провернуть, прикладывать не нужно, иначе повредите коленчатый вал и вкладыши. На этом установка поршневых колец и постановка поршня с шатуном на место, считается законченной.
ВАЗовский двигатель имеет не самую сложную конструкцию, поэтому почти каждому автовладельцу под силу самостоятельно заменить любую деталь мотора, сэкономив на ремонте двигателя немалую сумму из семейного бюджета. Руководствуясь нашими наставлениями, автолюбители могут самостоятельно заменить детали на только в двигателе, а и в любой части автомобиля.
Не забывайте, что процесс ремонта проводят на чистом двигателе, исправным инструментом, с применением оригинальных запчастей и материалов (смазок, масел, и т. д). Работа должна проводиться в хорошо освещенном помещении, чтоб было четко видно метки и обозначения на деталях.
Видео: Теория ДВС: ошибка установки малосъемного наборного поршневого кольца
topmekhanik.ru
Как правильно поставить поршневые кольца?
Технические проблемы при изготовлении поршневых колец.
Для качественного изготовления поршневых колец требуется точное дорогостоящее оборудование. Должен соблюдаться тщательный контроль качества буквально на каждой операции. А их может набраться около сотни. Производители автомобилей за рубежом самостоятельно не изготавливают кольца. Они предпочитают заказывать их специализированным фирмам. Такие фирмы производят огромное количество колец и стандартных, и ремонтных размеров.
Проверка поршневых колец.
Случается, что производители поставляют поршни без наличия поршневых колец. Некоторые двигатели имеют огромное количество модификаций. Приобретая поршневые кольца, проверяйте высоту и радиальную их ширину на соответствие канавкам поршней. Между торцами кольца и канавкой зазор проще определить, если установить кольцо в канавку и воспользоваться набором щупов. При этом торцевой зазор должен быть в пределах 0,05-0,1 мм. Если же он окажется больше 0,12 мм, то это говорит о том, что у кольца или канавки поршня недопустимые отклонения размеров. Также необходимо проверять зазор в замках колец. Для этого кольца нужно поочередно установить в верхнюю часть цилиндра. С помощью набора щупов замеряют зазор в замке. Он должен составлять приблизительно 0,4-0,6 мм.
Установка колец на поршень.
Операция эта очень ответственная. Если работу выполнить неаккуратно, то может произойти поломка самого кольца. Чаще всего это случается со средним кольцом. А если нарушить ориентировку колец, то расхода масла у отремонтированного двигателя может увеличиться. На верхних кольцах обычно стоит слово ТОР (вершина). Этой стороной кольцо должно быть обращено к днищу поршня. Если средние кольца скребкового типа, то монтируют их скребком вниз. У колец, имеющих фаски на внутренней поверхности, чаще всего фаска должна быть обращена вверх. Когда устанавливаете кольца, то особое внимание обратите на наборные маслосъемные кольца, имеющие двухфункциональный пружинный расширитель. При монтаже дисков кольца звенья расширителя у стыка не должны вставать внахлест. Только после монтажа маслосъемного кольца на поршень устанавливают среднее и верхнее кольца. При установке нужно пользоваться специальными клещами. После того, как установите кольца, не забывайте проверять легкость вращения их в канавках.
Последовательность установки поршневых колец на двигатель.
1. Подготовьте поршневые кольца к установке. Для этого удалите консистентное средство. Для этого просто промойте их либо в бензине, либо в керосине, либо в уайт-спирите. После протрите и дайте просохнуть. Не допускайте попадания на поверхность кольца агрессивных веществ и даже воды.
2. Перед тем, как будете устанавливать поршневые кольца, смажьте и поршень, и поршневые кольца тонким слоем моторного масла.
3. Первым устанавливают маслосъемное нижнее кольцо. Перед тем, как будете устанавливать маслосъемное кольцо нужно проверить правильность расположения стыка пружинного расширителя. Он должен располагаться со стороны, противоположной замку кольца. На большинстве моделей маслосъемное кольцо состоит из трех отдельных секций. Посадив в нижнюю канавку поршня все три компонента маслосъемного кольца, нужно проверить свободу скольжения в канавке верхней и нижней рабочих секций.
4. Затем устанавливают нижнее компрессионное кольцо. Нижнее компрессионное поршневое кольцо нужно установить таким образом, чтобы маркировка была повернута к днищу поршня. Следуйте инструкции изготовителя колец. Используйте специальный посадочный инструмент. Старайтесь, чтобы замок кольца не был разведен больше чем это необходимо. Не перепутайте второе компрессионное кольцо с первым, верхним, компрессионным кольцом. Они имеют различное поперечное сечение.
5. И напоследок устанавливают верхнее компрессионное кольцо.
Устанавливают поршневые кольца с применением специальной монтажной втулки или специальных щипцов. Поршневые кольца нужно сориентировать под определенным углом. Угол между замком верхнего компрессионного кольца и осью поршневого кольца должен быть 30-45 градусов. Замок нижнего кольца — под таким же углом к оси поршневого кольца, но диаметрально противоположно замку верхнего поршневого кольца. Замок маслосъемного кольца также устанавливают между замками компрессионных колец.
Типичные ошибки в ремонтной практике при работе с поршневыми кольцами.
1.Некоторые механики считают, что зазоры в замках колец должны быть минимальными. Но иногда это может привести к задирам колец и цилиндров. При нагревании кольца зазор в замке будет уменьшаться. А если он и так минимальный, то кольцо врежется в стенку цилиндра. Помните, что замена колец на поршнях, которые имеют разношенные канавки, или при большом износе цилиндров обычно неэффективна. Такая замена может привести к увеличению расхода масла.
2.Не устанавливайте в цилиндр стандартного размера кольца ремонтной размерности. Из-за деформации эпюры давления кольца на стенку появляется просвет.
3. При замене колец с поршнями нужно обратить внимание на износ цилиндра. Если не будет восстановлен изношенный цилиндр, то верхнее кольцо может упереться в канавку, образованную в результате износа. Дело в том, что новые поршни зачастую имеют некоторые отклонения в размерах. В таких условиях новые детали быстро сломаются.
portalvaz.ru
Как правильно ставить кольца на поршень: установка поршневых колец
Видео инструкция по установке поршневых колец на поршень Нивы ВАЗ 2113.
Как поставить поршневые кольца ВАЗ видео
Раньше на упаковках писали, как поставить кольца. Сейчас этого не делают.
Поскольку кольца хрупкие, то будьте аккуратны при вскрытии упаковки и установке колец. Каждое кольцо сделано под размер прорези, поэтому ошибиться невозможно.
На кольце обычно присутствует надпись «Top» (верх) или «ВАЗ». Если присмотреться, то на кольце с внутренней стороны можно увидеть фаску, похожую на зуб. Этот «зуб» должен стоять вниз. Он помогает снимать масло, если оно прошло сквозь маслосъёмное кольцо. Он должен быть сделан в виде острого угла. Если угол тупой — это, как правило, означает брак, некачественная деталь.
Если раньше была разница, как ставить кольцо, то теперь это не играет роли — вся поверхность хромирована. Ориентируемся на надпись — она должна быть сверху.
Порядок установки поршневых колец
- Снимаем пружинку, натягиваем кольцо и вправляем края. Берём маслосъёмное кольцо, слегка раздвигаем края и опускаем на поршень, одеваем под пружину. Проверяем: кольцо должно очень легко вращаться.
- Ставим второе кольцо, обязательно обращая внимание на зуб (он должен смотреть вниз). Слегка разжимаем края и натягиваем кольцо. Оно тоже должно свободно ходить.
- Верхнее компрессионное кольцо. Ставим его также надписью вверх. Если надписи нет, ставим фаской вверх (она находится с внутренней стороны кольца).
На Волгах обычно нет фаски и надписи. Это значит, что поставить кольца можно как угодно. Второе кольцо обычно всегда бывает чугунное, а верхнее — хромированное.
Ставим поршень в цилиндр. Ставим вкладыш, предварительно промазав его маслом. Также смазываем кольца и сам поршень. Внизу на поршне есть стрелка, указывающая как правильно его поставить в цилиндр.
Как ставить кольца?
Кольца разворачивают в разные стороны.
Используем приспособление для установки поршневых колец — инструмент в виде оправки.
Ставим обхватку на маслосъёмное кольцо, зажимаем плоскогубцами, следя чтобы прорезь была внутри обхватки, и слегка ударяем рукой по поршню. И так со всеми тремя обхватками. Если ставите заводской обхваткой, которая зажимает одновременно три кольца, то нужно аккуратно воспользоваться молотком. Главное — дожать оправку, так как если не дожать, то от удара кольца могут треснуть. Далее толкаем поршень вниз, и он становится на место.

Жанр статьи — Автомобили
ПОДКАТЕГОРИИ:
Монтаж поршней и поршневых колец
Самые большие проблемы поршневых колец и их повреждения возникают в результате неправильного обращения с ними при надевании на поршень. Здесь поршневое кольцо вообще подвергается самой большой механической нагрузке. Неумелое надевание колец невыгодно отражается на созданном в процессе производства контуре и распределении радиального давления кольца. В результате желаемый эффект уплотнения проявляется или лишь частично, или его нет вообще.
Поршневое кольцо можно растягивать до тех пор, пока внутренний диаметр не будет равен наружному диаметру поршня. Дальнейшее растягивание ведёт к деформации кольца, особенно на его спинке (рис. 1), что в установленном состоянии приводит к значительным проблемам с герметизацией.
Разрывы, отслаивание покрытия (прежде всего у колец, наполненных молибденом), меньшее усилие прижатия на спинке кольца и возникающие серповидные зазоры (рис. 2) являются проблемами, которые затрудняют работу кольца или вовсе выводят его из строя.
Внимание
Поршневые кольца с целью повышения упругости никогда не разгибать! При растягивании стыковых концов кольцо деформируется только на одном месте — в его спинке. Упругость кольца из-за этого не повышается. Наоборот, при усиленном разгибании кольцо теряет свою круглую форму и не может больше никогда правильно уплотнять,
![]() |
Рис. 2 |
Монтаж и демонтаж поршневых колец
Проведите тщательную очистку бывшего в употреблении поршня от прилипшей грязи. Обращайте внимание особенно на то, чтобы кольцевые канавки были свободны от масляного нагара и грязи. Прочистите при необходимости отверстия для обратного стока масла с помощью сверла или другого подходящего для этого инструмента.
Обращайте внимание на то, чтобы не повредить боковые поверхности канавки при удалении из них масляного нагара. У нижней боковой поверхности канавки речь идёт об уплотняющей поверхности. При эксплуатации повреждения из-за царапин могут повлечь за собой чрезмерный расход масла или усиленный прорыв газов из камеры сгорания в картер двигателя.
Для монтажа и демонтажа поршневых колец непременно используйте специальные щипцы для ихустановки. Другие вспомогательные средства, как, напр., петли из провода или отвёртки повреждают и поршневое кольцо и поршень.
Никогда не натягивайте кольца рукой (исключение: маслосъёмные поршневые кольца со стальными пластинками). Существует не только опасность излома кольца, его деформации и растяжения, но и риск получить ранение от острых краев кольца, если оно разломается.
Внимание
Быстрое надевание поршневого кольца рукой без того, чтобы его сломать, доказывает, правда, ловкость механика, повреждает, тем не менее, поршневое кольцо в большинстве случаев уже при монтаже.

![]() |
Монтажный набор для поршневых колец Товарный № 50 009 913 |
Никогда не натягивайте кольца на поршень показанным способом (рис. 1). Если кольцо деформируется и больше не лежит ровно в канавке, то оно больше не вращается в этой канавке, изнашивается только с одной стороны или не совсем достаточно уплотняет. Тем не менее, дело обстоитхуже, если с колец с молибденовым покрытием слой молибдена сходит или надламывается. Если потеря скользящего слоя не происходит уже при монтаже, то это случается самое позднее при обкаткедвигателя. Скользящий слой отделяется и повреждает поршень и поверхность цилиндра. Поршень заедает в диаметре цилиндра, потому что горячие отработавшие газы продуваются между поршнем и стенкой цилиндра. Оторвавшиеся частички повреждают поршень и рабочие поверхности цилиндра.
Избегайте излишнего снятия и надевания поршневых колец.
Как правильно установить поршневые кольца на поршень
При каждом монтаже кольца немного деформируются. Не снимайте кольца с уже ранее собранных поршней снова, чтобы, например, ихзаново измерить. Соблюдайте последовательность монтажа колец. Сначала монтируется маслосъёмное поршневое кольцо, затем второе, после него — первое компрессионные поршневые кольца. Обращайте внимание при монтаже на маркировку. «Тор» означает, что эта сторона должна указывать наверх, к камере сгорания. Если Вы не уверены, или нет маркировки «Тор», тогда вставляйте кольцо с надписью наверх. «Тор» не значит, что речь идёт о первом компрессионном поршневом кольце.
![]() |
Рис. 2 |
Проверьте, могут ли кольца свободно прокручиваться (вращаться) в кольцевых канавках.

Проверьте, исчезаетли полностью кольцо по всей длине окружности в кольцевой канавке, т.е., рабочая поверхность кольца не должна выходить за пределы юбки поршня. Это важно, так как при недостаточном зазоре на дне канавки(неправильное кольцо или нагар на дне канавки) работа кольца не гарантирована.
![]() |
При монтаже маслосъёмных поршневых колец, состоящих из двух частей, всегда обращайте внимание на положение спирального витого пружинного расширителя (рис. 6). Концы расширителя всегда должны быть расположены напротив стыка поршневого кольца.
![]() |
Рис. 6 |
У состоящих из трёх частей колец правильное положение пружины-расширителя является обязательным для выполнения функции удаления масляной плёнки (рис. 1 и 2). В любом случае перед монтажом проверьте также у поршня с уже вставленными кольцами положение пружины-расширителя. Во время транспортировки концы пружины находятся в ненатянутом состоянии и могут находить друг на друга. Обе цветных маркировки на концах пружины должны быть видны (рис. 3). Если они не видны, то концы пружины перекрываются внахлёстку и кольцо не функционирует. Все стыки маслосъёмного поршневого кольца, состоящего из трёх частей (обе стальные пластины и пружина-расширитель), должны вставляться смещёнными на 120° по отношению друг к другу.
Сместите стыки поршневого кольца готового для монтажа поршня таким образом, чтобы они лежали примерно 120° по отношению друг к другу. Они помогают поршню и, соответственно, кольцам при первом запуске двигателя. Причина: при первом запуске двигателя сжатие несколько ниже, так как поршневые кольца ещё не приработались. При помощи смещения стыковых концов по отношению друг к другу можно помешать тому, чтобы при первом пуске двигателя слишком много газов просачивалось из камеры сгорания в картер двигателя и, вследствие этого, двигатель плохо заводился.

Вставка поршня во внутренний диаметр цилиндра
Если при ремонте уплотнительная поверхность блока цилиндров не подвергалась чистовой обработке, то основательно очистите её от остатков прокладки. Тщательно очистите все резьбовые отверстия от грязи, масла и охлаждающей жидкости, которая возможно ещё там есть. Проведите всю работу по очистке, прежде чем вставлять поршни в диаметры цилиндров. Смочите свежим моторным маслом все поверхности в поршне. Не забудьте поршневой палец и шатунный подшипник! При монтаже обращайте внимание на направление поршня (маркировка для монтажа на днище поршня, клапанных карманах). Очистите внутреннее отверстие цилиндра ещё раз ветошью и смочите его также моторным маслом. Проверьте Вашу натяжную ленту поршневого кольца на наличие повреждений и вмятин, устраните их и при необходимости поменяйте инструмент. При монтаже поршня обращайте внимание на то, чтобы натяжная лента или коническая монтажная втулка ровно лежала на уплотнительной поверхности головки блока цилиндров,

При монтаже поршня не должно быть сильного давления. Если поршень не хочет скользить внутри цилиндра, непременно проверьте натяжную ленту поршневого кольца. Не перекручивайте место открытия ленты таким образом, чтобы оно находилось на том же месте, где и стыковые концы колец.
Не устанавливайте поршни в двигатель без монтажного инструмента (риск получения травмы, опасность повреждения кольца). Если для монтажа используется рукоятка молотка, то на днище поршня может действовать только вес самого молотка. Никогда не используйте молоток для того, чтобы силой вогнать поршень в диаметр цилиндра! Если поршневые кольца не ломаются уже при монтаже, они всё-таки могут погнуться, и из-за этого не достаточнохорошо выполнять своё задание.
Монтаж с применением силы вредит не только кольцам, но также может повредить поршень. Это важно особенно для поршней бензиновых двигателей. У нихжаровые или рабочие пояса очень тонкие, и при ударе кольца легко надламываюся или совсем разламываются. Результат: потеря мощности и скорый (и дорогой) ремонт.
Избегайте того, чтобы грязь и песок попадали в диаметр цилиндра, после того, как поршни уже встроены. Положите при необходимости чистую ткань на/в отверстия, чтобы предотвратить загрязнение. Особенно тогда, когда работы проходят в пыльной обстановке и/или вне помещения.
![]() |
Рис. 1 |
Видео инструкция по установке поршневых колец на поршень Нивы ВАЗ 2113.
Как поставить поршневые кольца ВАЗ видео
Раньше на упаковках писали, как поставить кольца. Сейчас этого не делают.
Поскольку кольца хрупкие, то будьте аккуратны при вскрытии упаковки и установке колец. Каждое кольцо сделано под размер прорези, поэтому ошибиться невозможно.
На кольце обычно присутствует надпись «Top» (верх) или «ВАЗ». Если присмотреться, то на кольце с внутренней стороны можно увидеть фаску, похожую на зуб. Этот «зуб» должен стоять вниз. Он помогает снимать масло, если оно прошло сквозь маслосъёмное кольцо. Он должен быть сделан в виде острого угла. Если угол тупой — это, как правило, означает брак, некачественная деталь.
Если раньше была разница, как ставить кольцо, то теперь это не играет роли — вся поверхность хромирована. Ориентируемся на надпись — она должна быть сверху.
Порядок установки поршневых колец
На Волгах обычно нет фаски и надписи. Это значит, что поставить кольца можно как угодно. Второе кольцо обычно всегда бывает чугунное, а верхнее — хромированное.
Ставим поршень в цилиндр. Ставим вкладыш, предварительно промазав его маслом. Также смазываем кольца и сам поршень. Внизу на поршне есть стрелка, указывающая как правильно его поставить в цилиндр. Кольца разворачивают в разные стороны.
Используем приспособление для установки поршневых колец — инструмент в виде оправки.
Ставим обхватку на маслосъёмное кольцо, зажимаем плоскогубцами, следя чтобы прорезь была внутри обхватки, и слегка ударяем рукой по поршню. И так со всеми тремя обхватками. Если ставите заводской обхваткой, которая зажимает одновременно три кольца, то нужно аккуратно воспользоваться молотком. Главное — дожать оправку, так как если не дожать, то от удара кольца могут треснуть. Далее толкаем поршень вниз, и он становится на место.

Жанр статьи — Автомобили
ПОДКАТЕГОРИИ:
Видео инструкция по установке поршневых колец на поршень Нивы ВАЗ 2113.
Как поставить поршневые кольца ВАЗ видео
Раньше на упаковках писали, как поставить кольца. Сейчас этого не делают.
Поскольку кольца хрупкие, то будьте аккуратны при вскрытии упаковки и установке колец. Каждое кольцо сделано под размер прорези, поэтому ошибиться невозможно.
На кольце обычно присутствует надпись «Top» (верх) или «ВАЗ». Если присмотреться, то на кольце с внутренней стороны можно увидеть фаску, похожую на зуб. Этот «зуб» должен стоять вниз. Он помогает снимать масло, если оно прошло сквозь маслосъёмное кольцо. Он должен быть сделан в виде острого угла. Если угол тупой — это, как правило, означает брак, некачественная деталь.
Если раньше была разница, как ставить кольцо, то теперь это не играет роли — вся поверхность хромирована. Ориентируемся на надпись — она должна быть сверху.
Порядок установки поршневых колец
- Снимаем пружинку, натягиваем кольцо и вправляем края. Берём маслосъёмное кольцо, слегка раздвигаем края и опускаем на поршень, одеваем под пружину. Проверяем: кольцо должно очень легко вращаться.
- Ставим второе кольцо, обязательно обращая внимание на зуб (он должен смотреть вниз). Слегка разжимаем края и натягиваем кольцо. Оно тоже должно свободно ходить.
- Верхнее компрессионное кольцо. Ставим его также надписью вверх. Если надписи нет, ставим фаской вверх (она находится с внутренней стороны кольца).
На Волгах обычно нет фаски и надписи. Это значит, что поставить кольца можно как угодно. Второе кольцо обычно всегда бывает чугунное, а верхнее — хромированное.
Ставим поршень в цилиндр. Ставим вкладыш, предварительно промазав его маслом.
Правильная установка поршневых колец
Также смазываем кольца и сам поршень. Внизу на поршне есть стрелка, указывающая как правильно его поставить в цилиндр. Кольца разворачивают в разные стороны.
Используем приспособление для установки поршневых колец — инструмент в виде оправки.
Ставим обхватку на маслосъёмное кольцо, зажимаем плоскогубцами, следя чтобы прорезь была внутри обхватки, и слегка ударяем рукой по поршню. И так со всеми тремя обхватками. Если ставите заводской обхваткой, которая зажимает одновременно три кольца, то нужно аккуратно воспользоваться молотком. Главное — дожать оправку, так как если не дожать, то от удара кольца могут треснуть. Далее толкаем поршень вниз, и он становится на место.

Жанр статьи — Автомобили
ПОДКАТЕГОРИИ:
Монтаж поршней и поршневых колец
Самые большие проблемы поршневых колец и их повреждения возникают в результате неправильного обращения с ними при надевании на поршень. Здесь поршневое кольцо вообще подвергается самой большой механической нагрузке. Неумелое надевание колец невыгодно отражается на созданном в процессе производства контуре и распределении радиального давления кольца. В результате желаемый эффект уплотнения проявляется или лишь частично, или его нет вообще.
Поршневое кольцо можно растягивать до тех пор, пока внутренний диаметр не будет равен наружному диаметру поршня. Дальнейшее растягивание ведёт к деформации кольца, особенно на его спинке (рис. 1), что в установленном состоянии приводит к значительным проблемам с герметизацией.
Разрывы, отслаивание покрытия (прежде всего у колец, наполненных молибденом), меньшее усилие прижатия на спинке кольца и возникающие серповидные зазоры (рис. 2) являются проблемами, которые затрудняют работу кольца или вовсе выводят его из строя.
Внимание
Поршневые кольца с целью повышения упругости никогда не разгибать! При растягивании стыковых концов кольцо деформируется только на одном месте — в его спинке. Упругость кольца из-за этого не повышается. Наоборот, при усиленном разгибании кольцо теряет свою круглую форму и не может больше никогда правильно уплотнять,
![]() |
Рис. 2 |
Монтаж и демонтаж поршневых колец
Проведите тщательную очистку бывшего в употреблении поршня от прилипшей грязи. Обращайте внимание особенно на то, чтобы кольцевые канавки были свободны от масляного нагара и грязи. Прочистите при необходимости отверстия для обратного стока масла с помощью сверла или другого подходящего для этого инструмента.
Обращайте внимание на то, чтобы не повредить боковые поверхности канавки при удалении из них масляного нагара. У нижней боковой поверхности канавки речь идёт об уплотняющей поверхности. При эксплуатации повреждения из-за царапин могут повлечь за собой чрезмерный расход масла или усиленный прорыв газов из камеры сгорания в картер двигателя.
Для монтажа и демонтажа поршневых колец непременно используйте специальные щипцы для ихустановки. Другие вспомогательные средства, как, напр., петли из провода или отвёртки повреждают и поршневое кольцо и поршень.
Никогда не натягивайте кольца рукой (исключение: маслосъёмные поршневые кольца со стальными пластинками). Существует не только опасность излома кольца, его деформации и растяжения, но и риск получить ранение от острых краев кольца, если оно разломается.
Внимание
Быстрое надевание поршневого кольца рукой без того, чтобы его сломать, доказывает, правда, ловкость механика, повреждает, тем не менее, поршневое кольцо в большинстве случаев уже при монтаже.

![]() |
Монтажный набор для поршневых колец Товарный № 50 009 913 |
Никогда не натягивайте кольца на поршень показанным способом (рис. 1).
Как ставить кольца поршневые
Если кольцо деформируется и больше не лежит ровно в канавке, то оно больше не вращается в этой канавке, изнашивается только с одной стороны или не совсем достаточно уплотняет. Тем не менее, дело обстоитхуже, если с колец с молибденовым покрытием слой молибдена сходит или надламывается. Если потеря скользящего слоя не происходит уже при монтаже, то это случается самое позднее при обкаткедвигателя. Скользящий слой отделяется и повреждает поршень и поверхность цилиндра. Поршень заедает в диаметре цилиндра, потому что горячие отработавшие газы продуваются между поршнем и стенкой цилиндра. Оторвавшиеся частички повреждают поршень и рабочие поверхности цилиндра.
Избегайте излишнего снятия и надевания поршневых колец. При каждом монтаже кольца немного деформируются. Не снимайте кольца с уже ранее собранных поршней снова, чтобы, например, ихзаново измерить. Соблюдайте последовательность монтажа колец. Сначала монтируется маслосъёмное поршневое кольцо, затем второе, после него — первое компрессионные поршневые кольца. Обращайте внимание при монтаже на маркировку. «Тор» означает, что эта сторона должна указывать наверх, к камере сгорания. Если Вы не уверены, или нет маркировки «Тор», тогда вставляйте кольцо с надписью наверх. «Тор» не значит, что речь идёт о первом компрессионном поршневом кольце.
![]() |
Рис. 2 |
Проверьте, могут ли кольца свободно прокручиваться (вращаться) в кольцевых канавках.

Проверьте, исчезаетли полностью кольцо по всей длине окружности в кольцевой канавке, т.е., рабочая поверхность кольца не должна выходить за пределы юбки поршня. Это важно, так как при недостаточном зазоре на дне канавки(неправильное кольцо или нагар на дне канавки) работа кольца не гарантирована.
![]() |
При монтаже маслосъёмных поршневых колец, состоящих из двух частей, всегда обращайте внимание на положение спирального витого пружинного расширителя (рис. 6). Концы расширителя всегда должны быть расположены напротив стыка поршневого кольца.
![]() |
Рис. 6 |
У состоящих из трёх частей колец правильное положение пружины-расширителя является обязательным для выполнения функции удаления масляной плёнки (рис. 1 и 2). В любом случае перед монтажом проверьте также у поршня с уже вставленными кольцами положение пружины-расширителя. Во время транспортировки концы пружины находятся в ненатянутом состоянии и могут находить друг на друга. Обе цветных маркировки на концах пружины должны быть видны (рис. 3). Если они не видны, то концы пружины перекрываются внахлёстку и кольцо не функционирует. Все стыки маслосъёмного поршневого кольца, состоящего из трёх частей (обе стальные пластины и пружина-расширитель), должны вставляться смещёнными на 120° по отношению друг к другу.
Сместите стыки поршневого кольца готового для монтажа поршня таким образом, чтобы они лежали примерно 120° по отношению друг к другу. Они помогают поршню и, соответственно, кольцам при первом запуске двигателя. Причина: при первом запуске двигателя сжатие несколько ниже, так как поршневые кольца ещё не приработались. При помощи смещения стыковых концов по отношению друг к другу можно помешать тому, чтобы при первом пуске двигателя слишком много газов просачивалось из камеры сгорания в картер двигателя и, вследствие этого, двигатель плохо заводился.

Вставка поршня во внутренний диаметр цилиндра
Если при ремонте уплотнительная поверхность блока цилиндров не подвергалась чистовой обработке, то основательно очистите её от остатков прокладки. Тщательно очистите все резьбовые отверстия от грязи, масла и охлаждающей жидкости, которая возможно ещё там есть. Проведите всю работу по очистке, прежде чем вставлять поршни в диаметры цилиндров. Смочите свежим моторным маслом все поверхности в поршне. Не забудьте поршневой палец и шатунный подшипник! При монтаже обращайте внимание на направление поршня (маркировка для монтажа на днище поршня, клапанных карманах). Очистите внутреннее отверстие цилиндра ещё раз ветошью и смочите его также моторным маслом. Проверьте Вашу натяжную ленту поршневого кольца на наличие повреждений и вмятин, устраните их и при необходимости поменяйте инструмент. При монтаже поршня обращайте внимание на то, чтобы натяжная лента или коническая монтажная втулка ровно лежала на уплотнительной поверхности головки блока цилиндров,

При монтаже поршня не должно быть сильного давления. Если поршень не хочет скользить внутри цилиндра, непременно проверьте натяжную ленту поршневого кольца. Не перекручивайте место открытия ленты таким образом, чтобы оно находилось на том же месте, где и стыковые концы колец.
Не устанавливайте поршни в двигатель без монтажного инструмента (риск получения травмы, опасность повреждения кольца). Если для монтажа используется рукоятка молотка, то на днище поршня может действовать только вес самого молотка. Никогда не используйте молоток для того, чтобы силой вогнать поршень в диаметр цилиндра! Если поршневые кольца не ломаются уже при монтаже, они всё-таки могут погнуться, и из-за этого не достаточнохорошо выполнять своё задание.
Монтаж с применением силы вредит не только кольцам, но также может повредить поршень. Это важно особенно для поршней бензиновых двигателей. У нихжаровые или рабочие пояса очень тонкие, и при ударе кольца легко надламываюся или совсем разламываются. Результат: потеря мощности и скорый (и дорогой) ремонт.
Избегайте того, чтобы грязь и песок попадали в диаметр цилиндра, после того, как поршни уже встроены. Положите при необходимости чистую ткань на/в отверстия, чтобы предотвратить загрязнение. Особенно тогда, когда работы проходят в пыльной обстановке и/или вне помещения.
![]() |
Рис. 1 |
Как поставить поршневые кольца на скутер
Ухудшение тяги, падение максимальной скорости, синий дым с глушителя и слабая динамика скутера – верный признак изношенных поршневых колец, либо изношенной цилиндро-поршневой группы. Чаще всего изнашиваются именно поршневые кольца, т.к. диаметр поршневой группы у скутеров небольшой, рабочая площадь колец очень маленькая и поэтому они не так долго ходят.
Итак, если Вы столкнулись с необходимостью замены поршневых колец на скутере, причем помимо основной проблемы то, что их нужно менять, существует и другая – это как правильно поставить кольца на поршень. Нельзя просто взять любое кольцо и поставить в любую из «канавок» на поршне. Нужно понимать какое кольцо является верхним компрессионным, какое нижним компрессионным, а также как правильно поставить маслосъемное кольцо.
Установка поршневых колец на 4-х тактном китайском скутере.
На фото ниже отмечено, где какое поршневое кольцо.
Как Вы успели заметить, что в комплект поршневых колец состоит из двух компрессионных колец (верхнего и нижнего), а также из маслосъемного которое состоит из двух обычных (тонких) колец и центрального экспандера.
Второе компрессионное кольцо имеет темно-черный цвет, а также уникальную (скошенную) геометрию.
У разных производителей цвет колец может различаться, например на фирмы CMR — нижнее компрессионное кольцо имеет рыжий цвет.
На следующей схеме показано правильное расположение колец.
На компрессионных кольцах можно увидеть надписи, они могут быть разными в зависимости от фирмы колец, но суть их одна – установка колец должна производиться надписями ВВЕРХ! Т.е. надписи должны быть направлены к головке цилиндра.
На маслосъемных (двух тонких) кольцах надписи, как правило нет, поэтому ставить их можно любой стороной, главное чтобы между ними был установлен так называемый экспандер, как показано ниже на фото.
Сам процесс установки колец на поршень мы опустим, т.к. сложного там ничего нет. Следует соблюдать только осторожность при заведении колец в пазы, т.к. кольца изготовлены из высокопрочного чугуна и сильное воздействие на растяжение может привести к поломке колец. Если Вы все сделали правильно, то в итоге кольца на поршне должны быть установлены, как показано на следующем фото.
Далее перед тем как устанавливать поршень в цилиндр, необходимо развести замки колец на правильное расстояние.
На этом все особенности установки поршневых колец на четырехтактный скутер озвучены, теперь можно ставить поршень в цилиндр, заранее смазав кольца и цилиндр маслом.
Установка поршневых колец на 2-х тактном скутере.
Как ставить поршневые кольца
Итак, допустим Вы приобрели новый поршень с кольцами и хотите установить его на скутер. В комплекте с поршнем на двухтактный скутер идет только два компрессионных кольца.
В некоторых случаях, в зависимости от модели скутера в комплекте с кольцами может быть еще так называемый экспандер или как его еще называют – расширитель. Устанавливается такой экспандер под второе (нижнее) кольцо.
Перед тем как преступить к установке колец на поршень, необходимо понять, где верхнее компрессионное кольцо, а где нижнее. Т.к. кольца очень различаются в геометрии, неправильная установка одного из колец приведет к его поломке. Обратите внимание, что верхнее кольцо имеет внутренний скос, перед установкой тщательно осмотрите каждое кольцо. Ниже приведена схема установки, где наглядно показано, где какое кольцо должно стоять, а также где устанавливается экспандер, если таковой присутствует в комплекте.
Важно обратить внимание, что кольца имеют надпись на поверхности, которая должна быть ВВЕРХУ! Т.е. надписи должны быть направлены к головке цилиндра.
Процесс установки колец очень простой, поэтому детально разбирать его нет смысла. Главное соблюдать аккуратность, т.к. кольца очень хрупкие. Постарайтесь аккуратно заводить кольца в пазы, без сильного воздействие на растяжение.
В завершении хотелось бы отметить, что на двухтактных поршнях присутствуют штифты, которые не позволяют кольцам провернуться.
Поэтому устанавливая кольца в пазы, обратите внимание на замки колец – они должны сходиться на штифтах, как показано на фото ниже.
Теперь, когда кольца стоят на своих местах, можно приступать к установке поршня в цилиндр, заранее смазав кольца и цилиндр маслом.
pasmr21.ru
Монтаж поршней и поршневых колец
Самые большие проблемы поршневых колец и их повреждения возникают в результате неправильного обращения с ними при надевании на поршень. Здесь поршневое кольцо вообще подвергается самой большой механической нагрузке. Неумелое надевание колец невыгодно отражается на созданном в процессе производства контуре и распределении радиального давления кольца. В результате желаемый эффект уплотнения проявляется или лишь частично, или его нет вообще.
Поршневое кольцо можно растягивать до тех пор, пока внутренний диаметр не будет равен наружному диаметру поршня. Дальнейшее растягивание ведёт к деформации кольца, особенно на его спинке (рис. 1), что в установленном состоянии приводит к значительным проблемам с герметизацией.
Разрывы, отслаивание покрытия (прежде всего у колец, наполненных молибденом), меньшее усилие прижатия на спинке кольца и возникающие серповидные зазоры (рис. 2) являются проблемами, которые затрудняют работу кольца или вовсе выводят его из строя.
Внимание
Поршневые кольца с целью повышения упругости никогда не разгибать! При растягивании стыковых концов кольцо деформируется только на одном месте — в его спинке. Упругость кольца из-за этого не повышается. Наоборот, при усиленном разгибании кольцо теряет свою круглую форму и не может больше никогда правильно уплотнять,
Рис. 2 |
Монтаж и демонтаж поршневых колец
Проведите тщательную очистку бывшего в употреблении поршня от прилипшей грязи. Обращайте внимание особенно на то, чтобы кольцевые канавки были свободны от масляного нагара и грязи. Прочистите при необходимости отверстия для обратного стока масла с помощью сверла или другого подходящего для этого инструмента.
Обращайте внимание на то, чтобы не повредить боковые поверхности канавки при удалении из них масляного нагара. У нижней боковой поверхности канавки речь идёт об уплотняющей поверхности. При эксплуатации повреждения из-за царапин могут повлечь за собой чрезмерный расход масла или усиленный прорыв газов из камеры сгорания в картер двигателя.
Для монтажа и демонтажа поршневых колец непременно используйте специальные щипцы для ихустановки. Другие вспомогательные средства, как, напр., петли из провода или отвёртки повреждают и поршневое кольцо и поршень.
Никогда не натягивайте кольца рукой (исключение: маслосъёмные поршневые кольца со стальными пластинками). Существует не только опасность излома кольца, его деформации и растяжения, но и риск получить ранение от острых краев кольца, если оно разломается.
Внимание
Быстрое надевание поршневого кольца рукой без того, чтобы его сломать, доказывает, правда, ловкость механика, повреждает, тем не менее, поршневое кольцо в большинстве случаев уже при монтаже.
Монтажный набор для поршневых колец Товарный № 50 009 913 |
Никогда не натягивайте кольца на поршень показанным способом (рис. 1). Если кольцо деформируется и больше не лежит ровно в канавке, то оно больше не вращается в этой канавке, изнашивается только с одной стороны или не совсем достаточно уплотняет. Тем не менее, дело обстоитхуже, если с колец с молибденовым покрытием слой молибдена сходит или надламывается. Если потеря скользящего слоя не происходит уже при монтаже, то это случается самое позднее при обкаткедвигателя. Скользящий слой отделяется и повреждает поршень и поверхность цилиндра. Поршень заедает в диаметре цилиндра, потому что горячие отработавшие газы продуваются между поршнем и стенкой цилиндра. Оторвавшиеся частички повреждают поршень и рабочие поверхности цилиндра.
Избегайте излишнего снятия и надевания поршневых колец. При каждом монтаже кольца немного деформируются. Не снимайте кольца с уже ранее собранных поршней снова, чтобы, например, ихзаново измерить. Соблюдайте последовательность монтажа колец. Сначала монтируется маслосъёмное поршневое кольцо, затем второе, после него — первое компрессионные поршневые кольца. Обращайте внимание при монтаже на маркировку. «Тор» означает, что эта сторона должна указывать наверх, к камере сгорания. Если Вы не уверены, или нет маркировки «Тор», тогда вставляйте кольцо с надписью наверх. «Тор» не значит, что речь идёт о первом компрессионном поршневом кольце.
Рис. 2 |
Проверьте, могут ли кольца свободно прокручиваться (вращаться) в кольцевых канавках.
Проверьте, исчезаетли полностью кольцо по всей длине окружности в кольцевой канавке, т.е., рабочая поверхность кольца не должна выходить за пределы юбки поршня. Это важно, так как при недостаточном зазоре на дне канавки(неправильное кольцо или нагар на дне канавки) работа кольца не гарантирована.
При монтаже маслосъёмных поршневых колец, состоящих из двух частей, всегда обращайте внимание на положение спирального витого пружинного расширителя (рис. 6).
Концы расширителя всегда должны быть расположены напротив стыка поршневого кольца.
Рис. 6 |
У состоящих из трёх частей колец правильное положение пружины-расширителя является обязательным для выполнения функции удаления масляной плёнки (рис. 1 и 2). В любом случае перед монтажом проверьте также у поршня с уже вставленными кольцами положение пружины-расширителя. Во время транспортировки концы пружины находятся в ненатянутом состоянии и могут находить друг на друга. Обе цветных маркировки на концах пружины должны быть видны (рис. 3). Если они не видны, то концы пружины перекрываются внахлёстку и кольцо не функционирует. Все стыки маслосъёмного поршневого кольца, состоящего из трёх частей (обе стальные пластины и пружина-расширитель), должны вставляться смещёнными на 120° по отношению друг к другу.
Сместите стыки поршневого кольца готового для монтажа поршня таким образом, чтобы они лежали примерно 120° по отношению друг к другу. Они помогают поршню и, соответственно, кольцам при первом запуске двигателя. Причина: при первом запуске двигателя сжатие несколько ниже, так как поршневые кольца ещё не приработались. При помощи смещения стыковых концов по отношению друг к другу можно помешать тому, чтобы при первом пуске двигателя слишком много газов просачивалось из камеры сгорания в картер двигателя и, вследствие этого, двигатель плохо заводился.
Вставка поршня во внутренний диаметр цилиндра
Если при ремонте уплотнительная поверхность блока цилиндров не подвергалась чистовой обработке, то основательно очистите её от остатков прокладки. Тщательно очистите все резьбовые отверстия от грязи, масла и охлаждающей жидкости, которая возможно ещё там есть. Проведите всю работу по очистке, прежде чем вставлять поршни в диаметры цилиндров. Смочите свежим моторным маслом все поверхности в поршне. Не забудьте поршневой палец и шатунный подшипник! При монтаже обращайте внимание на направление поршня (маркировка для монтажа на днище поршня, клапанных карманах). Очистите внутреннее отверстие цилиндра ещё раз ветошью и смочите его также моторным маслом. Проверьте Вашу натяжную ленту поршневого кольца на наличие повреждений и вмятин, устраните их и при необходимости поменяйте инструмент. При монтаже поршня обращайте внимание на то, чтобы натяжная лента или коническая монтажная втулка ровно лежала на уплотнительной поверхности головки блока цилиндров,
При монтаже поршня не должно быть сильного давления. Если поршень не хочет скользить внутри цилиндра, непременно проверьте натяжную ленту поршневого кольца. Не перекручивайте место открытия ленты таким образом, чтобы оно находилось на том же месте, где и стыковые концы колец.
Не устанавливайте поршни в двигатель без монтажного инструмента (риск получения травмы, опасность повреждения кольца). Если для монтажа используется рукоятка молотка, то на днище поршня может действовать только вес самого молотка. Никогда не используйте молоток для того, чтобы силой вогнать поршень в диаметр цилиндра! Если поршневые кольца не ломаются уже при монтаже, они всё-таки могут погнуться, и из-за этого не достаточнохорошо выполнять своё задание.
Рис. 1 |
Монтаж с применением силы вредит не только кольцам, но также может повредить поршень. Это важно особенно для поршней бензиновых двигателей. У нихжаровые или рабочие пояса очень тонкие, и при ударе кольца легко надламываюся или совсем разламываются. Результат: потеря мощности и скорый (и дорогой) ремонт.
Избегайте того, чтобы грязь и песок попадали в диаметр цилиндра, после того, как поршни уже встроены. Положите при необходимости чистую ткань на/в отверстия, чтобы предотвратить загрязнение. Особенно тогда, когда работы проходят в пыльной обстановке и/или вне помещения.
axela-mazda.ru
Подбор и установка поршневых колец на поршень ― Autopribor.ru
Поршневые кольца устанавливаются на поршень только после соединения поршня с шатуном.
Если повторно устанавливаются снятые поршни, тщательно очистите их, особенно канавки для поршневых колец и отверстия для удаления масла, расположенные в канавке поршневого кольца.

Снятый поршень
Очистить канавки поршня от отложений углерода можно при помощи специального приспособления или при помощи куска старого поршневого кольца. При прочистке канавок поршневых колец проявляйте осторожность и не допускайте снятия металла поршня.

Поршень — очистка кольцевых канавок

Очистка колцевых канавок при помощи приспособления
Перед установкой колец в канавки поршня проверьте концевой зазор замка поршня в цилиндре и боковой зазор между кольцом и стекой канавки поршня.
Проверка зазора в замке кольца:
Вставьте поршневое кольцо в цилиндр. Для установки кольца в положение, перпендикулярное оси цилиндра, выровняйте кольцо в цилиндре при помощи перевёрнутого поршня. При установке нового кольца в цилиндр, который не растачивался, протолкните кольцо на глубину хода поршня, поскольку в своей верхней части цилиндр может иметь из-за износа увеличенный диаметр.

При помощи набора плоских щупов замерьте зазор в замке поршневого кольца.
Зазор должен соответствовать техническим нормам, указанным в заводской инструкции. Этот зазор лежит в пределах 0,5 ? 0,15 мм (обычно 0,4 мм) в зависимости от диаметра поршня. Если зазор меньше установленной нормы, его можно отрегулировать подпиливанием торцов замка кольца.

Специальные приспособления для подпиливания торцов замка при помощи алмазного круга. Такие приспособления применяются в условиях предприятия по капитальному ремонту двигателя.

Осевой (вертикальный) зазор между торцевой поверхностью кольца и канавкой поршня:
При помощи набора плоских щупов проверьте зазор между торцевой поверхностью кольца и поверхностью канавки. Для проведения этой проверки нет необходимости устанавливать кольцо на поршень. Зазор проверяется по всей окружности поршня. Сравните величину зазора с указанной в заводской инструкции. Обычно этот зазор равен 0,04 ? 0,08 мм. Если зазор больше установленной нормы, замените поршень или подберите кольцо увеличенной толщины

Установка колец на поршень:
Поршневые кольца устанавливаются на поршень после соединения поршня с шатуном при помощи поршневого пальца.
Внимательно рассмотрите компрессионные кольца и определите, какое из кольцо верхнее, а какое второе. Найдите на кольцах метку, указывающую какой стороной кольца должны устанавливаться в сторону днища поршня (вверх).
Метки могут иметь вид: «ТОР», «Т», «•» или «?».

Обычно информация о метке и о способе определения верхнего кольца имеется на упаковке набора поршневых колец.
Первым устанавливается маслосъёмное кольцо.
При установке коробчатого маслосъёмного кольца с расширителем в виде спиральной пружины, замок пружины необходимо сместить на 180? относительно замка самого кольца.
При установке составного маслосъёмного кольца сначала установите расширитель (расширители). Убедившись, что расширитель встал правильно, установите нижнее пластинчатое кольцо и потом верхнее пластинчатое кольцо. Расположите замки пластинчатых колец под углом 180? относительно друг друга.
Детали составного маслосъёмного кольца устанавливаются руками, без применения специального приспособления.
Определите, какое из компрессионных колец является нижним, и какой стороной его необходимо устанавливать в сторону днища поршня.
Осторожно, при помощи специального приспособления, установите кольцо.
Внимание:
Не устанавливайте компрессионные поршневые кольца руками. Используйте для установки колец специальное приспособление. Установленное руками кольцо может быть безвозвратно испорчено, при этом не существует возможности достоверно убедиться в исправности кольца.
Не разжимайте концы компрессионных колец более чем это необходимо для установки колец на поршень.

Таким же способом установите верхнее компрессионное кольцо.
Убедитесь, что все кольца легко, без заеданий вращаются в своих канавках по всей окружности и при сжатии кольца полностью могут быть утоплены в канавки, без выступания за пределы поверхности поршня.
Еще раз проверьте зазор между боковой поверхностью компрессионных колец и стенкой канавки поршня (по вертикали).
Непосредственно перед установкой поршня с кольцами в цилиндр установите замки всех поршневых колец под углом 120?.
Часто в руководстве по ремонту автомобиля указывается направление замков поршневых колец, в этом случае устанавливайте поршневые кольца в строгом соответствии с указаниями руководства. Но если подобные указания в руководстве по ремонту отсутствуют необходимо соблюдать общие правила.
Не располагайте замки поршневых колец посередине опорных поверхностей поршня, особенно основной поверхности. Не располагайте замки поршневых колец на стороне торцевых поверхностей поршневого пальца.

Непосредственно перед установкой собранной шатунно-поршневой группы ещё раз убедитесь, что замки поршневых колец расположены правильно.
autopribor.ru










