Простейший карбюратор
Процесс приготовления горючей смеси из мелко распыленного топлива и воздуха, происходящий вне цилиндров, называется карбюрацией, а прибор, в котором происходит приготовление горючей смеси определенного состава в зависимости от режима работы двигателя, называется карбюратором.
Простейший карбюратор состоит из воздушного патрубка, поплавковой камеры с поплавком и игольчатым клапаном, смесительной камеры, диффузора, главного дозирующего устройства — распылителя и топливного жиклера, дроссельной заслонки.
Поплавковая камера служит для поддержания постоянного уровня топлива у распылителя (1,5—2 мм).
В смесительной камере происходит смешивание паров топлива с воздухом, образуется топливовоздушная смесь.
Распылитель (тонкая трубка) служит для подачи топлива в центр смесительной камеры.
Жиклер (калиброванное отверстие) дозирует количество топлива, проходящего к распылителю.

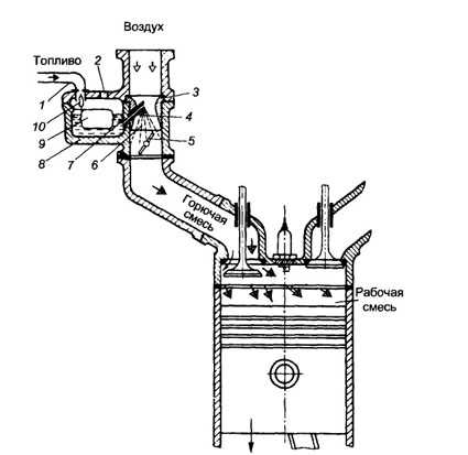
Впускная система карбюраторного двигателя
1 — трубопровод; 2 — отверстие в поплавковой камере; 3 — диффузор; 4 — распылитель; 5 — дроссельная заслонка; 6 — смесительная камера; 7 — жиклер; 8 — поплавковая камера; 9 — поплавок; 10 — игольчатый клапан.
Диффузор (короткий патрубок, суженный внутри) увеличивает скорость воздушного потока в центре смесительной камеры, чем достигается увеличение разряжения у носика распылителя.
Дроссельная заслонка регулирует количество горючей смеси, подаваемой в цилиндры двигателя, уменьшая или увеличивая проходное сечение смесительной камеры.
Простейший карбюратор работает следующим образом. При такте впуска, из-за создаваемого поршнем разрежения, воздух через воздушный патрубок поступает в диффузор. В диффузоре скорость воздуха, а следовательно, и разряжение увеличиваются. Под действием перепада давлений между поплавковой камерой и диффузором топливо через жиклер распылителя поступает в диффузор, подхватывается потоком воздуха, распыляется и испаряется, образуя топливовоздушную смесь. Из смесительной камеры горючая смесь по впускному трубопроводу поступает в цилиндры двигателя. По мере открытия дроссельной заслонки скорость потока воздуха и разряжение в диффузоре возрастают, что увеличивает расход топлива. Однако необходимого повышения расхода топлива не происходит, горючая смесь обогащается. При работе двигателя на различных режимах простейший карбюратор не может обеспечить горючую смесь постоянного состава.
Вспомогательные устройства карбюратора….
www.autoezda.com
Простейший карбюратор
Строительные машины и оборудование, справочник
Простейший карбюраторКатегория:
Автомобили и трактора
Простейший карбюратор
Приготовление горючей смеси из паров жидкого топлива и воздуха для карбюраторных двигателей начинается вне цилиндра двигателя в особом приборе, называемом карбюратором. В зависимости от направления потока горючей смеси различают карбюраторы с восходящим, горизонтальным и падающим потоками. На автомобильных двигателях, как правило, устанавливаются карбюраторы с падающим потоком, а на мотоциклах и пусковых двигателях тракторов — с горизонтальным потоком.
По числу смесительных камер карбюраторы подразделяются на одно-, двух-и многокамерные. Применение многокамерных карбюраторов позволяет повысить мощность двигателей вследствие лучшей дозировки и распределения горючей смеси по цилиндрам.
По принципу включения в работу смесительных камер многокамерные карбюраторы могут быть с параллельным и последовательным включением камер.
Параллельно включенные камеры имеют одинаковое устройство и работают одновременно.
В карбюраторах с последовательным включением камер сначала включается в работу одна так называемая основная, или первичная, камера, а при увеличении нагрузки подключается вторая, дополнительная, или вторичная, камера.
Простейший карбюратор состоит из поплавковой и смесительной камер. В поплавковой камере шарнир-но закреплены поплавок, управляющий игольчатым клапаном, которые поддерживают постояннй уровень топлива в поплавковой камере и распылителе. Полость поплавковой камеры сообщается с атмосферой через отверстие, а через калиброванное отверстие жиклер сообщается с распылителем, выведенным в смесительную камеру, в которой установлен диффузор, обеспечивающий увеличение скорости воздушного потока и создающий разрежение около распылителя. Дроссельная заслонка регулирует количество поступающей горючей смеси из карбюратора в цилиндры двигателя, а воздушная заслонка регулирует количество поступающего воздуха и тем самым изменяет разрежение в смесительной камере.
Топливо из бака по трубопроводу поступает в поплавковую камеру и заполняет ее. Когда уровень в поплавковой камере достигает требуемого предела, поплавок прижимает запорную иглу к ее седлу и поступление топлива в поплавковую камеру прекращается. При понижении уровня поплавок опускается и игла вновь открывает доступ топливу в поплавковую камеру.
Из поплавковой камеры топливо через жиклер поступает в распылитель, выходное отверстие которого находится в горловине диффузора. Чтобы топливо не вытекало из распылителя при неработающем двигателе, выходное отверстие распылителя расположено на 1—2 мм выше уровня топлива в поплавковой камере.
Во время такта впуска разрежение из цилиндра передается через впускной трубопровод в смесительную камеру и вызывает в ней движение воздуха в направлении, указанном стрелками. Вследствие разницы между атмосферным давлением в поплавковой камере и разрежением в диффузоре топливо фонт танирует из распылителя, захватывается потоком воздуха, распыляется на более мелкие частицы и, смешиваясь с воздухом, образует горючую смесь, которая поступает в цилиндр двигателя. В цилиндры всегда поступает часть не успевшего испариться топлива, которая подогревается во впускном трубопроводе и испаряется при перемешивании горючей смеси с остаточными газами.
С изменением разрежения в диффузоре будет меняться и количество истекающего топлива из распылителя, а следовательно, и состав горючей смеси. Это объясняется тем, что скорости истечения воздуха через диффузор и жидкости через распылитель не остаются пропорциональными при различных разрежениях.
Практически установлено, что в простейшем карбюраторе при открытии дроссельной заслонки количество воздуха, поступающего через диффузор, увеличивается в меньшей мере, чем количество топлива, истекающего из распылителя, вследствие чего смесь непрерывно обогащается.
Опыты показывают, что при постоянных сечениях жиклера и диффузора можно получить необходимый состав смеси только при одной строго определенной скорости движения воздушного потока, соответствующей определенному режиму работы двигателя. Поэтому для практического применения этот карбюратор непригоден и должен быть снабжен устройствами и системами, позволяющими получить требуемый состав горючей смеси при любом возможном режиме работы двигателя.
К современному карбюратору предъявляют следующие требования: тонкое распыливание топлива, хорошее перемешивание его с воздухом и точная дозировка смеси по количеству и составу в зависимости от режима работы двигателя. Для выполнения этих требований карбюраторы имеют главное дозирующее устройство и вспомогательные устройства и системы (систему холостого хода, экономайзер, эко-ностат, насос-ускоритель, пусковое и другие устройства).
—
Карбюратором называется прибор, в котором происходит смешивание бензина с воздухом в определенной пропорции и тщательное распыливание бензина в воздухе.
Простейший карбюратор состоит из следующих частей: поплавковой камеры с поплавком и игольчатым клапаном; дозирующего устройства с жиклером и распылителем; смесительной камеры с диффузором, дроссельной заслонкой и воздушной заслонкой. Смесительная камера карбюратора соединяется с впускным трубопроводом двигателя.Поплавковая камера служит для поддержания постоянного уровня топлива в распылителе жиклера. Камера представляет собой сосуд, в который топливо поступает из бака по трубке. Полость поплавковой камеры сообщается с атмосферой через отверстие в крышке камеры.
При помощи поплавка с игольчатым клапаном топливо в камере и распылителе поддерживается на постоянном уровне, не доходящем на 1—1,5 мм до конца распылителя. Такой уровень обеспечивает легкое высасывание топлива из распылителя и устраняет вытекание топлива из него при неработающем карбюраторе.
Когда уровень топлива в камере понижается, поплавок, опускаясь, открывает игольчатый клапан, и топливо поступает в камеру. Когда топливо достигнет нормального уровня, поплавок, всплывая, закрывает иглой входное отверстие и прекращает доступ топлива.
Распылитель служит для подачи топлива в центр смесительной камеры, где оно распыливается, и представляет собой тонкую трубку, входящую в смесительную камеру и сообщающуюся через жиклер с поплавковой камерой.
Жиклер дозирует количество топлива, проходящего к распылителю, и сделан в виде пробки с калиброванным отверстием.
Смесительная камера служит для смешивания топлива с воздухом и представляет собой короткий прямой или изогнутый патрубок, одним концом соединенный с впускным трубопроводом двигателя, а другим концом — с воздухоочистителем, через который в карбюратор поступает очищенный воздух.
Диффузор обеспечивает увеличение скорости воздушного потока в центре смесительной камеры и создает разрежение около конца распылителя, что необходимо для высасывания топлива из распылителя и лучшего его распыливания. Диффузор представляет собой короткий патрубок, суженный внутри и устанавливаемый в смесительной камере около конца распылителя.
Дроссельной заслонкой изменяют проходное сечение для горючей смеси и тем самым регулируют количество горючей смеси, поступающей из карбюратора в двигатель. В соответствии с количеством поступающей в двигатель смеси изменяются мощность двигателя и число оборотов коленчатого вала.
Дроссельной заслонкой управляет водитель из кабины при помощи педали.
Воздушной заслонкой можно уменьшить проходное сечение для воздуха, поступающего в карбюратор, и тем самым увеличить разрежение в смесительной камере, а следовательно, увеличить подачу топлива. Воздушную заслонку обычно используют только при пуске двигателя и управляют ею из кабины водителя.
Работает карбюратор следующим образом.
При вращении коленчатого вала двигателя во время тактов впуска, происходящих в его цилиндрах, через смесительную камеру карбюратора проходит воздух. Внутри диффузора в его горловине скорость воздушного потока вследствие сужения прохода значительно возрастает, и около конца распылителя 5 образуется разрежение. При этом топливо из распылителя высасывается в смесительную камеру струйками, которые распиливаются на мельчайшие частицы проходящим с большой скоростью воздухом. Топливо перемешивается с воздухом, испаряется в нем, и полученная горючая смесь поступает в цилиндры двигателя по впускному трубопроводу. Поплавковая камера с помощью поплавка и игольчатого клапана непрерывно поддерживает в распылителе нормальный уровень топлива.
В зависимости от нагрузки на двигатель водитель устанавливает дроссельную заслонку карбюратора в различные положения, и в цилиндры двигателя поступает большее или меньшее количество горючей смеси, что обеспечивает необходимую мощность двигателя и скорость движения автомобиля.

Рис. 1. Схема простейшего карбюратора
Карбюраторы в зависимости от расположения патрубка смесительной камеры и направления в нем потока смеси бывают с восходящим, горизонтальным и падающим потоками.
В карбюраторах с восходящим потоком в смесительной камере горючая смесь движется снизу вверх. В карбюраторах с горизонтальным потоком смесь движется в патрубке смесительной камеры в горизонтальном направлении. В карбюраторах с падающим потоком смесь движется в смесительной камере сверху вниз — падает.
В карбюраторе с падающим потоком вследствие простой формы смесительной камеры, представляющей собой вертикальный патрубок, и непосредственного соединения ее с воздухоочистителем сопротивление воздушному потоку снижается, и топливо легче увлекается воздухом вниз, что улучшает наполнение цилиндров горючей смесью. В результате этого мощность и экономичность двигателя несколько повышаются.
Кроме того, такой карбюратор, устанавливаемый выше впускного патрубка, более доступен для осмотра и регулировки. В этом случае упрощается также размещение воздухоочистителя и соединение его с карбюратором. Поэтому карбюраторы с падающим потоком получили, наибольшее распространение.
—
Процесс приготовления горючей смеси определенного состава из мелкораспыленного топлива и воздуха, происходящий вне цилиндров двигателя,— называют карбюрацией, а прибор, в котором происходит этот процесс, — карбюратором.
Принцип работы простейшего карбюратора сходен с принципом работы пульверизатора и состоит в том, что жидкость под действием разрежения вытекает из распылителя (трубки) и, смешиваясь с воздухом, образует горючую смесь. Простейший карбюратор (рис. 2, а) состоит из поплавковой камеры, диффузора, распылителя с жиклером, смесительной камеры и дроссельной заслонки. В поплавковой камере находится пустотелый поплавок, шарнирно-соединен-ный с осью и действующий на игольчатый клапан. Топливо подается в поплавковую камеру насосом по трубопроводу. Отверстие соединяет поплавковую камеру с окружающим воздухом, поэтому в камере поддерживается постоянное атмосферное давление. Поплавковая камера карбюратора соединена со смесительной камерой распылителем, в котором установлен жиклер.

Рис. 2. Карбюратор, впускная система и его характеристики: а — схема простейшего карбюратора; б — характеристики; В — простейшего; Г — идеального; 1 — трубопровод; 2 — отверстие в поплавковой камере; 3 — диффузор; 4 — распылитель; б — дроссельная заслонка; 6 — смесительная камера; 7 — жиклер; 8 — поплавковая камера; 9 — поплавок; 10 — игольчатый клапан
Жиклер представляет собой пробку с небольшим калиброванным отверстием, через которое в единицу времени проходит определенная порция топлива. Выходной конец распылителя устанавливают в самом узком месте диффузора (в горловине).
Простейший карбюратор работает следующим образом. При наполнении топливом поплавковой камеры 8 поплавок 9 постепенно всплывает, при определенном уровне топлива игольчатый клапан 10 перекрывает отверстие в подводящем трубопроводе и поступление топлива в камеру прекращается. При такте впуска поршень в двигателе перемещается к н. м. т. и в цилиндре создается разрежение, передающееся в смесительную камеру карбюратора. Разрежение в этой камере зависит от положения дроссельной заслонки: с прикрытием заслонки разрежение уменьшается, а с открытием увеличивается.
Пока двигатель не работает, в поплавковой камере и в распылителе топливо находится на одном уровне, причем верхний конец распылителя располагается несколько выше уровня топлива (на 2—3 мм).
Во время работы двигателя поступающий в карбюратор воздух проходит через узкое сечение диффузора, в результате чего скорость воздуха в нем, а следовательно, и разрежение возрастают. Создается перепад давлений между поплавковой камерой и диффузором, благодаря чему топливо начинает фонтанировать из распылителя. Топливо распыливается перемешивается с воздухом, частично испаряется и в виде горючей смеси поступает в цилиндры двигателя. С изменением положения дроссельной заслонки значительно изменяется состав горючей смеси, приготовляемой простейшим карбюратором. На рис. 2, б представлены характеристики простейшего В и идеального Г карбюраторов. Они показывают изменения состава а горючей смеси карбюратора в зависимости от нагрузки (от положения дроссельной заслонки — в % открытия). По мере открытия дроссельной заслонки у простейшего карбюратора горючая смесь все больше обогащается, причем только в двух случаях (точки А и Б) состав смеси совпадает с составом горючей смеси, приготовляемой идеальным карбюратором (при полностью открытой дроссельной заслонке и при некотором промежуточном ее положении). Таким образом, основным недостатком простейшего карбюратора является невозможность приготовления горючей смеси нужного состава.
Реклама:
Читать далее: Основные элементы в карбюраторе
Категория: — Автомобили и трактора
Главная → Справочник → Статьи → Форум
stroy-technics.ru
Простейший карбюратор
Процесс приготовления горючей смеси из мелко распыленного топлива и воздуха, происходящий вне цилиндров, называется карбюрацией, а прибор, в котором происходит приготовление горючей смеси определенного состава в зависимости от режима работы двигателя, называется карбюратором.
Простейший карбюратор состоит из воздушного патрубка, поплавковой камеры с поплавком и игольчатым клапаном, смесительной камеры, диффузора, главного дозирующего устройства — распылителя и топливного жиклера, дроссельной заслонки.
Поплавковая камера служит для поддержания постоянного уровня топлива у распылителя (1,5—2 мм).
В смесительной камере происходит смешивание паров топлива с воздухом, образуется топливовоздушная смесь.
Распылитель (тонкая трубка) служит для подачи топлива в центр смесительной камеры.
Жиклер (калиброванное отверстие) дозирует количество топлива, проходящего к распылителю.

Впускная система карбюраторного двигателя
1 — трубопровод; 2 — отверстие в поплавковой камере; 3 — диффузор; 4 — распылитель; 5 — дроссельная заслонка; 6 — смесительная камера; 7 — жиклер; 8 — поплавковая камера; 9 — поплавок; 10 — игольчатый клапан.
Диффузор (короткий патрубок, суженный внутри) увеличивает скорость воздушного потока в центре смесительной камеры, чем достигается увеличение разряжения у носика распылителя.
Дроссельная заслонка регулирует количество горючей смеси, подаваемой в цилиндры двигателя, уменьшая или увеличивая проходное сечение смесительной камеры.
Простейший карбюратор работает следующим образом. При такте впуска, из-за создаваемого поршнем разрежения, воздух через воздушный патрубок поступает в диффузор. В диффузоре скорость воздуха, а следовательно, и разряжение увеличиваются. Под действием перепада давлений между поплавковой камерой и диффузором топливо через жиклер распылителя поступает в диффузор, подхватывается потоком воздуха, распыляется и испаряется, образуя топливовоздушную смесь. Из смесительной камеры горючая смесь по впускному трубопроводу поступает в цилиндры двигателя. По мере открытия дроссельной заслонки скорость потока воздуха и разряжение в диффузоре возрастают, что увеличивает расход топлива. Однако необходимого повышения расхода топлива не происходит, горючая смесь обогащается. При работе двигателя на различных режимах простейший карбюратор не может обеспечить горючую смесь постоянного состава.
Вспомогательные устройства карбюратора….
www.autoezda.com
Устройство и работа простейшего карбюратора
Строительные машины и оборудование, справочник
Устройство и работа простейшего карбюратораКатегория:
Ремонт топливной аппаратуры автомобилей
Устройство и работа простейшего карбюратора
Устройство
Простейший карбюратор состоит из двух основных частей: смесеобразующего устройства и поплавковой камеры. В смесеобразующем устройстве происходит приготовление горючей смеси, а поплавковая камера является резервуаром, откуда топливо подается для смешения с воздухом.
Смесеобразующее устройство карбюратора имеет входной воздушный патрубок, диффузор, смесительную камеру, дроссельную заслонку, выходной патрубок. Выходной патрубок обычно заканчивается фланцем, которым карбюратор крепится к впускному трубопроводу двигателя.
На входном патрубке устанавливают шланг для подвода воздуха или непосредственно воздушный фильтр. Диффузор является местным уменьшением сечения смесеобразующего устройства. Благодаря диффузору улучшаются условия распыливания топлива, так как при работе двигателя в самом узком сечении диффузора создается максимальная скорость воздушного потока. В этом месте устанавливают распылитель, представляющий собой трубку, выведенную в диффузор. Через распылитель происходит истечение и распыление топлива.
Поплавковая камера содержит поплавковый механизм, состоящий из поплавка и игольчатого клапана. Поплавок закреплен шарнирно на стенке поплавковой камеры. На рычаг поплавка опирается запорная игла игольчатого клапана.
При подаче топлива через штуцер в поплавковую камеру поплавок всплывает и своим рычагом поднимает запорную иглу, закрывая игольчатый клапан. Как только уровень топлива в поплавковой камере достигнет заданного предела, игольчатый клапан закроется полностью и поступление топлива в камеру прекратится. При расходовании топлива из поплавковой камеры поплавок опускается и приоткрывает игольчатый клапан. В поплавковую камеру вновь начинает поступать топливо до момента достижения заданного уровня. Таким образом, поплавковая камера с помощью поплавкового механизма обеспечивает поддержание заданного уровня топлива при всех режимах работы двигателя.
В нижней части поплавковой камеры располагают главный жиклер. Его основное назначение состоит в дозировании топлива для получения горючей смеси нужного состава. Жиклер представляет собой пробку с центральным калиброванным отверстием. Диаметр калиброванного отверстия жиклера выбирается в зависимости от требуемого расхода топлива. Большое значение для образования горючих смесей имеет также длина калиброванного отверстия жиклера, углы входных и выходных фасок, диаметры каналов в теле жиклера. Главный жиклер может быть установлен в нижней или верхней части распылителя.
Работа
При вращении коленчатого вала двигателя во время тактов впуска и при открытой дроссельной заслонке через смесительную камеру карбюратора проходит воздух. Внутри диффузора скорость потока воздуха значительно возрастает, и на выходе рыспылителя создается разрежение. При этом в поплавковой камере вследствие наличия отверстия давление остается равным атмосферному. Из-за разности давлений в поплавковой камере и в распылителе топливо начинает перетекать через главный жиклер и распылитель в виде фонтанчика, попадая в горловину диффузора. Здесь струя поступающего воздуха дробит вытекающее топливо на мелкие капельки, которые перемешиваются с воздухом, испаряются и образуют горючую смесь.
Образование горючей смеси в смесительной камере карбюратора происходит не в полном объеме. Часть топлива в виде капелек не успевает испариться и перемешаться с воздухом. Неиспарив-шиеся капельки топлива движутся в потоке воздуха и оседают на стенках смесительной камеры и впускного трубопровода. Топливо, осевшее на стенки, образует пленку, которая движется с малой скоростью. Чтобы испарить пленку топлива, впускной трубопровод при работе двигателя подогревается. Чаще всего используется жидкостный подогрев (от системы охлаждения двигателя) или подогрев теплом отработавших газов. Таким образом, можно считать, что образование горючей смеси заканчивается в конце впускного трубопровода двигателя.
Реклама:
Читать далее: Образование горючей смеси и влияние ее состава на работу двигателя
Категория: — Ремонт топливной аппаратуры автомобилей
Главная → Справочник → Статьи → Форум
stroy-technics.ru
Устройство и работа простейшего карбюратора
Устройство и работа простейшего карбюратора. Для грамотной эксплуатации карбюратора необходимо изучить прежде всего конструктивные его особенности и понять принципы работы систем на различных режимах, знать возможные неисправности и разрегулировки, причины возникновения, а также методы их обнаружения и устранения.

Рис. 2. Принципиальная схема простейшего карбюратора:
1 — поплавковая камера; 2 – рычаг; 3 – поплавок; 4 – игла; 5 — топливный клапан; 6 — топливный канал; 7 — распылитель; 8 — главный воздушный канал; 9 – диффузор; 10 — дроссельная заслонка; 11 — топливный жиклер.
В поплавковой камере за счет поплавка с иглой и топливного клапана поддерживается постоянный уровень топлива h, поступающего из бензинового бака.
Главный воздушный канал обеспечивает подачу воздуха в карбюратор. В средней части он сужается, образуя диффузор, предназначенный для увеличения скорости воздушного потока и обеспечивающий улучшение условий испарения топлива и смесеобразования.
Дроссельная заслонка 10 предназначена для изменения количества горючей смеси, поступающей в цилиндры двигателя в соответствии с требуемой мощностью.
Истечение из жиклера топлива сопровождается затратой энергии на его поднятие к распылителю 7. Распад струи топлива начинается при разности скоростей движения топлива и воздушного потока равной 4—6 м/с. В современном карбюраторе размер капель составляет 20—120 мкм.
Оптимальной является величина капель равная 50 мкм. При этом мелкость распыливания (дробления) топлива уменьшается с повышением температуры топлива за счет снижения коэффициента поверхностного натяжения и увеличения разности относительной скорости топлива и воздушного потока. Скорость истечения топлива в 25 раз меньше скорости воздушного потока.
Работа карбюратора осуществляется в соответствии с эжекционным (пульверизационным) принципом. Под действием разрежения, представляющим разность между давлением в поплавковой камере и в диффузоре карбюратора, топливо из поплавковой камеры через топливный жиклер и распылитель поступает в диффузор, а затем в главный воздушный канал.
В современных карбюраторах истечение топлива начинается при достижении разрежения 100 Па (10 мм вод. ст.). При меньших значениях через карбюратор поступает только чистый воздух. Уменьшение давления в зоне распылителя обусловлено ростом скорости воздушного потока в диффузоре и местного сопротивления.
При неработающем двигателе давление в поплавковой камере и в зоне распылителя в диффузоре одинаковое. При пуске двигателя разрежение, возникающее в цилиндре при ходе всасывания, передается через впускной трубопровод и главный воздушный жиклер в зону распылителя. В результате за счет возникшей разности давления в поплавковой камере и диффузоре топливо поступает из поплавковой камеры к распылителю и вытекает из него в главный воздушный канал, смешивается с воздухом и поступает в цилиндры.
Повышение скорости потока воздуха при его прохождении через диффузор приводит к дальнейшему снижению давления в зоне распылителя. Уменьшать сечение диффузора можно только до определенного предела, так как в дальнейшем это вызывает повышенное сопротивление для прохода воздуха, что сопровождается снижением мощности двигателя из-за уменьшения коэффициента наполнения цилиндров.
Образование горючей смеси в смесительной камере карбюратора происходит не в полном объеме. Часть топлива в виде капелек не успевает испариться и перемешаться с воздухом. Не испарившиеся капельки топлива движутся в потоке воздуха и оседают на стенках смесительной камеры и впускного трубопровода. Топливо, осевшее на стенки, образует пленку, которая движется с малой скоростью.
Чтобы испарить пленку топлива, впускной трубопровод при работе двигателя подогревается. Чаще всего используется жидкостный подогрев (от системы охлаждения двигателя) или подогрев теплом отработавших газов. Таким образом, можно считать, что образование горючей смеси заканчивается в конце впускного трубопровода двигателя.
В зависимости от направления потока воздуха в смесеобразующем устройстве, карбюраторы подразделяются на несколько типов. Наиболее широко применяют карбюраторы, в которых горючая смесь движется сверху вниз (рис. 2). Такие карбюраторы называют карбюраторами с падающим потоком смеси. Они обеспечивают высокие мощностные и экономические показатели и удобное для обслуживания расположение на двигателе. Карбюраторы с движением горючей смеси вверх называют карбюраторами с восходящим потоком. Они относятся к устаревшим конструкциям, и поэтому нами рассматриваться не будут.
Для современных многоцилиндровых двигателей стали применять двухкамерные карбюраторы с параллельным и последовательным открытием дроссельных заслонок. Название «двухкамерные» карбюраторы получили по числу имеющихся в них смесительных устройств, или смесительных камер. Двухкамерный карбюратор (рис. 3) с параллельным открытием дроссельных заслонок имеет две смесительные камеры 2, одну поплавковую камеру 1 и две дроссельные заслонки 3, закрепленные на одной оси. При повороте оси дроссельные заслонки будут открывать сечение выпускных патрубков 4 карбюратора синхронно, обеспечивая параллельное действие смесительных камер. Каждая смесительная камера карбюратора отдельным трубопроводом соединяется с группой цилиндров и питает их горючей смесью.
Двухкамерный карбюратор с последовательным открытием дроссельных заслонок имеет примерно такое же устройство. Разница заключается лишь в приводе дроссельных заслонок и конструкции выпускного патрубка, который делается общим для обеих смесительных камер. При работе этого карбюратора вначале открывается дроссельная заслонка одной камеры (основной). Как только первая заслонка откроется на 70—80% от полного открытия, начинает открываться дроссельная заслонка второй камеры (дополнительной). При этом вступает в работу дополнительная смесительная камера, обеспечивая поступление в цилиндры большого количества горючей смеси.

Рис. 3. Двухкамерный карбюратор с параллельным открытием дроссельных заслонок: 1— поплавковая камера; 2 — смесительные камеры; 3 — дроссельные заслонки; 4 — выпускные патрубки карбюратора.
Число камер в карбюраторах не ограничивается двумя, но определяется числом и расположением цилиндров двигателя. Так на двигателе БМВ 740 установлен карбюратор, имеющий 4 камеры, причем работающий как два двухкамерных карбюратора с последовательным открытием дроссельных заслонок. Использование многокамерных (двухкамерных) карбюраторов позволяет улучшить наполнение цилиндров двигателя горючей смесью, так как уменьшаются потери напора смеси во впускных трубопроводах. Это объясняется тем, что смесь движется постоянно в одном направлении. Особенно хорошие результаты дают такие карбюраторы в V-образных двигателях, где каждая камера карбюратора снабжает горючей смесью один ряд цилиндров.
Применение многокамерных карбюраторов обеспечивает увеличение мощности двигателя, снижение расхода топлива и токсичности отработавших газов. Это преимущество многокамерных карбюраторов наиболее полно проявляется у карбюраторов с последовательным открытием дроссельных заслонок.
autolyux.ru
Элементарный карбюратор | Теория
Для чего служит карбюратор?
Карбюратор нужен для приготовления горючей смеси из жидкого топлива и воздуха для питания карбюраторных двигателей внутреннего сгорания. Топливо в карбюраторе распыливается и перемешивается с воздухом, после чего подаётся в цилиндры.
Устройство и работа элементарного карбюратора
Принципиальная схема элементарного карбюратора показана на рисунке ниже.
Основными элементами карбюратора являются поплавковая камера 8 с поплавком 2 и запорным клапаном 1, топливный жиклер 7, дроссельная заслонка б, распылитель 4 и диффузор 5. Свободный от топлива объем поплавковой камеры сообщается, как показано на рисунке. с началом воздушного канала. В этом случае поплавковую камеру называют сбалансированной.
С помощью поплавка 2 и игольчатого клапана 1 в поплавковой камере 8 поддерживается примерно постоянный уровень топлива. Для предотвращения вытекания топлива через распылитель устье распылителя располагают выше уровня топлива в поплавковой камере на 2—8 мм.
Рис. Принципиальная схема простейшего карбюратора: 1 — запорный клапан; 2 — поплавок; 3 — балансировочный канал; 4 — распылитель; 5 — диффузор; 6 — дроссельная заслонка; 7 — жиклер; 8— поплавковая камера
Топливный жиклер 7 дозирует топливо, поступающее через распылитель 4 в воздушный канал карбюратора. Дроссельной заслонкой регулируется количество горючей смеси, подаваемой из карбюратора во впускной тракт и цилиндры двигателя.
На тракте впуска между окружающей средой и цилиндром создается перепад давлений, в результате которого воздух из окружающей среды поступает в воздушный канал карбюратора и движется по этому каналу. В диффузоре 5 сечение воздушного потока уменьшается, в результате чего повышается его скорость и создается местное разряжение. Максимального значения разряжение достигает в наиболее узкой части диффузора, где обычно устанавливается сопло распылителя 4. Под действием разряжения в диффузоре топливо из распылителя фонтанирует в воздушный канал. При выходе из сопла распылителя топливо подхватывается воздушным потоком и, перемещаясь по воздушному каналу со значительно меньшей скоростью, чем воздух, мелко распыляется. Затем в смесительной камере, которая находится в зоне дроссельной заслонки, распыленное топливо частично испаряется, образуя горючую смесь.
В зависимости от направления потока горючей смеси различают карбюраторы с восходящим, падающим и горизонтальным потоками. Наибольшее распространение получили карбюраторы с падающим потоком, так как они обеспечивают более равномерное распределение горючей смеси по цилиндрам, что улучшает мощностные и экономические показатели двигателя.
В зависимости от количества смесительных камер различают однокамерные и двухкамерные карбюраторы. Применение двух и более камер также позволяет улучшить смесеобразование, т.е. обеспечить более качественное перемешивание топлива с воздухом и равномерное распределение смеси по цилиндрам в многоцилиндровом двигателе.
Кто изобрел первый карбюратор?
Первый в мире карбюратор был изобретен совместно венгерским инженером и изобретателем Яношем Чонка и венгерским физиком Донатом Банки в 1893 году.
Янош Чонка
Донат Банки
Изобретение Банки и Чонкой карбюратора внесло большой вклад в развитие автомобильной промышленности, т.к. до этого момента не было придумано более эффективного способа правильно смешивать топливо и воздух для двигателя. Ходят слухи, что идею для создания карбюратора Банки позаимствовал у цветочницы, когда случайно обратил внимание на то, как она опрыскивает свои цветы водой изо рта.
ustroistvo-avtomobilya.ru
его назначение, устройство и обслуживание
Сейчас все современные бензиновые двигатели комплектуются инжекторной системой питания. За счет того, что инжектор является более совершенным, то он практически вытеснил карбюратор на автотранспорте. Но по дорогам колесит еще большое количество автомобилей, двигатель которых оборудован карбюраторной системой.

Карбюратор — это основной узел такой системы, и главная его задача – приготовление топливовоздушной смеси в необходимой пропорции для последующей её подачи в камеры сгорания двигателя.
Всего имеется три вида карбюраторных систем, одна из которых – барботажная вовсе не используется, а две другие, включающие в конструкцию игольчато-мембранный и поплавковый карбюраторы вполне еще применимы и встретить их можно на самой разнообразной технике.
Из двух последних, на автотранспорте использовался только карбюратор поплавкового типа. Игольчато-мембранный же тип можно встретить на бензопилах, мотокосах и даже на авиатехнике.
Устройство и принцип работы карбюратора
Содержание статьи

Карбюратор поплавкового типа представляет собой единый узел, включенный в систему питания. За время использования такой системы на автомобилях было разработано большое количество карбюраторов, имеющие разные особенности по конструкции, но все они функционируют используя один принцип.
Что такое карбюратор? Простейший поплавковый карбюратор состоит из двух камер:
- поплавковой камеры;
- и смесительной.
В задачу первой входит дозирование топлива и поддержание его на определенном уровне. Благодаря этой камере обеспечивается стабильная подача бензина при разных условиях работы мотора.
Конструктивно она очень проста. Внутри устройства имеется поплавковая камера с помещенным в нее поплавком, связанным с клапаном игольчатого типа, который размещен в канале подачи бензина от бензонасоса. По мере расхода топлива поплавок опускается, а с ним и клапан, в результате канал открывается и бензин закачивается в полость. При закачке необходимого уровня поплавок вместе клапаном поднимается вверх и полностью перекрывает канал.
Видео: Устройство карбюратора (Специально для АВТОмладенцев)
Вторая камера обеспечивает смешивание топлива в проходящий воздушный поток. Для этого в ней установлен диффузор – специально суженый участок камеры. Благодаря этому диффузору, воздух, проходящий через него, значительно ускоряется.
Две эти камеры соединены между собой распылителем. Та его сторона которая установлена в поплавковой камере дополнительно оснащена топливным жиклером – специальной вставкой со сквозным отверстием определенного диаметра. Его задача – обеспечивать подачу строго определенного количества бензина. Второй конец распылителя выведен в диффузор.

Работает все так: на такте впуска в цилиндре двигателя поршень движется вниз, создавая разрежения. Из-за этого происходит всасывание воздуха через воздухозаборник с установленным в него фильтром. Этот заборник располагается на карбюраторе, поэтому поток проходит через смесительную камеру.
Движение воздуха при ускорении в диффузоре, обеспечивает образование разрежения в распылительной трубке, из-за чего топливо начинает из него вытекать и подмешиваться в проходящий поток.
Регулировка подаваемой смеси в цилиндры обеспечивается дроссельной заслонкой, которая установлена за диффузором. Путем перекрывания канала, по которому движется топливовоздушная смесь, регулируется скорость движения воздуха. Именно на эту заслонку и воздействует водитель, нажимая на акселератор.
Устройство карбюратора подразумевает еще одну заслонку – воздушную. Если дросселем регулируется подаваемое количество уже готовой смеси, то вторая заслонка перекрывает подачу воздуха. А поскольку в цилиндрах разрежение при работающем моторе все же создается, то смесь получается обогащенной, которая характеризуется повышенным содержанием топлива.
Что еще входит в конструкцию?

Но это упрощенная схема карбюратора. На деле же выясняется, что карбюратор состоит из большого числа деталей и все значительно сложнее, ведь двигатель во время эксплуатации работает в разных режимах, при этом для каждого из них необходима смесь соответствующего состава.
Поэтому современный карбюратор поплавкового типа имеет сложное устройство со значительным количеством каналов, вспомогательных систем и дополнительного оборудования. Все это позволяет карбюратору обеспечивать смесеобразование на любых режимах работы.

Поэтому в конструкции карбюратора, помимо двух камер, имеется:
- система пуска;
- главная дозирующая система;
- система холостого хода;
- насос ускорительный;
- экономайзер;
- эконостат;
Каждая из этих составляющих имеет свое назначение в устройстве карбюратора и обеспечивают подачу оптимальной по количеству и качеству смеси на любых режимах функционирования силового агрегата.
1. Система пуска
Система пуска обеспечивает подачу обогащенной смеси в цилиндры двигателя во время запуска мотора. Основным элементом этой системы является воздушная заслонка. В отечественных карбюраторах она имеет ручное управление (рукоятка подсоса, выведенная в салон). В зарубежных аналогах часто встречается автоматическая система пуска, которая самостоятельно регулирует степень открытия воздушной заслонки.
При этом система пуска конструктивно сделана так, чтобы предотвратить подачу переобогащенной смеси в цилиндры сразу после пуска мотора. Для этого привод заслонки сделан так, чтобы она имела возможность самостоятельно приоткрываться, обеспечивая обеднение смеси. К тому же она связана посредством системы тяг с дроссельной заслонкой, что позволяет карбюратору во время запуска и прогрева регулировать степень открытия этих заслонок.
2. Главная дозирующая система
Главная система дозировки обеспечивает основную подачу смеси в цилиндр при всех режимах работы мотора. Единственное, она не задействуется при работе двигателя в режиме холостого хода. Основная ее задача – подача необходимого количества смеси (несколько обедненной) в цилиндры двигателя. Для того, чтобы исключить переобогащение смеси в переходных режимах эта система осуществляет компенсацию недостающего количества воздуха путем подачи из распылителя не чистого бензина, а эмульсии, в которую уже подмешана часть воздуха. Для этого на большинстве карбюраторов топливо, перед попаданием в распылитель, проходит через специально проделанные эмульсионные колодца, где и осуществляется предварительное смешивание.
3. Система ХХ
Система холостого хода обеспечивает устойчивую работу силовой установки на малых оборотах, когда дроссельная заслонка полностью закрыта. Представляет она собой систему каналов по которым подается воздух и топливо под дроссельную заслонку. То есть, смесительная камера при таком режиме не задействуется, поскольку система ХХ изготавливает необходимое количество смеси и подает во впускной коллектор в обход ее. Дополнительно эта система включает в себя еще один канал – переходной, в задачу которого входит обеспечение поддержания стабильной работы мотора во время смены режима от ХХ до средних оборотов.
Ещё кое-что полезное для Вас:
Видео: Карбюратор ОЗОН. Диагностика и Ремонт
4. Ускорительный насос
Ускорительный насос обеспечивает подачу необходимого количества смеси при резком ускорении, когда главная дозирующая система не успевает обеспечить это, поскольку она обеспечивает нормальную подачу только при плавном открытии дроссельной заслонки. В задачу этого насоса входит кратковременное обогащение смеси, что позволяет избежать «провала» при ускорении. Для этого имеется специальный канал, перекрытый шариковыми клапанами и оснащенный мембраной, привод которой осуществляется от дросселя. При резком нажатии на акселератор, шарики приоткрывают канал, а мембрана выдавливает порцию эмульсии в специальный распылитель, установленный перед диффузором.
Экономайзер и эконостат
Экономайзер обеспечивает максимальный выход мощности от мотора, когда это необходимо. Достигается это подачей обогащенной смеси за счет подачи дополнительной порции эмульсии в основной распылитель в обход главной системы дозировки.
Эконостат позволяет двигателю выдавать максимальную мощность при высоких оборотах. Для этого данный элемент обеспечивает подачу и бензина непосредственно из поплавковой полости и распыление его перед диффузором.
Это основные элементы и системы карбюратора. Также в его конструкции используется поплавковая камера сбалансированного типа. Чтобы бензин в ней поддерживался на заданном уровне, в камере не должно образовываться разрежение и для этого ее соединяют с атмосферой. Сбалансированная же камера подразумевает объединение ее с горловиной карбюратора, что предотвращает попадание в нее загрязняющих веществ вместе с воздухом.
Обслуживание карбюратора

При своей сложной конструкции регулировок у карбюратора не так уж и много, и касаются они только системы холостого хода и уровня топлива в камере с поплавком.
Чтобы установить стабильную работу мотора на ХХ, имеются два специальных винта – количества (воздушный) и качества (топливный). Первый представляет собой упорный элемент, которым регулируется степень открытия дроссельной заслонки для поступления через зазор между ним и стенкой воздуха для создания смеси.
Второй винт – игольчатый, установлен в канал, по которому эмульсия попадает в задроссельный канал. Путем вкручивания и выкручивания изменяется сечение этого канала, и как следствие – количества подаваемой эмульсии.
Недостатком карбюратора является то, что у него имеется большое количество каналов и жиклеров небольшого сечения. Поэтому в процессе эксплуатации загрязняющие элементы, попадающие вместе с воздухом и бензином, оседают в них и закупоривают каналы и жиклеры.
Поэтому важно периодически проводить чистку узла. Сделать это можно вручную, с полной разборкой узла, промывкой и продувкой каналов.
Но последнее время появились специальные чистящие средства. Такие очистители представляют собой особую смесь, которая попадая в каналы обеспечивает отслоение и растворение отложение и смол в каналах, после чего они попадают в цилиндры вместе с топливом и сгорают. Но стоит отметить, что таким средством удается удалить только небольшие засорения. В случае большого количества отложений удалить их можно только вручную.
avtomotoprof.ru
