Горит лампа системы контроля токсичности ОГ , TPI 2028096/3
Техническое обоснование
Причиной является отклонение программного обеспечения блока управления двигателя, возможно негерметичность в системе выпуска ОГ.
Решение в условиях сервиса
Если накопитель данных блока управления двигателя содержит одну и более записей о неисправностях, необходимо при помощи диагностического прибора VAS 505x перепрограммировать блок управления двигателя в режиме онлайн через код мероприятия 308E.
В том случае, если процесс актуализации не будет завершен корректным образом (т.е. актуализация прерывается после нескольких секунд), подтвердить в диагностическом приборе VAS повторение процесса актуализации.
Старая версия ПО | Новая версия ПО | ||
03E 906 019S | 1432, 2043 | 03E 906 019S | 3395 |
03E 906 019C | 1433, 2044, 3396 | 03E 906 019C | 3768 |
03E 906 019Q | 1434, 2047 | 03E 906 019Q | 3397 |
03E 906 019P | 1435, 2046 | 03E 906 019P | 3398 |
03E 906 019D | 1436, 2045 | 03E 906 019D | 3399 |
03E 906 019AC | 2083, 9801 | 03E 906 019AC | 9879 |
После актуализации, при помощи диагностического прибора VAS 505x в режиме Ведомые функции выполнить следующие рабочие шаги:
| • | Сброс обученных величин двигателя |
| • | Базовая установка дроссельной заслонки |
Между этими рабочими шагами обязательно необходимо выключить зажигание минимум на 30 секунд.
Важно:
Если накопитель данных содержит сообщения о неисправностях P2096 и P2097, всегда необходимо всю систему выпуска ОГ (включая катализатор) проверить на герметичность в соответствии Руководством по ремонту.
Примечание:
Если рекламация будет устранена путем замены блока управления двигателя, компенсация затрат в рамках гарантии и куланца компенсирована не будет.
Чтобы продемонстрировать компактные размеры SCRi®, на стенде Emitec был представлен оснащенный этой системой автомобиль Multicar Fumo Разработка компании HJS – система SCRT®, очищающая ОГ от сажи на 100% и снижающая уровень содержания NOx на 90% Система PM-KAT®, разработанная MAN Глушитель со встроенной системой PM-KAT®, разработанной MAN Глушитель со встроенным сажевым фильтром PM-METALIT® фирмы Emitec, в корпусе имеется место для окислительного конвертора и каталитического нейтрализатора Система SCRi® с сажевым фильтром, разработанная компанией Emitec Схема системы очистки ОГ, разработанной Eaton Сажевый фильтр компании TWINTEC для большегрузного автомобиля Глушитель со встроенным сажевым фильтром PM-Metalit® фирмы Emitec для пригородных и междугородных автобусов Сажевый фильтр PM-Metalit® фирмы Emitec для автобусов и грузовых автомобилей, соответствующих нормам токсичности ОГ EEV Глушитель сo встроенным сажевым фильтром PM-Metalit® фирмы Emitec после двухгодичных эксплуатационных испытаний (пробег 334 000 км, непрерывная регенерация) Оригинальная инновационная система очистки ОГ в системе выпуска, разработанная компанией Eaton Премьера от компании TWINTEC: система TWINblue® Конструкция элемента фильтра PM-Metalit® и схема его работы EMICAT® – каталитический нейтрализатор со встроенным электроподогревателем, разработанный компанией Emitec | В Европе менее 30% коммерческих автомобилей соответствует требованиям норм токсичности отработавших газов (ОГ) Euro 4 и Euro 5. Системы, использующие реагент AdBlueНа IAA ряд компаний представили различные системы, состоящие из сажевого фильтра и каталитического нейтрализатора, работающего по технологии SCR, т. е. с использованием аммиака NH3 (который получается из раствора мочевины AdBlue), разлагающего окислы азота NOx на нейтральный азот и воду (NH3 + Немецкая компания Emitec Gesellschaft fur Emissionstechnologie mbH занимает ведущие позиции в мире по разработкам и выпуску каталитических нейтрализаторов с металлическими носителями и другого оборудования по очистке отработавших газов дизельных двигателей. Разместить системы SCR на машинах весьма сложно из-за недостатка места. Решение проблемы предлагает компания Emitec: ее инженеры разработали металлические носители для нейтрализаторов особой конструкции, благодаря которой в потоке ОГ возникают турбулентные завихрения, с помощью которых интенсивнее протекает химическая реакция, что в свою очередь позволяет уменьшить размеры нейтрализатора. Раствор мочевины (аммиак NH3) впрыскивается в поток газа перед окислительным конвертором – первым компонентом системы. В конверторе часть аммиака NH3 окисляется с образованием NO2, а окись углерода СО окисляется до СО2. Далее в системе располагается сажевый фильтр. Emitec представила на IAA усовершенствованную версию сажевого фильтра с постоянной регенерацией PM-Metalit®, который не нуждается в техобслуживании. Сажа в нем окисляется не в результате горения, а за счет химической реакции. Когда NO2 ®
PM-Metalit® разработан совместно с компанией TWINTEC, поэтому немецкая компания TWINTEC AG представила на IAA совмещенную в одном агрегате инновационную четырехступенчатую систему обработки ОГ в системе выпуска TWINblue®, составной частью которой также являются сажевый фильтр PM-Metalit®и каталитический нейтрализатор. На первом этапе ОГ проходят через модуль PM-Metalit®, в котором задерживается сажа и окисляются газообразные СО и СН. На втором этапе после сажевого фильтра в поток ОГ впрыскивается реагент AdBlue. Поток поступает в следующий модуль PM-Metalit Основная часть всех систем очистки ОГ в системе выпуска, разработанных немецкой компанией HJS Fahrzeugtechnik GmbH & Co KG, это сажевый фильтр SMF® с непрерывной регенерацией (для поддержания этого процесса не нужно ни подачи топлива, ни других дополнительных средств), с фильтрующим элементом из спеченного металлического порошка, требующий минимального технического обслуживания. Двигатели, оснащенные такими фильтрами, могут соответствовать не только стандарту Euro 5, но и EEV. Такими фильтрами уже оснастили многие тысячи автобусов по всей Европе. Они способны накапливать гораздо большее количество продуктов сгорания сажи – золы, в три-четыре раза больше по сравнению с обычными керамическими фильтрами благодаря тому, что их «карманообразная» конструкция в принципе не может засоряться. Как следствие, существенно увеличивается пробег между техническими обслуживаниями – чисткой фильтра (до нескольких лет), даже если двигатель не новый и потребляет увеличенное количество масла. На поверхности фильтра SMF® может быть нанесен катализатор для интенсификации процесса регенерации и снижения температурного порога работоспособности. В экспозиции HJS была представлена система SMF®-CRT® (Continuous Regeneration Technology – «технология непрерывной регенерации»), предназначенная для магистральных грузовиков, выполняющих дальние перевозки. У таких грузовиков постоянно высокая температура ОГ в системе выпуска. SMF®-CRT® состоит из окислительного конвертора и сажевого фильтра. Также HJS разработала систему с активной регенерацией SMF®-AR для легких и среднетоннажных коммерческих автомобилей, которые работают с частыми остановками и малой скоростью в городе. В отличие от фильтров с непрерывной регенерацией, которые должны работать при определенном уровне температуры ОГ для сжигания сажи, в системе SMF®-AR благодаря подаче топлива сажа в фильтре может выжигаться практически на любом режиме работы двигателя – независимо от температуры ОГ. Систему SCRT®, в которой сажевый фильтр SMF® совмещен с каталитическим нейтрализатором, можно устанавливать и на новые машины, оборудованные штатным сажевым фильтром, и на старые коммерческие автомобили, не имеющие никаких агрегатов очистки ОГ в системе выпуска. Автобусы, соответствующие нормам Euro 3, после установки SCRT® отвечают требованиям стандарта Euro 5 или даже EEV. Система имеет функцию защиты: даже если бак с AdBlue опустеет, это не приведет ни к снижению мощности двигателя, ни к выходу из строя SCRT®. Как подсчитали специалисты компании, стоимость оборудования системой от компании HJS грузовика, соответствующего нормам Euro 3, с целью снижения токсичности ОГ составляет 6000 евро. После такого переоборудования грузовик получает налоговые льготы от правительства Германии. Если он проходит за год 150 тыс. км, экономия за счет налоговых льгот составит 6300 евро, т. е. новая система очистки окупится за год. Robert Bosch GmbH предложила систему с электронным управлением Denoxtronic для очистки ОГ в системах выпуска любых коммерческих автомобилей. Система состоит из сажевого фильтра с активной регенерацией (процесс подачи дизельного топлива для регенерации регулирует система управления) и каталитического нейтрализатора. В результате сгорания топлива температура ОГ поднимается почти до 600 °С, и сажа в фильтре сгорает. Дозирующий модуль подает точное количество реагента в поток ОГ перед каталитическим нейтрализатором. В нейтрализаторе аммиак из реагента вступает в реакцию с окислами азота, образуя нейтральный азот и воду. Система практически не нуждается в техобслуживании. Системы, не использующие AdBlueСистемы нейтрализации SCR имеют ряд недостатков: реагент AdBlue – токсичная и коррозионно-активная жидкость, при работе с ней требуется соблюдать жесткие меры предосторожности. Запатентованные агрегаты очистки ОГ собственной разработки, более дешевые, чем система SCR (и не нуждающиеся в AdBlue), представила компания MAN Nutzfahrzeuge Gruppe. Система PM-KAT® предназначена для двигателей, оборудованных системой рециркуляции ОГ (англ. аббревиатура EGR), и состоит из окислительного конвертора и сажевого фильтра с непрерывной регенерацией. В конверторе на платиновом покрытии NO окисляется до двуокиси NO2. Далее в фильтре с элементом из металлокерамических волокон несгоревшие углеводороды вступают в реакцию с NO2, в результате образуется СО2 и NO. Химические процессы в этой системе протекают без потребления энергии от внешних источников. Как утверждают специалисты MAN, PM-KAT® практически не засоряется и не требует технического обслуживания. Система PM-KAT® легче агрегатов системы SCR примерно на 150 кг. Агрегатом PM-KAT® оснащают двигатели MAN Euro 4. Чтобы уменьшить токсичность ОГ двигателей MAN с AGR до уровня Euro 5, предлагается окислительный нейтрализатор Oxi-KAT®. В отличие от упомянутого выше окислительного конвертора Oxi-KAT® разлагает NOx. Двигатели Euro 5 с Oxi-KAT® не нуждаются в установке PM-KAT®, поскольку низкий уровень содержания сажи в ОГ обеспечивается за счет применения системы впрыска высокого давления и двухступенчатого турбонаддува. Также специалисты MAN разработали систему CRTec (сажевый фильтр с непрерывной регенерацией и электронным управлением). С помощью CRTec токсичность ОГ снижается до уровня требований стандарта EEV. Глобальная американская корпорация Eaton одна из немногих иностранных компаний, претендующих на место на немецком рынке систем очистки ОГ. Она разработала оригинальную систему удаления NOx и сажи из ОГ в системе выпуска, «работающую на одной жидкости – дизельном топливе», по словам специалистов Eaton, более эффективную и экономичную, чем системы очистки ОГ других фирм. Системе, разработанной Eaton, для работы не требуется мочевина – аммиак образуется непосредственно в системе. Система включает в себя риформер, преобразующий топливо, задерживающий фильтр NOx (LNT), сажевый фильтр и каталитический нейтрализатор. Процесс протекает следующим образом. Задерживающий фильтр LNT захватывает NOx из ОГ. Когда LNT насыщается окислами азота (а также соединениями серы, содержащимися в топливе), система управления начинает процесс регенерации (и десульфатации) LNT. В поток ОГ перед риформером впрыскивается дизельное топливо. Риформер разлагает топливо на водород и окись углерода СО. Попутно выделяется тепло, необходимое для регенерации сажевого фильтра. В LNT в результате реакции с NOx продуктов риформинга топлива, поступающих из риформера, начинается процесс регенерации, в ходе которого NOx разлагаются на азот, аммиак NH3 и водяной пар: NOx + СНx → N + NH3 + H2O. Дальше поток ОГ попадает в сажевый фильтр, в котором задерживаются и непрерывно сжигаются частицы несгоревших углеводородов. Затем в каталитическом нейтрализаторе аммиак NH3, образовавшийся в задерживающем фильтре LNT, вступает в реакцию с оставшимися в ОГ окислами азота NOx, образуя азот и воду. Компания Eaton в настоящее время ведет работу с различными производителями по внедрению своей системы на автомобилях и спецтехнике. * * *По-прежнему практически все системы очистки ОГ дизельных двигателей от окислов азота работают по одной из двух технологий: SCR (с мочевиной) или EGR (рециркуляция отработавших газов). По-прежнему используются и сажевые фильтры с непрерывной регенерацией, и фильтры с активной регенерацией. Надежного фильтра, самоочищающегося при любых режимах работы двигателя, пока никому создать не удалось. Одна из основных проблем – засорение сажевых фильтров продуктами сгорания (золой), поэтому многие фирмы отказываются от керамических фильтров и предлагают элементы из других материалов, а также оригинальные конструкции, в которых «не задерживаются сажа и зола». |
Кронштейн, система выпуска ОГ 133919 FISCHER
C-MAX II (DXA/CB7, DXA/CEU) 1.6 EcoBoost – бензин (JQDA, JQDB), 150 л. с., выпуск 01.2010 – наст. время
C-MAX II (DXA/CB7, DXA/CEU) 1.6 EcoBoost – бензин (JTDA, JTDB), 182 л. с., выпуск 01.2010 – наст. время
GRAND C-MAX (DXA/CB7, DXA/CEU) 1.6 EcoBoost – бензин (JQDA, JQDB), 150 л. с., выпуск 01.2010 – наст. время
GRAND C-MAX (DXA/CB7, DXA/CEU) 1.6 EcoBoost – бензин (JTDA, JTDB), 182 л. с., выпуск 01.2010 – наст. время
FOCUS (DAW, DBW) ST170 – бензин (ALDA), 173 л. с., выпуск 01.2002 – 30.2004
FOCUS III седан 2.0 TDCi – Дизель (T7DB), 150 л. с., выпуск 01.2014 – наст. время
FOCUS III 2.0 TDCi – Дизель (T7DB), 150 л. с., выпуск 01.2014 – наст. время
FOCUS III Turnier 2.0 TDCi – Дизель (T7DB), 150 л. с., выпуск 01.2014 – наст. время
C-MAX II (DXA/CB7, DXA/CEU) 2.0 TDCi – Дизель (T7DB), 150 л. с., выпуск 01.2015 – наст. время
GRAND C-MAX (DXA/CB7, DXA/CEU) 2.0 TDCi – Дизель (T7DB), 150 л. с., выпуск 01.2015 – наст. время
FOCUS III седан 1.6 EcoBoost – бензин (JQDA, JQDB, YUDA), 150 л. с., выпуск 01.2010 – наст. время
FOCUS III седан 1.6 EcoBoost – бензин (JTDA, JTDB), 182 л.
с., выпуск 01.2010 – наст. время
FOCUS III 1.6 EcoBoost – бензин (JQDA, JQDB, YUDA), 150 л. с., выпуск 01.2010 – наст. время
FOCUS III 1.6 EcoBoost – бензин (JTDA, JTDB), 182 л. с., выпуск 01.2010 – наст. время
FOCUS III Turnier 1.6 EcoBoost – бензин (JQDA, JQDB, YUDA), 150 л. с., выпуск 01.2010 – наст. время
FOCUS III Turnier 1.6 EcoBoost – бензин (JTDA, JTDB), 182 л. с., выпуск 01.2010 – наст. время
TRANSIT CONNECT (P65_, P70_, P80_) 1.8 Di – Дизель (BHPA, P7PA, P7PB, R2PA), 75 л. с., выпуск 01.2002 – 31.2013
TRANSIT CONNECT (P65_, P70_, P80_) 1.8 TDCi – Дизель (HCPA, HCPB, P9PA, P9PB, P9PC, P9PD, R3PA, RWPE, RWPF), 90 л. с., выпуск 01.2002 – 31.2013
TRANSIT CONNECT (P65_, P70_, P80_) 1.8 TDCi – Дизель (RWPA, RWPC, RWPD), 110 л. с., выпуск 01.2006 – 31.2013
Кронштейн, система выпуска ОГ 991352 ASSO
LAGUNA II (BG0/1_) 1.6 16V (BG0A, BG0L) – бензин (K4M 710, K4M 714), 107 л. с., выпуск 01.2001 – наст. время
LAGUNA II Grandtour (KG0/1_) 1.6 16V (KG0A, KG0L) – бензин (K4M 710, K4M 714), 107 л. с., выпуск 01.2001 – наст. время
LAGUNA II (BG0/1_) 1.8 16V (BG0B, BG0C, BG0J, BG0M, BG0V) – бензин (F4P 770, F4P 772), 121 л. с., выпуск 01.2001 – наст. время
LAGUNA II (BG0/1_) 1.9 dCi (BG08, BG0G) – Дизель (F9Q 750, F9Q 650, F9Q 670, F9Q 674), 120 л. с., выпуск 01.2001 – наст. время
LAGUNA II Grandtour (KG0/1_) 1.8 16V – бензин (F4P 770, F4P 774), 121 л. с., выпуск 01.2001 – наст. время
LAGUNA II Grandtour (KG0/1_) 1.9 dCi (KG0G) – Дизель (F9Q 750, F9Q 670, F9Q 674), 120 л. с., выпуск 01.2001 – наст. время
LAGUNA II (BG0/1_) 2.0 16V IDE (BG0N) – бензин (F5R 700, F5R 701), 140 л. с., выпуск 01.2001 – наст. время
LAGUNA II Grandtour (KG0/1_) 2.0 16V IDE (KG0N) – бензин (F5R 700, F5R 701), 140 л.
с., выпуск 01.2001 – наст. время
LAGUNA II (BG0/1_) 1.9 dCI (BG0E) – Дизель (F9Q 752), 105 л. с., выпуск 01.2001 – наст. время
LAGUNA II Grandtour (KG0/1_) 1.9 dCI (KG0E) – Дизель (F9Q 752), 105 л. с., выпуск 01.2001 – наст. время
LAGUNA II (BG0/1_) 2.2 dCi (BG0F) – Дизель (G9T 702, G9T 700), 150 л. с., выпуск 01.2001 – наст. время
LAGUNA II Grandtour (KG0/1_) 2.2 dCi (KG0F) – Дизель (G9T 702), 150 л. с., выпуск 01.2001 – наст. время
LAGUNA II (BG0/1_) 1.8 16V (BG0B, BG0M) – бензин (F4P 770, F4P 773), 120 л. с., выпуск 01.2001 – наст. время
LAGUNA II Grandtour (KG0/1_) 1.8 16V (KG0B, KG0M) – бензин (F4P 770, F4P 773), 120 л. с., выпуск 01.2001 – наст. время
LAGUNA II Grandtour (KG0/1_) 1.8 16V (KG0J) – бензин (F4P 770, F4P 771, F4P 774, F4P 775), 116 л. с., выпуск 01.2001 – наст. время
LAGUNA II (BG0/1_) 1.9 dCi (BG0R) – Дизель (F9Q 754), 100 л. с., выпуск 01.2001 – наст. время
LAGUNA II Grandtour (KG0/1_) 1.9 dCi (KG0E, KG0R) – Дизель (F9Q 752), 100 л. с., выпуск 01.2001 – наст. время
LAGUNA II (BG0/1_) 2.0 16V (BG00, BG0K, BG0P, BG0W) – бензин (F4R 712, F4R 713, F4R 714, F4R 715), 135 л. с., выпуск 01.2002 – наст. время
LAGUNA II Grandtour (KG0/1_) 2.0 16V (KG00, KG0K, KG0W) – бензин (F4R 712, F4R 713, F4R 714, F4R 715), 135 л. с., выпуск 01.2002 – наст. время
LAGUNA II (BG0/1_) 2.0 16V Turbo (BG0S, BG0Z, BG1L, BG1M) – бензин (F4R 764, F4R 765, F4R 786, F4R 787), 163 л. с., выпуск 01.2003 – наст. время
LAGUNA II Grandtour (KG0/1_) 2.0 16V Turbo (KG0S, KG0Z, KG1L, KG1M) – бензин (F4R 764, F4R 765, F4R 786, F4R 787), 163 л. с., выпуск 01.2003 – наст. время
LAGUNA II (BG0/1_) 1.9 dCi (BG1A, BG1W) – Дизель (F9Q 758, F9Q 674), 110 л. с., выпуск 01.2005 – наст. время
LAGUNA II Grandtour (KG0/1_) 1.
9 dCi (KG1A, KG1W) – Дизель (F9Q 758, F9Q 674), 110 л. с., выпуск 01.2005 – наст. время
LAGUNA II (BG0/1_) 1.9 dCi (BG1A, BG1V) – Дизель (F9Q 758, F9Q 759), 130 л. с., выпуск 01.2005 – наст. время
LAGUNA II Grandtour (KG0/1_) 1.9 dCi (KG1V) – Дизель (F9Q 758, F9Q 759), 130 л. с., выпуск 01.2005 – наст. время
LAGUNA II (BG0/1_) 2.2 dCi – Дизель (G9T 600, G9T 605, G9T 706, G9T 707), 140 л. с., выпуск 01.2005 – наст. время
LAGUNA II Grandtour (KG0/1_) 2.2 dCi – Дизель (G9T 600, G9T 706, G9T 707), 140 л. с., выпуск 01.2005 – наст. время
LAGUNA II (BG0/1_) 2.0 dCi (BG1T) – Дизель (M9R 740), 150 л. с., выпуск 01.2005 – наст. время
LAGUNA II Grandtour (KG0/1_) 2.0 dCi (KG1T) – Дизель (M9R 740), 150 л. с., выпуск 01.2005 – наст. время
Рециркуляция отработавших газов (ОГ)
Рециркуляция отработавших газов (ОГ) заключается в перепуске их части во впускную систему двигателя и последующему возврату в камеры сгорания. Так как ОГ содержат после процесса сгорания очень мало кислорода, максимальные температура и давление при сгорании топлива снижаются. В результате этого уменьшается выброс оксидов азота – NOx.
Эффект рециркуляции, снижающий уровень эмиссии NOx, основывается на трех составляющих:
- снижении концентрации кислорода в камере сгорания
- сокращении расхода ОГ
- снижении температуры в цилиндре благодаря более высокой теплоемкости инертных газов, которые не участвуют в реакции (например, СО2)
Количество отработавших газов, участвовавших в рециркуляции, может достигать 20…50% общего расхода, при этом содержание окислов азота снижается до 60%. Увеличение выбросов углеводородов и роста расхода топлива при увеличении неравномерности работы двигателя накладывают ограничения на верхний предел степени рециркуляции отработавших газов. Система рециркуляции выключается при работе двигателя на холостом ходу, потому что образование окислов азота на этом режиме незначительно.
На режимах полных нагрузок или близких к ним, рециркуляция осуществляется непродолжительное время, а в режиме частичных нагрузок более длительное время и эффективность действия системы на этом режиме наивысшая.
Рециркуляция подразделяется на:
- внутреннюю
- внешнюю
При внутренней рециркуляции отработавших газов регулирование количества остаточных газов в цилиндрах двигателя производится перестановкой по фазе впускных и выпускных валов. Это создает условия для поступления отработавших газов из выпускных во впускные каналы во время перекрытия фаз газораспределения (т. е. в период одновременного открытия впускного и выпускного клапанов). При этом количество рециркулируемых газов зависит главным образом от продолжительности перекрытия фаз. Для этого впускные клапаны должны открываться задолго до ВМТ, а выпускные – закрываться непосредственно перед ВМТ. В результате оба клапана остаются открытыми одновременно и отработавшие газы перетекают во впускные каналы. К преимуществам внутренней рециркуляции отработавших газов по сравнению с внешней рециркуляцией относятся ускоренная реакция системы и повышенная равномерность распределения рециркулируемых газов по цилиндрам.
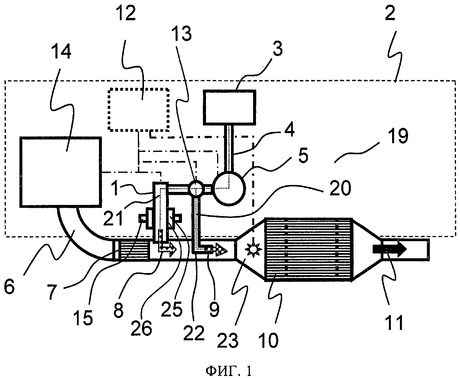
Схема системы внешней рециркуляции ОГ представлена на рисунке. Принцип работы системы основан на перепуске части ОГ во впускной трубопровод. После этого они, смешиваясь с воздухом или топливовоздушной смесью, повторно участвуют в горении. Определенная часть ОГ, пройдя клапан рециркуляции 3, разбавляет свежую топливоздушную смесь или воздух. Управление клапаном рециркуляции осуществляется с помощью электронного блока управления 4 двигателя как правило, общего с системой питания, АБС и т. д.
Рис. Схема рециркуляции отработавших газов дизельного двигателя:
1 – всасываемый воздух; 2 – заслонка впускного коллектора с датчиком положения заслонки и двигателем; 3 – клапан рециркуляции ОГ; 4 – блок управления двигателя; 5 – подводящая магистраль ОГ; 6 – датчик температуры охлаждающей жидкости; 7 – лямбда-зонд; 8 – выпускной коллектор; 9 –турбонагнетатель; 10 – радиатор охлаждения ОГ; 11 – переключающий клапан радиатора рециркуляции
Количество рециркулируемых ОГ зависит от частоты вращения двигателя, количества впрыскиваемого топлива, объема всасываемого воздуха, температуры и давления всасываемого воздуха.
Блок управления двигателем определяет с помощью измерителя расхода поступающую в цилиндры массу воздуха и рассчитывает соответствующее ее величине давление во впускном трубопроводе. При рециркуляции ОГ их масса добавляется к массе свежего воздуха и соответственно повышается давление во впускном трубопроводе. Датчик давления во впускном трубопроводе реагирует на это изменением напряжения на его выходе, которое передается на вход блока управления двигателем. По величине этого сигнала определяется суммарное количество воздуха и ОГ, поступающих в цилиндры двигателя. Количество перепускаемых ОГ определяется вычитанием количества свежего воздуха из суммарной величины.
В магистрали ОГ перед сажевым фильтром расположен широкополосный лямбда-зонд 7, сигнал которого используется в качестве корректирующей величины для регулировки количества рециркулируемых ОГ. Если доля кислорода в ОГ отличается от заданного параметра характеристики рециркуляции ОГ, то блок управления двигателя 4 посылает сигнал управления на клапан рециркуляции 3 и, соответственно, изменяет количество рециркулируемых ОГ.
Радиатор 10 системы рециркуляции ОГ охлаждает рециркулируемые ОГ. Благодаря этому происходит дополнительное снижение температуры сгорания и обеспечивается возможность рециркуляции большего количества ОГ.
Однако независимое от теплового состояния двигателя охлаждение рециркулируемых газов приводит к повышенному выбросу углеводородов и оксида углерода. Поэтому в системе рециркуляции применяют переключающий клапан радиатора рециркуляции 11, который в зависимости от температуры охлаждающей жидкости (обычно ниже 50°С) направляет отработавшие газы к радиатору или в обход его.
Детали для системы управления двигателем и очистки ОГ
В категории «Система очистки отработавших газов» компания MEYLE предлагает широкий выбор датчиков давления и температуры ОГ, а также лямбда-зондов. Датчики температуры ОГ и лямбда-зонды от MEYLE сочетаются со всеми существующими технологиями и учитывают требования современных, распространенные на рынке марок автомобилей.
Наши датчики изготовлены в соответствии с самыми высокими стандартами MEYLE, обладают точными спецификациями OE и на 100 % проходят проверку функциональности. Наши датчики генерируют такой же электрический сигнал, что и OE-деталь. За счет этого обеспечивается безупречное взаимодействие с соответствующим блоком управления, а также правильная работа системы. Учет всех прикладных данных, а также всей важной для деталей информации гарантирует точность пригонки электронных компонентов MEYLE, что минимизирует затраты на возврат изделия.
Администраторы данных и инженеры MEYLE уделяют особое внимание целесообразной консолидации функционально идентичных изделий, что позволяет дополнительно облегчить повседневную жизнь клиентов MEYLE за счет упрощения комплексности и экономии места для хранения. Сокращение количества элементов при одинаковой или даже более высокой степени покрытия рынка приносит большую выгоду оптовым клиентам MEYLE.
Два примера:
1. Мы выяснили, что OE-детали частично отличаются только цветом разъема. В таком случае наши инженеры и администраторы принимают решение объединить такие OE-артикулы под одним номером MEYLE.
2. Иногда бывает и так, что несколько OE-артикулов незначительно различаются между собой лишь длиной кабеля. В случае, если это технически целесообразно, мы также объединяем их под одним номером MEYLE. При этом наши опытные инженеры и администраторы данных строго следят за тем, чтобы консолидация артикулов не приводила к возникновению трудностей при установке наших деталей. При значительном отличии, например, в длине кабеля, мы выпускаем несколько номеров деталей MEYLE: так слишком длинный кабель не будет мешать при установке.
Tenneco и Eaton вместе разработают ряд компонентов выпускной системы
Компании Tenneco и Eaton объявили об объединении усилий в сфере создания новой встроенной системы управления температурой отработавших газов.
Система предназначена как для легкового, так и для грузового транспорта; ее компоненты будут соответствовать требованиям грядущих экологических стандартов, заявляют компании-партнеры.
Компоненты / Новости
По условиям соглашения, разработанный Tenneco модуль «холодного пуска» Cold Start Thermal Unit (CSTU) будет работать в новой системе будет работать в паре с нагнетателем TVS от Eaton. Последний позволяет точно управлять воздушным потоком, тем самым «помогая» модулю CSTU поддерживать оптимальную температуру нейтрализации.
Встроенная система управления температурой отработавших газов обеспечит непосредственный нагрев системы нейтрализации отработавших газов автомобиля, что, как уточняют в Tenneco, особенно важно для снижения объемов выбросов вредных веществ. Как заявляют оба производителя систем выпуска, при нагреве SCR-катализатора приблизительно до 200–250 °C система нейтрализации отработавших газов способна преобразовывать оксиды азота в безвредные вещества (например, азот и воду) на выходе из SCR-катализатора.
По заявлению компаний-партнеров, их встроенная система управления температурой отработавших газов «уже привлекла внимание нескольких производителей мирового класса».
Предложенное Eaton и Tenneco решение позволит, в частности, избавиться от сложных систем быстрого прогрева катализатора с многоточечным впрыском и теплонапряженной компоновкой. Кроме того, модуль CSTU и нагнетатель TVS будут поставляться отдельно, однако они будут спроектированы таким образом, чтобы автопроизводители могли с интегрировать их производство машин.
Модуль CSTU и принципиальная схема работы новой системы управления температурой отработавших газов
Новая система управления температурой отработавших газов от Eaton и Tenneco, ориентировочно, будет готова для запуска в серийное производство в 2025 году.
В Европе, как уточняют в Tenneco, в том же 2025 году будут введены новые, более жесткие, чем в настоящее время, экологические требования Euro-7 для легковых автомобилей и Euro-VII для грузовиков. Новые стандарты предполагают снижение уровня оксидов азота (NOx) в автомобильном выхлопе на 90%, что уже сегодня вынуждает производителей внедрять дополнительные стратегии по сокращению выбросов.
Подача информации возвращается в электронном виде (FIRE)
Что такое возврат информации?
Информационная декларация — это налоговый документ, используемый для сообщения об определенных типах платежей, произведенных финансовыми учреждениями и другими лицами, которые осуществляют платежи в рамках своей торговли или бизнеса в соответствии с требованиями Внутреннего налогового кодекса. Формы 1042-S, 1097, 1098, 1099, 3921, 3922, 5498, 8027, 8955-SSA и W-2G могут быть поданы в электронном виде через систему FIRE. Формы 1094/1095 подаются через систему возврата информации Закона о доступном медицинском обслуживании (AIR).
Кто может участвовать?
Любой человек с кодом управления передатчиком системы FIRE (TCC), который должен подавать перечисленные выше информационные отчеты (за исключением форм 1094/1095), может подавать в электронном виде через FIRE. Закон требует, чтобы любая корпорация, товарищество, работодатель, имущество и / или траст, которые обязаны подавать 250 или более информационных отчетов за любой календарный год, должны подавать в электронном виде. IRS поощряет лиц, подавших менее 250 отчетов, также подавать в электронном виде.Первый закон о налогоплательщиках 2019 года, вступивший в силу 1 июля 2019 года, уполномочил Казначейство и IRS издать нормативные акты, которые снижают требование о возврате 250 для налоговых деклараций за 2021 год. Если эти правила будут изданы и если они вступят в силу для налоговых деклараций за 2021 год, которые должны быть поданы в 2022 году, мы опубликуем статью на IRS.gov/form1099 с объяснением изменений. Однако до тех пор, пока не будут изданы правила, это число останется на уровне 250.
Каковы преимущества электронной подачи документов?
Некоторые из преимуществ электронной подачи ваших информационных возвратов через систему FIRE перечислены ниже:
- Файлы обрабатываются быстрее с меньшим количеством ошибок.
- Система
FIRE может принимать несколько файлов для одного и того же типа возврата.

Комбинированная федеральная / государственная программа подачи заявок (CF / SF) доступна для государств-участников. См. Публикацию 1220 PDF или часто задаваемые вопросы государственного координатора CF / SF.
Формы для заполнения доступны для:
Форма 4419, Заявление о предоставлении возврата информации в электронном виде (FIRE)
Форма 8809, Продление времени на возврат файловой информации — только автоматические 30-дневные запросы.
Примечание: Запросы на 30-дневное продление срока для форм W-2 и 1099-NEC должны подаваться на бумажной форме 8809.
Как передавать через систему FIRE
Чтобы подать заявку в электронном виде, у вас должно быть программное обеспечение или поставщик услуг, который создаст файл в надлежащем формате. Отсканированные копии или PDF-копии не принимаются. Кроме того, для передачи информации, возвращаемой через систему FIRE, требуется код управления передатчиком (TCC).
С 1 октября 2019 года форма 4419 должна подаваться в электронном виде при запросе оригинального TCC. Заполните онлайн-форму 4419, расположенную в системе FIRE по адресу https://fire.irs.gov/. Отправьте форму 4419 до 1 ноября 2020 г., чтобы убедиться, что вы готовы подавать в электронном виде в 2021 налоговом году. Формы 4419, полученные после 1 ноября, могут не быть обработаны вовремя для удовлетворения ваших потребностей в электронной регистрации. Разрешить 45 дней на обработку.
Отправляйте бумажную форму 4419 только при наличии существующего кода управления передатчиком (TCC) на номер:
- Проверить текущую информацию о TCC.
- Запросить дополнительный TCC для типа формы, указанного в блоке 8 формы 4419.
Ваш FIRE TCC будет удален, если вы не подадите какую-либо из вышеуказанных информационных деклараций (кроме формы 1094/1095) в течение двух налоговых лет подряд.
После удаления из нашей базы данных вам нужно будет отправить еще одну форму 4419 .
Сервер производственной и тестовой системы, возвращаемой в электронном виде (FIRE), больше не поддерживает Secure Socket Layer (SSL) 3.0 в качестве одного из технических стандартов безопасности в Интернете системы FIRE.Передатчики, использующие IE 6.0 или ниже в качестве своего браузера, могут иметь проблемы при входе в систему и подключении к системе FIRE. Выполните следующие действия, чтобы подключиться и загрузить файл:
- Перейдите в Инструменты> Свойства обозревателя> Дополнительно
- Прокрутите вниз и найдите Безопасность
- Снимите флажки у SSL 2.0 и SSL 3.0
- Проверьте TLS 1.2 и выберите «Применить».
| Наличие тестовой системы FIRE | ||
|---|---|---|
| Из: | Через: | |
| Недоступно во время ежегодных обновлений | 26 октября 2020 г., 6 стр.м. ET | 2 ноября 2020 |
| 4 декабря 2020 г., 18:00 ET | 4 января 2021 г., 8:00 по восточному времени | |
| В наличии | 3 ноября 2020 | 4 декабря 2020 г., 18:00 ET |
| В наличии | 4 января 2021 г., 8:00 по восточному времени | Доступно 24 часа в сутки до обновлений до конца года. Даты уточняются. |
Примечание: Производственная система FIRE может отключаться на техническое обслуживание каждое воскресенье и среду с 2 часов ночи.м. По восточному времени до 5 утра по восточному времени. Об обновлениях тестовой системы FIRE будет объявлено на веб-страницах FIRE Test System и FIRE.
| Наличие производственной системы FIRE | ||
|---|---|---|
| Из: | Через: | |
| Недоступно во время ежегодных обновлений | 4 декабря 2020 г. , 18:00 ET | 5 января 2021 г., 6:00 по восточному времени |
| Управляемый запуск | 6 января 2021 г., 8 а.м. ET | 8 января 2021 г., 12:00 ET |
| В наличии | 8 января 2021 г., 12:00 ET | Доступно 24 часа в сутки до обновлений до конца года. Даты уточняются. |
Забытый или утерянный пароль и секретная фраза
Учетные записиFIRE требуют, чтобы пользователь установил секретную фразу для помощи в сбросе паролей для систем FIRE (производственная и тестовая).
Вам будет предложено создать секретную фразу одновременно с созданием идентификатора пользователя, пароля и действительного 10-значного PIN-кода.Если у вас уже есть учетная запись системы FIRE (производственная и тестовая), но нет секретной фразы, вам будет предложено создать ее при первом входе в систему. Если вам не удастся установить действительную секретную фразу, вы будете постоянно получать запросы, пока не сделаете это.
Сброс пароля. Если у вас есть учетная запись FIRE для Test and Production с установленной секретной фразой и вы забыли пароль, вам следует сбросить пароль, используя установленную секретную фразу.
Дополнительную информацию можно найти на следующих ресурсах:
Доступная помощьОперация технического обслуживания (TSO) доступна плательщикам, отправителям и работодателям по номерам, указанным ниже.Когда вы позвоните, вам будут предоставлены инструкции по основным элементам, относящимся к техническим аспектам электронной подачи документов через системы FIRE, ресурсы самопомощи и рекомендации по темам налогового права на IRS.gov. Ниже приведены некоторые примеры основных элементов:
- Обозначение формы
- Как получить форму
- Предоставить связанные публикации по форме или теме
- FIRE Информация о статусе файла и руководство
Обратитесь в службу технической поддержки (TSO)
с понедельника по пятницу с 8:30 до 17:30 EST
Помощь с индивидуальными счетами налогоплательщиков, вопросами, связанными с счетами, или налоговым законодательством не может быть предоставлена по номерам, указанным выше.
Щелкните ссылку «Справка» на IRS.gov, чтобы получить помощь по многим налоговым вопросам.
Кто может участвовать Вернувшийся пользователь Вход в систему Полезная информация
| Последние новости [6 апреля 2021 г.] |
| 03-21 Уведомление о надбавке к цене Письмо с объявлением |
| 02-21 — Пресс-релиз TYCO ® Коллектор стояка модели RM-2 Эффективный коллектор стояка с максимальной герметизацией |
| 02-21 — февраль 2021 Обновление технических данных Доступны новые пересмотренные технические данные |
| 02-21 — Пресс-релиз TYCO ® LFP ® Antifreeze + защищает спринклерные системы в экстремально холодную погоду |
| 01-21 Объявление о повышении цены Письмо с объявлением |
| 01-21 — Пресс-релиз Новые спринклеры из нержавеющей стали TYCO ® обеспечивают пожаробезопасность без использования стекла для предприятий пищевой промышленности |
| 01-21 — Пресс-релиз Johnson Controls представляет DS-8 8.0k Дождеватель навесного типа для открытых пространств и коммерческих морозильных камер |
| 01-21 — Повышение цен только в Северной и Южной Америке Письмо с объявлением |
| 9-20 — Пресс-релиз Johnson Controls объявляет о расширенном списке UL антифриза LFP ® для систем большого объема |
| 8-20 — Пресс-релиз Johnson Controls объявляет о расширенной линейке переходников для головок спринклерных головок с быстрым уплотнением TYCO ® , являющихся частью предложения BLAZEMASTER ® CPVC |
| 8-20 — Пресс-релиз Johnson Controls представляет коммерческий спринклер для скрытых боковых стенок TYCO ® RFII |
| 8-20 — Пресс-релиз Johnson Controls представляет спринклер TYCO ® LFII для скрытого монтажа с боковыми стенками для жилых помещений |
| Информация о COVID-19 Johnson Controls предоставляет критически важные «основные продукты, услуги и персонал» во время продолжающейся пандемии COVID-19. ![]() |
| 6-20 — Пресс-релиз Johnson Controls выпускает новые клапаны регулирования давления TYCO ® для систем противопожарной защиты |
| 6-20 — Пресс-релиз Новый спринклер TYCO ® ESFR-34 обеспечивает самую высокую в отрасли защиту складских помещений только для потолка с дополнительной гибкостью |
| 5-20 — Пресс-релиз Johnson Controls расширяет ассортимент одноболтовых муфт GRINNELL новыми меньшими типоразмерами |
| 09-19 — Бюллетень для клиентов Новые документы CPVC |
| Архив новостей… |
Kidde Fire Systems
С 1917 года Kidde Fire Systems является мировым лидером в области противопожарной защиты, защиты людей, имущества и производственных процессов от опасностей пожара. Наши решения противопожарной защиты включают традиционные и интеллектуальные системы обнаружения и управления, которые дополняют полную линейку систем пожаротушения. Наши высококвалифицированные официальные дистрибьюторы, расположенные в более чем 80 странах мира, проектируют, устанавливают и обслуживают эти системы.
Запросить цену
Свяжитесь с авторизованным дистрибьютором Kidde Fire Systems сегодня для получения услуг по проектированию, установке или техническому обслуживанию наших продуктов обнаружения и подавления.
Свяжитесь с нами сегодня
Нужна помощь? Свяжитесь с нашими отделами продаж Kidde Fire Systems и Marioff® в Северной Америке или другими внутренними отделами уже сегодня!
Ответ перевозчика на COVID-19
Сообщение от Carrier, нашей материнской компании, о нашем ответе на COVID-19.
Защита здоровья, безопасности и благополучия наших сотрудников и обслуживание клиентов — наш главный приоритет. Щелкните изображение, чтобы узнать больше.
Возможностей для улучшения системы лесных пожаров
Для меня большое удовольствие и честь находиться здесь сегодня. Спасибо за приглашение.
Фон
Я начал свою карьеру 38 лет назад в огне. Я всю свою карьеру проработал лесником и пожарным.
Я работаю в Лесной службе семь лет, но на самом деле я работаю в агентстве гораздо дольше. Я был партнером на протяжении всей своей карьеры, выполняя общую миссию: поддерживать здоровье, разнообразие и продуктивность национальных лесов для удовлетворения потребностей нынешнего и будущих поколений.
Итак, я не понаслышке знаю о пожарных проблемах, с которыми сталкивается Лесная служба, и у меня есть обширный личный опыт борьбы с пожарными проблемами здесь, на Западе.Моя личная страсть — соединять людей с их природными ресурсами, будь то проблемы и проблемы, такие как пожар или, что еще лучше, то, как мы устанавливаем связи для обмена решениями!
Решения приходят в контексте системы лесных пожаров, которая становится все более сложной и трудной, с растущими проблемами. Чтобы найти решения, мы должны понять существующую сегодня систему лесных пожаров.
Итак, я собираюсь поговорить о системе лесных пожаров — об окружающей среде, в которой мы находимся, и о серьезных проблемах, с которыми мы сталкиваемся.Затем я собираюсь обрисовать некоторые области возможностей. Наконец, я собираюсь дать национальную точку зрения на решения. Мы все участвуем в этом вместе, поэтому решения потребуют от всех нас совместной работы… до, во время и после пожара, работы в разных дисциплинах и через партнерство, основанное на общих целях. Хорошая новость заключается в том, что у нас уже есть структура для решений через Согласованную стратегию.
Система лесных пожаров
Исторически сложилось так, что лесные пожары в корне сформировали американский ландшафт, и они продолжают действовать и сегодня в сильно измененной окружающей среде.Лесные пожары, лесные пожары и пожары на полигонах были обычным явлением в «предселенные» времена, и американские индейцы осознавали важную роль огня в возрождении и оживлении ландшафтов. Коренные американцы использовали огонь для различных целей — от создания среды обитания для желаемых видов до сокращения количества топлива для защиты сообществ.
Знакомо?
Сегодня наша страна имеет более миллиарда «выгорающих» акров растительных ландшафтов, большинство из которых естественным образом адаптированы к периодическим лесным пожарам. И поскольку наша нация изменилась, изменилась и наша способность жить с огнем диких земель.
В существующей сегодня системе лесных пожаров полный набор экологических, социальных, политических, финансовых и культурных факторов влияет на исход природных пожаров. Наша система лесных пожаров, состоящая из частей, связанных с гражданским обществом, спасателями, сообществами и ландшафтами, чрезвычайно сложна.
Такова наша рабочая среда. Во-первых, здесь действуют силы, над которыми мы почти или совсем не можем повлиять. Во-вторых, задействован широкий круг заинтересованных сторон, что создает как проблемы, так и возможности.
Вызовы
Так с какими серьезными проблемами мы сталкиваемся? Что является сложным и опасным, что находится вне нашего контроля как землеустроителей и пожарных?
Один из симптомов — сезоны пожаров, которые теперь охватывают весь год. Теперь мы говорим о пожарном году, а не о пожарном сезоне. Еще один симптом — лесные пожары, участившиеся, увеличившиеся по размеру и серьезности. Сорок лет назад лесные пожары площадью более 10 000 акров были относительно редкими.Двадцать лет назад лесные пожары площадью более 100 000 акров были относительно редкими.
Сегодня мы говорим о мегапожарах и видим их каждый год. В прошлом году у нас было 12 пожаров, в результате которых было сожжено более 100 000 акров, и еще 39 пожаров, в результате которых было сожжено более 40 000 акров.
Эти мегапожары стоят. Пожары, которые ускользают от первоначального нападения, составляют лишь 2-3 процента от всех пожаров, с которыми мы боремся в Лесной службе, но они занимают 30 процентов нашего бюджета на тушение. В прошлом году пожар Томаса возле Вентуры стал крупнейшим в истории Калифорнии.Он горел более месяца, покрыл более 280 000 акров и разрушил более тысячи строений. Каждый год налогоплательщики США теряют от 20 до 100 миллиардов долларов в результате ущерба, нанесенного лесными пожарами инфраструктуре, общественному здравоохранению и природным ресурсам.
Прошлый год был одним из крупнейших пожарных лет в новейшей истории. Сгорело более 10 миллионов акров, второе по величине с 1960 года, и было разрушено более 12000 строений. На пике пожарной активности в нашей стране работало 28 000 пожарных, и это был самый затратный пожарный год за всю историю наблюдений.Только Лесная служба потратила более 2,4 миллиарда долларов.
Это было более половины всего бюджета нашего агентства. Год за годом пожары занимают все большую часть нашего бюджета и растущее число наших сотрудников. Это произошло за счет всего, что мы делаем… здоровья леса, отдыха на природе, лесных продуктов, восстановления водосборов и всего остального.
Но самая трагическая цена, безусловно, связана с человеческими жертвами, погибшими в результате лесных пожаров, и это еще один симптом растущих проблем в окружающей среде наших лесных пожаров.В прошлом году 14 пожарных из дикой природы погибли.
Я хочу воспользоваться моментом, чтобы признать их высшую жертву, поскольку они заплатили высшую цену… невыразимую потерю для своих друзей и семей, потерю для всех нас. Я хочу отметить огромную самоотверженность всех женщин и мужчин, поддерживающих пожарные, и их выдающуюся работу.
К сожалению, число погибших среди лесных пожарных растет. С 1910 г. погибло более 1000 человек.Около четверти этих смертельных случаев, 255, произошли за последние 15 лет. По данным Управления пожарной охраны США, количество погибших в лесных пожарах в шесть раз выше, чем среди пожарных строений.
Итак, таковы последствия проблем, с которыми мы сталкиваемся: рост числа погибших среди пожарных, возрастание количества пожаров, рост затрат на тушение, увеличение размера и тяжести пожаров, растущий ущерб домам, общинам, водоразделам, средам обитания и древесине.
Основными движущими силами являются опасные накопления топлива, засуха, изменение климата и растущее развитие на границе между дикими землями и городами… ожидается, что все это будет продолжаться.Климатические модели прогнозируют более теплые и сухие условия на большей части Запада и значительное увеличение площади выгоревших участков. Только в этом году наши службы прогнозирования ожидают, что в течение августа в десятке западных штатов ожидается значительный потенциал лесных пожаров, превышающий норму.
Вот и все. «Выше нормы» становится новой нормой, что мы не можем контролировать. Мы также не можем контролировать проблему ускоренного развития WUI. По оценкам, 120 миллионов человек в более чем 46 миллионах домов находятся на разном уровне риска от лесных пожаров, особенно на Западе.Менее 2 процентов сообществ, подверженных риску, подготовлены как сообщества Firewise.
Что мы, , можем сделать : Противопожарные меры
Итак, это суровые проблемы… засуха, скопление топлива, рост WUI… наследие исключения пожаров, усугубленное изменением климата и распространением домов на подверженные пожарам ландшафты. Мы живем в условиях лесных пожаров, в которых мы находимся, и они вносят свой вклад в усложнение системы лесных пожаров, с которыми мы сталкиваемся… те социальные, политические и культурные факторы, с которыми мы должны работать.
Но есть — это вещей, которые мы можем сделать. В Лесной службе мы убеждены, что постоянное обучение и адаптация являются ключом к тому, чтобы идти в ногу с возрастающей сложностью системы лесных пожаров. Нам нужно сосредоточиться на факторах в системе, которые мы можем контролировать, таких как качество наших отношений… понимая, что у правительств штатов, местных и племен разные цели и задачи в ответ на огонь. Это часть сложности системы лесных пожаров, и в этой системе Стратегия сплочения стала нашей основополагающей доктриной .
С 2009 года более широкое сообщество пожарных продвинулось вперед, чтобы укрепить отношения и координацию в рамках Национальной согласованной стратегии управления лесными пожарами. Те из нас, кто был вовлечен в этот процесс, устали от частых обвинений, когда одна сторона перекладывала вину за пожар на другую. Огонь — это не игра с нулевой суммой. Огонь должен объединять нас по всему ландшафту через наши общие цели в отношении водоразделов, которые мы разделяем.
Система лесных пожаров потребовала нового подхода.Все заинтересованные стороны собрались вместе, чтобы разработать национальную стратегию, которую действительно разделяли. Мы разработали общенациональный план дальнейшего диалога между местными сообществами и национальными политиками на основе трех национальных целей:
- Во-первых, восстановление и поддержание здоровых адаптированных к пожару ландшафтов. Это может выглядеть по-разному в зависимости от разных целей землепользования в разных частях ландшафта.
- Во-вторых, создание адаптированных к огню сообществ — не пожаробезопасных, но адаптированных к жизни с огнем.
- В-третьих, эффективное, безопасное и основанное на риске реагирование на лесные пожары. (Обратите внимание, что я не сказал «подавление лесных пожаров»). Опять же, это будет выглядеть по-разному в зависимости от разных целей землепользования в разных ландшафтах — возможно, даже на одном и том же пожаре. Но это всегда означает безопасное и эффективное реагирование на лесные пожары на основе анализа рисков для всех владельцев.
Все три цели должны работать вместе на обширных территориях, включая сообщества. Им необходимо создать синергетический эффект, когда мы работаем с партнерами, от национальных до местных.Руководящие принципы и общие основные ценности включают улучшенное управление рисками и активное управление, чтобы сделать ландшафт более устойчивым.
В Лесной службе мы делаем все от нас зависящее…
- … наша часть — ускорить обработку ландшафтов, нам удается создать большую устойчивость …
- … наша часть помощи населению адаптироваться к пожарам…
- … и наша часть — работать с нашими партнерами над разработкой общих мер реагирования на лесные пожары, основанных на оценке рисков.
Все это нужно делать ДО пожара!
Реагирование на лесные пожары с учетом рисков
Позвольте мне воспользоваться моментом, чтобы поговорить о реагировании на лесные пожары, основанном на оценке риска. У некоторых сложилось мнение, что пожаротушение Лесной службы недостаточно агрессивно.
Чтобы сформулировать это, я расскажу о трех различных точках принятия решения и результатах при незапланированном начале лесного пожара:
- Во-первых, пожар — это важный инструмент обработки земель, позволяющий снизить топливную нагрузку и добиться других полезных результатов в отношении природных ресурсов.Во многих ландшафтах Юга и Запада огонь — главный инструмент обработки земли! Запланированный предписанный пожар — это один из способов зажечь ландшафт в выбранных нами условиях. Кроме того, незапланированные лесные пожары, особенно на федеральных землях, где мы являемся распорядителем земель и руководителем пожарной охраны, также являются важным инструментом обработки земель, если они выполняются в правильных условиях и когда мы управляем рисками с нашими соседними партнерами, принимая краткосрочные решения. риски для более длительного снижения риска.Таких пожаров ежегодно бывает немного.
- Во-вторых, когда кажется, что пожар угрожает жизням, домам или соседнему имуществу, мы тушим его как можно быстрее и соответственно расставляем приоритеты для наших ресурсов. Мы принимаем это решение, пока огонь еще небольшой, и наш показатель успешности тушения составляет почти 98 процентов. Это подавляющее большинство пожаров на национальных лесных угодьях, около 7000 пожаров ежегодно.
- В-третьих, от 2 до 3 процентов пожаров, с которыми мы боремся, ускользают от нашего контроля. Эти несколько пожаров, как правило, становятся очень большими, часто из-за экстремальных условий топлива, погоды и топографии.
Наше намерение лидера в отношении пожаротушения было неизменно ясным: даже при лесных пожарах вблизи домов и населенных пунктов безопасность является нашим наивысшим приоритетом. Ни один дом не стоит человеческой жизни. Мы будем привлекать пожарных только в условиях, когда у них действительно есть шанс успешно защитить важные ценности, находящиеся под угрозой.
Мы всегда ожидали, что пожарные будут агрессивно предпринимать необходимые действия, используя тактику, которая имеет высокую вероятность успеха. Мы — организация, способная делать все, и это не изменилось.
Но мы также ожидаем, что наши реагирующие примут ситуацию, когда все, что мы можем сделать, — это навести защиту до тех пор, пока не изменится топливо или погодные условия — используя выгорание и другие тактики для управления огнем вокруг домов, инфраструктуры и других ценностей. Мы не ожидаем и не позволяем пожарным рисковать своей жизнью, пытаясь совершить невероятное. Любая другая политика была бы бессовестной и безответственной по отношению к сообществу лесных пожаров и людям, которым мы служим.
Мы помогаем линейным офицерам и командирам инцидентов с помощью инструментов принятия решений, расширенной аналитики и согласования, необходимых для принятия решений с учетом рисков при реагировании на лесные пожары, что позволяет руководителям лучше изучать альтернативные стратегии, чтобы учесть неизбежные компромиссы между воздействием, риском и ценные активы и возможности для получения выгоды от пожара.
Мы работаем с нашими партнерами, чтобы уделять больше внимания работе до пожара, чтобы разработать стратегии, обеспечивающие взаимопонимание до возникновения пожара.
Исправление для финансирования пожара
Еще одна вещь в нашей пожарной среде, которую мы можем контролировать, — это то, как мы работаем над созданием более устойчивых ландшафтов. Конгресс недавно дал нам большой толчок для обработки большего количества земель и улучшения состояния лесов.
Комплексный счет расходов на 2018 год поможет нам, наконец, стабилизировать наши бюджеты на пожаротушение после десятилетий выхода из-под контроля.В прошлом году на пожаротушение ушло 56 процентов бюджета Лесной службы — по сравнению с 16 процентами в 1995 году. При наших темпах пожары заняли бы две трети нашего бюджета к 2021 году. А поскольку средства на пожаротушение закончились, Лесной службе пришлось покрыть дефицит за счет средств из программ, не связанных с пожаром.
Посредством сводного законопроекта Конгресс разрешил дилемму, начиная с 2020 года. Во-первых, наши регулярные ассигнования на пожаротушение заморожены на запрошенном уровне 2015 года, поэтому они больше не растут за счет всего, что мы делаем.Во-вторых, Конгресс создал отдельный фонд для покрытия расходов на тушение пожаров в годы сильных пожаров, чтобы нам больше не приходилось совершать набеги на наши программы, не связанные с пожаром.
Конечно, ничего из этого не сработает до 2020 года. Но омнибус дает нам дополнительные 500 миллионов долларов в виде средств на подавление чрезвычайных ситуаций на 2018 год, в общей сложности около 1,5 млрд долларов на подавление в этом году. В следующем году Конгресс указал, что он будет делать то же самое.
Омнибус также представляет новые инвестиции Конгресса в здоровье федеральных земель.Это дает нам дополнительные 40 миллионов долларов на сокращение использования опасных видов топлива, в общей сложности 430 миллионов долларов в этом году, и полностью финансирует Совместную программу восстановления лесных ландшафтов в размере 40 миллионов долларов.
Вместе наша программа по опасным видам топлива и CFLRP уже снижают риск серьезных лесных пожаров, особенно на Западе. В 2017 финансовом году мы обработали 3,2 миллиона акров в Национальной лесной системе, чтобы сократить потребление топлива и улучшить экологические условия.
Посредством сводного закона Конгресс также предоставил нам несколько новых инструментов, которые помогут нам снизить риск лесных пожаров за счет улучшения состояния лесов.
- Одним из инструментов является изменение Управления добрососедства, чтобы помочь нам более эффективно работать с государствами для поддержания здоровья лесов, разрешая содержание и реконструкцию дорог в соглашениях о добрососедстве.
- Еще один инструмент — это наши расширенные возможности использования управленческих контрактов за счет увеличения их максимальной продолжительности с 10 до 20 лет. Это позволит промышленности создать дополнительные рынки для изделий из древесины в регионах, где мало заводов.
- Сборник также разрешает использование новых категорических исключений для проектов по обеспечению устойчивости к лесным пожарам на федеральных землях.С помощью этого нового инструмента можно быстрее запускать и завершать проекты по сокращению выбросов опасных видов топлива.
Предоставляя нам новые инструменты и дополнительные средства, а также исправляя проблемы с финансированием пожаров, омнибус поможет нам стабилизировать наши программы. Это также расширит наши возможности по работе с соседями и партнерами в рамках Стратегии сплоченности для достижения наших общих целей… чтобы помочь нам научиться жить в условиях лесного пожара.
С доверием приходит ответственность
Теперь мы, работая вместе, должны выполнить это обещание.Решение о финансировании пожаров рассчитано на восемь лет, с 2020 по 2028 год, но с оговоркой: никаких пустых чеков. Если мы хотим исправить это навсегда, мы должны нести ответственность за свои расходы. Конгресс будет наблюдать.
Итак, Лесная служба внимательно изучила наши системы расходования средств на пожары, и мы проводим реформы для улучшения нашей отчетности. В основе нашего успеха будет система ключевых показателей эффективности, которые помогут нам оценить рентабельность использования наших активов.
Мы просим вас о помощи и поддержке.Законопроект о совокупных расходах создал возможности, которые разрабатывались годами, предоставив нам решение для финансирования пожаров и новые органы власти. Но с новыми возможностями приходит задача оправдать ожидания людей, которым мы служим.
Теперь у нас есть больше возможностей для достижения наших целей в рамках нашей Сплоченной стратегии: здоровые, устойчивые ландшафты, адаптированные к пожарам… сообщества, адаптированные к жизни с огнем… безопасные, эффективные, основанные на рисках меры реагирования на пожары. Наш успех в реализации всего этого подтвердит доверие, оказанное нам Конгрессом от имени людей, которым мы служим.
В заключение хочу привести пару цитат. Перефразируя сенатора Гейлорда Нельсона, основателя Дня Земли, все мы, работая вместе, должны создать атмосферу приличия, качества и взаимного уважения.
И отец сохранения и основатель Лесной службы Гиффорд Пинчот сказал следующее: «Огромные возможности нашего великого будущего станут реальностью только в том случае, если мы возьмем на себя ответственность за это будущее».
СИСТЕМЫ ПОЖАРОТУШЕНИЯ | СПА техника
СИСТЕМЫ ПОЖАРОТУШЕНИЯ
Система SPA Extreme уже доступна
Мы добавили в наш ассортимент новую систему SPA Extreme, использующую 3M’S Novec 1230 Fire Protection FLuid.Имеет последнюю омологацию FIA EX.029.09. Это последнее предложение в области противопожарной защиты прошло строгие испытания в соответствии со стандартами BSI.
Экологически чистый, нетоксичный, не оставляет следов, не влияет на хрупкую электронику.
Системы подавления FireSense®
Системы пожаротушения SPA Technique FireSense® специально созданы для использования в транспортных средствах для соревнований и предлагают новейшие бортовые технологии пожаротушения.
Во всех автомобильных системах и портативных устройствах SPA FireSense® AFFF используется AFFF-AR (водная пленкообразующая пена — СПИРТУСТОЙЧИВОСТЬ ).Эти нетоксичные системы подавления озона обеспечивают участникам одинаковый уровень защиты, независимо от того, является ли он профессионалом высшего уровня или гонщиком выходного дня.
СИСТЕМЫ ПОЖАРОТУШЕНИЯ Подкатегории:
| СП 028 | Тройник, 8 мм (39) | Подробнее |
| СП 029 | Штуцер переборки, 8 мм (39) | Подробнее |
| СП 031 | Сопло, 8 мм AFFF (39) | Подробнее |
| СП 212 | Гайка сопла, 18 мм x 1 мм (36) | Подробнее |
| СП 032 | Трубки Decabon 8 мм (39) | Подробнее |
| SPAT B-XX | ПОДСТАВКА ДЛЯ БУТЫЛКИ (37) | Подробнее |
| SPAT B-XX | ПОДСТАВКА ДЛЯ БУТЫЛКИ (36) | Подробнее |
| СП 182 | Y-образный переходник, от 12 мм до 10 мм (36) | Подробнее |
| СП 183 | Y-образный переходник, от 10 мм до 8 мм (36) | Подробнее |
| SPAsfi 012 | Переборка, 5/16 (36) | Подробнее |
| СП 133 | Монтажный зажим, трубка Decabon (39) | Подробнее |
| SPAsfi 020 | НКТ, 5/16 (36) | Подробнее |
| SPAT B-XX | ПОДСТАВКА ДЛЯ БУТЫЛКИ (33) | Подробнее |
| СП 039 | Прямой соединитель, 8 мм (39) | Подробнее |
| СП 054 | Y-образный фитинг, 8 мм (39) | Подробнее |
| СП 072 | Трубки Decabon 10 мм (39) | Подробнее |
| СП 104 | Фитинг 90 °, 8 мм (39) | Подробнее |
| СП 015 | Тройник 6 мм (33) | Подробнее |
| СП 016 | Трубки Decabon 6 мм (33) | Подробнее |
| СП 183 | Y-образный фитинг, от 10 мм до 8 мм (39) | Подробнее |
| SP 005 H | Штекер и провод, стиль Hirschmann (39) | Подробнее |
| SP 005 H | Штекер и провод, стиль Hirschmann (33) | Подробнее |
| SP 007 H | Блок питания, стиль Hirschmann (39) | Подробнее |
| SP 007 H | Блок питания, стиль Hirschmann (33) | Подробнее |
| СП 020 | Штуцер переборки 6 мм (33) | Подробнее |
| СП 011 | Внутренняя кнопка огня (39) | Подробнее |
| СП 011 | Внутренняя кнопка огня (33) | Подробнее |
| СП 012 | Внешняя водонепроницаемая кнопка (33) | Подробнее |
| СП 021 | Фитинг 1/8 x 6 мм (33) | Подробнее |
| СП 012 | Внешняя водонепроницаемая кнопка (39) | Подробнее |
| СП 017 | E Внешняя наклейка (33) | Подробнее |
| СП 021-90 | 1/8 x 6 мм Фитинг 90 ° (33) | Подробнее |
| СП 017 | E Внешняя наклейка (39) | Подробнее |
| СП 018 | Трос длиной 6 футов (33) | Подробнее |
| СП 022 | Фитинг 1/4 x 6 мм (33) | Подробнее |
| СП 018 | Трос длиной 6 футов (39) | Подробнее |
| СП 030 | Форсунка 6 мм Lite (33) | Подробнее |
| СП 019 | Натяжной трос длиной 12 футов (39) | Подробнее |
| СП 019 | Натяжной трос длиной 12 футов (33) | Подробнее |
| СП 038 | Прямой соединитель 6 мм (33) | Подробнее |
| СП 052 | Монтажный зажим, трубка Decabon (33) | Подробнее |
| СП 055 | Колено на 90 °, 6 мм (33) | Подробнее |
| СП 075 | Гайка сопла (33) | Подробнее |
| СП 129 | E Внутренняя наклейка (39) | Подробнее |
| СП 129 | E Внутренняя наклейка (33) | Подробнее |
| СП 131 | Y-образный фитинг, 6 мм (33) | Подробнее |
| СП 136 | Труборез (39) | Подробнее |
| СП 136 | Труборез (33) | Подробнее |
| SP142-L | Ремешок с английской булавкой (33) | Подробнее |
| SPAT 99 | Крепление для бутылки, HPC (33) | Подробнее |
| СП 319 | Кронштейны противоторпедные (39) | Подробнее |
| SPAT 112 | Узкий держатель для бутылки (33) | Подробнее |
| СПАТ 126 | Крепление для бутылки, стандартное (33) | Подробнее |
| СПАТ 126 | Крепление для бутылки, стандартное (39) | Подробнее |
4Fire Universal — SFI 17.2 Сертифицировано
| SPA4f SFI3-M | FireSense + с 4Fire Universal, 3 фунта. Механические — сертифицировано SFI 17.2 (41) | Подробнее |
Аэрозольный баллон
| FireSense + 400 мл | FireSense + с ручным огнетушителем 4Fire — 400 мл (45) | Подробнее |
AFFF
| HH90 | Ручной огнетушитель — 0.90 литров (32) | Подробнее |
| Hh275 | Ручной огнетушитель — 1,75 л (32) | Подробнее |
| Hh340 | Ручной огнетушитель — 2,40 л (32) | Подробнее |
| Hh340 CF | Ручной огнетушитель — 2,40 л (32) | Подробнее |
| HH600 | Огнетушитель ручной — 6.0Лт (32) | Подробнее |
Автомат — выносной монтаж
| SPAfs SFI10-AM | FireSense с FireAde 10 фунтов АВТОМАТИЧЕСКИЙ — Сертификат SFI 17.1 (42) | Подробнее |
| SPAex SFI10-AMU.M | SPA Extreme System, 10 фунтов. АВТОМАТИЧЕСКИЙ — Сертификат SFI 17.1 (40) | Подробнее |
| SPAex SFI10-AMU.M | SPA Extreme System, 10 фунтов. АВТОМАТИЧЕСКИЙ — Сертификат SFI 17.1 (30) | Подробнее |
| SPAex SFI5-AM | SPA Extreme System, 5 фунтов. АВТОМАТИЧЕСКИЙ — Сертификат SFI 17.1 (42) | Подробнее |
| SPAfs SFI5-AM | FireSense с FireAde 5lb AUTOMATIC — Сертификат SFI 17.1 (42) | Подробнее |
| SPAex SFI10-AMU.E | SPA Extreme System, 10 фунтов. АВТОМАТИЧЕСКИЙ — Сертификат SFI 17.1 (42) | Подробнее |
| SPAex SFI10-AMU.E | SPA Extreme System, 10 фунтов. АВТОМАТИЧЕСКИЙ — Сертификат SFI 17.1 (40) | Подробнее |
| SPAex SFI10-AMU.E | SPA Extreme System, 10 фунтов. АВТОМАТИЧЕСКИЙ — Сертификат SFI 17.1 (30) | Подробнее |
| SPAex SFI10-AMU.M | SPA Extreme System, 10 фунтов. АВТОМАТИЧЕСКИЙ — Сертификат SFI 17.1 (42) | Подробнее |
| SPA4f SFI10-AMU.E | FireSense + с 4Fire Universal, 10 фунтов. АВТОМАТИЧЕСКИЙ — Сертификат SFI 17.1 [Новый] (42) | Подробнее |
| SPA4f SFI10-AMU.E | FireSense + с 4Fire Universal, 10 фунтов. АВТОМАТИЧЕСКИЙ — Сертификат SFI 17.1 [Новый] (45) | Подробнее |
| SPA4f SFI10-AMU.M | FireSense + с 4Fire Universal, 10 фунтов. АВТОМАТИЧЕСКИЙ — Сертификат SFI 17.1 [Новый] (40) | Подробнее |
| SPA4f SFI10-AMU.M | FireSense + с 4Fire Universal, 10 фунтов. АВТОМАТИЧЕСКИЙ — Сертификат SFI 17.1 [Новый] (45) | Подробнее |
| SPAfs SFI10-AMU.M | FireSense с FireAde 10 фунтов АВТОМАТИЧЕСКИЙ — Сертификат SFI 17.1 (42) | Подробнее |
| SPAfs SFI10-AMU.E | FireSense с FireAde 10 фунтов АВТОМАТИЧЕСКИЙ — Сертификат SFI 17.1 (42) | Подробнее |
| SPAex SFI10-AM | SPA Extreme System, 10 фунтов. АВТОМАТИЧЕСКИЙ — Сертификат SFI 17.1 (30) | Подробнее |
| SPAfs SFI10-AMU.E | FireSense с FireAde 10 фунтов АВТОМАТИЧЕСКИЙ — Сертификат SFI 17.1 (40) | Подробнее |
| SPAfs SFI10-AMU.E | FireSense с FireAde 10 фунтов АВТОМАТИЧЕСКИЙ — Сертификат SFI 17.1 (37) | Подробнее |
| SPAfs SFI10-AMU.M | FireSense с FireAde 10 фунтов АВТОМАТИЧЕСКИЙ — Сертификат SFI 17.1 (37) | Подробнее |
| SPAfs SFI10-AMU.M | FireSense с FireAde 10 фунтов АВТОМАТИЧЕСКИЙ — Сертификат SFI 17.1 (40) | Подробнее |
| SPA4f SFI10-AMU.E | FireSense + с 4Fire Universal, 10 фунтов. АВТОМАТИЧЕСКИЙ — Сертификат SFI 17.1 [Новый] (40) | Подробнее |
| SPAex SFI10-AM | SPA Extreme System, 10 фунтов. АВТОМАТИЧЕСКИЙ — Сертификат SFI 17.1 (42) | Подробнее |
| SPAfs SFI10-AM | FireSense с FireAde 10 фунтов АВТОМАТИЧЕСКИЙ — Сертификат SFI 17.1 (40) | Подробнее |
| SPAfs SFI10-AM | FireSense с FireAde 10 фунтов АВТОМАТИЧЕСКИЙ — SFI 17.1 сертифицированный (37) | Подробнее |
| SPAex SFI10-AM | SPA Extreme System, 10 фунтов. АВТОМАТИЧЕСКИЙ — Сертификат SFI 17.1 (40) | Подробнее |
FIA 2018 — AFFF Systems
| FIA18-L4A | 4,0 л. AFFF-AR, Механическая система пожаротушения FIA 2018 (38) | Подробнее |
| FIA18-L4A | 4.0 Ltr. AFFF-AR, Механическая система пожаротушения FIA 2018 (31) | Подробнее |
| FIA18-L4S | 4,0 л. AFFF-AR, Стальная механическая система пожаротушения FIA 2018 (38) | Подробнее |
| FIA18-L4S | 4,0 л. AFFF-AR, Стальная механическая система пожаротушения FIA 2018 (31) | Подробнее |
| FIA18-E4A | 4.0 Ltr. AFFF-AR, электрическая (и автоматическая) система пожаротушения FIA 2018 (31) | Подробнее |
| FIA18-E4A | 4,0 л. AFFF-AR, электрическая (и автоматическая) система пожаротушения FIA 2018 (38) | Подробнее |
| FIA18-E4S | 4,0 л. AFFF-AR, Стальная электрическая (и автоматическая) система пожаротушения FIA 2018 (38) | Подробнее |
| FIA18-E4S | 4.0 Ltr. AFFF-AR, стальная электрическая (и автоматическая) система пожаротушения FIA 2018 (31) | Подробнее |
| FIA18-M4A | 4,0 л. AFFF-AR, механическая (и автоматическая) система пожаротушения FIA 2018 (38) | Подробнее |
| FIA18-M4A | 4,0 л. AFFF-AR, механическая (и автоматическая) система пожаротушения FIA 2018 (31) | Подробнее |
| FIA18-M4S | 4.0 Ltr. AFFF-AR, стальная механическая (и автоматическая) система пожаротушения FIA 2018 (31) | Подробнее |
| FIA18-M4S | 4,0 л. AFFF-AR, стальная механическая (и автоматическая) система пожаротушения FIA 2018 (38) | Подробнее |
| FIA19-L125 | SPA FireSense® Противопожарная система, 1,25 л. механические — сертифицированы FIA (31) | Подробнее |
| FIA19-L125 | SPA FireSense® Противопожарная система, 1.25 л. механические — сертифицированы FIA (38) | Подробнее |
Сертифицировано FIA 8865-2015
| XTR-X | XTREME-X® 8865-2015 Novec TM 1230 Система пожаротушения (30) | Подробнее |
| XTR-X | XTREME-X® 8865-2015 Novec TM 1230 Система пожаротушения (38) | Подробнее |
| XTR-X 1.4-2,3 | XTREME-X® 8865-2015 Novec TM 1230 Система пожаротушения (30) | Подробнее |
| XTR-X 1.4-2.3 | XTREME-X® 8865-2015 Novec TM 1230 Система пожаротушения (38) | Подробнее |
Сертификат FIA
| SPAex 2.25-AE | SPA Extreme System, 2.25кг. Электрооборудование — сертифицировано FIA (30) | Подробнее |
| SPAex 2.25-AE | SPA Extreme System, 2,25 кг. Электрооборудование — сертифицировано FIA (38) | Подробнее |
| SPAex 2.25-M | SPA Extreme System, 2,25 кг. Механические — сертифицировано FIA (38) | Подробнее |
| SPAex 2.25-M | SPA Extreme System, 2.25кг. Механические — сертифицировано FIA (30) | Подробнее |
| SPAex 2,5 | Система Extreme Fire Fire, 2,5 кг, электрическая — сертифицировано FIA (30) | Подробнее |
| SPAex 2,5 | Система Extreme Fire Fire, 2,5 кг, электрическая — сертифицировано FIA (38) | Подробнее |
| SPAEX 3.0 | SPA Extreme Fire System, 3.0 кг электрические — сертифицировано FIA (38) | Подробнее |
| SPAEX 3.0 | Система Extreme Fire Fire, 3,0 кг, электрическая — сертифицировано FIA (30) | Подробнее |
| SPAEX 3.0-M | SPA Extreme Fire System, 3,0 кг, механическая — сертифицирована FIA (30) | Подробнее |
| SPAEX 3.0-M | SPA Extreme Fire System, 3.0 кг Механические — сертифицировано FIA (38) | Подробнее |
| SPAEX 4.0 | Система Extreme Fire Fire, 4,0 кг, электрическая — сертифицировано FIA (30) | Подробнее |
| SPAEX 4.0 | SPA Extreme Fire System, 4,0 кг, электрическая — сертифицирована FIA (38) | Подробнее |
FIA2018 — ТОЛЬКО БУТЫЛКИ AFFF
| FIA18-L4S-B | 4.0 Ltr. AFFF-AR, Steel Mechanical FIA2018 Только бутылка (31) | Подробнее |
FireAde — AFFF с климат-контролем — Сертификат SFI 17.1
| SPAfs SFI10 | FireSense с FireAde 10 фунтов. Механические — сертифицировано SFI 17.1 (40) | Подробнее |
| SPAfs SFI5 | FireSense с FireAde 5 фунтов. Механические — сертифицировано SFI 17.1 (37) | Подробнее |
| SPAfs SFI5 | FireSense с FireAde 5 фунтов.Механические — сертифицировано SFI 17.1 (40) | Подробнее |
| SPAfs SFI10 | FireSense с FireAde 10 фунтов. Механические — сертифицировано SFI 17.1 (37) | Подробнее |
ТОЛЬКО РАЗРЕШЕННЫЕ БУТЫЛКИ
| MFM400-S B | ТОЛЬКО БУТЫЛКА для гоночных и раллийных автомобилей (31) | Подробнее |
| MFE400-A-SL B | ТОЛЬКО БУТЫЛКА для гоночных и раллийных автомобилей (31) | Подробнее |
| MFM400-A B | ТОЛЬКО БУТЫЛКА для гонок и ралли (31) | Подробнее |
| MFM400-A-SL B | ТОЛЬКО БУТЫЛКА для гонок и ралли (31) | Подробнее |
| MFE400-A B | ТОЛЬКО БУТЫЛКА для гонок и ралли (31) | Подробнее |
Поздняя модель / модифицированная
| SPAfs SFI10 AM-F-2-x | 10 фунтов.Система FireAde2000® с автоматическим / ручным термоблоком (40) | Подробнее |
| SPAfs SFI10 AM-F-2-x | 10 фунтов. Система FireAde2000® с автоматическим / ручным термоблоком (37) | Подробнее |
| SPAex SFI10 AM-C-2-x | 10 фунтов. Система Extreme® с автоматическим / ручным термоблоком (30) | Подробнее |
| SPAex SFI10 AM-C-2-x | 10 фунтов.Система Extreme® с автоматическим / ручным термоблоком (40) | Подробнее |
Несертифицировано
| SPAex E3 | SPA Extreme Fire System, 3 фунта. Электрооборудование (30) | Подробнее |
| SPAex M3 | SPA Extreme Fire System, 3 фунта. Механическая система (30) | Подробнее |
| SPAex E5 | Противопожарная система SPA Extreme®, 5 фунтов.Электрооборудование (30) | Подробнее |
| SPAex M5 | Противопожарная система SPA Extreme®, 5 фунтов. Механическая система (30) | Подробнее |
ТОЛЬКО БУТЫЛКИ без омологации
| LWM50 B | ТОЛЬКО ЗАПАСНАЯ БУТЫЛКА AFFF, 2,25 литра, механическая (31) | Подробнее |
| HPC225 B | Clubman, 2.ТОЛЬКО СМЕННАЯ БУТЫЛКА для механической AFFF 25 л (31) | Подробнее |
| LWM50-SL В | ТОЛЬКО ЗАПАСНАЯ БУТЫЛКА AFFF, 2,25 литра, механическая (31) | Подробнее |
| LWE50-SL В | ТОЛЬКО БУТЫЛКА для замены электрического AFFF 2,25 л (31) | Подробнее |
| LWE50 B | 2.ТОЛЬКО СМЕННАЯ БУТЫЛКА для электрооборудования AFFF на 25 литров (31) | Подробнее |
Негомологированные системы
| HPC 225 | Clubman — Система пожаротушения начального уровня (31) | Подробнее |
| LWE50 | Пожарная система SPA FireSense, электрическая система 2,25 литра (31) | Подробнее |
| LWE50-SL | Пожарная система SPA FireSense, 2.Электрическая система Slim-Line 25 литров (31) | Подробнее |
| LWM50 | Пожарная система SPA FireSense, 2,25 литра, механическая система (31) | Подробнее |
| LWM50-SL | Пожарная система FireSense SPA, механическая система Slim-Line 2,25 литра (31) | Подробнее |
Novec 1230 — Сертификат SFI 17.1
| SPAex SFI10 | SPA Extreme Fire System 10 фунтов, механическая — SFI 17.1 сертифицированный (40) | Подробнее |
| SPAex SFI10 | SPA Extreme Fire System 10lb Mechanical — Сертификат SFI 17.1 (30) | Подробнее |
| SPAex SFI5 | SPA Extreme Fire System 5lb, механическая — сертификация SFI 17.1 (40) | Подробнее |
| SPAex SFI5 | SPA Extreme Fire System 5lb, механическая — SFI 17.1 сертифицированный (30) | Подробнее |
Novec 1230 — Сертификат SFI 17.2
| SPAex SFI3 M | SPA Extreme System, 3 фунта. Механические — сертифицировано SFI 17.2 (41) | Подробнее |
| SPAex SFI3 E | SPA Extreme System, 3 фунта. Электрооборудование — Сертификат SFI 17.2 (30) | Подробнее |
| SPAex SFI3 M | SPA Extreme System, 3 фунта.Механические — сертифицировано SFI 17.2 (30) | Подробнее |
| SPAex SFI3 E | SPA Extreme System, 3 фунта. Электрооборудование — Сертификат SFI 17.2 (41) | Подробнее |
SPA Extreme®
| HHex 1,25 | Ручной огнетушитель — 1,25 кг. (32) | Подробнее |
| HHex 2.0 | Огнетушитель ручной — 2.0 кг. (32) | Подробнее |
| HHex 3,0 | Ручной огнетушитель — 3,0 кг. (32) | Подробнее |
| NFPA 1 | Пожарный код | |
| NFPA 2 | Код водородных технологий | |
| NFPA 3 | Стандарт для ввода в эксплуатацию систем противопожарной защиты и безопасности жизни | |
| NFPA 4 | Стандарт для комплексных испытаний систем противопожарной защиты и безопасности жизнедеятельности | |
| NFPA 10 | Стандарт для переносных огнетушителей | |
| NFPA 11 | Стандарт для пены с низким, средним и высоким коэффициентом расширения | |
| NFPA 11A | Стандарт для пенных систем со средним и высоким коэффициентом расширения | |
| NFPA 11C | Стандарт для мобильного пенного аппарата | |
| NFPA 12 | Стандарт по системам тушения двуокиси углерода | |
| NFPA 12A | Стандарт на системы пожаротушения с галоном 1301 | |
| NFPA 13 | Стандарт на установку спринклерных систем | |
| NFPA 13D | Стандарт на установку спринклерных систем в одно- и двухквартирных жилых и промышленных домах | |
| Рекомендуется NFPA 13E | Практика противопожарных операций на объектах, защищенных спринклерными и стоячими системами | |
| NFPA 13R | Стандарт для установки спринклерных систем в малоэтажных жилых помещениях | |
| NFPA 14 | Стандарт на установку стояка и шланга Системы | |
| NFPA 15 | Стандарт для стационарных систем распыления воды для противопожарной защиты | |
| NFPA 16 | Стандарт для установки систем орошения пеной-водой и систем орошения пеной-водой | |
| Стандарт NFPA 17 | для систем сухого химического пожаротушения s | |
| NFPA 17A | Стандарт для систем пожаротушения с применением влажных химических веществ | |
| NFPA 18 | Стандарт по смачивающим агентам | |
| NFPA 18A | Стандарт по добавкам в воду для контроля огня и снижения выбросов паров | |
| NFPA 20 | Стандарт на установку стационарных насосов для противопожарной защиты | |
| NFPA 22 | Стандарт на резервуары для воды для частной противопожарной защиты | |
| NFPA 24 | Стандарт на установку частных сетей пожарной охраны и их принадлежностей | |
| NFPA 25 | Стандарт по проверке, тестированию и техническому обслуживанию систем противопожарной защиты на водной основе | |
| NFPA 30 | Код горючих и горючих жидкостей | |
| NFPA 30A | Кодекс для установок по распределению моторного топлива и ремонтные мастерские | |
| NFPA 30B | Нормы производства и хранения аэрозольных продуктов | |
| NFPA 31 | Стандарт по установке оборудования для сжигания масла | |
| NFPA 32 | Стандарт для установок химической чистки | |
| NFPA 33 | Стандарт для распыления с использованием легковоспламеняющихся или горючих материалов | |
| NFPA 34 | Стандарт для процессов погружения, нанесения покрытий и печати с использованием легковоспламеняющихся или горючих жидкостей | |
| NFPA 35 | Стандарт для производства органических покрытий | |
| NFPA 36 | Стандарт для установок экстракции растворителем | |
| NFPA 37 | Стандарт для установки и использования стационарных двигателей внутреннего сгорания и газовых турбин | |
| NFPA 40 | Стандарт хранения и обращения с пленкой нитрата целлюлозы | NFPA 42 | Нормы хранения пироксилинового пластика |
| NFPA 45 | Стандарт противопожарной защиты лабораторий, использующих химические вещества | |
| NFPA 46 | Рекомендуемая практика безопасного хранения лесных товаров | |
| NFPA 50 | Стандарт для систем объемного кислорода на объектах потребителей | |
| NFPA 50A | Стандарт для систем газообразного водорода на объектах потребителей | |
| NFPA 50B | Стандарт для систем сжиженного водорода на объектах потребителей | |
| NFPA 51 | Стандарт для проектирования и установки кислородно-топливных газовых систем для сварки, резки и связанных с ними процессов | |
| NFPA 51A | Стандарт для установок для зарядки ацетиленовых баллонов | |
| NFPA 51B | Стандарт по предотвращению пожара во время сварки, Резка и другие горячие работы | |
| NFPA 52 | Код топливных систем на природном газе для транспортных средств | |
| NFPA 53 | Рекомендуемая практика по материалам, оборудованию и системам, используемым в атмосфере, обогащенной кислородом | |
| NFPA 54 | Национальный кодекс топливного газа | |
| NFPA 55 | Код сжатых газов и криогенных жидкостей | |
| NFPA 56 | Стандарт по предотвращению пожаров и взрывов во время очистки и продувки систем трубопроводов горючего газа | |
| NFPA 57 | Сжиженный природный газ (СПГ) Топливо для транспортных средств Системный код | |
| NFPA 58 | Код сжиженного углеводородного газа | |
| NFPA 59 | Код предприятия по производству сжиженного газа | |
| NFPA 59A | Стандарт для производства, хранения и обращения со сжиженным природным газом ( СПГ) | |
| NFPA 61 | Стандарт по профилактике пожаров и взрывов пыли на сельскохозяйственных предприятиях и предприятиях пищевой промышленности | |
| NFPA 67 | Руководство по взрывозащите газовых смесей в трубопроводных системах | |
| NFPA 68 | Стандарт по взрывозащите с помощью дефлаграционной вентиляции | |
| NFPA 69 | Стандарт по системам защиты от взрыва | |
| NFPA 70® | National Electrical Code® | |
| NFPA 70A | Требования национального электрического кодекса® для жилых домов на одну и две семьи | |
| Рекомендуется NFPA 70B | Практика обслуживания электрооборудования | |
| NFPA 70E® | Стандарт по электробезопасности на рабочем месте® | |
| NFPA 72® | Национальный кодекс пожарной сигнализации и сигнализации® | |
| NFPA 73 | Стандарт для электрических проверок для существующих жилищ | |
| NFPA 75 | Стандарт по противопожарной защите оборудования информационных технологий | |
| NFPA 76 | Стандарт по противопожарной защите телекоммуникационных объектов | |
| NFPA 77 | Рекомендуемая практика по статическому электричеству | |
| NFPA 78 | Руководство по электрическому осмотру | |
| NFPA 79 | Электрический стандарт для промышленного оборудования | |
| NFPA 80 | Стандарт для противопожарных дверей и других средств защиты открывания | |
| NFPA 80A | Рекомендуемая практика для защиты зданий от внешнего воздействия огня | |
| NFPA 82 | Стандарт по мусоросжигательным установкам, системам и оборудованию для обработки отходов и белья | |
| NFPA 85 | Код опасностей для котлов и систем сгорания | |
| NFPA 86 | Стандарт f или печи и печи | |
| NFPA 86C | Стандарт для промышленных печей, использующих особую рабочую атмосферу | |
| NFPA 86D | Стандарт для промышленных печей, использующих вакуум в качестве атмосферы | |
| NFPA 87 | Стандарт для жидкостных нагревателей | |
| NFPA 88A | Стандарт для парковочных сооружений | |
| NFPA 88B | Стандарт для ремонтных мастерских | |
| NFPA 90A | Стандарт для установки систем кондиционирования и вентиляции | |
| NFPA 90B | Стандарт на установку систем отопления и кондиционирования воздуха | |
| NFPA 91 | Стандарт на вытяжные системы для воздуховодов паров, газов, туманов и твердых частиц | |
| NFPA 92 | Стандарт для дыма Системы управления | |
| NFPA 92A | Стандарт для систем управления задымлением с использованием барьеров и перепадов давления | |
| NFPA 92B | Стандарт для систем управления задымлением в торговых центрах, атриумах и больших помещениях | |
| NFPA 96 | Стандарт для управления вентиляцией и пожаротушением Защита коммерческих предприятий по приготовлению пищи | |
| NFPA 97 | Стандартный глоссарий терминов, относящихся к дымоходам, вентиляционным отверстиям и теплопроизводящим устройствам | |
| NFPA 99 | Код медицинских учреждений | |
| NFPA 99B | Стандарт для Гипобарические объекты | |
| NFPA 101® | Life Safety Code® | |
| NFPA 101A | Руководство по альтернативным подходам к безопасности жизни | |
| NFPA 101B | Кодекс средств эвакуации для зданий и сооружений | |
| NFPA 102 | Стандарт для трибун s, складные и телескопические сиденья, палатки и мембранные конструкции | |
| NFPA 105 | Стандарт для дымовых дверных сборок и других средств защиты открывания | |
| NFPA 110 | Стандарт для систем аварийного и резервного питания | |
| NFPA 111 | Стандарт по аварийным и резервным системам энергоснабжения с накоплением электроэнергии | |
| NFPA 115 | Стандарт по лазерной противопожарной защите | |
| NFPA 120 | Стандарт по предотвращению пожаров и борьбе с ними на угольных шахтах | |
| NFPA 121 | Стандарт по противопожарной защите для самоходного и мобильного оборудования для открытых горных работ | |
| NFPA 122 | Стандарт по предотвращению и борьбе с пожарами на предприятиях по добыче металлов / неметаллов и на предприятиях по переработке металлических полезных ископаемых | |
| NFPA 123 | Стандарт по предотвращению пожаров и Контроль в подземных битумных C oal Mines | |
| NFPA 130 | Стандарт для фиксированных железнодорожных путей и пассажирских рельсов | |
| NFPA 140 | Стандарт на звуковые сцены киностудий и телевизионных программ, утвержденные производственные объекты и производственные площадки | |
| NFPA 150 | Пожарная безопасность и безопасность жизни в помещениях для содержания животных Код | |
| NFPA 160 | Стандарт использования эффектов пламени перед аудиторией | |
| NFPA 170 | Стандарт знаков пожарной безопасности и чрезвычайных ситуаций | |
| NFPA 200 | Стандарт для подвешивания и крепления систем пожаротушения | |
| NFPA 203 | Руководство по кровельным покрытиям и конструкциям кровельного настила | |
| NFPA 204 | Стандарт для дымо- и теплоотвода | |
| Стандарт NFPA 211 | для дымоходов, каминов, вентиляции s, и устройства для сжигания твердого топлива | |
| NFPA 214 | Стандарт для градирен | |
| NFPA 220 | Стандарт по типам строительных конструкций | |
| NFPA 221 | Стандарт для противопожарных перегородок повышенной прочности , Противопожарные стены и противопожарные стены | |
| NFPA 225 | Стандарт стандартной домашней установки | |
| NFPA 230 | Стандарт противопожарной защиты складских помещений | |
| NFPA 231 | Стандарт для общих складских помещений | |
| NFPA 231C | Стандарт хранения материалов в стеллажах | |
| NFPA 231D | Стандарт хранения резиновых шин | |
| NFPA 231E | Рекомендуемая практика хранения хлопка в тюках | |
| NFPA 231F | Стандарт хранения рулонной бумаги | |
| NFPA 232 | Стандарт защиты документации | |
| NFPA 232A | Руководство по противопожарной защите архивов и архивных центров | |
| NFPA 241 | Стандарт безопасности строительства, перестройки и сноса | |
| NFPA 251 | Стандартные методы испытаний на огнестойкость строительных конструкций и материалов | |
| NFPA 252 | Стандартные методы испытаний на огнестойкость дверных узлов | |
| NFPA 253 | Стандартный метод испытаний на критический поток лучистого излучения пола Системы покрытия с использованием источника лучистой тепловой энергии | |
| NFPA 255 | Стандартный метод испытания характеристик горения поверхности строительных материалов | |
| NFPA 256 | Стандартные методы огнестойких испытаний кровельных покрытий | |
| NFPA 257 | Стандарт на Fire Te st для оконных и стеклянных блоков в сборе | |
| NFPA 258 | Рекомендуемая практика для определения дымообразования твердых материалов | |
| NFPA 259 | Стандартный метод испытаний на потенциальное нагревание строительных материалов | |
| NFPA 260 | Стандарт Методы испытаний и система классификации компонентов мягкой мебели на стойкость к возгоранию сигарет | |
| NFPA 261 | Стандартный метод испытаний для определения устойчивости макетов сборок материалов мягкой мебели к возгоранию от тлеющих сигарет | |
| NFPA 262 | Стандартный метод испытаний на распространение пламени и дымообразование проводов и кабелей для использования в помещениях с кондиционированием воздуха | |
| NFPA 265 | Стандартные методы испытаний на огнестойкость для оценки влияния текстильных или расширенных виниловых настенных покрытий по всей высоте на распространение огня в помещениях Панели и стены 9008 7 | |
| NFPA 266 | Стандартный метод испытаний на огнестойкость мягкой мебели, подверженной воздействию пламенного источника воспламенения | |
| NFPA 267 | Стандартный метод испытания огнестойкости матрасов и комплектов постельного белья, подвергнутых воздействию источника воспламенения | |
| NFPA 268 | Стандартный метод испытаний для определения воспламеняемости конструкций наружных стен с использованием источника лучистой тепловой энергии | |
| NFPA 269 | Стандартный метод испытаний для разработки данных о токсичности для использования при моделировании пожарной опасности | |
| NFPA 270 | Стандартный метод испытания для измерения дымовой завесы с использованием конического источника излучения в одной закрытой камере | |
| NFPA 271 | Стандартный метод испытания на тепловыделение и скорость выделения видимого дыма для материалов и продуктов с использованием калориметра потребления кислорода | |
| NFPA 272 | Стандартный метод испытаний на скорость выделения тепла и видимого дыма для компонентов мягкой мебели или композитов и матрасов с использованием калориметра потребления кислорода | |
| NFPA 274 | Стандартный метод испытаний для оценки характеристик огнестойкости изоляции труб | |
| NFPA 275 | Стандартный метод испытаний на огнестойкость для оценки термобарьеров | |
| NFPA 276 | Стандартный метод испытаний на огнестойкость для определения скорости тепловыделения кровельных сборок с горючими надпалубными компонентами кровли | |
| NFPA 277 | Стандартные методы испытаний для оценки огнестойкости и огнестойкости мягкой мебели с использованием источника воспламенения | |
| NFPA 285 | Стандартный метод испытаний на огнестойкость для оценки характеристик распространения огня наружных стеновых конструкций, содержащих горючие компоненты | |
| NFPA 286 | Стандартные методы испытаний на огнестойкость для оценки вклада внутренней отделки стен и потолка в рост огня в помещении | |
| NFPA 287 | Стандартные методы испытаний для измерения воспламеняемости материалов в чистых помещениях с использованием устройства распространения огня (FPA) | |
| NFPA 288 | Стандартные методы испытаний на огнестойкость комплектов горизонтальных противопожарных дверей, установленных в горизонтальных сборках с рейтингом огнестойкости | |
| NFPA 289 | Стандартный метод испытаний на огнестойкость отдельных топливных пакетов | |
| NFPA 290 | Стандарт для испытаний на огнестойкость материалов пассивной защиты для использования в контейнерах для сжиженного нефтяного газа | |
| NFPA 291 | Рекомендуемая практика для испытаний на огнестойкость и маркировки гидрантов | |
| NFPA 295 | Стандарт по борьбе с лесными пожарами | |
| NFPA 297 | 90 086 Руководство по принципам и практике систем связи||
| NFPA 298 | Стандарт по пенохимическим веществам для борьбы с лесными пожарами | |
| NFPA 299 | Стандарт по защите жизни и имущества от лесных пожаров | |
| NFPA 301 | Кодекс по безопасности для жизни от пожара на торговых судах | |
| NFPA 302 | Стандарт противопожарной защиты прогулочных и коммерческих моторных судов | |
| NFPA 303 | Стандарт противопожарной защиты для яхт и лодок | |
| NFPA 306 | Стандарт по контролю за газовой опасностью на судах | |
| NFPA 307 | Стандарт строительства и противопожарной защиты морских терминалов, пирсов и причалов | |
| NFPA 312 | Стандарт противопожарной защиты судов во время строительства, переоборудования , Ремонт и Лайка | |
| NFPA 318 | Стандарт защиты предприятий по производству полупроводников | |
| NFPA 326 | Стандарт безопасности резервуаров и контейнеров при входе, очистке или ремонте | |
| NFPA 328 | Рекомендуемая практика контроля Легковоспламеняющиеся и горючие жидкости и Газы в колодцах, канализации и Подобные подземные сооружения | |
| NFPA 329 | Рекомендуемая практика обращения с выбросами легковоспламеняющихся и горючих жидкостей и газов | |
| NFPA 350 | Руководство по безопасному входу и работе в замкнутом пространстве | |
| NFPA 385 | Стандарт для резервуаров Транспортные средства для легковоспламеняющихся и горючих жидкостей | |
| NFPA 386 | Стандарт для переносных транспортировочных цистерн для легковоспламеняющихся и горючих жидкостей | |
| NFPA 395 | Стандарт для хранения легковоспламеняющихся и горючих жидкостей на фермах и изолированных местах | |
| Код опасных материалов | ||
| NFPA 401 | Рекомендуемая практика по предотвращению пожаров и неконтролируемых химических реакций, связанных с обращением с опасными отходами | |
| NFPA 402 | Руководство по спасению и тушению пожаров с самолетов erations | |
| NFPA 403 | Стандарт для авиационных аварийно-спасательных и противопожарных служб в аэропортах | |
| NFPA 405 | Стандарт для повторяющейся квалификации пожарных в аэропортах | |
| NFPA 407 | Стандарт для обслуживания авиационным топливом | |
| NFPA 408 | Стандарт для ручных переносных огнетушителей для самолетов | |
| NFPA 409 | Стандарт для авиационных ангаров | |
| NFPA 410 | Стандарт по техническому обслуживанию самолетов | |
| NFPA 412 | Стандарт для оценки Оборудование для аварийно-спасательных и противопожарных работ для самолетов | |
| NFPA 414 | Стандарт для авиационных аварийно-спасательных и противопожарных машин | |
| NFPA 415 | Стандарт для зданий аэровокзальных комплексов, дренажа заправочных рамп и погрузочных трапов | |
| NFPA 418 | Стандарт для вертодромов | |
| NFPA 422 | Руководство по оценке реагирования на авиационные происшествия / инциденты | |
| NFPA 423 | Стандарт строительства и защиты испытательных центров авиационных двигателей | |
| NFPA 424 | Руководство для аэропорта / Общественное чрезвычайное планирование | |
| NFPA 430 | Кодекс хранения жидких и твердых окислителей | |
| NFPA 432 | Кодекс хранения составов органических пероксидов | |
| NFPA 434 | Кодекс хранения пестицидов | |
| NFPA 440 | Руководство по аварийно-спасательным и противопожарным операциям в самолетах и планированию действий в чрезвычайных ситуациях в аэропортах / общинах | |
| NFPA 450 | Руководство по экстренным медицинским службам и системам | |
| NFPA 451 | Руководство для программ общественного здравоохранения | |
| NFPA 460 | Стандарт для авиационных аварийно-спасательных и противопожарных служб в аэропортах, повторяющийся опыт пожарных в аэропортах и оценка авиационного аварийно-спасательного и противопожарного оборудования из пеноматериала | |
| NFPA 461 | Стандарт по противопожарной защите объектов космодрома | |
| NFPA 470 | Стандарты по опасным материалам для аварийно-спасательных служб | |
| NFPA 471 | Рекомендуемая практика реагирования на инциденты с опасными материалами | |
| NFPA 472 | Стандарт компетентности специалистов по реагированию на инциденты с опасными материалами / оружием массового уничтожения | |
| NFPA 473 | Стандарт компетенций для персонала EMS, реагирующего на инциденты с опасными материалами / оружием массового уничтожения | |
| NFPA 475 | Рекомендуемая практика для организации, управления и поддержки опасных материалов / оружия массового поражения D Программа реагирования на строительство | |
| NFPA 480 | Стандарт хранения, обращения и обработки твердых частиц и порошков магния | |
| NFPA 481 | Стандарт производства, обработки, обращения и хранения титана | |
| NFPA 482 | Стандарт для производства, обработки, обращения и хранения циркония | |
| NFPA 484 | Стандарт для горючих металлов | |
| NFPA 485 | Стандарт для хранения, обработки, обработки и использования лития Металл | |
| NFPA 490 | Нормы хранения нитрата аммония | |
| NFPA 495 | Код взрывчатых материалов | |
| NFPA 496 | Стандарт для герметичных и герметичных корпусов для электрического оборудования | |
| NFPA 497 | Рекомендуемая практика для классификации o f Легковоспламеняющиеся жидкости, газы или пары и опасные (классифицированные) места для электрических установок в зонах химических процессов | |
| NFPA 498 | Стандарт для безопасных убежищ и мест обмена для транспортных средств, перевозящих взрывчатые вещества | |
| Рекомендовано NFPA 499 | Практика классификации горючей пыли и опасных (классифицированных) мест для электроустановок в зонах химических процессов | |
| NFPA 501 | Стандарт на промышленное жилье | |
| NFPA 501A | Стандарт критериев пожарной безопасности для промышленных домашних установок , Сайты и сообщества | |
| NFPA 502 | Стандарт для автодорожных туннелей, мостов и других автомагистралей с ограниченным доступом | |
| NFPA 505 | Стандарт пожарной безопасности для промышленных грузовых автомобилей с приводом, включая обозначения типов, области использования, модификации, Техническое обслуживание и операционная erations | |
| NFPA 513 | Стандарт для грузовых автомобильных терминалов | |
| NFPA 520 | Стандарт для подземных пространств | |
| NFPA 550 | Руководство по дереву концепций пожарной безопасности | |
| NFPA 551 | Руководство для оценки рисков возгорания | |
| NFPA 555 | Руководство по методам оценки возможности перекрытия помещения | |
| NFPA 556 | Руководство по методам оценки пожарной опасности для пассажиров легковых автомобилей | |
| 557 | Стандарт по определению пожарных нагрузок для использования при проектировании конструктивной противопожарной защиты | |
| NFPA 560 | Стандарт по хранению, обращению и использованию оксида этилена для стерилизации и фумигации | |
| NFPA 600 | Стандарт по пожарным бригадам | |
| NFPA 601 | Стандарт для служб безопасности в Предотвращение пожаров | |
| NFPA 610 | Руководство по аварийным и безопасным операциям на объектах автоспорта | |
| NFPA 650 | Стандарт для пневматических транспортных систем для работы с горючими твердыми частицами | |
| NFPA 651 | Стандарт для обработки и отделка алюминия, а также производство алюминиевых порошков и обращение с ними | |
| NFPA 652 | Стандарт по основам горючей пыли | |
| NFPA 654 | Стандарт по предотвращению пожаров и взрывов пыли при производстве, переработке, и обращение с гребнем пригодные для использования твердые частицы | |
| NFPA 655 | Стандарт по предотвращению серных пожаров и взрывов | |
| NFPA 664 | Стандарт по предотвращению пожаров и взрывов на деревообрабатывающих и деревообрабатывающих предприятиях | |
| NFPA 701 | Стандарт Методы испытаний на огнестойкость текстильных материалов и пленок | |
| NFPA 703 | Стандарт на огнестойкую древесину и огнезащитные покрытия для строительных материалов | |
| NFPA 704 | Стандартная система для идентификации Опасности материалов для аварийного реагирования | |
| NFPA 705 | Рекомендуемая практика полевых испытаний на пламя для текстильных материалов и пленок | |
| NFPA 715 | Стандарт на установку оборудования для обнаружения и предупреждения топливных газов | |
| NFPA 720 | Стандарт для Ins Установка оборудования для обнаружения и предупреждения угарного газа (CO) | |
| NFPA 730 | Руководство по безопасности помещений | |
| NFPA 731 | Стандарт для установки систем безопасности помещений | |
| NFPA 750 | Стандарт для воды Системы защиты от тумана | |
| NFPA 770 | Стандарт для гибридных (вода и инертный газ) систем пожаротушения | |
| NFPA 780 | Стандарт для установки систем молниезащиты | |
| NFPA 790 | Стандарт для Компетенция сторонних органов оценки на местах | |
| NFPA 791 | Рекомендуемая практика и процедуры для оценки немаркированного электрического оборудования | |
| NFPA 801 | Стандарт противопожарной защиты объектов, работающих с радиоактивными материалами | |
| NFPA 803 | S стандарт противопожарной защиты для легководных атомных электростанций | |
| NFPA 804 | Стандарт противопожарной защиты для электростанций с усовершенствованными легководными реакторами | |
| NFPA 805 | Стандарт на основе характеристик противопожарной защиты для электрических легководных реакторов Генерирующие установки | |
| NFPA 806 | Основанный на характеристиках стандарт противопожарной защиты для передовых электростанций с ядерными реакторами Процесс изменения | |
| NFPA 820 | Стандарт противопожарной защиты на объектах очистки и сбора сточных вод | |
| NFPA 850 | Рекомендуемая практика противопожарной защиты электростанций и высоковольтных преобразовательных станций постоянного тока | |
| NFPA 851 | Рекомендуемая практика противопожарной защиты гидроэлектростанций | |
| NFPA 853 | S стандарт для установки стационарных энергетических систем на топливных элементах | |
| NFPA 855 | Стандарт для установки стационарных систем хранения энергии | |
| NFPA 900 | Энергетический кодекс здания | |
| NFPA 901 | Стандартные классификации пожаров and Emergency Services Incident Reporting | |
| NFPA 902 | Fire Reporting Field Incident Guide | |
| NFPA 903 | Fire Reporting Property Survey Guide | |
| NFPA 904 | Incident Follow-up Report Guide | |
| NFPA 906 | Guide for Fire Incident Field Notes | |
| NFPA 909 | Code for the Protection of Cultural Resource Properties — Museums, Libraries, and Places of Worship | |
| NFPA 914 | Code for the Protection of Historic Structures | |
| NFPA 915 | Standard for Remote Inspections | |
| NFPA 921 | Guide for Fire and Explosion Investigations | |
| NFPA 950 | Standard for Data Development and Exchange for the Fire Service | |
| NFPA 951 | Guide to Building and Utilizing Digital Information | |
| NFPA 1000 | Standard for Fire Service Professional Qualifications Accreditation and Certification Systems | |
| NFPA 1001 | Standard for Fire Fighter Professional Qualifications | |
| NFPA 1002 | Standard for Fire Apparatus Driver/Operator Professional Qualifications | |
| NFPA 1003 | Standard for Airport Fire Fighter Professional Qualifications | |
| NFPA 1005 | Standard for Professional Qualifications for Marine Fire Fighting for Land-Based Fire Fighters | |
| NFPA 1006 | Standard for Technical Rescue Personnel Professional Qualifications | |
| NFPA 1021 | Standard for Fire Officer Professional Qualifications | |
| NFPA 1022 | Standard on Fire Service Analysts Technical Specialists Professional Qualifications | |
| NFPA 1026 | Standard for Incident Management Personnel Professional Qualifications | |
| NFPA 1030 | Standard for Professional Qualifications for Fire Prevention Program Positions | |
| NFPA 1031 | Standard for Professional Qualifications for Fire Inspector and Plan Examiner | |
| NFPA 1033 | Standard for Professional Qualifications for Fire Investigator | |
| NFPA 1035 | Standard on Fire and Life Safety Educator, Public Information Officer, Youth Firesetter Intervention Sp ecialist and Youth Firesetter Program Manager Professional Qualifications | |
| NFPA 1037 | Standard on Fire Marshal Professional Qualifications | |
| NFPA 1041 | Standard for Fire and Emergency Services Instructor Professional Qualifications | |
| NFPA 1051 | Standard for Wildland Firefighting Personnel Professional Qualifications | |
| NFPA 1061 | Standard for Public Safety Telecommunications Personnel Professional Qualifications | |
| NFPA 1071 | Standard for Emergency Vehicle Technician Professional Qualifications | |
| NFPA 1072 | Standard for Hazardous Materials/Weapons of Mass Destruction Emergency Response Personnel Professional Qualifications | |
| NFPA 1078 | Standard for Electrical Inspector Professional Qualifications | |
| NFPA 1081 | Standard for Facility Fire Brigade Member Professional Qualifications | |
| NFPA 1082 | Standard for Facilities Fire and Life Safety Director Professional Qualifications | |
| NFPA 1091 | Standard for Traffic Incident Management Personnel Professional Qualifications | |
| NFPA 1122 | Code for Model Rocketry | |
| NFPA 1123 | Code for Fireworks Display | |
| NFPA 1124 | Code for the Manufacture, Transportation, and Storage of Fireworks and Pyrotechnic Articles | |
| NFPA 1125 | Code for the Manufacture of Model Rocket and High-Power Rocket Motors | |
| NFPA 1126 | Standard for the Use of Pyrotechnics Before a Proximate Audience | |
| NFPA 1127 | Code for High Power Rocketry | |
| PYR 1128 | Standard Method of Fire Test for Flame Breaks | |
| PYR 1129 | Standard Method of Fire Test for Covered Fuse on Consumer Fireworks | |
| NFPA 1140 | Standards for Wildland Firefighting | |
| NFPA 1141 | Standard for Fire Protection Infrastructure for Land Development in Wildland, Rural, and Suburban Areas | |
| NFPA 1142 | Standard on Water Supplies for Suburban and Rural Fire Fighting | |
| NFPA 1143 | Standard for Wildland Fire Management | |
| NFPA 1144 | Standard for Reducing Structure Ignition Hazards from Wildland Fire | |
| NFPA 1145 | Guide for the Use of Class A Foams in Fire Fighting | |
| NFPA 1150 | Standard on Foam Chemicals for Fires in Class A Fuels | |
| NFPA 1192 | Standard on Recreational Vehicles | |
| NFPA 1194 | Standard for Recreational Vehicle Parks and Campgrounds | |
| NFPA 1201 | Standard for Providing Fire and Emergency Services to the Public | |
| NFPA 1221 | Standard for the Installation, Maintenance, and Use of Emergency Services Communications Systems | |
| NFPA 1225 | Standards for Emergency Services Communications | |
| NFPA 1231 | Standard on Water Supplies for Suburban and Rural Fire Fighting | |
| NFPA 1250 | Recommended Practice in Fire and Emergency Service Organization Risk Management | |
| NFPA 1300 | Standard on Community Risk Assessment and Community Risk Reduction Plan Development | |
| NFPA 1321 | Standard for Fire Investigation Units | |
| NFPA 1401 | Recommended Practice for Fire Service Training Reports and Records | |
| NFPA 1402 | Standard on Facilities for Fire Training and Associated Props | |
| NFPA 1403 | Standard on Live Fire Training Evolutions | |
| NFPA 1404 | Standard for Fire Service Respiratory Protection Training | |
| NFPA 1405 | Guide for Land-Based Fire Departments that Respond to Marine Vessel Fires | |
| NFPA 1407 | Standard for Training Fire Service Rapid Intervention Crews | |
| NFPA 1408 | Standard for Training Fire Service Personnel in the Operation, Care, Use, and Maintenance of Thermal Imagers | |
| NFPA 1410 | Standard on Training for Emergency Scene Operations | |
| NFPA 1451 | Standard for a Fire and Emergency Service Vehicle Operations Training Program | |
| NFPA 1452 | Guide for Training Fire Service Personnel to Conduct Community Risk Reduction for Residential Occupancies | |
| NFPA 1500™ | Standard on Fire Department Occupational Safety, Health, and Wellness Program | |
| NFPA 1521 | Standard for Fire Department Safety Officer Professional Qualifications | |
| NFPA 1561 | Standard on Emergency Services Incident Management System and Command Safety | |
| NFPA 1581 | Standard on Fire Department Infection Control Program | |
| NFPA 1582 | Standard on Comprehensive Occupational Medical Program for Fire Departments | |
| NFPA 1583 | Standard on Health-Related Fitness Programs for Fire Department Members | |
| NFPA 1584 | Standard on the Rehabilitation Process for Members During Emergency Operations and Training Exercises | |
| NFPA 1585 | Standard on Contamination Control | |
| NFPA 1600® | Standard on Continuity, Emergency, and Crisis Management | |
| NFPA 1616 | Standard on Mass Evacuation, Sheltering, and Re-entry Programs | |
| NFPA 1620 | Standard for Pre-Incident Planning | |
| NFPA 1660 | Standard on Community Risk Assessment, Pre-Incident Planning, Mass Evacuation, Sheltering, and Re-entry Programs | |
| NFPA 1670 | Standard on Operations and Training for Technical Search and Rescue Incidents | |
| NFPA 1700 | Guide for Structural Fire Fighting | |
| NFPA 1710 | Standard for the Organization and Deployment of Fire Suppression Operations, Emergency Medical Operations, and Special Operations to the Public by Career Fire Departments | |
| NFPA 1720 | Standard for the Organization and Deployment of Fire Suppression Operations, Emergency Medical Operations, and Special Operations to the Public by Volunteer Fire Departments | |
| NFPA 1730 | Standard on Organization and Deployment of Fire Prevention Inspection and Code Enforcement, Plan Review, Investigation, and Public Education Operations | |
| NFPA 1801 | Standard on Thermal Imagers for the Fire Service | |
| NFPA 1802 | Standard on Two-Way, Portable RF Voice Communications Devices for Use by Emergency Services Personnel in the Hazard Zone | |
| NFPA 1851 | Standard on Selection, Care, and Maintenance of Protective Ensembles for Structural Fire Fighting and Proximity Fire Fighting | |
| NFPA 1852 | Standard on Selection, Care, and Maintenance of Open-Circuit Self-Contained Breathing Apparatus (SCBA) | |
| NFPA 1855 | Standard on Selection, Care, and Maintenance of Protective Ensembles for Technical Rescue Incidents | |
| NFPA 1858 | Standard on Selection, Care, and Maintenance of Life Safety Rope and Equipment for Emergency Services | |
| NFPA 1859 | Standard on Selection, Care, and Maintenance of Tactical Operations Video Equipment | |
| NFPA 1877 | Standard on Selection, Care, and Maintenance of Wildland Fire Fighting Clothing and Equipment | |
| NFPA 1891 | Standard on Selection, Care, and Maintenance of Hazardous Materials Clothing and Equipment | |
| NFPA 1900 | Standard for Aircraft Rescue and Firefighting Vehicles, Automotive Fire Apparatus, Wildland Fire Apparatus, and Automotive Ambulances | |
| NFPA 1901 | Standard for Automotive Fire Apparatus | |
| NFPA 1906 | Standard for Wildland Fire Apparatus | |
| NFPA 1910 | Standard for Marine Firefighting Vessels and the Inspection, Maintenance, Testing, Refurbishing, and Retirement of In-Service Emergency Vehicles | |
| NFPA 1911 | Standard for the Inspection, Maintenance, Testing, and Retirement of In-Service Emergency Vehicles | |
| NFPA 1912 | Standard for Fire Apparatus Refurbishing | |
| NFPA 1914 | Standard for Testing Fire Department Aerial Devices | |
| NFPA 1915 | Standard for Fire Apparatus Preventive Maintenance Program | |
| NFPA 1917 | Standard for Automotive Ambulances | |
| NFPA 1925 | Standard on Marine Fire-Fighting Vessels | |
| NFPA 1931 | Standard for Manufacturer’s Design of Fire Department Ground Ladders | |
| NFPA 1932 | Standard on Use, Maintenance, and Service Testing of In-Service Fire Department Ground Ladders | |
| NFPA 1936 | Standard on Rescue Tools | |
| NFPA 1937 | Standard for the Selection, Care, and Maintenance of Rescue Tools | |
| NFPA 1951 | Standard on Protective Ensembles for Technical Rescue Incidents | |
| NFPA 1952 | Standard on Surface Water Operations Protective Clothing and Equipment | |
| NFPA 1953 | Standard on Protective Ensembles for Contaminated Water Diving | |
| NFPA 1961 | Standard on Fire Hose | |
| NFPA 1962 | Standard for the Care, Use, Inspection, Service Testing, and Replacement of Fire Hose, Couplings, Nozzles, and Fire Hose Appliances | |
| NFPA 1963 | Standard for Fire Hose Connections | |
| NFPA 1964 | Standard for Spray Nozzles and Appliances | |
| NFPA 1965 | Standard for Fire Hose Appliances | |
| NFPA 1971 | Standard on Protective Ensembles for Structural Fire Fighting and Proximity Fire Fighting | |
| NFPA 1975 | Standard on Emergency Services Work Apparel | |
| NFPA 1976 | Standard on Protective Ensemble for Proximity Fire Fighting | |
| NFPA 1977 | Standard on Protective Clothing and Equipment for Wildland Fire Fighting | |
| NFPA 1981 | Standard on Open-Circuit Self-Contained Breathing Apparatus (SCBA) for Emergency Services | |
| NFPA 1982 | Standard on Personal Alert Safety Systems (PASS) | |
| NFPA 1983 | Standard on Life Safety Rope and Equipment for Emergency Services | |
| NFPA 1984 | Standard on Respirators for Wildland Fire Fighting Operations | |
| NFPA 1986 | Standard on Respiratory Protection Equipment for Tactical and Technical Operations | |
| NFPA 1987 | Standard on Combination Unit Respirator Systems for Tactical and Technical Operations | |
| NFPA 1989 | Standard on Breathing Air Quality for Emergency Services Respiratory Protection | |
| NFPA 1990 | Standards for Protective Ensembles for Hazardous Material and Emergency Medical Operations | |
| NFPA 1991 | Standard on Vapor-Protective Ensembles for Hazardous Materials Emergencies and CBRN Terrorism Incidents | |
| NFPA 1992 | Standard on Liquid Splash-Protective Ensembles and Clothing for Hazardous Materials Emergencies | |
| NFPA 1994 | Standard on Protective Ensembles for First Responders to Hazardous Materials Emergencies and CBRN Terrorism Incidents | |
| NFPA 1999 | Standard on Protective Clothing and Ensembles for Emergency Medical Operations | |
| NFPA 2001 | Standard on Clean Agent Fire Extinguishing Systems | |
| NFPA 2010 | Standard for Fixed Aerosol Fire-Extinguishing Systems | |
| NFPA 2112 | Standard on Flame-Resistant Clothing for Protection of Industrial Personnel Against Short-Duration Thermal Exposures from Fire | |
| NFPA 2113 | Standard on Selection, Care, Use, and Maintenance of Flame-Resistant Garments for Protection of Industrial Personnel Against Short-Duration Thermal Exposures from Fire | |
| NFPA 2400 | Standard for Small Unmanned Aircraft Systems (sUAS) Used for Public Safety Operations | |
| NFPA 2500 | Standards for Operations and Training for Technical Search and Rescue Incidents and Life Safety Rope and Equipment for Emergency Services | |
| NFPA 2800 | Standard on Facility Emergency Action Plans | |
| NFPA 3000™ | Standard for an Active Shooter/Hostile Event Response (ASHER) Program | |
| NFPA 5000® | Building Construction and Safety Code® | |
| NFPA 8501 | Standard for Single Burner Boiler Operation | |
| NFPA 8502 | Standard for the Prevention of Furnace Explosions/Implosions in Multiple Burner Boilers | |
| NFPA 8503 | Standard for Pulverized Fuel Systems | |
| NFPA 8504 | Standard on Atmospheric Fluidized-Bed Boiler Operation | |
| NFPA 8505 | Standard for Stoker Operation | |
| NFPA 8506 | Standard on Heat Recovery Steam Generator Systems |
Fire System Maintenance — Northern California
Be Ready for Emergencies with Top-Quality Fire System Care & Maintenance
Fires can happen at any time, and if the fire protection equipment at your Northern California facility is in disrepair, the consequences could be devastating.Предотвратите ненужные травмы и материальный ущерб с помощью услуг по ремонту и техническому обслуживанию противопожарной защиты от наших экспертов в Foothill Fire Protection, Inc. Мы обладаем более чем 25-летним опытом и можем обслуживать все, от огнетушителей и систем подавления до пожарных спринклеров и пожарной сигнализации , и больше. Мы предлагаем экономичные и недорогие услуги, соответствующие вашим потребностям, и мы обслуживаем Реддинг, Чико, Большой Сакраменто и регион Центральной долины, Северный залив и район Большого залива.
Возникли проблемы с противопожарным оборудованием? Ваша пожарная система постоянно пищит? Поговорите с нашими профессионалами в Foothill Fire Protection, Inc. за помощью и советом. Позвоните (916) 663-3582 или свяжитесь с нами онлайн, чтобы записаться на прием.
Системы, которые мы обслуживаем
В Foothill Fire Protection, Inc. мы предлагаем полный ремонт и техническое обслуживание широкого спектра систем противопожарной защиты, в том числе:
- Коммерческие спринклерные системы пожаротушения
- Спринклерные системы пожаротушения для жилых помещений
- Сухие системы, влажные системы и дренчерные системы
- Системы пожаротушения
- Системы пожаротушения с вытяжкой
- Огнетушители
- Пожарная сигнализация
- Пожарные насосы
- Стеллажные системы
- Антифризы
- Улучшения арендатора
- Ремонт и надстройка зданий
Наши специалисты могут точно диагностировать ваши пожарные системы и предложить наиболее экономичные решения для ремонта, соответствующие вашим потребностям.
Позвоните нам сегодня по телефону (916) 663-3582 или свяжитесь с нами через Интернет, чтобы запланировать ремонтные работы противопожарной защиты в Реддинге, Чико, Большом Сакраменто и регионе Центральной долины, Северном заливе и районе Большого залива. Мы доступны круглосуточно и без выходных.
Когда обращаться за техобслуживанием
Для обеспечения постоянной защиты вашего коммерческого объекта важно регулярно обслуживать противопожарное оборудование. Большинство систем необходимо обслуживать ежегодно или раз в полгода, а в Foothill Fire Protection, Inc., мы можем предоставить все необходимое для надежной и эффективной работы ваших противопожарных систем. Во время сервисного визита наши технические специалисты будут выполнять такие задачи, как:
- Проверка источников питания под нагрузкой на соответствие напряжения и тока
- Тестирование средств управления пожарной сигнализацией для работы уведомлений о тревоге
- Очистка компонентов и шкафа пожарной сигнализации
- Использование тепла для проверки правильности работы тепловых извещателей
- Использование заменителей дыма для проверки работы дымового извещателя
- Проверка работы пожарного насоса и расхода
- Смазка подшипников, втулок и других точек трения
- Испытательная арматура, фитинги и манометры
Ключевой персонал также должен быть обучен ежемесячно проверять системы противопожарной защиты на предмет аномалий, таких как утечки воды, низкое давление в огнетушителях, повреждение оборудования, вмешательство и т. Д.Будьте в курсе техобслуживания противопожарной защиты, чтобы спасти жизни, предотвратить материальный ущерб и помочь вам быстрее открыться после чрезвычайной ситуации.
Позвоните нам сегодня по телефону (916) 663-3582 или свяжитесь с нами через Интернет, чтобы запланировать обслуживание систем противопожарной защиты в Реддинге, Чико, Большом Сакраменто и регионе Центральной долины, Северном заливе и районе Большого залива.
Признаки необходимости ремонта противопожарной системы
Неисправная система противопожарной защиты может поставить под угрозу ваше предприятие и повлечь за собой ненужную ответственность.Для быстрого ремонта важно сразу же позвонить в нашу команду в Foothill Fire Protection, Inc.


®
Весь не вступивший в реакцию аммиак на четвертом этапе окисляется в следующем модуле каталитического нейтрализатора.
Переоборудование двигателей MAN Euro 3 в Euro 5 путем установки CRTec стоит в Германии 15…20 тыс. евро.
Резко отличается от всех лишь оригинальная система компании Eaton, которая подтвердила свой статус ведущей мировой компании в данном секторе техники.
, 